Note: このキットの取り付けには、フォームマーカーキットが必要です。詳細については弊社代理店におたずねください。
Note: 前後左右は運転位置からみた方向です。
![]() |
セーフティラベルや指示は危険な個所のオペレーターから見やすい部分に貼付してあります。破損したりはがれたりした場合は新しいラベルを貼り直してください。 |

平らな場所に駐車し、駐車ブレーキを掛け、エンジンを停止させてキーを抜き取る。
バッテリーの接続を外す; オペレーターズマニュアルを参照。
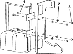
この作業に必要なパーツ
| ブラケット | 1 |
| ボルト(5/16 x 1") | 4 |
| ワッシャ(3/8 インチ) | 4 |
| ナット(5/16") | 4 |
| フォームマーカー(別売品) | 1 |
フォームマーカーのコンプレッサを図 1のようにブラケットに取り付ける。

この作業に必要なパーツ
| ワイヤハーネス | 1 |
| スイッチブラケット | 1 |
| ロッカースイッチ | 1 |
| パドルスイッチ | 1 |
| ボルト (M6) | 2 |
| ヒューズ, 15 A | 1 |
Note: 運転席を倒す。
フォームマーカーのコンプレッサからのワイヤハーネスを、ROPSの後ろからガードプレートの下に配設する(図 5)。

アース線とリレースイッチを接続し、ヒューズブロックに 15 A ヒューズを取り付ける(図 6)。

ブレードコネクタを、電源用ヒューズブロックのソケットコネクタに接続する。

車両用ハーネスに沿ってワイヤハーネスをコントロールパネルまで導く(図 8)。

ハーネスにロッカースイッチを接続する(図 8)。
ハーネスを、パネル下からフロアプレートの上へ出し、ステアリングコラムへ導く (図 9)。

ボルト(M6)2本を使用して、ステアリングコラムにパドルスイッチ用ブラケットを取り付ける

ブラケットにスイッチを組み込む。ブラケットの開口部にスイッチがパチンとはまるまで完全に押し込むこと。

Note: 3ポジション・パドルスイッチ (泡制御 スイッチ) のパドルが外側を向くように取り付けてください。
マーカー用パドルスイッチ: コンプレッサを作動させて左右いずれかのブームに泡の流れを送り出します(図 11)。
マーカー用 ON/OFF スイッチ: コンプレッサを作動させて左右両方のブームに同時に泡の流れを送り出します(図 8)。
インジケータマーク: タンクの側面についていて、タンク内部の溶液の量を示します。
泡密度調節バルブ: 泡生成液の濃度を調節します。バルブを操作することにより、ノズルに送り出される石鹸液の量を調整することができます。量を多くすると泡が大きくなり、同じ時間内により多くの泡が落ちるようになります;量を少なくすると泡が小さくなり、落ちる泡の数も少なくなります(図 12)。
Note: 風が強い日には、水分の多い泡にすると飛ばされにくくて便利です。
圧力解放バルブ: タンクのキャップについている赤いタブを外側に引っ張るとタンク内の圧力が解放されます(図 12)。
Important: 使い終わった後は、真水で内部を洗ってください(特に硬水で使用する場合には、使用後の洗浄を徹底してください)。潤滑油、グリスなど、石油系の製品を、コンプレッサモータ・アセンブリに使用しないでください。
コンソールのブームスイッチが左右ともOFFになっていることを確認する。
赤いタブ(圧力解放タブ)を外側に引いて内圧を解放し、タンクの黒いキャップを外す。
タンクに適当量の水を入れ、次に、タンク上部の口から発泡原液を入れる(原液は原液メーカーの指示に従って取り扱う)。
Important: 水のpH値が極端な場合(硬水/軟水)は、濃縮発泡剤の必要量が変わります。
タンクにキャップをはめ、手で締め付ける。
とりあえずの設定として、泡密度調節バルブを1/8~1/4回転、開ける(図 12)。

マーキングシステムの操作を開始し、地面でテストする。
Note: 泡は最初の1~2分で配管に行き渡る。
泡密度調節バルブで所望の濃度に調節し、ふつうに散布作業を行う。
Note: 泡をライン内に2時間以上残したままにすると、泡が水っぽくなることがあります。2時間以上の中断の後で作業を再開するときは、1~2分回して余分な水を抜いてください。
泡の水気が多すぎる場合は、次の手順を行ってください。
泡密度調節バルブを完全に閉じる。
2分間運転する。
1分待ってから泡の密度を確認する。
所望の密度になるまで調節する。