Note: En skummarkörssats krävs vid montering av den här produkten. Kontakta en auktoriserad Toro-återförsäljare för mer information.
Note: Vänster och höger sida på maskinen är lika med förarens vänstra respektive högra sida vid normal körning.
![]() |
Säkerhetsdekalerna och säkerhetsinstruktionerna är fullt synliga för föraren och finns nära alla potentiella farozoner. Ersätt dekaler som har skadats eller saknas. |

Parkera maskinen på ett plant underlag, koppla in parkeringsbromsen, stäng av motorn och ta ut nyckeln ur tändningslåset.
Koppla loss batteriet. Se maskinens bruksanvisning.
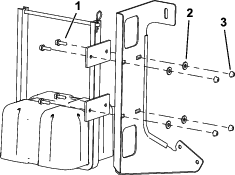
Delar som behövs till detta steg:
| Fäste | 1 |
| Skruv (5/16 x 1 tum) | 4 |
| Bricka (⅜ tum) | 4 |
| Mutter (5/16 tum) | 4 |
| Skummarkör (säljs separat) | 1 |
Montera skummarkörens kompressor på fästet enligt Figur 1.

Delar som behövs till detta steg:
| Vagnskruv | 1 |
| U-bult | 1 |
| Flänsmuttrar (3/8 tum) | 3 |
| Distansbricka | 1 |
| R-klämma | 1 |
Lossa skruven överst på remmen och placera vagnsskruven genom spruttankremmens bygel (Figur 2).

Trä på distansbrickan på skruven och sätt fästet på skruven enligt Figur 2.
För pumpsugslangen genom R-klämman (Figur 3).
Fäst R-klämman på skruven med en mutter (Figur 3).

Sätt U-bulten på maskinen enligt Figur 4.

Sätt fästet på U-bulten och fäst med två flänsmuttrar (3/8 tum).
Delar som behövs till detta steg:
| Kablage | 1 |
| Kontaktfäste | 1 |
| Vippomkopplare | 1 |
| Växelpaddel | 1 |
| Skruvar (M6) | 2 |
| Säkring, 15 A | 1 |
Note: Lyft upp sätet för att dra kablaget.
Dra kablaget från skummarkörens kompressor bakom vältskyddet och under skyddsplattan (Figur 5).

Anslut jordkabeln och reläbrytaren och sätt i 15 A-säkringen i säkringsblocket (Figur 6).

Anslut bladkontakten till uttagskontakten på säkringsblocket för ström.

Dra kablaget längs maskinens kablage upp till kontrollpanelen (Figur 8).

Anslut vippomkopplaren till kablaget (Figur 8).
Dra kablaget under panelen på golvplattan och upp till styrkolonnen (Figur 9).

Sätt fast växelpaddelfästet på styrkolonnen med de två skruvarna (M6)

Montera omkopplaren i fästet och tryck in omkopplaren tills den snäpper ordentligt på plats i öppningen.

Note: Kontrollera att paddeln för växelpaddeln med tre lägen (omkopplare för skumreglering) riktas utåt.
Skumväxelpaddel – aktiverar kompressorn, genererar ett skum- och luftflöde till den högra eller vänstra sprutrampssektionen (Figur 11).
Skum, av/på-brytare – aktiverar kompressorn, genererar ett skumflöde till bägge sprutrampssektionerna samtidigt (Figur 8).
Indikatormarkeringar – markeringar på sidan av tanken som anger lösningsnivån i tanken.
Skumreglerventil – reglerar skumlösningens konsistens. Ventilen reglerar hur mycket tvållösning som skickas till skummunstyckena. Om flödet ökas leder det till större och mer frekventa skumdroppar, medan ett lägre flöde leder till mindre och färre droppar (Figur 12).
Note: En vattnig markörkonsistens kan vara användbart vid blåsiga dagar.
Övertrycksventilen – dra den röda fliken på tanklocket utåt för att minska trycket i tanken (Figur 12).
Important: Skölj systemet med rent vatten efter varje användning, i synnerhet vid användning av hårt vatten. Applicera inte smörjolja, fett eller andra petroleumprodukter på kompressorns motor.
Kontrollera att både vänster och höger sprutrampsomkopplare som sitter på konsolen är frånslagna.
Dra ut den röda fliken för att minska trycket och lossa det svarta tanklocket.
Häll lämplig mängd vatten i tanken och tillsätt sedan skumkoncentrat genom öppningen överst i tanken enligt tillverkarens anvisningar.
Important: Vatten med extremt PH-värde (hårt eller mjukt) påverkar hur mycket skumkoncentrat som behövs.
Sätt på locket på tanken och dra åt manuellt.
Öppna initialt reglerventilen för skumdensitet 1/8 till 1/4 varv (Figur 12).

Starta markeringssystemet och gör ett testmönster på marken.
Note: Låt skummet flöda i slangen under 1–2 minuter när du först startar markeringssystemet.
Ställ in reglerventilen för skumdensitet för att få önskad konsistens och spruta som vanligt.
Note: Om du låter skummet vara kvar i slangen längre än två timmar kan det bli vattnigt. Kör maskinen i 1–2 minuter innan du börjar arbeta igen efter ett uppehåll på två eller fler timmar för att ta bort överflödigt vatten.
Gör följande om skummet i maskinen är mycket vattnigt:
Stäng reglerventilen för skumdensitet helt.
Låt gå i två minuter.
Vänta 1 minut och kontrollera sedan skummets konsistens.
Ställ in skumventilen för att få önskad densitet.