Inleiding

De AutoSteer set is een accessoire voor het GeoLink™ spuitsysteem, dat wordt gebruikt voor een gazonspuitmachine, en is bedoeld voor gebruik door professionele bestuurders en voor commerciële toepassingen. Het systeem is met name ontworpen voor sproeien op goed onderhouden gazons in parken, golfbanen en sportvelden. Het gebruik van dit product voor andere doeleinden dan het bedoelde gebruik kan gevaarlijk zijn voor u en voor omstanders.

Lees deze informatie zorgvuldig door, zodat u weet hoe u dit product op de juiste wijze moet gebruiken en onderhouden en om letsel en schade aan de machine te voorkomen. U bent verantwoordelijk voor het juiste en veilige gebruik van de machine.

Ga naar www.Toro.com voor documentatie over productveiligheid en bedieningsinstructies, informatie over accessoires, hulp bij het vinden van een dealer of om uw product te registreren.

Als u service, originele Toro onderdelen of aanvullende informatie nodig hebt, kunt u contact opnemen met een erkende servicedealer of met de klantenservice van Toro. U dient hierbij altijd het modelnummer en het serienummer van het product te vermelden. De locatie van het plaatje met het modelnummer en het serienummer van het product is aangegeven op Figuur 1. U kunt de nummers noteren in de ruimte hieronder.

Important: U kunt met uw mobiel apparaat de QR-code (indien aanwezig) op het plaatje met het serienummer scannen om toegang te krijgen tot de garantie, onderdelen en andere productinformatie.

g298741

Er worden in deze handleiding een aantal mogelijke gevaren en een aantal veiligheidsberichten genoemd met de volgende veiligheidssymbolen (Figuur 2), die duiden op een gevaarlijke situatie die ernstig of fataal lichamelijk letsel tot gevolg kan hebben als u de veiligheidsvoorschriften niet in acht neemt.

g000502

Er worden in deze handleiding twee woorden gebruikt om uw aandacht op bijzondere informatie te vestigen. Belangrijk attendeert u op bijzondere technische informatie en Opmerking duidt op algemene informatie die bijzondere aandacht verdient.

Veiligheid

Waarschuwing

Chemische stoffen die worden gebruikt in het spuitsysteem kunnen gevaarlijk en giftig voor de gebruiker, omstanders, dieren, planten, de bodem of eigendommen zijn.

  • U moet de waarschuwingsetiketten en de veiligheidsinformatiebladen voor alle gebruikte chemische stoffen zorgvuldig lezen en in acht nemen en uzelf beschermen volgens de instructies van de fabrikant van de chemische stoffen. Bijvoorbeeld, draag geschikte persoonlijke beschermende uitrusting zoals gezichts- en oogbescherming, handschoenen of andere voorzieningen ter bescherming tegen lichamelijk contact met chemische stoffen.

  • Er kunnen meerdere chemische stoffen zijn gebruikt; zorg ervoor dat u informatie over elke stof krijgt.

  • Weiger de machine te gebruiken of te bedienen als deze informatie niet beschikbaar is.

  • Voordat u onderhoud uitvoert aan een spuitsysteem moet dit drie keer zijn gespoeld en geneutraliseerd volgens de instructies van de fabrikant(en) van de chemische stoffen en moeten alle kleppen 3 cyclussen hebben doorlopen.

  • Controleer of er voldoende water en zeep in de buurt is, en als u in contact komt met chemische stoffen, moet u deze onmiddellijk afspoelen.

Zet de machine uit, verwijder het contactsleuteltje (indien aanwezig) en wacht totdat alle bewegende onderdelen tot stilstand zijn gekomen voordat u de bestuurderspositie verlaat. Laat de machine afkoelen voordat u er instellingen of onderhoud aan verricht, of de machine schoonmaakt of stalt.

Onjuist gebruik of onderhoud van deze machine kan letsel tot gevolg hebben. Om het risico op letsel te verkleinen, dient u zich aan de volgende veiligheidsinstructies te houden en altijd op het veiligheidssymbool Graphic te letten, dat betekent Voorzichtig, Waarschuwing of Gevaar – instructie voor persoonlijke veiligheid. Niet-naleving van deze instructies kan leiden tot lichamelijk of dodelijk letsel.

Veiligheids- en instructiestickers

Graphic

Veiligheidsstickers en veiligheidsinstructies zijn gemakkelijk zichtbaar voor de bestuurder en bevinden zich bij plaatsen waar gevaar kan ontstaan. Vervang alle beschadigde of ontbrekende stickers.

decal138-6259
decal138-6278

Installatie

De minkabel van de accu afkoppelen

  1. Verwijder het deksel van de accubak (Figuur 3).

    g292314
  2. Koppel de minkabel los van de accu (Figuur 3).

Het wiel verwijderen

Machines met serienummer 406294345 en hoger
  1. Breng de machine omhoog en ondersteun ze met kriksteunen; raadpleeg de Gebruikershandleiding van uw machine.

  2. Verwijder de 5 wielmoeren waarmee de linkerband het linkerwiel zijn bevestigd aan de wielnaaf en verwijder het wiel van de machine (Figuur 4).

    g299511

Het vulstuk van de wielhoeksensor monteren

  1. Verwijder het linker voorwiel.

  2. Verwijder de bout en ring aan de bovenkant van de koppelpen en verwijder de koppelpen.

  3. Draai de wielnaaf/asconstructie weg van de machine.

  4. Monteer het vulstuk in de wielnaaf/asconstructie.

  5. Monteer de wielnaaf/asconstructie, de koppelpen en het wiel. Draai de wielmoeren vast met een torsie van 75 tot 102 N·m.

  6. Gebruik de machine en zorg ervoor dat het probleem is opgelost.

    g419804

De stuurpositiesensor monteren

Benodigde onderdelen voor deze stap:

Stuurpositiesensor (magnetisch richtmerk en sensor)1
Contramoer(10 mm)1
Sensorbeugel1
Gereedschap voor sensoruitlijning1
Cilinderkopschroef (nr. 4 x ¾")2
Borgmoer(nr. 4)2
Tapbout met flenskop (¼" x ¾")2
Borgmoer (¼")2

De sensorbeugel monteren

  1. Verwijder de tapbout aan het uiteinde van de koppelpen (Figuur 6).

    Note: Gooi de tapbout weg.

    g299593
  2. Schroef het gereedschap voor uitlijning in de bovenkant van de koppelpen (Figuur 6).

  3. Lijn de sensorbeugel uit over het gereedschap voor uitlijning en de sleuven in de flens van de as (Figuur 7).

    g299595
  4. Monteer de beugel losjes aan de flens (Figuur 7) met 2 tapbouten met flenskop (¼" x ¾") en 2 borgmoeren (¼").

  5. Plaats de beugel aan de onderkant van de sleuven in de flens van de as, en draai de tapbouten met flenskop en de borgmoeren vast (Figuur 7).

  6. Verwijder het gereedschap voor uitlijning (Figuur 8).

    g299597

Het magnetische richtmerk en de sensor monteren

  1. Schroef de contramoer helemaal op het magnetische richtmerk (Figuur 9).

    g299594
  2. Schroef het magnetische richtmerk in de bovenkant van de koppelpen (Figuur 9).

  3. Monteer de stuurpositiesensor op de sensorbeugel met 2 cilinderkopschroeven (nr. 4 x ¾") en borgmoeren (nr. 4), en draai de schroeven en borgmoeren vast (Figuur 10).

    g299596

Het magnetische richtmerk afstellen

  1. Stel de positie van het magnetische richtmerk af tot u een afstand van 4 mm meet tussen het richtmerk en de voorkant van de sensor (Figuur 11).

    g299592
  2. Draai het magnetische richtmerk tot de indicatielijn die in het vlak van het magnetische richtmerk is gestanst, uitgelijnd is met de bedradingspoort van de sensor (Figuur 11).

  3. Draai de contramoer vast (Figuur 11).

  4. Meet de afstand tussen het richtmerk en de voorkant van de sensor (Figuur 11). U dient 2 tot 4 mm te meten.

    Note: Als de afstand kleiner is dan 2 mm of groter is dan 4 mm, pas dan de positie van het magnetische richtmerk aan, lijn de indicatielijn uit en draai de contramoer vast.

Het wiel monteren

  1. Lijn de gaten in het wiel uit op de bouten van de wielnaaf (Figuur 12).

    g299507
  2. Monteer het wiel op de bouten met de 5 wielmoeren, en draai ze met de hand vast (Figuur 12).

  3. Laat de machine neer en verwijder de assteunen.

  4. Draai de wielmoeren vast in een kruispatroon met een torsie van 75 tot 102 N·m.

De softwareversie controleren

GeoLink bedieningseenheid
  1. Draai het contactsleuteltje naar de stand LOPEN (benzine) of VOORGLOEIEN/LOPEN (diesel).

  2. Druk op het pictogram OVER (Toro) in de linkerbovenhoek van het bedieningspaneel (Figuur 13).

    g302935
  3. Als de softwareversie correct is, wordt in het dialoogvenster ‘Over’ softwareversie 4.04 of hoger weergegeven.

    Note: Als de softwareversies verschillen, neem dan contact op met het Toro Technical Assistance Center.

De minimale hardwarevereisten verifiëren

Laptop

Zorg ervoor dat uw laptop voldoet aan de vereisten voor hardware, het besturingssysteem en de toepassing voordat u het Danfoss PLUS+1® service tool installeert; raadpleeg de volgende tabelellen.

Bevestigingsmateriaal

Onderdeel

Minimale capaciteit

CPU*

1,5 GHz, 32–bit, 1 core, 2008 of later

Geheugen

1 GB

Ongebruikte ruimte op de harde schijf

Meer dan 1 GB

Minimale beeldschermresolutie

1024 x 768

USB-aansluitpunt

Versie 2.0 of hoger

* De CPU moet bedoeld zijn voor laptopgebruik. Processors die bedoeld zijn voor netbooks, tablets of soortgelijke apparaten worden niet aanbevolen.

Besturingssysteem

Software

Versie

Versie besturingssysteem

Microsoft Windows 7—32 bit

Onderdelen besturingssysteem

MSXML 4.0, Service Pack 2 (Microsoft XML Core Services)

Rechten gebruikersaccount

Lokale beheerderstoegang

Toepassingen

Software

Aantekeningen

E-mail client/lezer

Voor licentieregistratie.

Pdf-lezer

Elke recente lezer die voldoet aan de standaarden.

Webbrowser

Elke recente webbrowser die aan de normen voldoet (voor HTML-gebaseerde F1 hulp)

De software en diagnostische gegevensbestanden downloaden

Laptop
  1. Ga naar de Toro Connect webpagina (Figuur 14).

    g333373
  2. Klik met de linkermuisknop op het pictogram hulpmiddelenbibliotheek (Figuur 14).

  3. Typ op de webpagina van de bibliotheek in het tekstvak Voer zoektermen in en klik met de linkermuisknop op de knop Zoeken(Figuur 15).

    g333374
  4. Dubbelklik op de pagina Documentinformatie op de hyperlink AutoSteer Danfoss Software (Figuur 16).

    g333375
  5. Klik op de pagina Documentinformatie op de hyperlink PVED-CLS 2.00 firmware release package.zip (Figuur 17).

    g334252
  6. Klik op de knop Opslaan (Figuur 17).

    Note: Het bestand wordt opgeslagen in de map Downloads op uw laptop.

  7. Klik op de pagina Documentinformatie op de hyperlink Plus1 Service Tool (Figuur 18).

    g334251
  8. Klik op de knop Opslaan (Figuur 18).

    Note: Het bestand wordt opgeslagen in de map Downloads op uw laptop.

De software en diagnostische gegevensbestanden installeren

Laptop

De software installeren

Important: De persoon die de PLUS+1 service tool installeert, moet beheerdersrechten hebben op de laptop.

  1. Open de map Downloads op uw laptop en klik met de rechtermuisknop op de koppeling PLUS1ServiceTool1207Setup.zip file, en klik op de koppelingAlles uitpakken... in het vervolgkeuzemenu (Figuur 19).

    g334267
  2. In het dialoogvenster Gecomprimeerd uitpakken, moet u ervoor zorgen dat het selectievakje is geselecteerd, en vervolgens klikt u op de knop (Figuur 20).

    g334280
  3. Dubbelklik in de map PLUS1SERVICETOOL1207SETUP op het bestand PLUS+1_ServiceTool_12.7_Setup.exe (Figuur 21).

    g334281
  4. Als het dialoogvenster Gebruikersaccountbeheer verschijnt, klik u op de knop JA (Figuur 22).

    g333504
  5. Klik in het dialoogvenster Selecteer bestemmingslocatie op de knop VOLGENDE (Figuur 23).

    g333493
  6. Klik in het dialoogvenster Plus+1 Online op de knop VOLGENDE (Figuur 24).

    g333502
  7. Klik in het dialoogvenster Selecteer extra taken op de knop VOLGENDE (Figuur 25).

    g333501
  8. Klik in het dialoogvenster Klaar voor installatie op de knop INSTALLEREN(Figuur 26).

    g333499

    Note: Het voortgangsdialoogvenster (Figuur 27) wordt weergegeven.

    g333498
  9. Klik in het dialoogvenster Set-up van service tool voltooien op de knop VOLTOOID (Figuur 28).

    g333503

De stuurprogramma's installeren

  1. Klik in het dialoogvenster Selecteer bestemmingslocatie op de knop VOLGENDE (Figuur 29).

    g333494
  2. Klik in het dialoogvenster Klaar voor installatie op de knop INSTALLEREN(Figuur 30).

    g333500

    Note: Het voortgangsdialoogvenster (Figuur 31) wordt weergegeven.

    g333496
  3. Klik in het dialoogvenster Set-up van service tool voltooien op de knop VOLTOOID (Figuur 32).

    g333495
  4. Klik in het dialoogvenster Set-up van service tool voltooien op de knop VOLTOOID (Figuur 33).

    g333497

De diagnostische gegevensbestanden voorbereiden

  1. Open de map Downloads op uw laptop en klik met de rechtermuisknop op de koppeling 6763_14472.en.zip, en klik op de koppeling Alles uitpakken... in het vervolgkeuzemenu (Figuur 34).

    g334266
  2. Klik in het dialoogvenster Gecomprimeerd uitpakken, op de knop (Figuur 35).

    g334284
  3. Navigeer in het dialoogvenster Selecteer een bestemming naar de map en klik op de knop (Figuur 35).

  4. In het dialoogvenster Gecomprimeerd uitpakken, moet u het selectievakje deselecteren, en vervolgens klikt u op de knop (Figuur 36).

    g334283

Het gatewaykanaal selecteren

Laptop
  1. Steek een Toro diag kabel in de USB-poort van de laptop.

  2. Klik in de Windows taakbalk op het pictogram (Figuur 37).

    g334306
  3. Typ in het tekstvak en druk op de toets Enter (Figuur 37).

  4. Klik op het pictogram PVED-CLS_2.00_rev_D.P1D (Figuur 37).

    Note: De Plus +1 service tool toepassing wordt op uw laptop weergegeven (Figuur 38).

    g333571
  5. Als het scherm Selecteer Gatewaykanaal op uw computer verschijnt, ga dan naar stap 10.

  6. Klik op het lint op de knop Communicatie (Figuur 39).

    g332822
  7. Klik in het vervolgkeuzemenu Communicatie op de knop Gateway (Figuur 39).

  8. Klik in het vervolgkeuzemenu Gateway op de knop Geavanceerd (Figuur 39).

  9. Klik in het vervolgkeuzemenu Geavanceerd op de knop Selecteer Gateway... (Figuur 39).

  10. Klik in het schermGatewaykanaal selecteren op de opties Kvaser in de lijst Gateways (Figuur 40).

    g332837
  11. Klik in het menu Kanalen op de optie Diagnostische kabel (Figuur 40)

    Note: Als de optie Diagnostische kabel niet in het menu Kanalen verschijnt, moet u controleren of de Toro Diag kabel op de USB-poort van de laptop is aangesloten. Druk op de knop Vernieuwen (Figuur 40) op het scherm Selecteer Gatewaykanaal en klik op de optie Diagnostische kabel.

  12. Klik op de knop WIJZIGEN onder de kop Huidige selectie (Figuur 40).

De bestanden voor het firmwarereleasepakket installeren

Laptop

Het bestand PP_CLS_M Data installeren

Important: U moet de beheerdersrechten op de laptop hebben voordat u het PVED CLS firmwarereleasepakket kunt installeren.

  1. Open op uw laptop de Danfoss Plus+1 service tool.

  2. Klik op het pictogram , en klik in de vervolgkeuzelijst op het pictogram (Figuur 41).

    g332308
  3. Klik in het dialoogvenster Diagnostische gegevens installeren op het pictogram PLUS+1 protocol en druk op het pictogram (Figuur 42).

    g332314
  4. Navigeer naar het bestand PVED-CLS 2.00 firmware release package.zip, klik op de map PVED-CLS 2.00 firmware release package en klik op het pictogram (Figuur 43).

    g332313
  5. Klik op de map Diagnostische data files, en klik op het pictogram (Figuur 44).

    g332312

    Klik op het bestand APP-_CLS-_M_R200_SEHS----_11153340_... en klik op het pictogram (Figuur 45).

    g332309
  6. Klik in het dialoogvenster op het pictogram (Figuur 46).

    g332305

Het bestand APP_CLS_S Data installeren

  1. Klik op het pictogram , en klik in de vervolgkeuzelijst op het pictogram (Figuur 47).

    g332308
  2. Klik in het dialoogvenster Protocol selecterenop het pictogram PLUS+1 en druk op het pictogram (Figuur 48).

    g332315
  3. Navigeer naar het bestand PVED-CLS 2.00 firmware release package.zip, klik op de map PVED-CLS 2.00 firmware release package en klik op het pictogram (Figuur 49).

    g332313
  4. Klik op de map Diagnostische data files, en klik op het pictogram (Figuur 50).

    g332312
  5. Klik op het bestand APP-_CLS-_S_R200_SEHS----_11153341_... en klik op het pictogram (Figuur 51).

    g332310
  6. Klik in het dialoogvenster op het pictogram (Figuur 52).

    g332306

Het bestand BOOTP_CLS Data installeren

  1. Klik op het pictogram Bestand, en klik in de vervolgkeuzelijst op het pictogram Diagnostische gegevens installeren . . . (Figuur 53).

    g332308
  2. Klik in het dialoogvenster Selecteer protocolop het pictogram PLUS+1 en druk op het pictogram (Figuur 54).

    g332316
  3. Klik op de map PVED-CLS 2.00 firmware release package en klik op het pictogram (Figuur 55).

    g332313
  4. Klik op de map Diagnostische data files, en klik op het pictogram (Figuur 56).

    g332312
  5. Klik op het bestand BOOT-_CLS-_M_R385_KWP2000-_1115347_... en klik op het pictogram (Figuur 57).

    g332311
  6. Klik in het dialoogvenster op het pictogram (Figuur 58).

    g332307

De machine gebruiksklaar maken

Voorzichtig

Chemische stoffen zijn gevaarlijk en kunnen lichamelijk letsel veroorzaken.

  • Lees de aanwijzingen op het fabrieksetiket voordat u gaat werken met chemische stoffen, en neem alle aanbevelingen en voorzorgsmaatregelen van de fabrikant in acht.

  • Zorg ervoor dat uw huid niet in contact komt met chemische stoffen. Als dit toch gebeurt, moet u de desbetreffende plek grondig afspoelen met zeep en schoon water.

  • Draag een veiligheidsbril of andere beschermende uitrusting volgens de aanbevelingen van de fabrikant van de chemische stoffen.

  1. Parkeer de machine op een horizontaal oppervlak.

  2. Haal de parkeerrem aan.

  3. Zorg ervoor dat de banden recht naar voren uitgelijnd zijn.

  4. Zet de motor af en haal het sleuteltje uit het contact.

  5. Wacht tot alle onderdelen tot stilstand zijn gekomen voordat u de bestuurdersstoel verlaat.

  6. Maak de spuitmachine schoon; raadpleeg het hoofdstuk De spuitmachine reinigen in de Gebruikershandleiding van de machine.

  7. Laat de componenten van de machine afkoelen.

De motorkap verwijderen

  1. Maak de connector van de koplamp van de machinekabelboom los van de connector van de gloeilamp (Figuur 59).

    g298936
  2. Herhaal stap 1 aan de andere koplamp.

  3. Verwijder de 4 druknagels waarmee de onderste flens van de motorkap aan de machine is bevestigd (Figuur 60).

    g298939
  4. Verwijder de 2 flenskopbouten (5/16" x ¾") waarmee de onderste flens aan de machine is bevestigd (Figuur 60).

  5. Verwijder de 4 cilinderschroeven met kruiskop (¼" x 1") waarmee de motorkap aan de dashboardsteun is bevestigd (Figuur 61).

    g298940
  6. Verwijder de 2 druknagels waarmee de motorkap aan de dashboardsteun is bevestigd (Figuur 61).

  7. Verwijder de motorkap van de machine (Figuur 62).

    Note: Bewaar de motorkap, de 2 flenskopbouten en de 4 cilinderschroeven met kruiskop.

    g298938

Het hittescherm en het scherm van het onderstel verwijderen

Machines uit 2015 en later

Indien aanwezig, verwijdert u het hittescherm en het scherm van het onderstel van de onderkant van de machine; raadpleeg de Gebruikershandleiding van uw machine.

De slangen van de stuurklep verwijderen

Benodigde onderdelen voor deze stap:

Dop1

De bevestigingsklemmen van de slang verwijderen

  1. Verwijder onder de bodemplaat de moer (¼"), borgring (¼"), ring (⅜" x ⅞") en tapbout (¼" x ⅞") waarmee de klem die de hydraulische slangen ondersteunt aan de koppelplaat is bevestigd, en verwijder de klem (Figuur 63).

    g300044g300053
  2. Verwijder aan de rechterkant van de machine de flensborgmoeren (5/16"), de slotbout (5/16" x 1") en slotbout (5/16" x 1½") waarmee de 2 klemmen die de retourslang van de stuurklep ondersteunen aan de bevestigingsbeugels van de motor bevestigd zijn, en verwijder de klemmen (Figuur 64).

    g300043g300247
  3. Verwijder de 2 flensborgmoeren (5/16") waarmee de 2 bovenste buisklemhelften zijn bevestigd zoals getoond in Figuur 65 en verwijder de klemhelften.

    g300246

De retourslang voor de stuurklep verwijderen

  1. Koppel de retourslang voor de stuurklep los van de T-fitting aan de onderkant van de hydraulische tank (Figuur 66).

    g300051
  2. Plaats de dop op de T-fitting zoals wordt getoond in Figuur 67.

    g314043
  3. Verwijder de retourslang voor de stuurklep van de machine (Figuur 68).

    Note: Gooi de retourslang weg.

    g300052

De drukslang voor de stuurklep verwijderen

  1. Koppel de drukslang voor de stuurklep los van de T-fitting aan het uiteinde van de hydraulische pomp (Figuur 69).

    g300042g337773
  2. Verwijder de drukslang van de machine (Figuur 70).

    Note: Gooi de drukslang weg.

    g300052

De lastgevoelige slang verwijderen

  1. Koppel de lastgevoelige slang voor de stuurklep los van de rechte fitting aan de onderkant van de hydraulische pomp (Figuur 71).

    g337772
  2. Verwijder de drukslang van de machine (Figuur 72).

    g300052

De slangen van de stuurcilinder verwijderen

  1. Koppel de slangen van de stuurcilinder los van de 90°-fittings in de openingen voor uitgaande en ingaande slag van de stuurcilinder (Figuur 73).

    g300049
  2. Verwijder de slangen van de stuurcilinder uit de machine.

    Note: Gooi de slangen van de stuurcilinder weg.

De EHI-stuurklep monteren

Benodigde onderdelen voor deze stap:

Bevestigingsbeugel van verdeelstuk1
Flenskopschroef (¼" x ½")2
Ring (¼")2
Flensborgmoer (¼")2
U-bout (⅜")2
Flensborgmoer (⅜")4
Plaatje met model- en serienummer1
EHI-stuurklep1
Rechte hydraulische fitting (-6 x 12 mm)2
Rechte hydraulische fitting (-8 x 22 mm)4
Rechte hydraulische fitting (-6 x 18 mm)4
Tapbout met flenskop (8 x 16 mm)3

De bevestigingsbeugel van het verdeelstuk monteren

  1. Lijn de bevestigingsbeugel van het verdeelstuk uit met de voorkant van de machine; zie Figuur 74.

    g299717
  2. Lijn de gaten in de bevestigingsbeugel van het verdeelstuk uit met de sleuven in de flens van het opslagcompartiment (Figuur 75).

    Note: Zorg ervoor dat de kabelboom niet tussen de bevestigingsbeugel en het compartiment gekneld zit.

    g299721
  3. Monteer de bevestigingsbeugel van het verdeelstuk losjes aan de flens (Figuur 75); gebruik hiervoor 2 tapbouten met flenskop (¼" x ½"), 2 ringen (¼") en 2 flensborgmoeren (¼")

  4. Monteer de bevestigingsbeugel van het verdeelstuk losjes aan de steunbuis van het dashboard (Figuur 76); gebruik hiervoor 2 U-bouten (⅜") en 4 flensborgmoeren (⅜").

    g299723
  5. Draai de tapbouten, U-bouten en borgmoeren vast.

De sticker met het model- en serienummer aanbrengen

  1. Verwijder de achterkantbedekking van de sticker met het met model- en serienummer.

  2. Breng de sticker op de bevestigingsbeugel van het verdeelstuk aan; zie Figuur 77.

    g303489

De EHI-stuurklep voorbereiden

  1. Monteer 2 rechte hydraulische fittings (-6 x 12 mm) in de EHI-stuurklep; ga hierbij als volgt te werk (Figuur 78):

    • Poort LS1

    • Poort LS2

    g299718
  2. Verwijder de 2 pluggen van poort P en poort T van de EHI-stuurklep (Figuur 79).

    g299720
  3. Monteer 4 rechte hydraulische fittings (-6 x 22 mm) in de klep; ga hierbij als volgt te werk (Figuur 79):

    • Poort P

    • Poort T

    • Poort P (EF)

    • Poort T (EF)

  4. Monteer 4 rechte hydraulische fittings (-6 x 18 mm) in de EHI-stuurklep; ga hierbij als volgt te werk (Figuur 80):

    • Poort CR

    • Poort R

    • Poort CL

    • Poort L

    g299719

De EHI-stuurklep monteren

  1. Lijn de openingen in de behuizing van de EHI-stuurklep uit met de openingen in de bevestigingsbeugel van het verdeelstuk (Figuur 81).

    g299722
  2. Bevestig de klep met 3 tapbouten met flenskop (8 x 16 mm) aan de bevestigingsbeugel (Figuur 81).

De voet van de bedieningseenheid boren

Benodigde onderdelen voor deze stap:

Pakkingring1
  1. Kantel de passagiersstoel naar voren om bij de voet van de bedieningseenheid te kunnen komen (Figuur 82).

    g299797
  2. Lijn een stuk plaatmetaal van ongeveer 120 mm breed uit door de sleuf van de steunstang in de voet van de bedieningseenheid, tussen de voet en de kabelboom eronder.

    Note: Het plaatmetaal beschermt de kabelboom wanneer u door de voet van de bedieningseenheid boort.

  3. Meet 69 mm naar achteren vanaf de vierkante opening bij de sleuf van de steunstang in de voet van de bedieningseenheid, en markeer de voet van de bedieningseenheid (Figuur 83).

    g299798
  4. Meet 45 mm naar binnen vanaf de flens met sleuf van de voet van de bedieningseenheid, en markeer de voet van de bedieningseenheid (Figuur 83).

  5. Breng met een centerpons een markering aan op de voet van de bedieningseenheid op de plaats waar de markeringen elkaar kruisen.

  6. Boor een gat in de voet van de bedieningseenheid op de centerponsmarkering met een boor van 32 mm (Figuur 83).

  7. Verwijder het stuk plaatmetaal en verwijder alle braam rond de opening.

  8. Breng de pakkingring aan in de opening (Figuur 84).

    g299800

De kabelboom monteren

Benodigde onderdelen voor deze stap:

2-standenschakelaar1
Transportsticker1
Kabelboom1
Kabelbinder7
Zekering (10 A)1
Drukknopschakelaar, contramoer en borgring1
Sticker AutoSteer op afstand inschakelen1

De wegschakelaar op het dashboard monteren

  1. Verwijder de plug uit het dashboardpaneel zoals in Figuur 85.

    g337814
  2. Lijn de 2-standenschakelaar uit, waarbij de bovenkant van de schakelaar (Figuur 85) uitgelijnd is met de bovenkant van het dashboardpaneel.

  3. Plaats de 2-standenschakelaar in de opening in het dashboardpaneel (Figuur 85).

  4. Breng de transportsticker aan over de dashboardsticker zoals getoond in Figuur 86.

    g299866

De kabelboom langs het dashboard leiden

g315010
g315011
g315012
  1. Leid aan de voorkant van de machine de kabelboomconnectoren (Figuur 90) met de volgende labels door de onderkant van de bodemplaat:

    g299869
  2. Steek de kabelboom met 12 contacten en de aanduiding in de connector met 12 pinnen van de EHI-stuurklep (Figuur 91).

    g299867
  3. Steek de kabelboom met 2 contacten en de aanduiding in de connector met 2 pinnen van de EHI-solenoïde (Figuur 91).

  4. Verwijder de dop van de connector met 4 contacten van de GeoLink kabelboom met de aanduiding (Figuur 92).

    g299922
  5. Steek de connector met 4 pinnen van de kabelboom van de set met de aanduiding in de connector met 4 contacten met de aanduiding (Figuur 92).

  6. Steek de connector met 8 contacten van de kabelboom van de set met de aanduiding (Figuur 93) in de 2-standenschakelaar die u hebt gemonteerd in De wegschakelaar op het dashboard monteren.

    g299921

De kabelboom onder het bestuurdersplatform leiden

  1. Leid de kabelboom voor de set naar achteren, langs de kabelboom van de machine (Figuur 94).

    g301673
  2. Leid de kabelboomaftakking met de connector met de aanduiding langs de achterkant van de buis van de vooras (Figuur 94).

  3. Aan de onderkant, achter de radiator leidt u de kabelboom omhoog, langs de kabelboom van de machine (Figuur 95).

    g301676

De wielhoeksensor aansluiten

  1. Steek de connector met 6 pinnen van de kabelboom van de hoeksensor in de connector met 6 contacten van de kabelboom van de set, met de aanduiding (Figuur 96).

    g301671
  2. Bevestig de kabelboom van de wielhoeksensor en de aftakking van de hoeksensor van de kabelboom van de set met 2 kabelbinders aan de buis van de as.

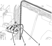
De kabelboom aansluiten op de zekeringhouder en het aardingsblok

  1. Leid de kabelboomaftakking met de aansluitingen met de aanduiding en over de bovenkant van de radiateur, langs de machinekabelboom (Figuur 97).

    g301675g301795
  2. Verwijder een aansluitingsschroef uit het aardingsblok (Figuur 98).

    g301674
  3. Monteer de ringconnector van de kabelboom van de set met de aanduiding met de aansluitingsschroef aan het aardingsblok (Figuur 98).

  4. Steek de aansluiting van de kabelboom van de set met de aanduiding in de platte connector voor vermogen voor opties van de zekeringhouder (Figuur 99).

    Note: Als de zekeringhouder van uw machine geen beschikbaar vermogencircuit voor opties heeft, monteer dan een extra zekeringhouder voor vermogen voor opties; raadpleeg uw erkende Toro verdeler.

    g301670
  5. Plaats de zekering (10 A) in de aansluiting van de zekeringhouder (Figuur 100) voor het stroomcircuit voor opties dat u in stap 4 hebt gebruikt.

    g301672
  6. Bevestig de aftakking geschakelde voeding en aarding van de kabelboom van de set met 4 kabelbinders aan de kabelboom van de machine.

De connectoren voor op afstand inschakelen aansluiten

Steek de connector met 2 pinnen van de kabelboom van de set met de aanduiding in de connector met 2 contacten van de GeoLink kabelboom met de aanduiding (Figuur 101).

g301669

De armsteun verwijderen

  1. Verwijder de 4 tapbouten met flenskop (¼" x ¾") waarmee het zijpaneel van de bedieningseenheid is bevestigd; zie Figuur 102.

    g301406
  2. Kantel de stoel naar voren en verwijder de onderste achterste tapbout met flenskop (Figuur 102).

  3. Herhaal stap 1 en 2 aan de andere kant van het middelste bedieningspaneel.

  4. Verwijder de 4 tapbouten met flenskop (5/16" x ⅝") waarmee het armpaneel aan het frame van het bedieningspaneel is bevestigd (Figuur 103).

    g301405
  5. Til het armpaneel van het frame op (Figuur 103).

Een gat in de armsteun boren

  1. Meet 260 mm van het achterste uiteinde van het armpaneel, en markeer het paneel (Figuur 104).

    g301404
  2. Meet 35 mm van de bovenkant van het armpaneel, en markeer het paneel (Figuur 104).

  3. Gebruik een centerpons op het kruispunt van de markeringen.

  4. Bescherm de draad in het armpaneel.

  5. Boor een gat van 17 mm in het armpaneel door de centerponsmarkering (Figuur 104).

  6. Verwijder alle braam van de opening.

De drukknopschakelaar op de armsteun monteren

  1. Plaats de drukknopschakelaar in de opening in het armpaneel (Figuur 105).

    g301402
  2. Bevestig de schakelaar aan het paneel met de borgring en contramoer die werden meegeleverd met de schakelaar (Figuur 105).

De kabelboom naar de schakelaar voor op afstand inschakelen leiden

  1. Leid de kabelboomaftakking met de aanduiding REMOTE ENGAGE SWITCH door de pakkingring (Figuur 106) die u hebt gemonteerd in De voet van de bedieningseenheid boren.

    g301408
  2. Leid de kabelboomaftakking met de aanduiding REMOTE ENGAGE SWITCH in het middelste bedieningspaneel (Figuur 106).

  3. Leid de kabelboomaftakking met de aanduiding REMOTE ENGAGE SWITCH naar het armpaneel (Figuur 107).

    g301407
  4. Monteer de aansluitingen van de kabelboomaftakking met de aanduiding REMOTE ENGAGE SWITCH op de aansluitingen van de drukknopschakelaar (Figuur 108).

    g301403
  5. Maak de kabelboomaftakking met een kabelbinder vast aan de machinekabelboom.

Het armpaneel aan het frame van het bedieningspaneel monteren

  1. Lijn de lipjes aan de voorkant van het armpaneel uit met de sleuven in het frame van het bedieningspaneel, en draai het armpaneel naar beneden (Figuur 109).

    g301409
  2. Bevestig het armpaneel met een tapbout met flenskop (5/16" x ⅝") aan het frame van het bedieningspaneel (Figuur 109).

  3. Monteer het zijpaneel met 4 tapbouten met flenskop (¼" x ¾") aan het frame van het bedieningspaneel (Figuur 110).

    g301406
  4. Kantel de stoel naar voren en monteer de onderste achterste tapbout met flenskop (Figuur 110).

  5. Herhaal stap 3 en 4 aan de andere kant van het middelste bedieningspaneel.

  6. Kleef de sticker AutoSteer op afstand inschakelen op het armpaneel zoals getoond in Figuur 111.

    g301794

De O-ringen van de stuurklep vervangen

Benodigde onderdelen voor deze stap:

O-ring 9,2/1,8 mm3
O-ring 7,6/1,8 mm2
  1. Verwijder de 3 O-ringen van voorkant van de -6 fittingen van de stuurklep (Figuur 112).

    Note: Gooi de O-ring weg.

    g313836
  2. Monteer 3 nieuwe O-ringen (9,2/1,8 mm) in de groeven van de -6 fittings (Figuur 112).

  3. Verwijder de 2 O-ringen van voorkant van de -4 fittingen van de stuurklep (Figuur 112).

    Note: Gooi de O-ring weg.

  4. Monteer 2 nieuwe O-ringen (7,6/1,8 mm) in de groeven van de -4 fittings (Figuur 112).

De slangen plaatsen

Benodigde onderdelen voor deze stap:

Slang 6 x 203 mm; -6 (recht) en -6 (45°) fittings1
O-ring 12,4/1,8 mm2
Slang 6 x 2819 mm; -4 (90°) en -6 (90°) fittings1
Slang 6 x 673 mm; -4 (recht) en -6 (90°) fittings1
Slang 6 x 711 mm; -4 (recht) en -6 (90°) fittings1
Slang 10 x 187 mm; -6 (recht) en -8 (90°) fittings1
Slang 10 x 264 mm; -8 (90°) en -6 (45°) fittings1
O-ring 9,2/1,8 mm2
Slang 6 x 1397 mm; -6 (recht) en -6 (90°) fittings1
Slang 6 x 1270 mm; -6 (recht) en -6 (90°) fittings1
Slang 10 x 2921 mm; -8 (90°) en -8 (90°) fittings1
O-ring 7,6/1,8 mm1
Kabelbinder3

De slangen van de stuurklep monteren

  1. Monteer de 45°-fitting van de slang (6 x 203 mm) op de fitting van poort LS2 van de EHI-stuurklep (Figuur 113).

    g302041
  2. Monteer de rechte fitting van de slang (6 x 203 mm) op de fitting van poort E van de stuurklep, en draai beide slangfittings vast (Figuur 113).

  3. Leid het uiteinde van de slang van de hydraulische pomp (6 x 2819 mm) met de -4, 90°-fitting door de pakkingring in de bodemplaat (Figuur 114).

    g302072
  4. Monteer de -6, 90°-fitting van de slang (6 x 2819 mm) op de fitting van poort LS1 van de EHI-stuurklep, en draai de slangfitting vast (Figuur 114).

  5. Monteer de 90°-fitting van de slang (6 x 673 mm) in de fitting van poort R van de EHI-stuurklep (Figuur 115).

    g302130
  6. Monteer de rechte fitting van de slang (6 x 673 mm) in de fitting van poort R van de stuurklep, en draai beide slangfittings vast (Figuur 115).

  7. Monteer de 90°-fitting van de slang (6 x 711 mm) op de fitting van poort L van de EHI-stuurklep (Figuur 116).

    g302131
  8. Monteer de rechte fitting van de slang (6 x 711 mm) op de fitting van poort L van de stuurklep, en draai beide slangfittings vast (Figuur 116).

  9. Monteer de 90°-fitting van de slang (10 x 187 mm) op de fitting van poort T van de EHI-stuurklep (Figuur 117).

    g302044
  10. Monteer de rechte fitting van de slang (10 x 187 mm) op de fitting van poort T van de stuurklep, en draai beide slangfittings vast (Figuur 117).

  11. Monteer de 90°-fitting van de slang (10 x 264 mm) op de fitting van poort P van de EHI-stuurklep (Figuur 118).

    g302042
  12. Monteer de 45°-fitting van de slang (10 x 264 mm) op de fitting van poort P van de stuurklep, en draai beide slangfittings vast (Figuur 118).

De stuurcilinderslangen monteren

  1. Leid het uiteinde van de slang (6 x 1397 mm) met de rechte fitting door de pakkingring in de bodemplaat (Figuur 119).

    g302038
  2. Monteer de 90°-fitting van de slang (6 x 1397 mm) op de fitting van poort CR van de EHI-stuurklep (Figuur 119).

  3. Verwijder de 2 O-ringen in de 90°-fittings in de openingen voor uitgaande en ingaande slag van de stuurcilinder (Figuur 120).

    Note: Gooi de O-ring weg.

    g313835
  4. Monteer 2 nieuwe O-ringen (9,2/1,8 mm) in de groeven van de 90°-fittings (Figuur 120).

  5. Monteer de rechte fitting van de slang (6 x 1397 mm) op de 90°-fitting in de opening voor ingaande slang van de stuurklep, en draai beide slangfittings vast (Figuur 119).

  6. Leid het uiteinde van de slang (6 x 1270 mm) met de rechte fitting door de pakkingring in de bodemplaat (Figuur 121).

    g302037
  7. Monteer de 90°-fitting van de slang (6 x 1270 mm) op de fitting van poort CL van de EHI-stuurklep (Figuur 121).

  8. Monteer de rechte fitting van de slang (6 x 1270 mm) op de 90°-fitting in de opening voor uitgaande slag van de stuurklep, en draai beide slangfittings vast (Figuur 121).

De retourslang van de tank en de slang van de hydraulische pomp aan de EHI-stuurklep monteren

  1. Identificeer de retourslang van de tank (10 x 2921 mm) met 2 fittings (90°).

  2. Leid het uiteinde van de retourslang van de tank (10 x 2921 mm) door de pakkingring in de bodemplaat (Figuur 122).

    g302098
  3. Monteer de 90°-fitting van de retourslang van de tank (10 x 2921 mm) op de fitting van poort EF van de EHI-stuurklep, en draai de slangfitting vast (Figuur 122).

  4. Identificeer de slang van de hydraulische pomp (10 x 2921 mm) met een 90°-fitting en een 45°-fitting.

  5. Leid het uiteinde van de slang van de hydraulische pomp (10 x 2921 mm) met de 45°-fitting door de pakkingring in de bodemplaat (Figuur 123).

    g302123
  6. Monteer de 90°-fitting van de slang van de hydraulische pomp (10 x 2921 mm) op de fitting van poort PT van de EHI-stuurklep, en draai de slangfitting vast (Figuur 123).

  7. Leid de 2 slangen van de hydraulische pomp en de retourslang van de tank naar achteren, langs de rechterframebuis van de machine (Figuur 124).

    g302154

De slangen van de hydraulische pomp leiden

  1. Leid de slang van de hydraulische pomp (10 x 2921 mm - EHI-stuurklep poort PT) met de 45°-fitting in de bovenste groef van de buisklemhelft op de bovenste locatie (Figuur 125).

    g302043
  2. Leid de 45°-fitting van de slang naar de hydraulische pomp.

  3. Leid de slang van de hydraulische pomp (6 x 2819 mm - EHI-stuurklep poort LS1) met de 90°-fitting in de onderste groef van de buisklemhelft op de bovenste locatie (Figuur 126).

    g302040
  4. Leid de 90°-fitting van de slang naar de hydraulische pomp.

  5. Monteer de 2 buisklemhelften op de tapbouten en bevestig de buisklemhelften en de slangen (Figuur 127) met 2 flenskopborgmoeren (5/16").

    g302036

De retourslang van de hydraulische tank monteren

  1. Leid de retourslang van de tank (6 x 2819 mm - EHI-stuurklep poort EF) langs de bovenkant van de rechter montagebeugels van de motor (Figuur 128).

    g302152
  2. Monteer de 2 P-klemmen op de slang zoals getoond in Figuur 128.

  3. Lijn de 2 P-klemmen uit tussen de bevestigingsplaten voor de buisklem en de montagebeugels voor de motor (Figuur 128).

  4. Bevestig de bevestigingsplaten voor de klem en de P-klemmen aan de montagebeugels voor de motor (Figuur 128 en Figuur 129) met de 2 slotbouten (5/16" x 1") en 2 flensborgmoeren (5/16").

    g302153
  5. Verwijder de O-ring in de voorkant van de T-fitting van de hydraulische tank (Figuur 130).

    Note: Gooi de O-ring weg.

    g313837
  6. Monteer een nieuwe O-ring 12,4/1,8 mm in de groef van de T-fitting (Figuur 130).

  7. Monteer de 90°-fitting van de retourslang van de tank (6 x 2819 mm) op de T-fitting en draai de slangfitting vast (Figuur 131).

    g302101

De slangen van de hydraulische pomp monteren

  1. Verwijder de O-ring in de voorkant van de T-fitting aan het uiteinde van de hydraulische pomp (Figuur 132).

    Note: Gooi de O-ring weg.

    g337828
  2. Monteer een nieuwe O-ring 12,4/1,8 mm in de groef van de T-fitting (Figuur 132).

  3. Monteer de 45°-fitting van de slang (10 x 2921 mm) op de T-fitting en draai de slangfitting vast (Figuur 133).

    g337827
  4. Verwijder de O-ring in de voorkant van de rechte fitting aan het uiteinde van de hydraulische pomp (Figuur 134).

    Note: Gooi de O-ring weg.

    g313834
  5. Monteer een nieuwe O-ring (7,6/1,8 mm) in de groef van de rechte fitting (Figuur 134).

  6. Monteer de 90°-fitting van de slang (6 x 2819 mm) op de rechte fitting en draai de slangfitting vast (Figuur 135).

    g314161

De onderste slangovertrek plaatsen

  1. Bevestig onder de bodemplaat de slangen en de kabelbomen aan de koppeling en de koppelplaat zoals getoond in Figuur 136. Gebruik hiervoor de bevestigingsklem, tapbout (¼" x ⅞"), moer (¼"), borgring (¼") en ring (⅜" x ⅞") die u hebt verwijderd in De bevestigingsklemmen van de slang verwijderen.

    g300044g313648
  2. Plaats de onderste slangovertrek over de besturingsslangen (Figuur 137).

    g299125
  3. Bevestig de overtrek aan de slangen met 3 kabelbinders (Figuur 137).

De minkabel van de accu aansluiten

  1. Sluit de minkabel aan op de accupool (Figuur 138).

    g292314
  2. Monteer het deksel op de accubak en bevestig het deksel met de band (Figuur 138).

Het hydraulische systeem ontluchten

  1. Start de motor.

  2. Draai het stuurwiel volledig naar links en rechts tot het wiel soepel draait.

  3. Zet de motor af en haal het sleuteltje uit het contact.

Controleren op hydraulische lekken

  1. Controleer de slangen en fittings aan de EHI-stuurklep en de stuurklep op hydraulische lekken.

    Important: Repareer alle lekken voordat u de motorkap plaatst.

  2. Controleer de slangen en fittings aan de hydraulische tank en de hydraulische pomp op lekken.

    Important: Repareer alle lekken.

De motorkap plaatsen

Benodigde onderdelen voor deze stap:

Druknagels6
  1. Lijn de gaten in de motorkap uit met de gaten in het chassis van de machine (Figuur 139).

    g298935
  2. Gebruik 2 druknagels om de motorkap aan de dashboardsteun te bevestigen (Figuur 140).

    g298940
  3. Bevestig de motorkap aan de dashboardsteun (Figuur 140) met 4 cilinderschroeven met kruiskop (¼" x 1").

  4. Monteer de onderste flens van de motorkap met 4 druknagels aan de machine (Figuur 141).

    g298937
  5. Bevestig de flens met 2 flenskopbouten (5/16" x ¾") aan de machine (Figuur 141).

  6. Sluit de connector van de koplamp van de machinekabelboom aan op de connector van de gloeilamp (Figuur 142).

    g298936
  7. Herhaal stap 6 aan de andere koplamp.

Het hittescherm en het scherm van het onderstel monteren

Machines uit 2015 en later

Indien verwijderd, monteert u het hittescherm en het scherm van het onderstel aan de onderkant van de machine; raadpleeg de Gebruikershandleiding van uw machine.

De software instellen en kalibreren.

Het kompas kalibreren

Zorg ervoor dat het GeoLink kompas gekalibreerd is; raadpleeg de Gebruikershandleiding van de X25 GeoLink voor uw machine.

Kalibreren van de machine voorbereiden

Door de installateur geleverde apparatuur: een USB/CAN-interfacekabel (Toro DIAG kabel) onderdeelnr. 115-1944.

  1. Parkeer de machine op het gras op een vlakke plek.

  2. Schakel de motor uit en stel de parkeerrem in werking.

De laptop aansluiten op de machine

Note: U moet de volgende procedures uitvoeren voordat u de laptop aansluit op de machine voor kalibratie van de software:

  1. Als de Toro Diag toepassing op de laptop wordt uitgevoerd, sluit u de Toro Diag toepassing.

    Important: Begin de kalibratieprocedure niet als de Toro Diag toepassing op de laptop wordt uitgevoerd.

  2. Steek de USB/CAN-interfacekabel in een USB-poort van de laptop.

  3. Draai op de machine het sleuteltje naar de stand AAN.

  4. Klik in de Windows taakbalk op het pictogram (Figuur 143).

    g334306
  5. Typ in het tekstvak en druk op de toets Enter (Figuur 143).

  6. Klik op het pictogram PVED-CLS_2.00_rev_D.P1D (Figuur 143).

    Note: De Plus +1 service tool toepassing wordt op uw laptop weergegeven (Figuur 144).

    g333571
  7. Verwijder de dop van de connector met 3 contacten van de CAN-poort van de kabelboom van de set met de aanduiding DUPLICATE DIAG CONNECTOR, en steek de connector met 3 pinnen van de USB/CAN-interfacekabel in de connector met 3 contacten (Figuur 145).

    g302258
  8. Zet op het dashboard van de machine de schakelaar Activeren/transport naar de stand ACTIVERINGSMODUS (Figuur 146).

    g303495
  9. Klik op uw laptop op het bestand PVED-CLS_2.00_REV_D.P1D.

  10. Navigeer op het tabblad Systeemnavigator naar de map AUTO CALIBRATION (AUTOMATISCHE KALIBRATIE), en klik op het +-pictogram (Figuur 147).

    g302155
  11. Klik op het pictogram WAS CALIBRATION (WIELHOEKSENSORKALIBRATIE) (Figuur 147).

Besturingswaarden vastleggen

  1. Start de motor van de machine.

  2. Op het scherm WAS CALIBRATION (WIELHOEKSENSORKALIBRATIE), klikt u op het pictogram GOTO WAS CALIBRATION MODE (GA NAAR WIELHOEKSENSORKALIBRATIEMODUS) (Figuur 147).

  3. Draai het stuurwiel volledig naar links en stop.

  4. Klik op het pictogram CAPTURE L (L VASTLEGGEN) (Figuur 148).

    Note: De sensorwaarde verandert als u het stuurwiel draait.

    g302220
  5. Draai het stuurwiel volledig naar rechts en stop.

  6. Klik op het pictogram CAPTURE R (R VASTLEGGEN) (Figuur 149).

    Note: De sensorwaarde verandert als u het stuurwiel draait.

    g302222
  7. Draai het stuurwiel tot de banden recht vooruit uitgelijnd zijn en stop.

  8. Klik op het pictogram CAPTURE N (N VASTLEGGEN) (Figuur 150).

    Note: De sensorwaarde verandert als u het stuurwiel draait.

    g302221
  9. Klik op het pictogram ACCEPT AND SAVE (AANVAARDEN EN OPSLAAN) (Figuur 151).

    g302219

De spoelkalibratieprocedure uitvoeren

  1. Draai het stuurwiel indien nodig om de voorwielen recht vooruit te plaatsen.

  2. Klik op uw laptop op het pictogram SPOOL CALIBRATION (SPOELKALIBRATIE) (Figuur 152).

    g302249
  3. Op de spoelkalibratiepagina klikt u op het pictogram GOTO SPOOL CALIBRATION MODE (GA NAAR SPOELKALIBRATIEMODUS) (Figuur 152).

  4. Klik op het pictogram START CALIBRATION (START KALIBRATIE) (Figuur 153).

    Note: De status van de servicemodus moet Spool Calibration Armed (spoelkalibratie gereed) weergeven voordat u met kalibreren begint.

    Important: Raak het stuurwiel niet aan.

    Het stuurwiel beweegt terwijl de spoelkalibratie wordt verdergezet. De spoelkalibratieprocedure duurt een aantal minuten. Merk op dat de status van de wielbeweging in het tabblad Status verandert. De kalibratie is voltooid wanneer in het veld Service Mode State (servicemodus status) SPOOL PARAMETERS READY TO UPDATE (SPOELPARAMETERS GEREED VOOR BIJWERKEN) wordt weergegeven.

    g302250
  5. Klik aan de onderkant van het scherm spoelkalibratie op het pictogram ACCEPT AND SAVE (AANVAARDEN EN OPSLAAN) (Figuur 154).

    g302248
  6. Zet de motor af.

  7. Verwijder de connector van de USB/CAN-interfacekabel van de connector van de kabelboom van de set en plaats de dop op de kabelboomconnector (Figuur 155).

    g302258

AutoSteer inschakelen

  1. Draai het contactsleuteltje naar de stand AAN.

  2. Start de X25 bedieningseenheid en druk op het pictogram SETUP (INSTELLEN).

  3. Druk op het pictogram SYSTEM (SYSTEEM), het pictogram FEATURES (FUNCTIES) en het pictogram GUIDANCE (GELEIDING) (Figuur 156).

    g302299
  4. Druk op het pictogram AUTO STEERGraphic (Figuur 156).

  5. Druk in het dialoogvenster op het pictogram ENABLE (INSCHAKELEN) en druk dan op het pictogram bevestigen (Figuur 156).

  6. Druk in het dialoogvenster ‘bediening vereist een herstart’ op het pictogram bevestigen (Figuur 156).

    Het X25 bedieningspaneel start dan opnieuw op in de standaard gebruikersmodus.

AB-lijnen inschakelen

  1. Druk op het pictogram SYSTEM (SYSTEEM), het pictogram FEATURES (FUNCTIES) en het pictogram GUIDANCE (GELEIDING) (Figuur 157).

    g302300
  2. Druk op het pictogram AB LINES (AB-LIJNEN) (Figuur 157).

  3. Druk in het dialoogvenster op het pictogram ENABLE (INSCHAKELEN) en druk dan op het pictogram bevestigen (Figuur 157).

De waarde voor het inschakelen van de besturing instellen

  1. Druk in het scherm instellen op het pictogram USER (GEBRUIKER), en dan op het pictogram ACCESS LEVEL (TOEGANGSNIVEAU) (Figuur 158).

    g302312
  2. Druk op het scherm gebruikerstoegang op het pictogram ACCESS LEVEL (TOEGANGSNIVEAU) (Figuur 158).

  3. Druk in het dialoogvenster op het pictogram EXPERT en druk dan op het pictogram bevestigen (Figuur 158).

  4. Druk op het pictogram PASSWORD (WACHTWOORD), typ het wachtwoord van de dealer in met behulp van het pop-uptoetsenbord en druk op het pictogram bevestigen (Figuur 159).

    Note: Het gebruikerstoegangsniveau geeft dealer weer.

    g302314
  5. Druk op het pictogram VEHICLE (VOERTUIG) en op het pictogram STEERING (BESTURING) (Figuur 160).

    g302313
  6. Druk op het pictogram STEERING ENGAGE (BESTURING INSCHAKELEN) (Figuur 160).

  7. Druk in het dialoogvenster op het pictogram VIRTUAL AND EXTERNAL CONSOLE INPUT (INPUT VIRTUELE EN EXTERNE CONSOLE) en dan op het pictogram bevestigen (Figuur 160).

De wielhoeksensor kalibreren

  1. Verplaats de machine naar een open, vlak terrein waar geen bomen of gebouwen zijn en waar u de machine in een rechte lijn, 92 meter ver kunt rijden.

  2. Druk op het pictogram STEERING OPTIONS (STUUROPTIES) (Figuur 161).

    Het menu stuuropties wordt weergegeven.

    g302316
  3. Druk op het pictogram AUTO STEER CALIBRATION (AUTO STEER KALIBRATIE) (Figuur 161).

    Het menu stuurkalibratie wordt weergegeven.

  4. Druk op het pictogram WHEEL ANGLE SENSOR (WIELHOEKSENSOR) (Figuur 161).

    De wizard voor de wielhoeksensorkalibratie start.

    Note: Als een bericht met NOT INITIALIZED (NIET GEïNITIALISEERD) op de bedieningseenheid wordt weergegeven, rijd dan gedurende een aantal minuten met de machine.

  5. Wacht bij stap 1 tot de wielhoeksensorkalibratie begint, en druk dan op het pictogram volgende stap (Figuur 162).

    g303590
  6. Draai bij stap 2 het stuurwiel volledig naar links, stop en druk op het pictogram volgende stap (Figuur 163).

    Important: Controleer of de waarden van de wielhoeksensor veranderen wanneer het stuurwiel draait.

    g303591
  7. Draai bij stap 3 het stuurwiel volledig naar rechts, stop en druk op het pictogram volgende stap (Figuur 164).

    g303593
  8. Draai bij stap 4 het stuurwiel volledig tot de wielen recht vooruit uitgelijnd zijn, stop en druk op het pictogram volgende stap (Figuur 164).

  9. Wacht bij stap 5 tot de wielhoeksensorkalibratie gegevens opslaat, en druk dan op het pictogram volgende stap (Figuur 165).

    g303592
  10. Druk in stap 6 op het pictogram bevestigen (Figuur 165).

De installatiebias voor Auto Steer kalibreren

Gebruik deze procedure om de positie van de ontvanger op uw machine te kalibreren. Kalibreer de installatiebias van de satellietontvanger wanneer deze voor het eerst wordt geïnstalleerd of als de satellietontvanger wordt vervangen.

Note: Voor deze kalibratie hebt u een vlak, open gebied nodig om 76 m of meer in een rechte lijn te rijden.

  1. Druk op het pictogram STEERING OPTIONS (STUUROPTIES) (Figuur 166).

    Het menu stuuropties wordt weergegeven.

    g242655
  2. Druk op het pictogram STEERING CALIBRATION (STUURKALIBRATIE) (Figuur 166).

    Het menu stuurkalibratie wordt weergegeven.

  3. Druk op het pictogram MOUNTING BIAS (INSTALLATIEBIAS) (Figuur 167).

    De wizard installatiebiaskalibratie verschijnt.

    Note: Als het pictogram Mounting Bias (installatiebias) NOT REQUIRED (NIET VEREIST) aangeeft, hoeft u de installatiebias niet te kalibreren.

    g242653
  4. Rijd de machine naar het einde van het open gebied, lijn ze recht uit en druk op het pictogram POSITION A (POSITIE A).

    Note: Het symbool punt A zal worden weergegeven op de bedieningseenheid.

    g315024
  5. Rijd de machine handmatig vooruit (Figuur 169) met 2 km/h in een rechte lijn.

    Note: GeoLink voegt automatisch het symbool puntB op het display in wanneer de machine 70 m aflegt.

    g314846g314884
  6. Het bedieningspaneel geeft het volgende scherm van de kalibratieprocedure weer.

    Draai de machine om en lijn ze uit met de positie A en B referentielijn in de bedieningseenheid (Figuur 170).

    g314845
  7. Rijd de machine naar punt B en druk op het pictogram AUTO STEER (Graphic).

    Important: Laat Auto Steer de machine sturen.

  8. Voordat u punt B bereikt, stelt u de rijsnelheid voor de machine in op 2 km/h en schakelt u de gasbegrenzer van de machine in (Figuur 170).

    Note: Auto Steer stuurt de machine tussen punt B en punt A (Figuur 171).

    g314844
  9. Stop de machine.

  10. Het bedieningspaneel geeft het volgende weer:

    • Het dialoogvenster geeft een kalibratievoortgang van 100% aan, druk op het pictogram bevestigen (Figuur 172).

      g314858
    • Dialoogvensters met bijkomende stappen voor het uitvoeren van een installatiebiaskalibratiewerkgang van punt A naar punt B.

      Note: Als het systeem geen 100% voortgang van kalibratie aangeeft na het uitvoeren van een installatiebiaskalibratiewerkgang van punt A naar punt B, neem dan contact op met het Toro Technical Assistance Center.

      g314843

Het peil van de hydraulische vloeistof controleren

Het peil van de hydraulische vloeistof controleren. Als het vloeistofpeil laag is, voegt u vloeistof toe aan de hydraulische tank; raadpleeg de Gebruikershandleiding voor de specificaties van de hydraulische vloeistof en de controleprocedure.

Schema's

Hydraulisch schema 138-6255

g300521