핸드 스프레이 원드 키트는 잔디 살포용 차량 전용 부착 장치이며 전문 작업자가 상업용으로 사용해야 합니다. 주로 공원, 골프 코스, 경기장, 상업지 등의 관리가 잘 된 잔디에서 살포 작업을 하도록 설계되었습니다.
www.Toro.com에서 Toro에 직접 문의하면 제품 안전성과 교육 자료, 액세서리 관련 정보와 판매점 연락처 정보를 얻거나 제품을 등록할 수도 있습니다.
장비의 모든 액체를 비웁니다. 장비에 화학약품을 사용했다면 깨끗한 용수로 장비를 철저히 세척하고 용수를 배수합니다. 장비 사용 설명서의 지침을 참조하십시오.
배터리에서 음극 배터리 단자를 분리합니다.
이 절차를 수행하는 데 필요한 부품:
| 호스 후크 | 1 |
| 플랜지 록너트(⅜ 인치) | 4 |
| 플랜지 록너트(5/16 인치) | 4 |
| 캐리지 볼트(⅜ x ¾ 인치) | 4 |
| 캐리지 볼트(5/16 x 1 인치) | 4 |
| R-클램프 | 2 |
| 스프레이 건 브래킷 | 1 |
이 절차를 수행하는 데 필요한 부품:
| 암나사 캡 | 2 |
| 차단 밸브 | 2 |
섹션 밸브 또는 교반 밸브에 대해 액추에이터를 매니폴드 밸브에 고정하는 리테이너를 제거합니다.
Note: 2개의 리테이너 레그를 꽉 쥐고 아래로 당기십시오.
Note: 액추에이터 및 리테이너를 보관하십시오.

매니폴드 밸브에서 액추에이터를 제거합니다.
그림 4과 같이 바이패스 조정 어셈블리, 엔드 캡, 피팅 및 호스 어셈블리를 고정하는 리테이너를 분리합니다.
Note: 말단 캡은 사용하지 않지만 캡에 있는 O-링은 보관하십시오.

그림 5과 같이 바이패스 조정 어셈블리를 180도 돌립니다.

그림 6와 같이 앞에서 제거한 리테이너를 사용하여 바이패스 조정 어셈블리, 피메일 캡, O-링, 차단 밸브, 피팅 및 호스 어셈블리를 설치합니다.

매니폴드 단부의 말단 캡을 제거하고 암나사 캡으로 교체합니다. 리테이너로 캡을 고정합니다.

매니폴드 단부에 호스를 고정하는 리테이너를 제거합니다.

호스 및 장비에 차단 밸브를 설치합니다. 리테이너로 고정합니다.

이 절차를 수행하는 데 필요한 부품:
| 부품 표 참조 | 0 |
| 부품 | 5800 | 1750 | Workman | |||||
|---|---|---|---|---|---|---|---|---|
| 수량 | 2023년식 이전 | 2024년식 이후, GeoLink 제외 | 2024년식 이후, GeoLink 포함 | 2023년식 이전 | 2024년식 이후, GeoLink 제외 | 2024년식 이후, GeoLink 포함 | 2023년식 이전 | 2024년식 이후 |
| 제어 밸브 | 1 | 1 | 1 | 1 | 1 | |||
| 제어 밸브(플랜지 말단 캡 포함) | 1 | 1 | 1 | |||||
| 제어 밸브 윙 핸들 | 1 | 1 | 1 | 1 | 1 | 1 | 1 | 1 |
| 직선형 피팅 | 1 | 1 | 1 | 1 | 1 | 1 | 1 | 1 |
| 밸브 마운트 | 1 | 1 | 1 | 2 | 2 | 2 | ||
| 제어 밸브 브래킷(2023) | 1 | |||||||
| 제어 밸브 브래킷(홀 포함) | 1 | 1 | ||||||
| 제어 밸브 브래킷(홀 제외) | 1 | 1 | 1 | |||||
| 차단 밸브 | 1 | 1 | 2 | 1 | 1 | |||
| 90도 엘보우 피팅 | 1 | 1 | ||||||
| T-피팅 | 1 | |||||||
| 매니폴드티 | 1 | 1 | 1 | 1 | ||||
| 개스킷 클램프 | 1 | 1 | 1 | |||||
| 볼트(M6 x 12 mm) | 4 | 8 | 4 | 8 | 8 | 8 | ||
| 캐리지 볼트(1/4-20 X 5/8 인치) | 2 | 2 | ||||||
| 육각 헤드 볼트(1/4-20 X 5/8 인치) | 4 | 2 | 2 | |||||
| 록너트(¼ 인치) | 4 | 2 | 2 | 2 | 2 | |||
제어 밸브에 그린 윙 핸들과 직선형 피팅을 조립합니다.

압력 게이지 포트에 말단 캡과 커플러를 고정하는 플랜지 클램프를 제거합니다.

말단 캡에서 커플러를 제거합니다.
제어 밸브 어셈블리를 설치합니다.
90도 피팅의 열린 포트에 커플러를 설치합니다.
Note: Multi Pro 1750 및 Multi Pro WM의 90도 피팅 측면에 있는 포트는 피팅의 전방에 있습니다(도시되지 않음).
호스 클램프를 사용하여 제어 밸브에 호스 릴 공급 호스를 연결합니다.
압력 변환기의 3-소켓 커넥터를 분리합니다.

압력 변환기를 90° 피팅에 고정하는 플랜지 클램프를 제거하고 변환기, 개스킷, 플랜지 클램프를 분리합니다.

센스 튜브용 커넥터가 달린 90° 피팅에 90° 피팅을 고정하는 플랜지 클램프를 제거하고, 90° 피팅, 개스킷, 플랜지 클램프를 분리합니다.
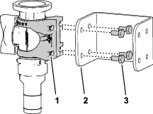
그림 14의 A에 표시된 대로 제어 밸브에 밸브 마운트를 조립합니다.

플랜지 헤드 나사(#6)로 제어 밸브에 밸브 마운트를 고정하고, 손으로 나사를 고정합니다(그림 14의 B).
4개의 볼트(6 x 12 mm) 및 4개의 플랫 와셔로 제어 밸브 브래킷을 밸브 마운트에 조립하고, 10~12 N∙m으로 볼트를 조입니다.

T-피팅의 플랜지를 제어 밸브의 플랜지에 정렬합니다.

개스킷 및 플랜지 클램프로 제어 밸브에 T-피팅을 느슨하게 부착합니다.
T-피팅 플랜지와 압력 변환기 플랜기를 정렬합니다.

개스킷과 플랜지 클램프로 압력 변환기를 T-피팅에 조립하고 손으로 클램프를 고정합니다(그림 17).
센스 튜브용 커넥터를 포함하는 90° 피팅과 T-피팅 포함 플랜지를 정렬합니다.

개스킷 및 플랜지 클램프와 T-피팅 및 90° 피팅을 느슨하게 조립합니다.
Note: 필요 시 제어 밸브 브래킷을 회전시켜 밸브 마운트 표면과 평행하도록 정렬합니다.
제어 밸브 브래킷을 템플릿으로 사용하여 매니폴드 마운트의 표면에 브래킷 구멍 위치를 표시합니다.

센스 튜브용 커넥터를 포함하는 90° 피팅에서 크램프, 개스킷, T-피팅 포함 플랜지를 분리합니다.
3 단계에서 표시한 매니폴드 마운트의 마크의 중심을 펀칭합니다.
5 단계에서 만든 매니폴드 마운트의 중심 펀칭 마크에 6 mm 구멍 4개를 드릴로 뚫습니다.

센스 튜브용 커넥터를 포함하는 90° 피팅과 T-피팅 포함 플랜지를 정렬합니다.

개스킷 및 플랜지 클램프와 T-피팅 및 90° 피팅을 느슨하게 조립합니다.
4개의 육각 헤드 볼트(1/4 x 5/8 인치) 및 4개의 플랜지 록너트(6 mm)로 제어 밸브 브래킷을 매니폴드 마운트에 조립하고, 10~12 N∙m로 볼트를 조입니다.
센스 튜브용 커넥터로 제어 밸브 및 T-피팅을 고정하는 플랜지 클램프와 90° 피팅에 T-피팅을 고정하는 플랜지 클램프를 손으로 조입니다.
압력 변환기의 3-소켓 커넥터를 연결합니다.

볼트(M6) 4개를 사용하여 브래킷에 제어 밸브 어셈블리를 고정합니다

그림 26와 같이 기존 하드웨어를 분리합니다.

기존 하드웨어를 사용하여 장비에 브래킷을 고정합니다.

볼트(M6) 4개를 사용하여 브래킷 상단을 고정합니다.

매니폴드 T-피팅을 제어 밸브에 장착합니다.

볼트(M6) 4개를 사용하여 브래킷에 어셈블리를 고정합니다.

차단 밸브 위에 밸브 마운트를 조립하고 볼트(M6) 4개로 브래킷을 고정합니다.




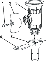
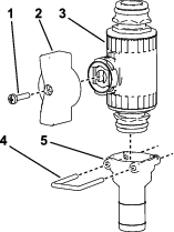
이 절차를 수행하는 데 필요한 부품:
| 스프레이 건 어셈블리 | 1 |
| 직선형 유자 피팅 | 1 |
| 호스 클램프 | 2 |
| 호스 | 1 |
Note: PTFE 테이프를 사용하여 원불형 파이프 나사산 피팅을 밀봉합니다.
호스 클램프를 사용하여 직선형 유자 피팅을 호스 릴 공급 호스의 열린 말단에 고정합니다.

호스 클램프로 제어 밸브의 호스 단부를 고정합니다.

탱크의 후크 주변에 있는 남은 호스를 감고 브래킷의 스프레이 건을 보관합니다.
배터리에 음극 배터리 와이어를 연결합니다.
바이패스 조정 어셈블리를 보정합니다. 장비 사용 설명서를 참조하십시오.
가압된 액체는 피부에 침투하여 부상을 입힐 수 있습니다.
고압의 오일이 분출되는 노즐 근처에 손이나 신체가 놓이지 않게 하십시오.
스프레이어를 사람이나 동물 쪽으로 향하지 마십시오.
시스템에 압력을 가하기 전에 모든 액체 호스 및 라인의 상태가 양호하고 모든 커넥터 및 피팅이 단단히 조여 있는지 확인하십시오.
판지나 종이를 사용하여 누출 부위를 찾으십시오.
작업을 하는 경우 먼저 시스템의 모든 압력을 배출하십시오.
액체가 피부에 침투하면 즉시 의사의 진료를 받으십시오.
뜨거운 액체와 화학물질은 화상을 유발하거나, 기타 피해를 입힐 수 있습니다.
Important: 스프레이어를 정지 모드에서 작동할 때 엔진, 라디에이터 및 머플러의 열이 잔디에 손상을 입힐 수 있습니다. 정지 모드에는 탱크 교반, 수동 살포, 자주식 붐 사용 등이 포함됩니다.
다음 예방 조치를 취하십시오.
잔디가 더 많은 스트레스를 받을 수 있으므로 날씨가 매우 덮거나 건조할 때 정지 모드 살포 작업을 피하십시오.
정지 모드 살포 작업 중 잔디 위에 주차하지 마십시오. 가능하면 카트 경로에 주차하십시오.
특정 잔디 구역에서 장비가 가동하는 시간을 최소화하십시오. 시간과 온도가 모두 잔디의 손상 정도를 결정합니다.
엔진을 가능한 한 저속으로 운전하여 원하는 압력 및 유속을 달성하십시오. 저속으로 운전하면 열 발생 및 냉각팬의 공기 속도를 줄입니다.
엔진 구획의 열기가 차량 아래로 빠져나오는 대신에 엔진 보호대/좌석 어셈블리를 들어 올려 위로 배출하십시오. 좌석 어셈블리를 드는 방법에 대한 자세한 내용은 사용 설명서를 읽으십시오.
Note: 추가적인 열 보호를 원하면 정지 모드 작동 중 차량 아래에 열 차단 담요를 까십시오. 잔디 스프레이어용 Toro 열 차단 담요를 구하려면 Toro 공인 판매 대리점에 문의하십시오.
장비를 정지시키고, 붐을 잠그고, 주차 브레이크를 겁니다.
핸드 스프레이어를 사용하는 중 운전하면 제어를 하지 못해 부상을 당하거나, 사망에 이를 수 있습니다. 운전하는 중에는 핸드 스프레이어를 작동하지 마십시오.
장비 뒤에서 스프레이 건의 트리거 잠금장치를 잠갔는지 확인합니다.
제어 밸브의 녹색 핸들을 90도로 돌립니다.
운전자 위치에서 펌프를 켭니다.
마스터 붐을 ON(켬) 위치로 전환합니다.
원하는 속도로 엔진을 설정한 다음 엔진 속도 잠금장치를 중립으로 놓습니다.
Important: 핸드 스프레이어를 1034 kPa 이상의 압력으로 설정하지 마십시오.
제어 밸브의 녹색 핸들을 90도로 돌립니다.
스프레이 건 노즐을 살포해도 안전한 구역으로 향하고, 트러거 잠금장치를 해제하고, 모든 잔여 액체가 호스에서 나올 때까지 트리거를 당긴 다음 트러거 잠금장치를 채웁니다.
홀더에 스프레이 건을 다시 걸어놓습니다.
엔진을 공회전 속도로 되돌립니다.
펌프를 정지합니다.
Important: 일상 청소 과정에서 깨끗한 새 물로 스프레이 건을 세척하십시오(스프레이어 사용 설명서를 참조하십시오). 스프레이 건을 적절하게 청소하지 않으면 성능이 저하되고 스프레이 건의 신뢰도가 감소합니다.
속도 스위치를 사용하여 원하는 살포 압력으로 설정합니다.