| 整備間隔 | 整備手順 |
|---|---|
| 使用するごとまたは毎日 |
|
この機械は回転刃を使用するロータリー式乗用芝刈り機であり、そのような業務に従事するプロのオペレータが運転操作することを前提として製造されています。この製品は、集約的で高度な管理を受けているスポーツフィールドや商用目的で使用される芝生に対する刈り込み管理を行うことを主たる目的として製造されております。このマシンは本来の目的から外れた使用をすると運転者本人や周囲の人間に危険な場合があります。
この説明書を読んで製品の運転方法や整備方法を十分に理解し、他人に迷惑の掛からない、適切で安全な方法でご使用ください。この製品を適切かつ安全に使用するのはお客様の責任です。
製品の安全や取り扱い講習、アクセサリなどに関する情報、代理店についての情報の入手、お買い上げ製品の登録などをネットで行っていただくことができます:www.Toro.com
整備について、また純正部品についてなど、分からないことはお気軽に弊社代理店またはカスタマーサービスにおたずねください。お問い合わせの際には、必ず製品のモデル番号とシリアル番号をお知らせください。図 1にモデル番号とシリアル番号を刻印した銘板の取り付け位置を示します。いまのうちに番号をメモしておきましょう。
Important: シリアル番号デカルについている QR コード(無い場合もあります)をモバイル機器でスキャンすると、製品保証、パーツその他の製品情報にアクセスできます。

危険警告記号(図 2)は、このマニュアルと実機上とに表示され、事故防止のために守るべき重要な注意事項を示します。

危険警告記号に続いて、危険、警告、または注意という文字が表示され、危険についての具体的な内容が示されます。
危険:人の生命に関わる重大な潜在的危険を意味します。この注意を守らないと死亡事故や重大な人身事故が起こります。
警告:人の生命に関わる潜在的危険を意味します。この注意を守らないと死亡事故や重大な人身事故が起こる恐れがあります。
注意:安全に関わる潜在的危険を意味します。この注意を守らないとけがをする可能性があります。
この他に2つの言葉で注意を促しています。重要 は製品の構造などについての注意点を、注はその他の注意点を表しています。
この製品は、関連するEU規制に適合しています。詳細については、DOC シート(規格適合証明書)をご覧ください。
カリフォルニア州の森林地帯・潅木地帯・草地などでこの機械を使用する場合には、エンジンに同州公共資源法第4442章に規定される正常に機能するスパークアレスタが装着されていること、エンジンに対して森林等の火災防止措置をほどこされていることが義務づけられており、これを満たさない機械は、第4442章または4443章違犯となります。
エンジンの保守整備のため、および米国環境保護局(EPA)並びにカリフォルニア州排ガス規制に関連してエンジンマニュアルを同梱しております。エンジンマニュアルはエンジンのメーカーから入手することができます。
このマシンにテレマティクスデバイスが装備されている場合、Toro認定代理店にお問い合わてデバイスをアクティベートしてください。
|
電磁適合性認証 |
|
国内: このデバイスはFCC規則の付則15に準拠しています。動作には次の2つの条件が適用されます。(1) このデバイスは有害な干渉を引き起こしてはならない、(2) このデバイスは、望ましくない動作を引き起こす可能性のある干渉を含め、受信する可能性のあるあらゆる干渉を受け入れる必要がある。 |
|
FCC ID: APV-3640LB IC: 5843C-3640LB |
|
この機器はテストされ、FCC規則の付則15に従ってクラスBデジタルデバイスの制限内に準拠していることが確認されています。これらの制限は、住宅設備における有害な干渉に対する合理的な保護を提供するように作られています。この機器は無線周波数エネルギーを生成、使用、および放射する可能性があるため、指示に従って設置および使わないと、無線通信に有害な干渉を引き起こす場合があります。ただし、特定の設置環境で干渉が発生しないという保証はありません。この機器がラジオまたはテレビの受信に有害な干渉を引き起こすかどうかは、機器の電源をオフにしてからまたオンにすることで判断できますが、ユーザーは次のいくつかの手段で干渉を解決することをが推奨されます。
|
|
アルゼンチン |
![]() |
|
オーストラリア |
![]() |
|
モロッコ |
|
|---|---|
|
AGREE PAR L’ANRT MAROC |
|
|
Numero d’agrement: |
MR00004789ANRT20024 |
|
Delivre d’agrement: |
2024/11/04 |
|
ニュージーランド |
|
|
|
韓国 |
![]() |
カリフォルニア州
第65号決議による警告
カリフォルニア州では、ディーゼルエンジンの排気には発癌性や先天性異常などの原因となる物質が含まれているとされております。
バッテリーやバッテリー関連製品には鉛が含まれており、カリフォルニア州では発ガン性や先天性異常を引き起こす物質とされています。取り扱い後は手をよく洗ってください。
米国カリフォルニア州では、この製品を使用した場合、ガンや先天性異常などを誘発する物質に触れる可能性があるとされております。
この機械は手足を切断したり物をはね飛ばしたりする能力があります。重大な人身事故を防ぐため、すべての注意事項を厳守してください。
エンジンを始動する前に必ずこのオペレーターズマニュアルをお読みになり、内容をよく理解してください。
このマシンを運転する時は常に十分な注意を払ってください。運転中は運転操作に集中してください;注意散漫は事故の大きな原因となります。
ガードなどの安全保護機器が正しく機能していない時は、運転しないでください。
回転部に手足を近づけないよう注意してください。排出口の近くに手足などを近づけないでください。
作業場所に、無用の大人、子供、ペットなどを近づけないでください。子供に運転させないでください。
エンジンを停止させ、キーを抜き取り、各部の動作が完全に停止したのを確認してから運転位置を離れる。調整、整備、洗浄、格納などは、マシンが十分に冷えてから行ってください。
間違った使い方や整備不良は人身事故などの原因となります。事故を防止するため、以下に示す安全上の注意や安全注意標識
のついている遵守事項は必ずお守りください 「注意」、「警告」、および「危険」
の記号は、人身の安全に関わる注意事項を示しています。これらの注意を怠ると死亡事故などの重大な人身事故が発生する恐れがあります。
![]() |
危険な部分の近くには、見やすい位置に安全ラベルや指示ラベルを貼付しています。破損したりはがれたりした場合は新しいラベルを貼付してください。 |





















4500 シリーズのマシンを CE* 基準に適合させる場合に P/N 112-5297 の上から貼り付ける* (モデル番号:30885)

4700 シリーズのマシンを CE* 基準に適合させる場合に P/N 112-5297 の上から貼り付ける* (モデル番号:30887)

Note: 前後左右は運転位置からみた方向です。
この作業に必要なパーツ
| 警告表示ステッカー | 1 |
| CE 用ステッカー | 1 |
| 製造年デカル | 1 |
CE 規制に適合する必要のあるマシンでは、警告デカル(モデル 30885 用は 127-6647、モデル 30887 用は 127-6648)、CE デカル、製造年デカルを貼りかえる必要があります(図 3)。

この作業に必要なパーツ
| フードラッチブラケット | 1 |
| リベット | 2 |
| ワッシャ | 1 |
| ねじ(¼ x 2") | 1 |
| ロックナット(¼") | 1 |
フードラッチブラケットからフードラッチを外す。
フードラッチブラケットをフードに固定しているリベット2本を外す(図 4)。

フードからフードラッチブラケットを外す。
CEロックブラケットとフードラッチブラケットの穴を整列させてフードにセットする(図 5)。
Note: ロックブラケットをフード側に(フードに当てて)取り付けます。ロックブラケットアームについているボルトとナットは外さないでください。

フードの内側にある穴に、ワッシャを整列させる。
ブラケットとワッシャをフードにリベットで固定する(図 5)。
フードラッチブラケットにフックをかける(図 6)。

フードラッチブラケットのもう一つのアームにボルトを取り付けてラッチをロックする(図 7)。ボルトをしっかりと締め付けるが、ナットは締め付けない。

後ローラスクレーパ(オプション)は、スクレーパとローラとの間に 0.5-1 mm の平行な隙間があるときに最も効率よく機能します。
グリスフィッティングと取り付けねじをゆるめる (図 8)。

スクレーパを上下に移動させてロッドとローラとの隙間が 0.5-1 mm になるように調整する。
グリスフィッティングとねじを取り付けて、交互に 41 N·m(4.2 kg.m = 30 ft-lb) にトルク締めする。
マルチングバッフルの選択については、代理店にご相談ください。
チェンバの後壁および左側面の壁についている取り付け穴を十分に清掃して異物を取り除く。
後部の取り付け穴にマルチングバッフルを取り付け、フランジヘッドボルト 5 本で固定する(図 9)。

どのマルチングバッフルもブレードに触れていないこと、また後チェンバ壁面の内側にはみ出ていないことを確認する。
ハイリフトブレードとマルチングバッフルを組み合わせると、ブレードが破損する恐れがあり万一場合には死亡事故となる。
ハイリフトブレードでの刈り込みにはバッフルを使用してはならない。
平らな場所に駐車する。
グランドマスター 4500 および 4700 については、No. 4 および No. 5 カッティングユニットのケーブルを解除する (図 39)。
グランドマスター 4700 については、No. 6 および No. 7 カッティングユニットのラッチを解除する (図 42)。
カッティングユニットを下降させる。
駐車ブレーキを掛ける。
エンジンを止め、キーを抜き取る。
運転前にタイヤ空気圧を点検する;タイヤ空気圧を点検するを参照。
Important: マシンの性能を適切に発揮させ、また質の高い刈り込みを実現するために、すべてのタイヤの空気圧を正しく維持してください。タイヤ空気圧は規定値以下にしないで下さい。
エンジンを初めて作動させる前に、後アクスルオイルの量を点検する;後アクスルオイルの点検を参照。
エンジンを作動させる前エンジンオイルの量を点検する;エンジンオイルの量を点検するを参照。
エンジンを作動させる前に、油圧オイルの量を点検する;油圧オイルの量を点検する を参照。
エンジンを作動させる前に、冷却系統を点検する;冷却系統を点検するを参照。
運転前に機械のグリスアップを行う;ベアリングとブッシュのグリスアップを参照。
Important: この作業を怠るとマシンに急激な磨耗が発生しますから注意してください。

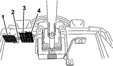
走行ペダル(図 10)は前進走行と後退走行を制御します。ペダル前部を踏み込むと前進、後部を踏み込むと後退です。カッティングユニットが完全に上昇している状態では、ペダルの踏み込みとエンジン速度と走行速度との関係は、普通の自動車と同様になります。
Note: 緊急停止する場合には、走行ペダルから足を離した上で、ブレーキペダルを踏み込んでください。これが最短で停止する方法です。
2枚のペダルにより左右の車輪を独立で制御し、旋回性能や駐車、斜面での走行性能を高めています。駐車ブレ ーキを掛けるときや移動走行の際にはロックピンで2枚を連結して使用します(図 10)。
ペダルのロック用ラッチを使って2枚のペダルを連結して駐車ブレーキとします(図 10)。
ハンドルを手前に寄せたい場合には、ペダルを踏み込み、ステアリングタワーを手前に引き寄せ、ちょうど良い位置になったら、ペダルから足を離します(図 10)。ハンドルを手元から遠くへ移動させたい場合には、ペダルを踏み込み、希望位置までハンドルを前に押し出し、ラッチがかかったらペダルから足を離します。
駐車ブレーキ(図 10)を掛けるには、ペダルロック用ラッチで2枚のペダルを連結し、右ブレーキペダルを踏み込みながら、つま先ペダルを踏み込みます。ブレーキを解除するには、駐車ブレーキラッチが解除される左右どちらかのペダルを踏み込みます。
キースイッチ(図 11)には3つの位置があります: OFF、ON/PREHEAT、STARTです。

PTOスイッチにはOUT(引き出した状態:作動)とIN(押し込んだ状態:停止)の2つの位置があります。PTO ボタンを引くとカッティングユニットのブレードが回転を開始します。PTO ボタンを押し込むとカッティングユニットのブレードが回転を停止します(図 11)。
このスイッチ (図 11) で、高速レンジと低速レンジの切り替えを行います。
H/L AUTO を選択すると、自動でレンジの切り替えが行われるようになります。
低速レンジのみで運転を行いたい場合には LOW を選択してください。
切り替えスイッチの操作はいつでも行うことができますが、自動での切り替えは、マシンがニュートラルで停止している時にのみ行われます。
Note: H/L AUTOモードでハイレンジを使うには、PTOを解除してカッティングユニットを完全に上昇させてください。
Note: H/L AUTO モードでは、完全に上昇したカッティングユニットを下げることはできません。走行ペダルをニュートラルにして走行を停止させる必要があります。
昇降スイッチで、カッティングユニットの昇降を行います(図 11)。スイッチの前側を押すとカッティングユニットが下降し、後側を押すとカッティングユニットが上昇します。カッティングユニットが降下した状態でマシンを始動する場合には、昇降スイッチを降下側に押してカッティングユニットをフロート刈り込みモードにしてください。
Note: 速度が高速レンジに設定されているとカッティングユニットは降下しません。また、着席していない場合には、降下も上昇もできません。キーが ON 位置となっていて、着席しているとカッティングユニットは降下します。
スイッチを上方向に押すとONとなります(図 11)。
スイッチを下方向に押すとOFFとなります。
電動アクセサリ用に電源ソケット(図 13)から12 Vの電源をとることができます。

バッグホルダーは物入れにお使いください(図 13)。
運転席横の調整レバーを外側に引いて運転席を希望の位置にスライドさせ、その位置でレバーから手を離すと運転席が固定されます(図 14)。

ノブを回してアームレストの角度を調整することができます(図 14)。
背もたれの角度を調整するレバーです(図 14)。
適正位置に調整されると体重ゲージに表示が出ます(図 14)。運転席の高さも調整できます;サスペンションを緑色の範囲で調整してください。
体重に合わせてこのレバーで調整します(図 14)。レバーを引き上げると空気圧が高くなり、押し下げると低くなります。体重ゲージが緑色の範囲に入れば、調整は適切です。
インフォセンターLCDディスプレイ(図 11)は、マシンの運転状態、故障診断など)の情報を表示します。
表示される内容はボタンによって変わります。各ボタンの機能はメニューの内容によって、変わります。

| 内容 | 4500-D | 図 15 記号 | 4700-D | 図 15 記号 | |
|---|---|---|---|---|---|
| 刈り幅 | 280 cm | D | 380 cm | F | |
| 全幅 | |||||
| カッティングユニット降下時 | 286 cm | E | 391 cm | G | |
| カッティングユニット上昇時(移動走行) | 224 cm | A | 224 cm | A | |
| トレッド | |||||
| 前 | 224 cm | B | 224 cm | B | |
| 後 | 141 cm | M | 141 cm | M | |
| 高さ(ROPSを含む) | |||||
| 立てた状態 | 226 cm | C | 226 cm | C | |
| 降ろした状態 | 165 cm | 165 cm | |||
| 全長 | |||||
| カッティングユニット降下時 | 370 cm | H | 370 cm | H | |
| カッティングユニット上昇時(移動走行) | 370 cm | L | 370 cm | L | |
| 地上高 | 15 cm | 15 cm | |||
| ホイールベース | 171 cm | K | 171 cm | K | |
| 純重量 | 1937 kg | 2277 kg | |||
| (カッティングユニットを含み、油脂類を含まない) | |||||
Note: 仕様および設計は予告なく変更される場合があります。
| 長さ | 86.4 cm |
| 幅 | 86.4 cm |
| 高さ | 24.4 cm(キャリアマウントまで) |
| 26.7 cm(刈高 18 mm のとき) | |
| 34.9 cm(刈高 102 mm のとき) | |
| 重量 | 88 kg |
トロが認定した各種のアタッチメントやアクセサリがそろっており、マシンの機能をさらに広げることができます。詳細は弊社の正規サービスディーラ、または代理店へお問い合わせください;弊社のウェブサイト www.Toro.com でもすべての認定アタッチメントとアクセサリをご覧になることができます。
交換部品は必ずトロの純正品をお使いください。他社の部品やアクセサリを御使用になると危険な場合があり、製品保証を受けられなくなる場合がありますのでおやめください。
Note: 前後左右は運転位置からみた方向です。
子供やトレーニングを受けていない大人には、絶対に運転や整備をさせないでください。地域によってはマシンのオペレータに年齢制限を設けていることがありますのでご注意ください。オーナーは、オペレータ全員にトレーニングを受講させる責任があります。
安全な運転操作、各部の操作方法や安全標識などに十分慣れておきましょう。
エンジンを停止させ、キーを抜き取り、各部の動作が完全に停止したのを確認してから運転位置を離れる。調整、整備、洗浄、格納などは、マシンが十分に冷えてから行ってください。
エンジンの緊急停止方法に慣れておきましょう。
オペレータコントロールやインタロックスイッチなどの安全装置が正しく機能しているか、また安全ガードなどが外れたり壊れたりしていないか点検してください。これらが正しく機能しない時には機械を使用しないでください。
使用前に必ず、ブレード、ブレードボルト、刈り込みアセンブリの点検を行ってください。バランスを狂わせないようにするため、ブレードを交換するときにはボルトもセットで交換してください。
これからマシンで作業する場所をよく確認し、マシンに巻き込まれそうなものはすべて取り除きましょう。
この製品は電磁場を発生させます。植込み型の電子医療機器を装着している方は、本製品を使用する前に専門家に相談してください。
燃料の取り扱いに際しては安全に特にご注意ください。燃料は引火性が高く、気化すると爆発する可能性があります。
燃料取り扱い前に、引火の原因になり得るタバコ、パイプなど、すべての火気を始末してください。
燃料の保管は必ず認可された容器で行ってください。
エンジン回転中などエンジンが高温の時には、燃料タンクのふたを開けたり給油したりしないでください。
締め切った場所では燃料の補給や抜き取りをしないでください。
ガス湯沸かし器のパイロット火やストーブなど裸火や火花を発するものがある近くでは、マシンや燃料容器を保管・格納しないでください。
燃料がこぼれたら、エンジンを始動せずにマシンを別の場所に動かし、気化した燃料ガスが十分に拡散するまで引火の原因となるものを近づけないでください。
エンジンを始動させる前に、エンジンオイルの量を点検してください;手順はエンジンオイルの量を点検するを参照してください。
エンジンを始動させる前に、冷却系統を点検してください;手順は冷却系統を点検するを参照してください。
エンジンを始動させる前に、油圧系統を点検してください;手順は油圧オイルの量を点検するを参照してください。
水セパレータの水抜きと異物の除去を行う;水セパレータからの水抜きを参照。
後アクスルと後アクスルギアボックスから潤滑油が漏れていないか点検する;後アクスルとギアボックスからのオイルもれの点検を参照。
燃料タンク容量:83 リットル
Important: 超低イオウ軽油以外の燃料は使用しないでください。イオウ分の多い燃料は、DOC(排ガス酸化触媒)を劣化させ、運転トラブルを発生させ、エンジンの各機器の寿命を縮めます。以下の注意を守らないと、エンジンを破損させる場合があります。
絶対に、ディーゼル燃料の代わりに灯油やガソリンを使わないでください。
絶対に、灯油やガソリンをディーゼル燃料に混入しないでください。
絶対に、内面に亜鉛メッキされている容器で燃料を保管しないでください。
燃料用添加剤を使用しないでください。
セタン値: 45 以上
イオウ含有率 超低イオウ(<15ppm)
| ディーゼル燃料の仕様 | 地域 |
| ASTM D975 | USA |
| No. 1-D S15 | |
| No. 2-D S15 | |
| EN 590 | EU 諸国 |
| ISO 8217 DMX | 米国外 |
| JIS K2204 Grade No. 2 | 日本 |
| KSM-2610 | 大韓民国 |
不純物のない新しい軽油またはバイオディーゼル燃料を使用してください。
燃料の劣化を避けるため、180日以内に使いきれる程度の量を購入するようにしてください。
気温が -7℃ 以上では夏用燃料(2号軽油)を使用しますが、気温が -7℃ 以下の季節には冬用燃料(1号軽油または1号と2号の混合)を使用してください。
Note: 低温下で冬用ディーゼル燃料を使うと、発火点や流動点が下がってエンジンが始動しやすくなるばかりでなく、燃料の成分分離(ワックス状物質の沈殿)によるフィルタの目詰まりを防止できるなどの利点があります。気温が -7° 以上の季節には夏用燃料を使用する方が、燃料ポンプの寿命を延ばします。
この機械はバイオディーゼル燃料を混合したB20燃料(バイオディーゼル燃料が20%、通常軽油が80%)を使用することができます。
イオウ含有率 超低イオウ(<15ppm)
バイオディーゼル燃料の仕様: ASTM D6751 または EN14214
ブレンド燃料の仕様:ASTM D975、EN590 または JIS K2204
Important: ただし、混合されている軽油のイオウ含有量は極低レベルである必要があります。
以下の注意を守ってお使いください。
着色したターフを汚す可能性があります。
寒い地方ではB5(バイオディーゼル燃料が5%)またはそれ以下の製品を使用すること。
時間経過による劣化がありうるので、シール部分、ホース、ガスケットなど燃料に直接接する部分をまめに点検してください。
バイオディーゼル混合燃料に切り替えてからしばらくの間は燃料フィルタが目詰まりを起こす可能性があります。
バイオディーゼルの詳細については、代理店におたずねください。


タンクの天井よりも約6-13 mm 下の高さまで、2号軽油(2D)を入れる。
Note: 可能であれば、一日の運転が終了したあとに燃料を入れるようにしてください。このようにすると燃料タンク内部に水がたまるのを低減することができます。
| 整備間隔 | 整備手順 |
|---|---|
| 使用するごとまたは毎日 |
|
タイヤの適正空気圧は、1.38 bar(1.4 kg/m2)です。
Important: マシンの性能を適切に発揮させ、また質の高い刈り込みを実現するために、すべてのタイヤの空気圧を推奨値に維持してください。タイヤ空気圧は規定値以下に下げてはならない。運転を行う前に、全部のタイヤの空気圧を調整してください。

転倒事故の際の負傷や死亡を防止するために: ROPS は必ず立てた位置にロックしておき、運転時にはシートベルトを着用すること。
また、運転席がラッチで固定されていることを確認すること。
ROPS を下げると横転に対する保護効果はなくなる。
不整地や斜面を走行する時には、必ずROPS(横転保護バー)を立てておくこと。
どうしても必要な時以外には ROPS を下げないこと。
ROPS を下げて乗車しているときにはシートベルトを着用しないこと。
運転はゆっくり慎重におこなうこと。
頭上の障害物がなくなったら直ちに ROPS を立てること。
頭上の安全(木の枝、門、電線など)に注意し、これらにマシンや頭をぶつけないように注意すること。
Important: ROPS を立てて乗車するときには必ずシートベルトを着用してください。ROPS を下げて乗る時は、シートベルトを締めないでください。
Important: どうしても必要な場合以外にはROPSを降ろさないこと。
Important: また、運転席がラッチで固定されていることを確認すること。


Important: このロータリーカッティングユニットは、リール式のカッティングユニットよりも、実際の刈高が 6 mm 程度低くなることがあります。したがって、リールモアと同じ刈高で刈り込みたい場合には、リール式のユニットよりも刈高を 6 mm 程度高く設定することが必要になる場合があります。
Important: 後カッティングユニットに作業を行う場合には、カッティングユニットを外して行う方がずっと簡単です。
車両を平らな場所に駐車し、駐車ブレーキを掛け、カッティングユニットを降下させ、エンジンを停止し、キーを抜き取る。
図 22のように、各刈り高ブラケットを刈り高プレート(前と右と左)に固定しているボルトをゆるめる。
まず前から調整を始めるので、ボルトを外す。

チェンバを支えておきながらスペーサを取り外す(図 22)。
希望の刈り高にチェンバを合わせ、その刈り高の穴とスロットにスペーサを通す(図 23)。

プレートとスペーサを整列させる。
ボルトを仮止め(指締め)する。
各サイドについて、ステップ 4-7 の作業を行う。
全部のボルト(3本)を 41 N·m (4.2 kg.m = 30 ft-lb)にトルク締めする。必ず、前のボルトを先に締めること。
Note: 刈高を大きく変更する場合(38 mm 以上、例えば、31 mm から 70 mm に変更する場合)には、一度に変更せずに二段階に分けて変更しないとうまく変更できないことがあります。
| 整備間隔 | 整備手順 |
|---|---|
| 使用するごとまたは毎日 |
|
インタロックスイッチは安全装置であり、これを取り外すと予期せぬ人身事故が起こり得る。
インタロックスイッチをいたずらしないこと。
作業前にインタロックスイッチの動作を点検し、不具合があれば作業前に交換修理すること。
インタロックスイッチは、オペレータが座席から立ち上がっているのに走行ペダルが踏まれた場合にマシンを停止させます。走行ペダルがニュートラル位置にある時には、オペレータが座席を離れてもエンジンは停止しません。PTOスイッチがOFFになっていて走行ペダルを踏み込んでいなければ、立ち上がってもエンジンは停止しませんが、運転席を離れる場合には、エンジンを停止させる習慣をつけるようにしてください。
平らな場所に駐車し、駐車ブレーキを掛け、カッティングユニットを下降させ、キーをOFF位置にして抜き取る。
走行ペダルを踏み込み、キーを ON 位置にする。
Note: クランキングする場合はインタロックスイッチが故障している。必ず運転前に修理を済ませるようにする。
キーをON位置に回し、運転席から立ち上がり、PTOスイッチをONにする。
Note: PTOが回転を開始しなければ正常。PTOが作動する場合はインタロックスイッチが故障している。必ず運転前に修理を済ませるようにする。
駐車ブレーキを掛け、キーをON位置に回し、走行ペダルをニュートラル以外の位置に動かす。
Note: インフォセンターに「走行が許可されません」と表示され、マシンが走行を開始しなければ正常。マシンが動き出す場合はインタロックシステムが故障している。必ず運転前に修理を済ませるようにする。
| 整備間隔 | 整備手順 |
|---|---|
| 使用するごとまたは毎日 |
|
Note: ブレードが物を跳ね飛ばしたり、ほこりを巻き上げたりしないよう、この点検はきれいに刈り込んだターフの上または平らな床の上にカッティングユニットを降下させて行ってください。
停止時間の確認するには、まず、運転席に座ってPTOを解除します。 PTO のスイッチを切ってからブレードが完全に停止するまでに掛かった時間を計ります。停止に要する時間が 7 秒以上の場合は、ブレーキバルブの調整が必要です。この調整は、弊社代理店に依頼してください。
草の状態に関係なく、非常に効率よく草を立たせ、刈りかすをきれいに分散させます。立ち上げをより強く(あるいは弱く)、また排出速度をより強く(あるいは弱く)したい場合には、別種類のブレードの使用を考慮してください。
特徴: ほとんどの条件で効率よく草を立たせ、刈りかすをきれいに分散させる。
低めの刈高(19-64 mm)で最もよく性能を発揮する。
特徴:
刈り高を低くしても、刈りかすが均一に散る。
刈りかす左側へ片寄る傾向が抑えられるので、バンカーやフェアウェイの周りがきれいに見える。
密集した芝で刈り高が低い方が小さなパワーで刈れる。
高めの刈高(70-102 mm)で最もよく性能を発揮する。
特徴:
上昇気流も排出速度も大きい。
密度の低い芝生や柔らかい芝生で刈り高を高くしたときに、芝草をしっかりと立たせる
濡れてくっつきやすくなった刈りかすを効率良く排出し、カッティングユニットの内側が詰まりにくい。
大きなパワーを必要とする
刈りかすが左側へ片寄る傾向が強いので、刈り高が低いと刈りかすが畝状にたまりやすい
ハイリフトブレードとマルチングバッフルを組み合わせると、ブレードが破損する恐れがあり万一場合には死亡事故となる。
ハイリフトブレードでの刈り込みにマルチングバッフルを使用してはならない。
落ち葉のマルチングに最高の性能を発揮するように設計されているブレード。
特徴: 落ち葉のマルチングに最適
| アングルセイルブレード | ハイリフトパラレルセイルブレード(マルチングバッフルと同時に使用しないこと) | マルチングバッフル | ローラスクレーパ | |
| 芝生の刈り込み:刈高 19-44 mm | ほとんどの場合に推奨 | 密度の低いまたはまば らな草地で使用可能 | 寒地型の芝草を少なくとも週 3 回刈る (草丈の⅓ 以上を切 り込まない)場合に刈りかすの分散をきれいにする。ハイリフト平行セイルブレードには使用しないこと | ローラに刈りかすや大きな葉などがこびりつく場合に使用する。場合により、刈りかすのダマが増える場合がある。 |
| 芝生の刈り込み:刈高 50-64 mm | 密度の高いまたはよく 繁茂した草地に推奨 | 密度の低いまたはま ばらな草地に推奨 | ||
| 芝生の刈り込み:刈高 70-100 mm | よく茂った草地で使用 可能 | ほとんどの場合に推奨 | ||
| 落ち葉のマルチング | マルチングバッフルの使用を推奨 | 使用禁止 | コンビネーションセイル、アトミックブレードまたはアングルセイルとのみ使用可能 | |
| 長所 | 低い刈高で刈りかすを均等に分散。バンカーやフェアウェイまわりでの仕上がりがきれい。パワー消費が少ない | 草をしっかり立たせ、排出力も強い。密度の低いまばらなターフを高い刈高で刈り込むことができる。ぬれてベタつく刈りかすも効率よく排出する。 | 用途により、刈りかすの分散をきれいにし刈り上がりを美しく見せることができる。落ち葉のマルチングに非常に効果がある。 | ローラへの刈りかすのこびりつきを減らす。 |
| 短所 | 刈高が高いと十分に草を立たせられない;草がぬれているとデッキ裏側にこびりついて刈り上がりが悪くなりパワー消費も増える。 | 用途によってはパワー消費が大きくなる。旺盛に成長した草を低く刈ると刈りかすがうね状にあつまる傾向が出る。マルチングバッフルと一緒に使用しないこと。 | 一度に大量の草を処理しようとするとデッキ内部に「たまり」を作る。 |
ディスプレイは、マシンについての状態(運転状態、故障診断など)の情報を表示します。ディスプレイには複数の画面があります。ディスプレイの任意のボタンを押して矢印ボタンで選択することによって、いつでも表示画面を切り替えることができます。

Note: 各ボタンの機能はメニューの内容によって、変わります。各ボタンについて、その時の機能がアイコンで表示されます。
![]() | アワーメータ |
![]() | 仮想ペダルストップの設定 |
![]() | 着席してください。 |
![]() | 駐車ブレーキが掛かっていることを確認する。 |
![]() | 冷却水温度(°C または °F) |
![]() | 走行または走行ペダル |
![]() | クルーズコントロールが有効です。 |
![]() | リセットスタンバイ再生要求 |
| 駐車またはリカバリ再生要求 | |
![]() | 駐車またはリカバリ再生進行中 |
![]() | 排ガス高温警告 |
![]() | NOx コントロール診断の不具合;管理棟に帰って Toro 正規代理店に連絡すること(ソフトウェアバージョン U 以降)。 |
![]() | PTO が無効化されました |
![]() | PTOが ON。 |
![]() | バッテリー |
![]() | 警告 |
![]() | アクティブ |
![]() | 非アクティブ |
![]() | 以前 |
![]() | 次へ |
![]() | 増加 |
![]() | 減少 |
![]() | 前画面 |
![]() | 次画面 |
![]() | 値を増やす |
![]() | 値を減らす |
![]() | メニュー |
![]() | 上下にスクロール |
![]() | 左右にスクロール |
![]() | 油圧オイル温度(°C または °F) |
![]() | 高速又はハイレンジ(移動走行) |
![]() | 低速又はローレンジ(刈り込み) |
![]() | ファン(逆転) |
![]() | 全ニット上昇 |
![]() | 全ニット下降 |
![]() | 中央ユニット上昇 |
![]() | 中央ユニット下降 |
![]() | 左ユニット上昇 |
![]() | 左ユニット下降 |
![]() | 右ユニット上昇 |
![]() | 右ユニット下降 |
![]() | ロック |
アクセスには
PIN の入力が必要です
インフォセンターのメニューにアクセスするには、メニュー画面が表示されているときにメニューアクセスボタンを押します。ボタンを押すとメインメニューが表示されます。各メニューにおいてどのような内容が表示されるかは、以下の表をご覧ください。
| メインメニュー ー メニュー項目 | 記述称 |
| Faults(不具合) | 不具合メニューには、最近に記録された不具合が表示されます。サービスマニュアルに Faults メニューおよびその内容の詳細が解説されています。または弊社ディストリビュータにお問い合わせください。 |
| 整備 | 整備メニューでは、使用時間積算記録などの情報を見ることができます。 |
| 診断機能 | 診断メニューでは、各スイッチ、センサー、制御出力の状態が表示されます。どのコントロール装置がONになっており、どれがOFFになっているかが表示されますから、故障探究を手早く行うことができます。 |
| 設定 | [設定] メニューを使うと、ディスプレイ上の構成変数をカスタマイズおよび変更することができる。 |
| マシンの設定 | [マシン設定] メニューでは、加速度、速度、カウンターバランスのしきい値を調整することができます。 |
| About(マシンについて) | このメニュー項目では、モデル番号、シリアル番号、ソフトウェアのバージョンなどを確認することができます。 |
| 整備 ー メニュー項目 | 記述称 |
| Hours(運転時間) | マシン、エンジン、リール、およびPTOが使用されていた時間およびマシンが移動走行していた時間と定期整備までの時間が記録されており、これらを確認することができます。 |
| Counts(回数) | マシンに発生した様々な事象の回数を表示します。 |
走行ペダル![]() | |
走行ポンプ![]() | |
| Fan(ファン) | 以下の場合にファンが作動しているかどうかを表示します: エンジン温度超過、エンジンオイル温度超過、エンジンまたは油圧回路温度超過、ファンON。 |
| 燃料残量 | 現在の燃料残量を示します。 |
| DPF Regeneration(DPF の再生) | DPF 再生の選択肢と DPF のサブメニュー |
| 診断 ー メニュー項目 | 内容 |
| Left Cutting Unit(左カッティングユニット) | エンジン動作関係メニューおよびその内容の詳細については、サービスマニュアルを参照するか、弊社ディストリビュータにお問い合わせください |
| Center Cutting Unit(中央カッティングユニット) | |
| Left Cutting Unit(左カッティングユニット) | |
| Traction(走行) | |
| Hi/Low レンジ | |
| PTO | |
| Engine(エンジン) | |
CAN 統計![]() |
| 設定 ー メニュー項目 | 内容 |
| PIN を入力 | 許可された人(スーパーインテンデントや整備士)が PIN コードを入力してアクセスできます |
| バックライト | LCD 表示の明るさを調整します。 |
| Language(言語) | インフォセンターの表示に使う言語を選択することができます*。 |
| フォントサイズ | ディスプレイ上のフォントのサイズを制御します。 |
| Units(単位) | インフォセンターで表示される項目の単位(ヤードポンド法またはメートル法)を選択することができます。 |
Protected Menus(保護項目)![]() | 許可された人が PIN コードを入力してアクセスできます。 |
保護設定![]() | 保護設定の内容を変更することができます。。 |
Note: 設定メニューを開くには PIN の入力が必要です。
Machine Settings(マシン設定)— メニュー項目![]() | 内容 |
Mow Speed(刈込速度)![]() | 刈り込み時(ローレンジ)の最高速度を設定します。 |
Trans.(移動走行速度) ![]() | 移動走行時(ハイレンジ)の最高速度を設定します。 |
スマートパワー ![]() | スマートパワーの ON/OFF |
Counterbalance(カウンタバランス) ![]() | カッティングユニットに供給されるカウンタバランスの大きさを設定します |
旋回モード![]() | 旋回モードの ON/OFF |
Acceleration(加速)![]() | Low, Medium, High の設定により、走行ペダル操作に対する応答速度を選択します。 |
保護メニューで保護されます
― アクセスには PIN の入力が必要です
| 概要 ー メニュー項目 | 記述称 |
| Model(モデル) | マシンのモデル番号を表示します。 |
| SN(シリアル番号) | マシンのシリアル番号を表示します。 |
| Machine Controller Revision(コントローラ改訂番号) | マスターコントローラのソフトウェアの改訂番号を表示します。 |
| S/W改訂 | 一次コントローラのソフトウェアバージョンを表示します |
InfoCenter Revision(インフォセンターの改定番号)![]() | インフォセンターのソフトウェアの改訂番号を表示します。 |
二次ソフトウェア![]() | グランドマスター 4700 モデルのカッティングユニットのコントローラのパーツ番号と改訂番号を示します。 |
| Stage V | Yes または No で該当するかどうかを示します。 |
インフォセンターの設定メニューで変更可能な動作設定項目があります。これらの設定をロックするには、保護されたメニューを使います。
Note: 納品時のパスワードは、代理店にて設定しています。
Note: 出荷時に設定されている デフォルト PIN は 0000 または 1234 です。PIN を変更後、PIN を忘れてしまった場合には、弊社ディストリビュータにご相談ください。
メイン メニューから、設定メニューまで下にスクロールし、選択ボタン (図 25) を押します。

設定メニューで、PIN を入力までスクロールし、選択ボタン (図 26A) を押します。

PINコードを入力するには、正しい最初の桁が表示されるまでナビゲーション ボタンを上下に押し、次に右のナビゲーション ボタンを押して次の桁 (図 26B と 図 26C) に進みます。最後の桁が入力されるまでこの手順を繰り返します。
選択ボタンを押します。
Note: ディスプレイが PIN コードを受け付けて保護メニューが開くと、画面右上の部分に PIN という表示が現れます。
保護されたメニューをロックするには、キースイッチをオフの位置に回し、次にオンの位置に回転する。
設定で、設定の保護まで下にスクロールします。
PINコードを入力せずに設定を確認・変更するには、セレクトボタンでプロテクト設定を
(オフ)に変更します。
PINコードを使って設定を表示および変更するには、選択ボタンを使ってプロテクト設定を (
オン) に変更し、PINコードを設定し、イグニッションスイッチのキーをオフの位置に回し、次にオンの位置に回します。
定期整備終了後に整備時期タイマーをリセットします。
設定で、PIN を入力までスクロールし、選択ボタンを押します。
PINを入力します。 「保護されたメニューへのアクセス」を参照してください。
整備で、時間までスクロールし、選択ボタンを押します。
整備時期まで下にスクロールします。
Note: 既に整備時期が来ている場合は、直ぐに整備時期の横に が表示されます。
整備間隔をハイライトし、選択ボタンを押します。
Note: 整備間隔 (250 時間、500 時間など) は、整備時期の横にあります。整備時期は保護メニュー項目です。
RESET SERVICE TIMER? という画面が表示された場合、はいの場合は「選択」ボタンを、いいえの場合は「戻る」ボタンを押してください。
YES を選択すると、時間画面がクリアされて整備時間選択画面に戻ります。
選択されている設定が、走行速度バーの上に X で表示されます。クルーズコントロールの設定とペダルストップの設定も表示されます。バーに付いている X 印は、最高速度が制限されていることを意味します ( 図 31)。
Note: この設定は記憶され、変更されるまで有効です。
マシン設定で、刈り込み速度まで下にスクロールします。
左右のナビゲーションボタンを使って、刈り込み時最高速度を設定します。設定値はメイン画面であれば 5% 刻みで増減することができますが マシン設定 メニューでは10%刻みの設定となります。 メイン画面での設定範囲は 10 - 100%、マシン設定画面での範囲は 30 - 100% です。
選択されている設定が、走行速度バーの上に X で表示されます。クルーズコントロールの設定とペダルストップの設定も表示されます。バーに付いている X 印は、最高速度が制限されていることを意味します ( 図 31)。
Note: この設定は記憶され、変更するまで有効です。
マシン設定で、移動走行速度まで下にスクロールします。
左右のナビゲーションボタンを使って、刈り込み時最高速度を設定します。設定値はメイン画面であれば 5% 刻みで増減することができますが マシン設定 メニューでは10%刻みの設定となります。メイン画面での設定範囲は 10 - 100%、マシン設定画面での範囲は 30 - 100% です。
設定で、スマートパワーまで下にスクロールします。
右のナビゲーション ボタンを押して、ON、OFFを切り替えます。
マシン設定で、カウンタバランスまで下にスクロールします。
右ナビゲーションボタンで「カウンタバランス」を選択し、LOW、MEDIUM、HIGH の3種類から設定を選んでください。
マシン設定で、加速まで下にスクロールします。
右のナビゲーション ボタンを押して、低、中、高を切り替えます。
設定メニューにて、下へスクロールすると旋回(TURNAROUND)があります。
右ボタンで、 ON と OFFの切り替えを行います。
Note: 日常の刈り込みをスムーズに進めるために、すすの蓄積が 100% になる前に再生をしておきたい場合があると思われます。前回の再生(リセット、駐車、またはリカバリ)終了から 50 運転時間以上が経過していればこれが可能です。
これを行うには、整備士(Technician)メニューで現時点の再生コントロールの状態とすすの蓄積レベルを確認します。
設定で、DPF RENGERATIONまでスクロールし、選択ボタンを押します。
DPF RENGERATIONで、TECHNICIANまでスクロールし、選択ボタンを押します。


赤の点滅 - アクティブな故障
赤の点灯 - アクティブな勧告
青の点灯 - キャリブレーション/ダイアログ メッセージ
緑色の点灯 - 通常動作
このマシンでは、走行速度を推定値(パーセント)で表示します。
表示範囲は、クルーズ画面とビジュアルペダルストップ画面では 10 ー 100%、 MACHINE SETTINGS メニュー画面では 30 - 100% となります。
寒い時期にマシンを始動したとき、ウォームアップモードにしておくと、エンジン始動直後の短時間はエンジンの回転数を低く抑えて、冷たいオイルによる弊害(エンジン内部の傷の発生など)を防ぐことができます。
ウォームアップモードが有効になっている時は、インフォセンター画面上に雪の結晶のアイコン
が表示されます。ウォームアップ期間が終わるまではマシンを操作しないでください。
オーナーやオペレータは自分自身や他の安全に責任があり、オペレータやユーザーの注意によって物損事故や人身事故を防止することができます。
作業にふさわしい服装をし、安全めがね、長ズボン、頑丈で滑りにくい安全な靴、および聴覚保護具を着用してください。長い髪は束ねてください。ゆるい装飾品やだぶついた服は身に着けないでください。
疲れている時、病気の時、アルコールや薬物を摂取した時は運転しないでください。
このマシンを運転する時は常に十分な注意を払ってください。運転中は運転操作に集中してください;注意散漫は事故の大きな原因となります。
エンジンを掛ける前に、全部の駆動装置がニュートラルであること、駐車ブレーキが掛かっていることを確認し、運転席に着席してください。
人を乗せないでください。また、作業中は周囲から人、特に子供を十分に遠ざけてください。
運転は、穴や障害物を確認できる十分な照明のもとで行ってください。
ぬれた芝の刈り込みは避けてください。接地力が落ちてスリップする危険が高くなります。
回転部に手足を近づけないよう注意してください。排出口の近くに手足などを近づけないでください。
バックするときには、足元と後方の安全に十分な注意を払ってください。
見通しの悪い曲がり角や、茂み、立ち木などの障害物の近くでは安全に十分注意してください。
刈り込み中以外は必ずブレードの回転を止めておいてください。
異物をはね飛ばしたときや機体に異常な振動を感じたときにはまずマシンを停止し、キーを抜き取り、各部の動きが完全に止まってからよく点検してください。異常を発見したら、作業を再開する前にすべて修理してください。
旋回するときや道路や歩道を横切るときなどは、減速し周囲に十分な注意を払ってください。常に道を譲る心掛けを。
刈高を変更する時は、必ずカッティングユニットを停止させ、エンジンを止め、キーを抜き取り、機会が完全に停止するまで待ってください(運転席で刈高を変更できる場合はこの限りでありません)。
エンジンは換気の十分確保された場所で運転してください。排気ガスには致死性ガスである一酸化炭素が含まれています。
マシンを作動させたままで絶対に機体から離れないでください。
運転席を離れる前に:
平らな場所に駐車する。
PTOの接続を解除し、アタッチメントを下降させる。
駐車ブレーキを掛ける。
エンジンを止め、キーを抜き取る。
全ての動きが停止するのを待つ。
運転は良好な視界のもとで行ってください。落雷の危険がある時には運転しないでください。
この機械を牽引用車両として使用しないでください。
アクセサリ、アタッチメント、交換部品は、必ずトロの純正品をお使いください。
クルーズコントロール(が装備されている場合)は、広く、平坦で障害物のない場所で、マシンが一定の速度で連続走行できる場合にのみ使用してください。
ROPS(横転保護バー)は効果の高い重要な安全装置です。
POPS 構成物は一切機体から外さないでください。
シートベルトが機体に固定されていることを確認してください。
ベルトを腰の低い位置に当て、運転席の反対側にあるバックルに固定してください。
シートベルトを外すには、ベルトを押さえてバックルについているボタンを押します。ベルトがうまく引き込まれるように手でガイドしてください。緊急時にはベルトを迅速に外せるよう、練習しておいてください。
頭上の障害物に注意し、これらに衝突しないように注意してください。
ROPS自体に損傷がないか、また、取り付け金具がゆるんでいないか、定期的に十分に点検を行い、万一の際に確実に役立つようにしておいてください。
ROPS が破損した場合は新しいものに交換してください。修理したり改造しての使用はしないでください。
トロが取り付けたキャブは ROPS を兼ねています。
運転時には必ずシートベルトを着用してください。
運転するときには必ずROPS(横転保護バー)を運転位置に立て、シートベルトを着用してください。
どうしても必要なわずかの時間以外には ROPS を降ろさないでください。。ROPS を下げた状態で乗車する時にはシートベルトをしないでください。
ROPS を折りたたんでしまうと、転倒時に安全保護ができなくなることを十分認識してください。
作業場所を必ず事前に確認してください。法面、段差、水などがある現場では、必ず ROPS を立てて運転してください。
斜面はスリップや転倒などを起こしやすく、これらは重大な人身事故につながります。斜面での安全運転はオペレータの責任です。どんな斜面であっても、通常以上に十分な注意が必要です。
斜面については、実地の測定を含めてオペレータ自身が調査を行い、安全に作業ができるかどうかを判断してください。この調査においては、常識を十分に働かせてください。
以下に掲載している斜面での運転上の注意点やその場合の天候条件および場所の条件などを良く読み、作業日当日の現場のコンディションが作業に適当かどうか判断してください。同じ斜面上であっても、地表面の条件が変われば運転条件が変わります。
斜面での発進・停止・旋回は避けてください。急に方向を変えたり急な加速やブレーキ操作をしないでください。旋回は速度を落としてゆっくりと行ってください。
走行、ステアリング、安定性などに疑問がある場合には運転しないでください。
隠れた穴、わだち、盛り上がり、石などの見えない障害は、取り除く、目印を付けるなどして警戒してください。深い芝生に隠れて障害物が見えないことがあります。不整地ではマシンが転倒する可能性があります。
ぬれ芝、急斜面など滑りやすい場所で運転すると滑って制御できなくなる危険があります。駆動力を失うと、スリップを起こしたりブレーキや舵取りができなくなる恐れがあります。
段差、溝、盛り土、水などの近では安全に十二分の注意を払ってください。万一車輪が段差や溝に落ちたり、地面が崩れたりすると、マシンが瞬時に転倒し、非常に危険です。必ず安全距離を確保してください。
斜面に入る前に、安全の判断をしてください。乗用の刈り込み機械で斜面を刈り込むことに危険が感じられる場合は歩行型の機械をお使いください。
斜面では可能なかぎりカッティングユニットを地表面まで下げておいてください。斜面上でカッティングユニットを上昇させると機体が不安定になる恐れがあります。
集草装置などのアタッチメントを取り付けての作業には十分な注意を払ってください。アタッチメントによってマシンの安定性が変わり、安全限界が変わる場合がありますからご注意ください。
このマシンは、自動車タイプのスロットル(走行ペダルでエンジンのスロットルを変える)方式です。
ペダル以外のスロットルレバーやスロットルスイッチはありません。
ペダルから足を離すと、ダイナミックブレーキが働いてマシンは停止します。
ペダルコントロールを最適化して、応答性が高くて安定したレスポンスを実現することができますので、不整地で安定したコントロールができ、しかもスムーズで効きの良いブレーキングを行えます。
移動走行中は、通常の自動車と同じように、ペダルの踏み込み具合でエンジンの速度と走行速度が変化します。
刈り込み時には、エンジン速度が自動的にに高速になります。
アイドリング中にカッティングユニットを上昇させたり走行ペダルを踏み込んだりすると、その機能を行うために必要なパワーが出せるところまでエンジンの回転速度が自動的に上がります。
ディーゼル微粒子フィルタ (DPF) の再生を考慮した、アイドルタイムの設定を行ってください。長時間のアイドリングは行わないようにしてください。
最高走行速度制限設定は、PIN で保護された設定で、管理責任者のみが行えます。
走行ペダル動作範囲、クルーズコントロール、走行速度制限用ペダルストップの設定は、すべて最高速度制限設定(PIN 保護)と連動します。
エンジン始動直後で油圧オイルの温度が低い時は、エンジンの回転速度が自動的に上昇してウォームアップを行います。油圧オイルの温度が上がってウォームアップが終了すると、エンジンの速度は自動的にローアイドルになります。
このマシンは、通常の運転条件下では、速度レンジ設定を H/L AUTO にして使用するこをと前提にしております (図 29)。 この設定で使用すると、移動走行しているか刈り込みをしているかをマシンが自動的に判別して高速レンジと低速レンジを自動的に使い分けます。
LOW 位置(速度レンジスイッチ図 29 の低速レンジ設定)では、マシンは常に低速レンジで動作します。整備場内での移動、トレーラへの積み下ろし、急斜面の登り降りなど、大きな力が必要な場面でお使いいただくと便利です。
前方に障害物がある場合は、カッティングユニットを上昇させて障害物の周囲を刈り込んでください。
AUTO HI/LOW モードでは、現場から現場へ移動する時に PTO を OFF にしてカッティングユニットを一番上まで上昇させれば自動的に高速レンジに切り替わります。高速レンジでは普通の自動車と同じようにペダルで走行速度をコントロールでできます。
ラフでは低速で走行してください。
運転の練習をしてマシンの特性を早くつかんでください。
カッティングユニットを上昇させ、駐車ブレーキを解除し、移動走行モードにセットし、静かに前進ペダルを踏み込んで、安全な広い場所に移動してください。
このマシンは油圧トランスミッションを搭載しているだけでなく、他の多くのターフ管理機器とは異なる特性があります。実際に使用されるまえに十分に運転の練習をしてください。
まず、前進、後退、停止を練習します。走行ペダルから足を離せばペダルは自動的にニュートラル位置に戻って停止します。
Note: 下り坂を走行中に停止する場合は、後退ペダルを利用するほうがよいでしょう。
急いで停止したい場合は、走行ペダルから足を離してブレーキペダルを踏み込んでください。
障害物の周囲をカッティングユニットを下げた状態、上げた状態のどちらでも上手に旋回できるように練習してください。狭い場所を通り抜ける時、マシンやカッティングユニットをぶつけて損傷しないよう十分注意してください。
このマシンには、低速走行レンジと高速走行レンジという2つの速度レンジがあります。切り替えスイッチにより、以下のモードを選択することができます (図 29):
High/Low Auto レンジ:
H/L AUTO を選択すると、高速レンジと低速レンジの自動切り替えが行われるようになります。H/L AUTO は、普通のオートマ車で言えば D レンジに当たります。
Note: ターフに万一のことがないように、ローレンジとハイレンジの自動切り替えは、走行ペダルがニュートラル位置で車輪の回転が停止している時にのみ行われます。
Note: ハイレンジで走行中は、カッティングユニットを移動走行位置から下げることはできません。
H/L AUTO モードが選択されており、カッティングユニットが下降した状態では、マシンはローレンジでの動作となります。
H/L AUTOモードを選択中にハイレンジを使うには、PTOを解除してカッティングユニットを完全に上昇させてください。
H/L AUTO に設定されている状態では、基本的に、カッティングユニットの位置(上昇下降)と PTO スイッチの位置によって、マシンが自動的にハイ・ローの切り替えを行います。
低速レンジ:
スイッチが LOW 位置にある時は、マシンは常にローレンジで動作します。LOW は、普通のオートマ車で言えば 2 や 1 や L レンジに当たります。
LOW レンジでは常に低速レンジでの動作となります。
LOW レンジは、マシンをトレーラへの積み下ろしする時や、整備工場内などの狭い場所で移動するときなどに便利です。

マシンの前進速度と後退速度のコントロールを行う他、ペダルから足を離すとニュートラル位置に戻ってダイナミックブレーキが掛かります。
また、普通の自動車と同じように、ペダルの動きとスロットルとが連携しており、ペダルを踏み込むほど走行速度が大きくなります。
移動走行中は、通常の自動車と同じように、ペダルの踏み込み具合でエンジンの速度と走行速度が変化します。
刈り込み中は、自動的にエンジンがハイアイドルとなって刈り込みに対応し、走行ペダルは、走行速度を制御するだけとなります。
ペダルを踏み込むほど走行速度が大きくなります。
移動走行中や刈り込み中になめらかに停止するためには、走行ペダルを踏んでいる力を徐々にゆるめてください。
ペダルから完全に足を離せばダイナミックブレーキが最大となります。車両はダイナミックブレーキによって滑らかに停止します。
このトラクションシステムはコースのコンディションや乗車感覚に合わせて加速率を設定することができます。設定方法は加速モードについてを参照してください。

仮想ペダルストップ (VPS) 機能を使うと、移動走行速度と刈り込み速度の両方について、一時的に制限速度を設定することができます。
この機能は、インフォセンターのメインメニュー画面で上下のナビゲーションボタンを使って選択します(図 31)。
VPS 機能で、自分の好みや作業の性格に合った速度に設定します。
ただし責任者が設定した最大走行速度を超える設定はできません。
また、VPS は一時的なあって、 キーを OFF にすると解除されて、元の最大速度設定に戻ります。
最大走行速度が変更されると(管理者が保護メニュー設定で変更した場合も、オペレータが VPS と使って変更した場合も)、それに自動的に対応して、走行ペダルを一杯に踏み込んだ状態が、新しく設定された最大速度となります。
最高速度設定を下げることによって、より正確なハンドル制御ができるようになります。

以下のような場合に VPS を使用して最高速度を下げると便利でしょう:
フェアウェイの外周刈りをする時。
整備場の中や近くで運転する時。
マシンをトレーラに積み下ろしする時。
Note: これらの作業では、最高速度を下げる方がマシンの制御性が向上します。.
Important: 緊急停止する場合には、走行ペダルから足を離した上で、ブレーキペダルを踏み込んでください。
低速レンジでのみ、常用ブレーキペダルを左右独立して使うことができます。これによりで旋回・走行性能を高めることができます。左右個別ブレーキの使用方法:
ペダルロックのラッチを外します(図 32)。
旋回時に使う場合は、旋回する側のブレーキペダルを軽く踏み込みます。より小さな旋回を行うことができます。
Note: 芝生の上での独立ブレーキの使用には注意が必要です。ターフが柔らかいとターフが引きちぎられる恐れがあります。
走行時に使う場合は、スリップしている側のブレーキペダルを軽く踏み込みます。例えば、斜面を横断中に山側の車輪がスリップして地面に走行力を伝えられなくなる場合があります。このような場合には、山側のブレーキをゆっくり、スリップが止まる所まで踏み込んでやると、谷側の走行力が増加し、安定した走行ができるようになります。

クルーズコントロールスイッチは、希望の走行速度を維持します。スイッチ後部を押すとクルーズコントロール機能は解除され、スイッチ中央部はクルーズコントロールスイッチが ON になり、スイッチ前部で希望する走行速度を設定します。
クルーズコントロールスイッチを有効化して速度を設定した後(図 33)、インフォセンターでクルーズ速度の設定を行います(図 31と図 34)。
クルーズコントロールを解除するには:
高速レンジの場合は、走行ペダルを後退方向に踏む、常用ブレーキを踏む、またはクルーズコントロールスイッチをOFFにしてください。
低速レンジの場合は、走行ペダルを後退方向に踏む、常用ブレーキを踏む、PTOスイッチをOFFにする、またはクルーズコントロールスイッチをOFFにしてください。

障害物の少ない距離の長いルートで使いましょう。
凹凸の激しい場所ではインフォセンターを使って速度を調整しましょう。
旋回時にはクルーズコントロールを以下のように使いましょう:
気持ちよく旋回できる安全な速度まで設定を下げる。中に
通常の刈り込み中は走行ペダルを使って好みの速度で作業します。
旋回のタイミングがきたらペダルから足を離す。
マシンは低速のクルーズ設定に従って走行速度を落とすので、ゆっくり旋回できる。
旋回が終了したら、再びペダル操作に戻り、速度を上げて刈り込みを続ける。
マシンの走行速度をどの程度のペースで増加させるかを設定するものです。低速レンジでのマシンの減速ペースも変化します。インフォセンターの保護メニューに入り、加速モードを選択します。加速モードには3つの選択肢があります:
Low:加速・減速をゆっくり行う
Medium:加速・減速を中程度のはやさで行う
High:加速・減速をすばやく行う
旋回モードは、刈り込み中に旋回をする時や障害物を避けたい時などに運転に集中できるように、ワンタッチでカッティングユニットを所定の高さまで上昇させるとともにブレードの回転を止めることのできる機能です。
Note: 旋回モードは、パスワード保護されている機能です。
旋回モードが ON の時に、昇降スイッチ(図 11)を後方に押すと、全部のカッティングユニットが自動的にフロート位置から所定高さまで上昇し、PTO が停止します。昇降スイッチを前に押すと、刈り込みを再開します。全部のカッティングユニットが下降して PTO が回転を再開します。
旋回モードが OFF の時は、カッティングユニット昇降スイッチ全部を後ろ側に長押しすることにより、カッティングユニットを希望する高さまで上昇させることができます。グランドマスター 4700 では、3つの昇降スイッチすべてを押すと、7台のカッティングユニット全部が上昇します(図 11)。PTO は、旋回モードが ON のときにブレードが停止する高さで停止します。
Note: 出荷時には旋回モードが ON に設定してあります。
カウンタバランスシステムにより、カッティングユニットの油圧昇降シリンダでバック圧を掛けています。カウンタバランスシステムはリアルタイムで走行踏圧を監視しており、油圧昇降シリンダのバック圧を調整して走行性能を維持するとともに刈り上がりを最適化しています。カウンタバランスの圧力設定は製造工場で行われており、通常はこのままで大抵の刈り込み条件において、走行性能と刈り上がりが最も適切にバランスするようになっています。カウンタバランスの設定を下げると、カッティングユニットを安定させ、走行性をやや落とします。設定を上げると、走行性がアップしますが、デッキが軽くなることが原因で刈り跡の見映えに問題が出てくる場合が考えられます;カウンタバランスの設定を参照。
カウンタバランスの設定を変更するには:
低:重量のほとんどはカッティングユニットに掛かり、駆動輪にはほとんど掛からない
中:重量をカッティングユニットと駆動輪に分散させる
高:カッティングユニットに掛ける重量は最低となり、駆動輪に最大の重量を掛ける
スマートパワー(Smart Power) 機能を使うと、大きな負荷がかかった場合でもエンジンが停止してしまうことがありません。スマートパワーは、負荷の大きな刈り込み時に、刈り込み速度を自動的に調整して刈り上がりを最適化するとともにエンジンの立ち往生を防止します。
Note: 出荷時にはスマートパワー機能が ON に設定してあります。
Important: 以下の場合には、燃料システムのエア抜きを実施する必要があります:
燃料切れでエンジンが停止した時。
燃料系統の整備作業を行った後
走行ペダルから足を外し、ペダルがニュ ートラル位置にあることを確認してください。駐車ブレーキが掛かっていることを確認する。
キーを RUN 位置に回す。グローインジケータが点灯する。
グローランプが消えたら、キーをSTART位置に回す。
Important: スタータモータのオーバーヒートを防止するため、スタータは15秒間以上連続で回転させないでください。15秒以内にエンジンを始動できなかった場合には、キーを一度 OFF 位置に戻し、各設定および始動手順が正しいことを確認の上、15秒間の間隔をあけてもう一度始動を試みてください。
エンジンが始動したらすぐにキーから手を放す。キーは RUN 位置に戻る。
気温が -7°C 未満のときは、スタータモータを 30 秒間連続で作動させられます。その後は 60 秒間休止してください。2回まで可能です。
Important: 機体の点検を行う前に、エンジンが十分に冷えていることを必ず確認してください。
Important: 高負荷で運転した後は、エンジンを停止させる前に5 分間程度のアイドリング時間をとってください。こうすることにより、エンジン停止前にターボチャージャの温度を下げることができます。これを怠るとターボチャージャに早期にトラブルが発生する可能性があります。
Note: 駐車中は必ず、カッティングユニットを床面まで降下させてください。これにより、油圧系統の負荷がなくなり、各部やパーツの磨耗が少なくなるだけでなく、カッティングユニットが不意に落下するなどの事故を防ぐことができます。
PTO スイッチをOFF 位置にする。
駐車ブレーキを掛ける。
キーを OFF 位置に回す。
事故防止のため、キーは抜き取る。
Note: エンジンに過大な負荷を掛けるような刈り込みをすると、より多くの DPF 再生が必要になります。
ブレーキを解除し、PTO を解除し、カッティングユニットを上昇させる。
速度レンジスイッチで、H/L AUTO または LOW を選択する。「ハイ・ロー速度レンジ切り替えスイッチの使い方」を参照。
Note: H/L AUTO を選択した場合、カッティングユニットを上昇させるとマシンは自動的に高速レンジに切り替わる。
走行ペダルを自動車のアクセルペダルのように操作して刈込現場への移動を行う。
最初の刈り込み列にマシンの外側を合わせる。
カッティングユニット昇降スイッチでユニットを降下させる。
上昇スイッチ (GM4500) または中央の上昇スイッチ (GM4700) の後方を押すとカッティングユニットが旋回位置まで上昇する。
Note: 旋回位置は、インフォセンターの保護メニューで使用した時のみ有効です。インフォセンターを使わずに昇降スイッチを操作すると、カッティングユニットは旋回位置まで上昇して停止し、ユニットを下げると再び回転を開始します。
PTO ノブを引き出してカッティングユニットを回転させる。
Note: カッティングユニットを下降させてPTOを作動させるとエンジン速度が自動的にハイアイドルになります。
走行ペダルを操作して刈り込み場所にゆっくりと乗り入れ、前方のカッティングユニットが刈り込みエリア内に入ったら、ユニット昇降スイッチでユニットを降下させる。
Note: カッティングユニットを降下させるタイミングを十分に練習してください。
刈り込みを開始する。
列の終点まで来たら、上昇スイッチ (GM4500) または中央の上昇スイッチ (GM4700) の後方を押すとカッティングユニットが旋回位置まで上昇する。
雨だれ形に旋回して次の列に入る準備を行う。
上昇スイッチ (GM4500) または中央の上昇スイッチ (GM4700) を押すとカッティングユニットが旋回位置から自動的に下りて刈り込みを再開する。
DPF はエンジンの排気から煤(すす)を除去するものです。
DPF はエンジンの排気の高温と触媒を利用して再生され、すすを完全燃焼させて灰にします。
DPF に煤がたまらないようにするには、以下のような注意が必要です:
DPF の自動再生を助けるために、可能な時はいつでもエンジンをフルスロットルで運転する。
適切なエンジンオイルを使用する。
エンジンはできるだけアイドリングさせない。
超低イオウ軽油以外の燃料は使用しない。
つねに DPF のことを頭に入れて機械の操作や保守整備を行ってください。エンジンに負荷がかかった状態であれば、通常は DPF の再生に必要な高温の排気となります。
Important: エンジンを低速で回している時間が長いと、DPF にすすがたまります。アイドリングや低速回転での使用をできるだけ短くしましょう。
DPF 再生中の排気は高温(およそ 600°C)になる。高温の排気は人体に悪影響を及ぼす恐れがある。
締め切った場所でエンジンを運転しないこと。
排気系統の周囲に可燃物を放置しないこと。
高音の排気で周囲を汚損しないように注意すること。
高温になっている排気系統各部に触れないこと。
排気管の近くに立たないこと。
| アイコン | アイコンの意味 |
![]() | • 駐車再生またはリカバリ再生アイコン:再生が必要 |
| • 直ちに再生を行ってください | |
![]() | • 再生要求を受け付けました。処理が進行中です。 |
![]() | • 再生実行中。排気温度上昇しています |
![]() | • NOx 制御システムの不具合;整備が必要 |
| 再生の種類 | DPF 再生の条件 | DPF 再生動作の内容 |
|---|---|---|
| パッシブ | マシンの通常運転中(エンジン高速回転中または高負荷回転中)に行われる。 | • パッシブ再生はインフォセンターに表示されない。 |
| • パッシブ再生中、DPF は高温の排気を利用して有害な排気を酸化させ、すすを燃焼させて灰にする。 | ||
| アシスト | エンジンを低速運転した、低負荷で運転した、または DPF のバック圧が高いことをコンピュータが検知することが原因で実行される。 | • アシスト再生はインフォセンターに表示されない。 |
| • アシスト再生中は、エンジンのコンピュータがエンジンの設定を調整して排気温度を高める。 | ||
| リセット | 100 運転時間ごとに実行される | インフォセンターに排気高温アイコン が表示された場合には、再生が進行中。 |
| 通常使用中に、フィルタ内部のすすの蓄積が所定量を超えた場合にも実行されます。 | ||
| • リセット再生中は、フィルタの再生を確実に行うためにエンジン制御コンピュータがエンジンを高速回転させます。 |
| 再生の種類 | DPF 再生の条件 | DPF 再生動作の内容 |
|---|---|---|
| 駐車再生 | 通常運転中に行われる DPF の自動再生が十分でないと判断された時に実行されます。 | • リセットスタンバイ/駐車再生またはリカバリ再生アイコン またはが表示された場合。 |
| オペレータが駐車再生を実施した場合にも実行されます。 | ||
| 再生中止が行われて DPF の自動再生が行われなくなった場合にも実行される可能性があります。 | • リカバリ再生が必要にならないように、できるだけ早く停車再生を行う。 | |
| 不適切な燃料やエンジンオイルを使用した場合にも必要になる。 | • 駐車再生に要する時間は 30-60 分間。 | |
| • 燃料タンク内の燃料残量が ¼ 以上であることを確認して行う。 | ||
| • 駐車再生は、駐車して行うことが必要。 | ||
| リカバリ | 駐車再生の要求が無視されたために DPF の詰まりが極限に達した場合に実行されます。 | • リセットスタンバイ/駐車再生またはリカバリ再生アイコン が表示された場合に必要です。 |
| • 駐車再生に要する時間は 3 時間。 | ||
| • 燃料タンク内の燃料残量が ½ 以上であることを確認して行う。 | ||
| • この再生は、駐車して行うことが必要。 |
メインメニューから下へスクロールして整備メニューに入り、選択ボタンを押す。
整備で、DPF RENGERATIONまでスクロールし、選択ボタンを押します。
必要な再生機能を選択する。

DPF REGENERATION メニューからスクロールして LAST REGEN(最近の再生)メニューに入る。
LAST REGEN を選択。
LAST REGEN で、最後の再生(リセット、駐車、リカバリ)後に何時間エンジンを使用したかを確認する。
戻るボタンで DPF REGENERATION へ戻る。

リセット再生では、エンジンからの排気温度が高くなります。立ち木の周囲、背の高い草地、植込みの内部など、排気が高温になると問題が発生しやすい場所を刈り込む時には再生禁止 INHIBIT REGEN 設定を行っておくことができます。
Note: 締め切った室内で整備作業を行う場合には、必ず INHIBIT REGEN に設定しておきます。
Note: リセット再生が必要な状態になったのに、リセット再生を「しない」に設定した状態になっている場合、15 分ごとにインフォセンター上にアドバイスが表示されます。
Important: エンジンを一度停止すると、エンジン再起動時には、再生禁止設定は解除されて OFF になります。
DPF REGENERATION から下へクロールして INHIBIT REGEN(再生を禁止する)に入る。
INHIBIT REGEN を選択。
再生禁止設定を OFF から ON に変更する。
再生に必要な量の燃料が燃料タンクにあることを確認する:
駐車再生:燃料タンク内の燃料残量が ¼ 以上であることを確認する。
リカバリ再生:燃料タンク内の燃料残量が ½ 以上であることを確認する。
マシンを可燃物のない屋外に移動させる。
平らな場所に駐車し、すべてのコントロールをニュートラルにし、PTO を解除し、カッティングユニットを降下させる。
駐車ブレーキを掛け、エンジンが低アイドル回転になるのを待つ。
駐車再生が要求された場合には、インフォセンターに表示される手順に従ってください。
Important: エンジンの速度設定を上げたり、駐車ブレーキを解除したりすると、DPF 再生はキャンセルされます。
DPF REGENERATION メニューから下へスクロールして PARKED REGEN(駐車再生)またはRECOVERY REGEN(リカバリ再生)に入る。
PARKED REGEN または RECOVERY REGEN を選択。
Note: リカバリ再生を開始するには正しい PIN コードを入力する必要があります。
REGEN PARAMETERS 画面で、燃料タンクの残量が ¼ 以上(駐車再生の場合)または ½ 以上(リカバリ再生の場合)あることを確認する。駐車ブレーキがかかっており、エンジン回転数がローアイドルに設定されていることを確認する。選択ボタンを押して続行する。
INITIATE DPF REGENで、「次へ」ボタンを押して続行。
インフォセンターの画面に、INITIATE DPF REGEN(再生を開始します)と表示される。
Note: キャンセルが必要になった場合は、キャンセルアイコンを押す。
インフォセンターの画面には、終了までの時間が表示される。
インフォセンターはホーム画面になり、再生受け付け済みアイコン
が表示される。
Note: DPF 再生中は、インフォセンターに高温排気アイコン
が表示されます。
駐車再生やリカバリ再生が終了すると、インフォセンターにアトバイスが表示される。どのボタンでも押せばホーム画面に戻る。
Note: 再生に失敗した場合には、アドバイスに従って、まずどのキーでも良いから押してホーム画面へ戻る。
実行中の駐車再生やリカバリ再生をキャンセルするには、PARKED REGEN CANCEL または RECOVERY REGEN CANCEL を実行します。
DPF REGENERATION メニューからスクロールして PARKED REGEN(駐車再生)またはRECOVERY REGEN(リカバリ再生)に入る。
選択ボタンを押して駐車再生を中止またはリカバリ再生を中止する。

冷却ファンは、通常はマシンが自動制御しています。後部スクリーンごみが付着すると、ファンは自動的に逆転してごみを吹き飛ばします。通常の運転中は、ファンの回転速度は油圧オイルとエンジン冷却液の温度によって変わり、必要に応じて自動で逆転してスクリーンにたまったごみを吹き飛ばします。
インフォセンターの2つの外側ボタン又は内側の左右のボタンを 2 秒間同時に長押しすると、ファンの手動逆転を行うことができます(図 38)。後スクリーンの詰まりに気づいたときや、整備場に進入する前などにこの手動逆転モードをお使いください。

同じ方向からの刈り込みを続けていると芝草が寝てしまい、刈ったあとの見映えが悪くなります。刈り込みの方向はできるだけ毎回変えるようにしましょう。
見映えのトラブルシューティングガイド(Aftercut Appearance Troubleshooting Guide)を参照してください:www.Toro.com
ブレードを回転させてからゆっくりと芝刈り場所に入ります。前のカッティングユニットが芝刈りの境界内に入ったところでカッティングユニットを降下させます。
真っ直ぐに刈りたい(きれいなストライプを作りたいときなど)場合は、樹木などを目印にして走行してください。
前方のカッティングユニットが芝刈りエリアの境界についたらカッティングユニットを上げます。「雨だれ型」のターンを行うと、早く旋回し、しかもラインを揃えやすくなります。
カッティングユニットにボルト固定するマルチングバッフルが発売されています。マルチングバッフルは、定期的に刈り込みを行っているターフで最も威力を発揮します。一回の刈り取り長さが25 mmを超えないようにするのがきれいに仕上げるコツです。刈り取り長さが大きくなりすぎると刈り上がりの見た目が汚くなり、刈り込みに必要なパワーも増えてしまいます。マルチングバッフルは、秋に落ち葉を粉砕処理する作業にも大変適しています。
一度に切り取る長さは 25 mm 以内に抑えましょう。草丈の1/3 以上は刈り取らないのが原則です。成長期の密生している芝生では刈り高設定をさらに一目盛り上げる必要があるかもしれません。
刃先が鋭利であれば、芝草の切り口もきれいです。そのような切り口は茶色に変色し、芝草の成長に悪影響を与えるだけでなく、病害の発生なども助長します。ブレードが適切な状態であり、セールの形状が完全であることを確認してください;ブレード回転面の管理を参照。
デッキのチェンバ(ブレードのある空間)を良いコンディションに維持してください。チェンバの変形は修正して、ブレードの先端とチェンバとの間に適切なすき間を確保してください。ローラやピボットジョイントに大きな遊びがあるとターフを傷つけたり刈り込みの見映えを割るクセする原因となりますから、よく点検してください。る
刈り込み作業が終わったら、ノズルを付けないホース で機体を十分に水洗いしてください(シール部やベアリングへの浸水を防止するため)。ラジエターおよびオイルクーラに刈りかすやごみが付着していたらきれいに取り除いてください。洗車が終わったら、トラクションユニットおよびカッティングユニット各部およびブレードの磨耗・損傷などの点検を行ってください。
エンジンを停止させ、キーを抜き取り、各部の動作が完全に停止したのを確認してから運転位置を離れる。調整、整備、洗浄、格納などは、マシンが十分に冷えてから行ってください。
火災防止のために、カッティングユニット、駆動部、マフラー、冷却スクリーン、エンジンルームに刈りかすごみが溜まっていないことを確認する。オイルや燃料がこぼれた場合はふき取る。
カッティングユニットを上昇位置にして機械から離れる場合、ロック装置がある場合には、必ずユニットをロックしてください。
閉めきった場所に本機を保管する場合は、エンジンが十分冷えていることを確認してください。
格納保管中やトレーラでの輸送中は、燃料バルブ装着車ではバルブを閉じておいてください。
ガス湯沸かし器のパイロット火やストーブなど裸火や火花を発するものがある近くでは、絶対に機械や燃料容器を保管・格納しないでください。
必要に応じてシートベルトの清掃と整備を行ってください。
カッティングユニットを上昇させた状態で一晩あるいは長期間格納する場合には、左右のカッティングユニットが下に降りてこないように、ランヤードを使用してください。移動走行中に、左右のカッティングユニットが降下しないようにしたい場合にも、ランヤードの使用が有効です。

Note: ランヤードを使用していない時には収納しておいてください。
PTOが解除されていることを確認する。
平らな場所に駐車する。
駐車ブレーキを掛ける。
カッティングユニットを降ろした状態で、ランヤードの輪を、ローラサポートの補強プレートのスロットに差し込む(図 41)。

長距離を移動する場合や不整地を移動する場合、トレーラなどで搬送する場合、機体を格納する場合には、搬送用後部ラッチ(2ヶ所)で、6番と7番のカッティングユニット(図 15)を固定してください。

格納保管中やトレーラでの輸送中は、燃料バルブ装着車ではバルブを閉じておいてください。
トレーラやトラックに芝刈り機を積み降ろすときには安全に十分注意してください。
積み込みには、機体と同じ幅のある歩み板を使用してください。
車体が落下しないように確実に固定してください。
緊急時には、油圧ポンプについているバイパス機能を使用して本機を前進方向に牽引または押して移動することができます。
Important: 牽引または押して移動する時の速度は、3-4.8 km/h 未満としてください。これ以上の速度ではトランスミッションを破損する恐れがあります。本機を押して或いは引いて移動させる場合には、必ずリリーフバルブを開く必要があります。
フードを開け、バッテリーボックスの後ろにあるポンプの上面についているリリーフバルブを探し出す(図 43)。
各バルブを左に 3 回転させるとバルブが開いてオイルが内部でバイパスされるようになる。
Note: バイパスバルブは 3 回転以上させないでください。これによってオイルがバイパスされ、トランスミッションを破損することなく機械を押して移動できるようになります。


前進にて牽引移動を行う。
Important: 後退方向に移動させなければならない場合は、後退牽引キット(P/N 136-3620)を参照してください。
緊急移動が終了したらリリーフバルブを閉じる。バルブを 70 N-m (7.2 kg.m=52 ft-lb)にトルク締めする。
Note: 国家規格などに適合しているベルトなどで機体の四隅を固定するようにしてください。。
フレームの左右それぞれの側、運転台の脇
後バンパー上


Note: 前後左右は運転位置からみた方向です。
Important: エンジンの整備に関しての詳細は、付属のエンジンマニュアルを参照してください。
Important: 保守整備のためにエンジンに排気ダクトを取り付けてを運転する場合には、再生禁止(inhibit regen) 設定を ONにしてください;再生禁止の設定を参照。
Note: www.Toro.com から、この機械に関する配線図と油圧回路図をダウンロードすることができます。弊社ホームページからマニュアルへのリンクをご活用ください。
運転席を離れる前に:
平らな場所に駐車する。
PTOの接続を解除し、アタッチメントを下降させる。
駐車ブレーキを掛ける。
エンジンを止め、キーを抜き取る。
全ての動きが停止するのを待つ。
作業にふさわしい服装をし、安全めがね、長ズボン、頑丈で滑りにくい安全な靴を着用してください。手足、衣服、装飾品、頭部(長髪)を可動部に近づけないでください。
始動スイッチにキーをつけたままにしておくと、誰でもいつでもエンジンを始動させることができ、危険である。整備作業の前には必ずキーを抜いておくこと。
保守作業は、各部が十分冷えてから行ってください。
カッティングユニットを上昇位置にして機械から離れる場合、ロック装置がある場合には、必ずユニットをロックしてください。
可能な限り、エンジンを回転させながらの整備はしない。可動部に近づかない。
エンジンは換気の十分確保された場所で運転してください。排気ガスには致死性ガスである一酸化炭素が含まれています。
マシンの下で作業する場合には、必ずジャッキスタンドでマシンを確実に支えてください。
機器類を取り外すとき、スプリングなどの力が掛かっている場合がある。
各部品が良好な状態にあること、ボルトナット類、特にブレード取り付け用のボルト類に問題がないか常に点検してください。
読めなくなったデカルは貼り替えてください。
マシンの性能を完全に引き出し、かつ安全にお使いいただくために、交換部品は純正品をお使いください。他社の部品を御使用になると危険な場合があり、製品保証を受けられなくなる場合がありますのでおやめください。
| 整備間隔 | 整備手順 |
|---|---|
| 使用開始後最初の 1 時間 |
|
| 使用開始後最初の 10 時間 |
|
| 使用開始後最初の 50 時間 |
|
| 使用開始後最初の 200 時間 |
|
| 使用するごとまたは毎日 |
|
| 50運転時間ごと |
|
| 100運転時間ごと |
|
| 200運転時間ごと |
|
| 400運転時間ごと |
|
| 500運転時間ごと |
|
| 800運転時間ごと |
|
| 1000運転時間ごと |
|
| 2000運転時間ごと |
|
| 3000運転時間ごと |
|
| 長期保管前 |
|
| 2年ごと |
|
始動キーをつけたままにしておくと、誰でもいつでもエンジンを始動させることができ、危険である。
整備作業の前には必ずキーを抜いておくこと。
このページをコピーして使ってください。
| 点検項目 | 第 週 | ||||||
|---|---|---|---|---|---|---|---|
| 月 | 火 | 水 | 木 | 金 | 土 | 日 | |
| インタロックの動作を点検する。 | |||||||
| ブレーキの動作を確認する。 | |||||||
| エンジンオイルの量を点検する。 | |||||||
| 冷却液の量を点検する。 | |||||||
| 燃料・水セパレータの水を抜く。 | |||||||
| エアフィルタ、ダストカップ、バルブを点検する。 | |||||||
| エンジンから異常音がないか点検する。1 | |||||||
| ラジエターとスクリーンを点検する。 | |||||||
| 運転操作時の異常音 | |||||||
| 油圧オイルの量を点検する。 | |||||||
| 油圧ホースの磨耗損傷を点検する。 | |||||||
| オイル漏れがないか点検する。 | |||||||
| 燃料残量を点検する。 | |||||||
| タイヤ空気圧を点検する | |||||||
| 計器類の動作を確認する。 | |||||||
| 刈高の調整の点検 | |||||||
| グリスアップを行なう。2 | |||||||
| 機体の清掃。 | |||||||
| 塗装傷のタッチアップを行う。 | |||||||
|
1始動困難、大量の煙、咳き込むような走りなどが見られる場合はグロープラグと噴射ノズルを点検する。 2車体を水洗いしたときは整備間隔に関係なく直ちにグリスアップする。 |
|||||||
Important: エンジンの整備に関しての詳細は、付属のエンジンマニュアルを参照のこと。
| 点検担当者名: | ||
| 内容 | 日付 | 記事 |
| 整備間隔 | 整備手順 |
|---|---|
| 50運転時間ごと |
|
グリスの種類:リチウム系2号グリス
グリスアップ箇所は以下の通りです:
図 50に示す、ブレーキシャフトのピボットのベアリング(5ヶ所)

図 51に示す、後アクスルピボットのブッシュ(2ヶ所)

図 52に示す、ステアリングシリンダのボールジョイント (2ヶ所)

図 52に示す、タイロッドのボールジョイント (2ヶ所)
図 52に示す、キングピンのブッシュ(2ヶ所)
Important: 一年に一度だけ、キングピンの上部のフィッティングにグリスを注入(ポンプ2回)してください。
図 53に示す、昇降アームのブッシュ(カッティングユニット 1 台に 1 ケ所)

図 53に示す、昇降シリンダのブッシュ(カッティングユニット 1 台に 2 ケ所)
図 54に示す、スピンドルシャフトのベアリング(カッティングユニット 1 台に 2 ヶ所)
Note: どちらでも使いやすい方のフィッティングを使って構いません。スピンドルハウジングの底(カッティングユニットの下)から少量のグリスがはみ出てくるまでポンプでグリスを注入してください。

図 54に示す、刈り込みデッキのキャリアアームのブッシュ(カッティングユニット 1 台に 1 ケ所)
図 55に示す、後ローラのベアリング(カッティングユニット 1 台に 2 ヶ所)

Important: 角ローラマウントにあるグリス溝と、角ローラシャフトのグリス穴とを合わせてください。溝と穴をあわせやすいように、ローラシャフトの片側の端部に合印がついています。
エンジンオイルの点検や補充は、エンジンを止めキーを抜き取った状態で行ってください。
エンジンのガバナの設定を変えたり、エンジンの回転数を上げすぎたりしないでください。
| 整備間隔 | 整備手順 |
|---|---|
| 400運転時間ごと |
|
エアクリーナ本体にリーク原因となる傷がないか点検してください。破損していれば交換してください。吸気部全体について、リーク、破損、ホースのゆるみなどを点検してください。
エアクリーナのフィルタの整備は、インジケータ(図 56)が赤色になってから行ってください。早めに整備を行っても意味がありません。むしろフィルタを外したときにエンジン内部に異物を入れてしまう危険が大きくなります。

Important: 本体とカバーがシールでしっかり密着しているのを確認してください。
以下の条件を満たす、低灰分(low-ash)の高品質エンジンオイルを使用してください:
API 規格: CJ-4 またはそれ以上
ACEA 規格: E6
JASO 規格:DH-2
Important: API CJ-4 以上、ACEA E6 または JASO DH-2 のオイルを使用しないと DPF が詰まってエンジンを破損します。
以下の粘度のエンジンオイルを使用してください:
推奨オイル:SAE 15W-40(-18℃(0°F)
他に使用可能なオイル:SAE 10W-30 または 5W-30(全温度帯)
Toro のプレミアムエンジンオイル(15W-40 または 10W-30)を代理店にてお求めいただくことができます。パーツカタログでパーツ番号をご確認ください。
| 整備間隔 | 整備手順 |
|---|---|
| 使用するごとまたは毎日 |
|
エンジンにはオイルを入れて出荷していますが、初回運転の前後に必ずエンジンオイルの量を確認してください。
Important: エンジンオイルの量は毎日点検してください。油量がディップスティックの FULL マークより上にある場合は、オイルが燃料で薄められている可能性があります。油量がFULL マークより上にある場合は、エンジンオイルを交換してください。
エンジンオイルを点検する最もよいタイミングは、その日の仕事を始める直前、エンジンがまだ冷えているうちです。既にエンジンを始動してしまった場合には、一旦エンジンを停止し、オイルが戻ってくるまで約 10 分間程度待ってください。油量がディップスティックのADDマークにある場合は、FULLマークまで補給してください。オイルを入れすぎないように注意してください。
Important: エンジンオイルの量がディップスティックの上限マークと下限マークの間にあるように管理してください。多すぎても少なすぎてもエンジンに悪影響が出ます。
エンジンオイルの量を点検する;図 59を参照。


Note: 種類の異なるオイルを使うときには、古いオイルを全部抜き取ってから新しいオイルを入れること。
約 5.7 リットル(フィルタ含む)。
| 整備間隔 | 整備手順 |
|---|---|
| 500運転時間ごと |
|
Note: 整備時期インジケータのリセット方法は;整備時期お知らせタイマーを参照してください。
エンジンを始動し、約5分間のウォームアップを行ってオイルを温める。
平らな場所に駐車し、駐車ブレーキを掛け、エンジンを停止し、キーを抜き取る。
エンジンオイルとフィルタを交換する(図 60)。


クランクケースにオイルを入れる;エンジンオイルの量とエンジンオイルの量を点検するを参照。
| 整備間隔 | 整備手順 |
|---|---|
| 3000運転時間ごと |
|
DPF のディーゼル酸化触媒(DOC)とすすフィルタの分解手順は、サービスマニュアル を参照のこと。
DPF のディーゼル酸化触媒(DOC)とすすフィルタの交換用パーツや整備については、サービスマニュアルを参照するか、弊社ディストリビュータに問い合わせる。
きれいな DPF に交換した後には、弊社ディストリビュータに依頼してエンジンのECUをリセットする。
軽油は条件次第で簡単に引火爆発する。発火したり爆発したりすると、やけどや火災などを引き起こす。
燃料補給は必ず屋外で行い、燃料をこぼさぬよう、補給に際しては漏斗などの器具を使用する。こぼれた燃料はふき取る。
燃料タンク一杯に入れないこと。給油は燃料タンクの首の根元から 6-13 mm 程度下までとする。これは、温度が上昇して燃料が膨張したときにあふれないように空間を確保するためである。
燃料取り扱い中は禁煙を厳守し、火花や炎を絶対に近づけない。
安全で汚れのない認可された容器で保存し、容器には必ずキャップをはめること。
| 整備間隔 | 整備手順 |
|---|---|
| 800運転時間ごと |
|
| 長期保管前 |
|
上記の定期整備以外に、燃料系統が汚染された時や、マシンを長期にわたって格納する場合には燃料タンクの内部を清掃してください。タンクの清掃にはきれいな燃料を使用してください。
| 整備間隔 | 整備手順 |
|---|---|
| 400運転時間ごと |
|
劣化・破損状況やゆるみが発生していないかを調べてください。
| 整備間隔 | 整備手順 |
|---|---|
| 400運転時間ごと |
|
燃料フィルタのヘッドの周囲をきれいに拭く(図 64)。

フィルタを外してフィルタヘッドの取り付け部をきれいに拭く(図 64)。
フィルタのガスケットにきれいなエンジンオイルを塗る;詳細についてはエンジンマニュアルを参照。
ドライフィルタキャニスタを、ガスケットが取り付け部に当るまで手でねじ込み、そこからさらに½回転締め付ける。
高圧ポンプに通じるフィルタとラインにプライミングを行う;燃料系統からのエア抜きを参照。
エンジンを始動し、フィルタヘッド周囲に燃料漏れがないかもう一度点検する。
燃料タンク内部にある燃料供給チューブには、燃料系統に異物が入るのを防止するスクリーンがついています。必要に応じてこのチューブを取り外してスクリーンを清掃してください。
燃料供給ホースを燃料供給チューブに固定しているホースクランプを外す(図 65)。

フィッティングからホースを取り外す(図 65)。
燃料タンクから燃料供給チューブを取り出す(図 65)。
Note: 燃料タンクのブッシュからチューブをまっすぐに持ち上げる。
燃料供給チューブの端部のスクリーンにたまっているごみていねいに取り除く(図 65)。
ゴム製ブッシュを通して燃料タンク内部へ燃料供給チューブを挿入する(図 65)。
Note: 燃料供給チューブはゴム製ブッシュに完全に差し込んでください。
燃料供給チューブのフィッティングに供給ホースを取り付け、ステップ(1)で外したホースクランプで固定する。
エンジンを始めて始動するとき、燃料切れでエンジンが停止したとき、燃料系統の整備作業(水セパレータ内部の清掃や燃料ホースの交換など)を行った後では、燃料系統からのエア抜きを行う必要があります。
燃料システムのプライミング手順は以下の通りです:
燃料タンクに燃料が入っていることを確認する。
高圧ポンプの破損を防止するため、以下の要領でフィルタとラインから高圧ポンプまでの経路のプライミングを行う:
キーを ON 位置に回して15-20秒間待つ。
キーを OFF 位置に回して30-40秒間待つ。
Note: これにより ECU の電源がOFF になります。
キーを ON 位置に回して15-20秒間待つ。
フィルタやホースからオイル漏れしていないか点検する。
Important: スタータを回してエンジンをクランキングさせてのプライミングはしないでください。
マシンの整備や修理を行う前に、バッテリーの接続を外してください。バッテリーの接続を外すときにはマイナスケーブルを先に外し、次にプラスケーブルを外してください。接続するときにはプラスを先に接続し、次にマイナスを接続してください。
バッテリーの充電は、火花や火気のない換気の良い場所で行ってください。バッテリーと充電器の接続や切り離しを行うときは、充電器をコンセントから抜いておいてください。また、安全な服装を心がけ、工具は確実に絶縁されたものを使ってください。
| 整備間隔 | 整備手順 |
|---|---|
| 50運転時間ごと |
|
Important: 電気系統を保護するため、本機に溶接作業を行う時には、コントローラとバッテリーのマイナスケーブルの接続を外してください。また、エンジン、インフォセンター、およびコントローラの接続を外してください。
Note: 端子や周囲が汚れていると自然放電しますので、バッテリーが汚れないようにしてください。洗浄する場合は、まず重曹と水で全体を洗います。次に真水ですすぎ、。腐食防止のために両方の端子部にワセリン(Grafo 112X: P/N 505-47)を薄く塗ってください。
右側の物入れのカバーのラッチを外して、カバーを上に開く(図 68)。
電解液には硫酸が含まれており、触れると火傷を起こし、飲んだ場合には死亡する可能性がある。
電解液を飲まないこと。また、電解液を皮膚や目や衣服に付けないよう十分注意すること。安全ゴーグルとゴム手袋で目と手を保護すること。
皮膚に付いた場合にすぐに洗浄できるよう、必ず十分な量の真水を用意しておくこと。
バッテリーのプラス(+)端子についているゴムキャップを外して端子を点検する。
バッテリーのマイナス(-)端子からマイナスケーブル(黒)を外し、次に、プラス(+)端子からプラスケーブル(赤)を外す(図 66)。
バッテリーケーブルの接続手順が不適切であるとケーブルがショートを起こして火花が発生する。それによって水素ガスが爆発を起こし人身事故に至る恐れがある。
ケーブルを取り外す時は、必ずマイナス(黒)ケーブルから取り外す。
ケーブルを取り付ける時は、必ずプラス(赤)ケーブルから取り付け、それからマイナス(黒)ケーブルを取り付ける。
バッテリーの端子に金属製品や車体の金属部分が触れるとショートを起こして火花が発生する。それによって水素ガスが爆発を起こし人身事故に至る恐れがある。
バッテリーの取り外しや取り付けを行うときには、端子と金属を接触させないように注意する。
バッテリーの端子と金属を接触させない。

充電器に接続し、充電電流を 3-4 A にセットする。3-4 Aで 4-8 時間充電する。
充電中は爆発性のガスが発生する。
充電中は絶対禁煙を厳守。バッテリーに火気を近づけない。
充電が終わったらチャージャをコンセントから抜き、バッテリー端子から外す。
赤い(+)ケーブルをバッテリーの(+)端子に、 黒いケーブル(-)はバッテリーの(-)端子に固定する(図 66)
ボルトとナットでケーブルを固定する。
Note: プラス端子が電極に十分にはまり込んでいること、ケーブルの配線に無理がないことを確認する。ケーブルとバッテリーカバーを接触させないこと。
腐食防止のために両方の端子部にワセリン(Grafo 112Xスキンオーバーグリス:P/N 505-47)またはグリスを薄く塗る。
プラス端子にゴムカバーを取り付ける。
コンソールパネルを閉じ、ラッチを掛ける。

| 整備間隔 | 整備手順 |
|---|---|
| 400運転時間ごと |
|
プラネタリドライブとホイールとの間にガタがあってはなりません (ホイールを軸方向に押し引きしたときにホイールが動く場合はガタがあります)。
車両を平らな場所に駐車し、駐車ブレーキを掛け、カッティングユニットを降下させ、エンジンを停止し、キーを抜き取る。
後ホイールに輪止めを掛け、機体前部を床から浮かせ、前アクスルフレーム部をジャッキスタンドで支える。
ジャッキに載っている車体は不安定であり、万一外れると下にいる人間に怪我を負わせる危険が大きい。
ジャッキアップした状態では車両を始動しないこと。
車両から降りる時は必ず スイッチからキーを抜いておく。
ジャッキアップしている時にはヤイヤに輪止めを掛けること。
機体をジャッキスタンドで支える。
左右の前駆動輪のうちの一つを持って抜き差し方向に押し引きし、車輪が動かないことを確認する。

もう1個のホイールにもステップ3の点検を行う。
どちらか一方でもホイールが動く場合は、代理店に連絡してリビルドしてもらう。
| 整備間隔 | 整備手順 |
|---|---|
| 400運転時間ごと |
|
ギアオイルの種類:高品質の、 SAE 85W-140 ギアオイル
| 整備間隔 | 整備手順 |
|---|---|
| 使用開始後最初の 50 時間 |
|
| 800運転時間ごと |
|
ギアオイルの種類:高品質の、 SAE 85W-140 ギアオイル
プラネタリギアとブレーキハウジングのオイルの量: 0.65 リットル
水平な床面で、補給プラグが時計の 12 時の位置、点検プラグが 3 時、ドレンプラグが 6 時の位置を指すように駐車する;図 72(プラネタリギアオイルの点検)を参照。
補給プラグがが時計の 12 時を指し、点検プラグ が 3 時の位置を指すようにマシンを駐車する(図 74)。

プラネタリハブの下にオイル回収容器を置き、6 時の位置にあるドレンプラグを外してオイルを抜く(図 74)。
補給用、点検用、ドレン用の各プラグについている O リングに磨耗や破損がないか点検する。
Note: 必要に応じて O リングを交換してください。
プラネタリハウジングのドレン穴にプラグを取り付ける(図 74)。
ブレーキハウジングの下に容器を置き、プラグを外してオイルを抜く(図 75)。

プラグについている O リングに磨耗や破損がないか点検し、問題がなければ元通りに取り付ける。
Note: 必要に応じて O リングを交換してください。
補給プラグの穴から、高品質の SAE 85W-140 wt. ギア潤滑油 650 ml を、ゆっくりと入れる。
Important: 650ml が入り終わる前に一杯になってしまった場合は、1時間ほど待つか、一度プラグをはめてマシンを 3m ほど移動させると、ブレーキシステムにオイルがまわって残り量を補給することができるようになります。そのようにして全量を入れてください。

補給プラグと点検プラグを取り付ける。
プラネタリハウジングとブレーキハウジングをきれいに拭く(図 77)。

マシンの反対側ののプラネタリアセンブリとブレーキアセンブリにも、ステップ 1-7(プラネタリギアドライブからのオイル抜き作業)とステップ1-3の作業を行う。
| 整備間隔 | 整備手順 |
|---|---|
| 使用するごとまたは毎日 |
|
後アクスルと後アクスルギアボックスから潤滑油が漏れていないか目視で点検する。

| 整備間隔 | 整備手順 |
|---|---|
| 400運転時間ごと |
|
後アクスルには SAE 85W-140 ギアオイルを入れて出荷しています。容量は2.4 リットルです。オイル漏れの目視点検は毎日行ってください。
車両を平らな場所に駐車し、駐車ブレーキを掛け、カッティングユニットを降下させ、エンジンを停止し、キーを抜き取る。
アクスルの一方の端部から点検用プラグを抜き、穴の高さまで潤滑油があることを確認する(図 79)。
Note: 量が不足している場合は、給油プラグをはずして補給する。

| 整備間隔 | 整備手順 |
|---|---|
| 使用開始後最初の 200 時間 |
|
| 800運転時間ごと |
|
プラネタリギアオイルの種類:高品質の、 SAE 85W-140 ギアオイル
アクスルの容積: 2.4 リットル
車両を平らな場所に駐車し、駐車ブレーキを掛け、カッティングユニットを降下させ、エンジンを停止し、キーを抜き取る。
ドレンプラグ(それぞれの端部に1本ずつ、中央に1本;全部で3本)の周囲をきれいにする(図 80)。

ギアオイルが抜けやすなるように、オイル量点検プラグとメインアクスルのベントキャップを外す。
各ドレンプラグから出るオイルを容器で回収する。
プラグを取り付ける。
点検用プラグを外し、そこから 85W-140 ギアオイルをおよそ 2.4 リットル入れる。穴の下側の縁までオイルが入ればよい。
点検プラグを取り付ける。
| 整備間隔 | 整備手順 |
|---|---|
| 400運転時間ごと |
|
ギアボックスには SAE 85W-140 ギアオイルを入れて出荷しています。容量は0.5 リットルです。オイル漏れの目視点検は毎日行ってください。
車両を平らな場所に駐車し、駐車ブレーキを掛け、カッティングユニットを降下させ、エンジンを停止し、キーを抜き取る。
ギアボックスの左側から点検・補給用プラグを抜き、穴の高さまで潤滑油があることを確認する(図 81)。
Note: 油量が足りなければ穴の下部まで補給する。

| 整備間隔 | 整備手順 |
|---|---|
| 800運転時間ごと |
|
車両を平らな場所に駐車し、駐車ブレーキを掛け、カッティングユニットを降下させ、エンジンを停止し、キーを抜き取る。
後輪の前と後ろで、左右のタイヤの中央線間距離を測る(アクスルの高さ位置で計測)(図 82)。
Note: 前での測定値が、後ろでの測定値より 3 mm 小さければ合格とする。

調整が必要な場合は、タイロッドのボールジョイ ントのコッターピンとナットを外す(図 83)。アクスルケースサポートからタイロッドのボールジョイントを外す。

タイロッド両側のクランプをゆるめる(図 83)。
外したボールジョイントを内側または外側に1回転させ、ロッドの自由側のクランプを締め付ける。
タイロッドアセンブリ全体を同じ方向に一回転(内側または外側に)させ、ロッドの接続側のクランプを締め付ける。
アクスルケースサポートにボールジョイントを取り付けて、ナットを指で締めつけ、トーインを測定する。
必要に応じ、上記の調整手順を繰り返す。
調整ができたらナットを締め、新しいコッターピンで固定する。
冷却液を飲み込むと中毒を起こす;冷却液は子供やペットが触れない場所に保管すること。
高温高圧の冷却液を浴びたり、高温のラジエター部分に触れたりすると大火傷をする恐れがある。
エンジン停止後、少なくとも15分間程度待って、エンジンが冷えてからキャップを開けること。
キャップを開けるときはウェスなどを使い、高温の水蒸気を逃がしながらゆっくりと開けること。
マシンを運転するときには、必ず所定のカバーを取り付けておくこと。
手、指、衣服などを、ファンやベルトに近づけないように注意すること。
出荷時に、冷却液タンクに、所定の長寿命冷却液(水とエチレングリコールの 50/50 混合液ベース)を入れてあります。
Important: 長寿命冷却液の仕様表の内容に合致する市販の冷却液以外は使用しないでください。従来タイプ(緑色)の無機酸技術(IAT)の冷却は使用しないでください。また、長寿命冷却液と従来タイプを混合しないでください。
|
エチレングリコールタイプ |
腐食防止タイプ |
|
長寿命不凍液 |
有機酸技術(OAT;Organic-acid technology) |
|
Important: 従来の(緑色)冷却液(IAT:無機酸技術製品)と長寿命冷却液は、目で見た時の色で区別することはできません。長寿命冷却液は、以下の色で着色されている場合があります:赤、ピンク、オレンジ、イエロー、ブルー、青緑、紫、緑。必ず仕様に合致する長寿命冷却液を使用してください。 |
|
|
ATSM International |
SAE International |
|
D3306, D4985 |
J1034, J814, 1941 |
Important: 冷却液濃度:原液と水の 50/50 混合液。
好ましい方法:原液と蒸留水を混合する。
他の好ましい方法:蒸留水が入手できない場合は、原液でなく、希釈済みの冷却液を購入する。
最低限度守るべき方法:蒸留水も希釈済み製品も入手できない場合には、飲料水で原液を希釈する。
| 整備間隔 | 整備手順 |
|---|---|
| 使用するごとまたは毎日 |
|
冷却液容量: 8.5 リットル
回転中のファンや駆動ベルトは人身事故の原因となる。
マシンは、必ずガード類を取り付けた状態で運転すること。
手、指、衣服などを、ファンやベルトに近づけないように注意すること。
保守作業を行う前にエンジンを停止し、キーを抜き取っておくこと。
| 整備間隔 | 整備手順 |
|---|---|
| 使用するごとまたは毎日 |
|
このマシンには、油圧駆動式のファンが搭載されており、必要に応じて自動的に(手動でも可能)オイルクーラ/ラジエターのファンを逆転させてスクリーンにたまったごみを吹き飛ばします。この機能により、オイルクーラ/ラジエターの清掃に必要な時間は短縮されますが、清掃の必要がなくなるわけではありません。必ず、定期的にオイルクーラ/ラジエターを点検し、必要に応じて清掃してください。
車両を平らな場所に駐車し、駐車ブレーキを掛け、カッティングユニットを降下させ、エンジンを停止し、キーを抜き取る。
マシンが冷えるのを待つ;保守作業時の安全確保と冷却系統に関する安全確保を参照。
後部スクリーンのラッチを外してスクリーンを開く(図 85)。
Note: 蝶番のピンを抜くとスクリーンを外すことができます。
スクリーンを丁寧に清掃する。

オイルクーラとラジエターの裏表を圧縮空気で丁寧に清掃する(図 86)。
Note: 前側から清掃を始め、車体後方に向けてごみを吹き飛ばす。その後、今度は後ろ側から前側に向かって吹きつけて清掃する。何度か繰り返してごみやよごれを完全に除去する。

Important: オイルクーラ/ラジエター部を水で清掃すると、さびが発生したり、各部の破損が早く進む恐れがあり、ほこりが固くこびりつくので水洗いは避けてください。
後部スクリーンを閉じてラッチを掛ける。
ブレーキペダルの遊びが 25 mm以上となったり、ブレーキの効きが悪いと感じられるようになったら、調整を行ってください。遊びとは、ブレーキペダルを踏み込んでから抵抗を感じるまでのペダルの行きしろを言います。
車両を平らな場所に駐車し、駐車ブレーキを掛け、カッティングユニットを降下させ、エンジンを停止し、キーを抜き取る。
左右のペダルのロックをはずして、各ペダルがそれぞれ自由に動くようにする。
行きしろを小さくするにはブレーキを締める:
ブレーキケーブル(図 87)の端にある前ナッ トをゆるめる。

後ナットを締めてケーブルを後方に移動させてブレーキペダルの遊びが 13-25 mm になるようにする。
調整ができたら前ナットを締める。
| 整備間隔 | 整備手順 |
|---|---|
| 100運転時間ごと |
|
プーリとプーリとの中間部を 約4.5 kg の力で押した時に、10 mm 程度のたわみがあれば適正です。
たわみが10 mmでない場合には、オルタネータ取り付けボルトをゆるめ(図 78)、
Note: 適当な張りに調整してボルトを締めてください。ベルトのたわみが適切に調整されたことを確認する。

万一、油圧オイルが体内に入ったら、直ちに専門医の治療を受けてください。万一、油圧オイルが体内に入った場合には、この種の労働災害に経験のある施設で数時間以内に外科手術を受ける必要があります。
油圧装置を作動させる前に、全部のラインコネクタが適切に接続されていること、およびラインやホースの状態が良好であることを確認してください。
油圧のピンホールリークやノズルからは作動油が高圧で噴出しているので、絶対に手などを近づけないでください。
リークの点検には新聞紙やボール紙を使用すること。
油圧関係の整備を行う時は、内部の圧力を確実に解放すること。
油圧オイル溜めに高品質の油圧オイルを満たして出荷しています。初めての運転の前に必ず油量を確認し、その後は毎日点検してください;油圧オイルの量を点検するを参照。
交換用の推奨油圧オイル:Toro PX Extended Life Hydraulic Fluid(19 リットル缶または208 リットル缶)。
Note: 推奨オイルを使用するとオイルやフィルタ交換の回数を減らすことができます。
使用可能な他のオイル:Toro PX Extended Life Hydraulic Fluidが入手できない場合は、以下に挙げる特性条件および産業規格を満たす石油系の油圧オイルを使用することができます。合成オイルは使用しないでください。オイルの専門業者と相談の上、適切なオイルを選択してください:
Note: 不適切なオイルの使用による損害については弊社は責任を持ちかねますので、品質の確かな製品をお使い下さる様お願いいたします。
| 物性: | ||
| 粘度, ASTM D445 | cSt @ 40°C 44-48 | |
| 粘性インデックス ASTM D2270 | 140 以上 | |
| 流動点 ASTM D97 | -37°C--45°C | |
| 産業規格: | Eaton Vickers 694 (I-286-S, M-2950-S/35VQ25 or M-2952-S) | |
Note: 多くの油圧オイルはほとんど無色透明であり、そのためオイル洩れの発見が遅れがちです。油圧オイル用の着色剤(20 ml 瓶)をお使いいただくと便利です。1瓶で 15-22 リットルのオイルに使用できます。パーツ番号は P/N 44-2500; ご注文は Toro 代理店へ。
Important: トロ・プレミアム合成生分解油圧作動液は、トロ社がこの製品への使用を認めた唯一の合成生分解オイルです。このオイルは、トロ社の油圧装置で使用しているエラストマーに悪影響を与えず、また広範囲な温度帯での使用が可能です。このオイルは通常の鉱物性オイルと互換性がありますが、十分な生分解性を確保し、オイルそのものの性能を十分に発揮させるためには、通常オイルと混合せず、完全に入れ替えて使用することが望まれます。この生分解オイルは、モービル代理店にて 19 リットル缶または 208 リットル缶でお求めになれます。
| 整備間隔 | 整備手順 |
|---|---|
| 使用するごとまたは毎日 |
|
車両を平らな場所に駐車し、駐車ブレーキを掛け、カッティングユニットを降下させ、エンジンを停止し、キーを抜き取る。
油圧オイルの量を点検する(図 89)。


| 整備間隔 | 整備手順 |
|---|---|
| 800運転時間ごと |
|
| 2000運転時間ごと |
|
| 2年ごと |
|
油圧オイルの量:28.4 リットル
オイルが汚染されてしまった場合は油圧系統全体を洗浄する必要がありますので、Toro の正規代理店にご連絡ください。汚染されたオイルは乳液状になったり黒ずんだ色なったりします。
車両を平らな場所に駐車し、駐車ブレーキを掛け、カッティングユニットを降下させ、エンジンを停止し、キーを抜き取る。
フードを上げる。
油圧オイルタンクの底部からケースリターンラインを外し、流れ出すオイルを大型の容器に受ける。
オイルが全部流れ出たらホースを元通りに接続する。
油圧オイルタンクに油圧オイルを入れる; 油圧オイルの点検と交換 を参照。
Important: 指定された銘柄のオイル以外は使用しないでください。他のオイルを使用するとシステムを損傷する可能性があります。
タンクにキャップを取り付ける。
キーを ON 位置に回してエンジンを始動する。全部の油圧装置を操作して内部にオイルを行き渡らせ、オイル漏れがないか点検する。
キーを OFF 位置に回す。
油量を点検し、足りなければディップスティックの FULLマークまで補給する。入れすぎないこと。
| 整備間隔 | 整備手順 |
|---|---|
| 800運転時間ごと |
|
| 1000運転時間ごと |
|
トロの純正交換フィルタをお使いください:後部用(カッティングユニット用)は P/N 94-2621、前部用(チャージ用)は P/N 75-1310 です。
Important: 純正品以外のフィルタを使用すると関連機器の保証が適用されなくなる場合があります。
運転席を倒してデッキの油圧オイルフィルタにアクセスする;油圧昇降部にアクセスするにはを参照。

図 91のようにして、油圧昇降部のチャージ油圧フィルタを交換する。


運転席を元に戻して固定する。
機体右側にある戻りオイル用フィルタを交換する(図 91)。
エンジンを始動して 2 分間運転し、システム内のエアをパージする。エンジンを停止させ、オイル漏れがないか点検する。
| 整備間隔 | 整備手順 |
|---|---|
| 使用するごとまたは毎日 |
|
| 2年ごと |
|
油圧ライン油圧ホースにオイル漏れ、ねじれ、支持部のゆるみ、磨耗、フィッティングのゆるみ、風雨や薬品による劣化などがないか毎日点検してください。修理不十分のまま運転しないでください。
高圧で噴出する作動油は皮膚を貫通し、身体に重大な損傷を引き起こす。
万一、油圧オイルが体内に入ったら、直ちに専門医の治療を受ける。
油圧を掛ける前に、油圧ラインやホースに傷や変形がないか接続部が確実に締まっているかを確認する。
油圧のピンホールリークやノズルからは作動油が高圧で噴出しているので、絶対に手などを近づけないでください。
リークの点検には新聞紙やボール紙を使用すること。
油圧関係の整備を行う時は、内部の圧力を確実に解放すること。
前ローラに磨耗や過剰なガタ、固着などが発生していないか点検してください。これらの症状が見られたら、ローラの整備を行うか、必要部材の交換を行ってください。
第一のベアリングをローラハウジングに押し込む(図 94)。アウターレースのみを押すか、インナーレースとアウターレースを均等に押すかする。
スペーサを入れる(図 94)。
第二のベアリングをローラハウジングに押し込む(図 94)。インナーレースがスペーサに接触するまで、インナーレースとアウターレースを均等に押す。
ローラアセンブリをカッティングユニットのフレームに組み付ける。
ローラアセンブリとカッティングユニットのローラ取り付けブラケットとの間の隙間が 1.5 mm 未満となっていることを確認する。隙間が 1.5 mm を超えている場合には、直径 ⅝" のワッシャを必要なだけはさんで隙間を埋める。
Important: ローラアセンブリ取り付け時に 1.5 mm を超える隙間を残すと、ベアリングの側面に負荷がかかってベアリングが早期に破損する可能性があります。
取り付けボルトを 108 N·m(11kg.m = 80ft-lb) にトルク締めする。
ブレードが磨耗や破損していないか定期的に点検すること。
ブレードを点検する時には安全に十分注意してください。ブレードをウェスでくるむか、安全手袋をはめ、十分に注意して取り扱ってください。ブレードは研磨または交換のみ行い、たたいて修復したり溶接したりしないでください。
複数のブレードを持つ機械では、1つのブレードを回転させると他も回転する場合がありますから注意してください。
カッティングユニットは、刈高 50 mm、ブレードのレーキ設定 7.9 mm に設定して出荷されています。また、左右の刈高の差が、±0.7 mm の範囲になるように設定されています。
カッティングユニットは、ブレードが当たってもチェンバに変形が発生しない強度を持っています。しかし、硬いものがぶつかった後には、ブレードに破損が発生していないか、また、ブレードの回転面に狂いが発生していないか、必ず点検してください。
カッティングユニットから油圧モータを外し、カッティングユニットをトラクタから外す。
ホイストを使うか、2人がかりで、カッティングユニットを平らなテーブルの上に載せる。
ブレードの片方の端にマジックなどで印をつける。以後、高さの点検はすべてこの印のついた側で行う。
ブレードの印の付いているほうの端部を12時の位置(車両進行方向)に向け(図 95)、作業台の表面からブレードの切っ先までの高さを測定する。

印の付いている端部を3時の位置と9時の位置に向けて(図 95)それぞれ高さを測定する。
12時位置での測定値を、刈り高の設定値と比較する。差が 0.7 mm 以内であれば適正とする。3 時および 9 時位置での高さが、12時位置での高さよりも 1.6-6.0 mm 高く、3 時および 9 時位置での高さの差が 2.2 mm 以内であれば適正である。
上記の範囲から外れている場合には、ブレード回転面の調整へ進む。
まず前を調整する(1度に1つのブラケットを調整する)。
刈り高ブラケット(前、左、右のうち1つ)をカッティングユニットのフレームから外す(図 96)。
カッティングユニットのフレームとブラケットとの間に厚さ 1.5 mm または 0.7 mm のシム、場合によってはこれらの両方を挿入して、希望する刈高を達成する (図 96)。

余ったシムを刈り高ブラケットの下に入れ、刈り高ブラケットをカッティングユニットのフレームに取り付ける。
ソケットヘッドボルト/スペーサとフランジナットを固定する。
Note: ソケットヘッドボルトとスペーサとは、カッティングユニットのフレームの内側に落ちないようにねじ山用の接着剤で接着しています。
12時位置での高さを測定し、必要に応じて調整を行う。
左右の刈り高ブラケットの両方ともに調整が必要か、片方のみの調整でよいか判断する。
Note: 3 時位置または 9 時位置が、新しい前位置の高さよりも 1.6-6.0 mm 高い場合には、その側での調整は不要である。反対側の高さを調整して、正しい側の高さ ±2.2 mm の範囲になるようにする。
上記1-4を繰り返して左右の刈り高ブラケットに必要な調整を行う。
キャリッジボルトとフランジナットを固定する。
もう一度、12時、3時、9時位置で高さの測定を行って確認する。
ブレードが堅いものに当たった、バランスが取れていない、磨耗した、曲がったなどの場合には交換する必要があります。安全を確保し、適切な刈りを行うために、ブレードは必ず Toro 社の純正品をお使いください。
平らな場所に駐車し、カッティングユニットを移動走行位置まで上昇させ、駐車ブレーキを掛け、エンジンを停止させてキーを抜き取る。
Note: カッティングユニットが落下しないように支持ブロックなどで確実に支える。
ぼろきれや厚いパッドの入った手袋を使ってブレードの端部をしっかり握る。
スピンドルのシャフトからブレードボルト、芝削り防止カップ、ブレードを取り外す(図 97)。

ブレード、芝削り防止カップ、ボルトを取り付けてボルトを115-149 N·m(11.8-15.2 kg.m = 85-110 ft-lb)にトルク締めする。
Important: ブレードの立っている側(セール部)がカッティングデッキの天井を向くのが正しい取り付け方です。
Note: デッキが何かに衝突した場合には、全部のスピンドルプーリ・ナットを115-149 N·m(11.8-15.2 kg.m = 85-150 ft-lb)にトルク締めする。
ブレードの点検や整備を行う際には2つの部分に注目してください:高品質の刈りを実現するためには、刃先と、刃先の反対側にある立ち上がった部分であるセイル部の両方が重要です。セイル部は、風を起こして草を真っ直ぐに立て、均一な刈りを実現するためのものです。しかしセイルは使用に伴って徐々に磨耗してきます。そしてこの磨耗に伴って、刃先が鋭く維持されていても、刈りの質は落ちてきます。草を引きちぎるのでなく、カットするためには、当然刃先が鋭利でなければなりません。刈りあとを見て、切り口がささくれ立っていたり茶色に変色しているのは刃先が鈍くなっている証拠です。このような状態が見られたら、ブレードを研磨してください。
平らな場所に駐車し、カッティングユニットを上昇させ、駐車ブレーキを掛け、走行ベダルをニュートラルとし、PTO レバーが OFF になっているのを確認し、エンジンを停止させ、キーを抜き取る。
ブレードの切っ先を注意深く観察、特に、直線部と曲線部が交わる部分をよく観察する(図 98)。
Note: この、直線部と曲線部の交差域は、砂などによる磨耗が進みやすい部分なので、機械を使用する前によく点検することが必要である。磨耗が進んでいる場合(図 98)には、ブレードを交換する。

すべてのブレードの刃先を点検し、刃先が丸くなっていたり打ち傷がある場合には研磨する(図 99)。
Note: 研磨は刃先の上面だけに行い、刃の元々の角度を変えないように十分注意する(図 99)。左右を同じだけ削るようにすればバランスが狂わない。

Note: ブレードを取り外し、研磨機で研磨する。研磨後、ブレードと、芝削り防止カップをつけてブレードボルトで固定する;ブレードの取り外しと取り付けを参照。
エンジンを停止させ、キーを抜き取り、各部の動作が完全に停止したのを確認してから運転位置を離れる。調整、整備、洗浄、格納などは、マシンが十分に冷えてから行ってください。
ガス湯沸かし器のパイロット火やストーブなど裸火や火花を発するものがある近くでは、機械や燃料容器を保管・格納しないでください。
Important: 塩分を含んだ水や処理水は機体の洗浄に使用しないでください。
トラクションユニット、カッティングユニット、エンジンをていねいに洗浄する。
タイヤ空気圧を点検する。全部のタイヤ空気圧を0.83-1.03 bar に調整する。
ボルトナット類にゆるみながいか点検し、必要な締め付けを行う。
グリス注入部やピボット部全部をグリスアップする。余分のグリスやオイルはふき取る。
塗装のはがれている部分に軽く磨きをかけ、タッチアップする。金属部の変形を修理する。
バッテリーとケーブルに以下の作業を行う:
バッテリー端子からケーブルを外す。
Note: バッテリーの接続を外すときには、必ずマイナスケーブルを先に外し、次にプラスケーブルを外してください。接続するときにはいつでも、プラス側を先に接続し、次にマイナス側を接続してください。
バッテリー本体、端子、ケーブル端部を重曹水とブラシで洗浄する。
腐食防止のために両方の端子部にGrafo 112X スキンオーバーグリス(P/N 505-47)またはワセリンを塗る。
電極板の劣化を防止するため、60日ごとに24時間かけてゆっくりと充電する。
エンジンオイルを抜き取り、ドレンプラグをはめる。
オイルフィルタを外して捨てる。新しいオイルフィルタを取り付ける。
新しいエンジンオイルを所定量入れる。
キーを ON 位置に回し、エンジンを始動し、アイドル速度で約 2 分間運転する。
キーを OFF 位置に回す。
燃料タンク,パイプ,フィルタ/水セパレータから燃料をすべて抜きとる。
燃料タンクの内部をきれいな燃料で洗浄する。
燃料系統の接続状態を点検し必要な締め付けを行う。
エアクリーナをきれいに清掃する。
エアクリーナの吸気口とエンジンの排気口を防水テープでふさぐ。
不凍液の量を確認し必要に応じ補給する(保管場所の最低気温を考慮すること)。
カッティングユニットをトラクションユニットから外した場合は、必ずスピンドルの上部にスピンドルプラグを取り付けて、ほこりや水の浸入を防止してください。
