Note: Este kit deve ser instalado com o modelo 41712 ou 41713.
O kit de sistema de pulverização GeoLink® é um acessório para o veículo de aplicação de rega Multi Pro da Toro, que se destina a ser utilizado por operadores profissionais contratados em aplicações comerciais. Foi principalmente concebido para regar a relva em parques, campos de golfe, campos desportivos e relvados comerciais bem mantidos. Se a máquina for utilizada com qualquer outro propósito, poderá pôr em perigo o utilizador ou outras pessoas.
Leia estas informações com atenção para saber como operar e realizar a manutenção adequada do produto, além de evitar lesões e danos ao produto. A utilização correta e segura do produto é da exclusiva responsabilidade do utilizador.
Visite www.Toro.com para obter informações sobre materiais de formação de operação e segurança dos produtos, informações sobre acessórios, para obter o contacto de um representante ou para registar o seu produto.
Sempre que necessitar de assistência, peças genuínas Toro ou informações adicionais, entre em contacto com um representante de assistência autorizado ou com o serviço de assistência Toro, indicando os números de modelo e de série do produto. Figura 1 identifica a localização dos números de série e de modelo do produto. Escreva os números no espaço fornecido.
Important: Com o seu dispositivo móvel, pode ler o código QR (se equipado) no autocolante com o número de série para aceder a informações sobre garantia, peças e outros produtos.

Este manual identifica potenciais perigos e tem mensagens de segurança identificadas pelo símbolo de alerta de segurança (Figura 2), que identifica perigos que podem provocar ferimentos graves ou mesmo a morte, se não respeitar as precauções recomendadas.

Neste manual são utilizadas duas palavras para destacar informações. A palavra Importante chama a atenção para informações mecânicas específicas e a palavra Observação destaca informações gerais que merecem atenção especial.
As substâncias químicas usadas no sistema de pulverização podem ser perigosas ou tóxicas para si ou outras pessoas presentes, bem como animais, plantas, solo ou outros bens.
Leia atentamente e siga as etiquetas de advertência química e folhas de dados de segurança (FDS) de todos os produtos químicos usados e proteja-se de acordo com as recomendações do fabricante do produto químico. Por exemplo, utilize o equipamento de proteção pessoal (EPP) incluindo a proteção do rosto e dos olhos, luvas ou outros equipamentos para proteção contra o contacto pessoal com um produto químico.
Pode ser utilizado mais do que um produto químico e deve ser consultada a informação sobre cada um.
Recuse operar ou trabalhar no pulverizador se esta informação não estiver disponível.
Antes de trabalhar com um sistema de pulverização, certifique-se de que foi lavado três vezes e neutralizado de acordo com as recomendações dos fabricantes dos produtos químicos e de que todas as válvulas passaram por três ciclos.
Verifique se existe uma fonte de água limpa e sabão nas proximidades e lave imediatamente qualquer produto químico que entre em contacto consigo.
![]() |
Os autocolantes de segurança e de instruções são facilmente visíveis e situam-se próximo das zonas de potencial perigo. Substitua todos os autocolantes danificados ou em falta. |




Consulte o Manual do utilizador da sua máquina.
Estacione a máquina numa superfície plana e nivelada, e engate o travão de estacionamento.
Expanda as secções de rampa esquerda e direita para a posição horizontal.
Desligue o motor, remova a chave e desligue a bateria.
Limpe o pulverizador.
Important: Tem de esvaziar completamente o depósito do pulverizador antes de instalar o kit de acabamento de sistema de pulverização GeoLink.
Retire o conector de duas tomadas da cablagem da máquina que liga ao conector do interruptor do banco.

Retire o perno de gancho que prende a barra de apoio ao suporte na parte inferior da placa do banco.

Retire os dois pernos de gancho que prendem os encaixes articulados da placa do banco aos suportes do chassis.


Retire os dois pinos de articulação que prendem o banco e placa do banco ao chassis.
Eleve o banco e a placa do banco para cima e para fora da máquina.

Rode para cima as pegas dos trincos do painel de acesso ao motor.

Eleve o painel de acesso ao motor e remova-o da máquina.
Remova os dois fixadores de pressão que prendem o guarda-lamas dianteiro esquerdo ao canal inferior do ROPS.

Retire os três parafusos (5/16 x 1 pol.) e as 3 anilhas (5/16 pol.) que prendem o guarda-lamas ao chassis da máquina.

Retire o guarda-lamas da máquina.
Retire os seis fixadores de pressão e cinco anilhas (9/16 x ½ pol.) que prendem o resguardo interior do guarda-lamas ao chassis da máquina.

Remova o resguardo interior do guarda-lamas da máquina.

Repita os passos 1 a 5 para o guarda-lamas e resguardo interior no outro lado da máquina.
Note: Se danificar os fixadores de pressão ao removê-los, substitua-os pela peça da Toro n.º 117-2382.
Remova os dois parafusos (5/16 x 1 pol.) e 2 anilhas (5/16 pol.) que prendem a parte inferior da tampa da consola e a extremidade da cobertura da consola à máquina, e remova as coberturas.


Remova o parafuso (5/16 x 1 pol.) e a anilha (5/16 pol.) que prendem o guarda-lamas dianteiro direito ao piso da plataforma.

Remova, cuidadosamente, os dois fixadores de pressão que prendem o guarda-lamas dianteiro direito ao canal de montagem da barra de segurança.


Remova o parafuso (5/16 x 1 pol.) e a anilha (5/16 pol.) que prendem o guarda-lamas dianteiro direito suporte da travessa.

Retire o guarda-lamas dianteiro direito da máquina.
Retire os seis fixadores de pressão e cinco anilhas (9/16 x ½ pol.) que prendem o resguardo interior do guarda-lamas aos tubos da estrutura superior direita e inferior direita.

Remova o resguardo interior do guarda-lamas da máquina.
Note: Guarde o guarda-lamas dianteiro direito, o resguardo interior do guarda-lamas, os parafusos, as anilhas, e os fixadores de pressão que não estão danificados.Substitua os fixadores de pressão pela peça da Toro n.º 117-2382.
Desligue os dois conectores elétricos (duas tomadas) da cablagem da máquina dos conectores de dois pinos dos faróis esquerdo e direito.

Retire e guarde os nove fixadores de pressão que prendem o capot ao painel de instrumentos e ao chassis da máquina.

Retire e descarte o capot da máquina.
Pressione o anel no acoplador do tubo no tampão da extremidade da válvula da secção da rampa direita.

Puxe o tubo sensor de pressão do indicador no painel do acoplador do tubo.
Desligue o conector de três tomadas rotulado VáLVULA DE PULVERIZAçãO ESQUERDA, VáLVULA DE PULVERIZAçãO CENTRAL, e VáLVULA DE PULVERIZAçãO DIREITA (left spray valve / center spray valve / right spray valve) da cablagem da máquina dos conectores de três pinos dos três acionadores da válvula de pulverização.

Desligue o conector de quatro tomadas da cablagem da máquina rotulado VáLVULA DE REGULAçãO (rate valve) do conector de quatro pinos do acionador da válvula de regulação.

Desligue o conector de três tomadas da cablagem da máquina rotulado VáLVULA DE PULVERIZAçãO PRINCIPAL (master spray valve) do conector de três pinos do acionador da válvula de pulverização principal.
Na secção da rampa exterior, retire a braçadeira de tubos que prende o tubo à união estriada em T.

Retire o tubo da união em T.
Retire a extremidade livre do tubo do grampo em R.
Repita os passos 1 a 3 para o tubo de alimentação na outra secção de pulverização exterior.
Sob a secção da rampa central, retire a braçadeira de tubos que prende o tubo de alimentação para a secção de pulverização central à união estriada em T.

Retire e guarde os retentores que prendem os acopladores rápidos dos tubos de alimentação esquerdo, central e direito das válvulas da secção (Figura 24).

Retire e descarte os tubos de alimentação da secção esquerda, central e direita dos acopladores rápidos das válvulas de secção de pulverização e retire os tubos da máquina.
Remova os tubos das portas de extensão dos cilindros de elevação esquerdo e direito.

Remova e descarte os tubos das:
Portas C1, C2, C3 e C4 do coletor do cilindro de elevação
Portas de extensão e retração dos cilindros de elevação esquerdo e direito.
Note: Excepto quando indicado, guarde todas as ferragens que remover.
Utilize equipamento de elevação com a capacidade especificada para suportar a secção de pulverização exterior.
Retire o perno de gancho e o passador de forquilha que prendem a extremidade da barra do cilindro de elevação ao suporte da articulação.

Retire a porca de bloqueio flangeada (5/16 pol.) e o parafuso de cabeça flangeada (5/16 x ¾ pol.) que prendem o pino de articulação à suporte do cilindro.

Retire o pino de articulação e o cilindro de elevação da máquina.
Capacidade do equipamento de elevação: 46 kg
Elevar máquinas pesadas e acessórios de uma forma incorreta pode causar ferimentos ou morte.
Ao elevar máquinas pesadas e acessórios utilize equipamento de elevação como, por exemplo, correntes e cintas, que seja classificado para o peso do equipamento.
Note: Exceto quando indicado, guarde todas as fixações; vai utilizá-las para instalar a extensão da rampa central.
Retire o parafuso flangeado (5/16 x 1 pol.) e a porca de bloqueio flangeada (5/16 pol.) que fixam o pino de articulação ao suporte da articulação.

Retire o pino de articulação do suporte da articulação para a secção da rampa central e o encaixe articulado para a secção da rampa exterior.
Separe a secção da rampa exterior da secção de pulverização central e retire a secção exterior da máquina.
Retire e descarte os dois casquilhos com flange de nylon do encaixe articulado da secção de pulverização exterior.
Repita os passos 1 a 3 de Remoção dos cilindros de elevação para a rampa exterior no outro lado da máquina.
Repita os passos 1 a 4 desta secção para a secção da rampa exterior no outro lado da máquina.
Retire as duas porcas flangeadas (5/16 pol.) e os dois parafusos de cabeça flangeada (5/16 x 1 pol.) que prendem o suporte para o coletor de elevação da secção ao suporte do cilindro, e separe o coletor e o suporte do suporte do cilindro.

Suporte o coletor de elevação da secção atando-o ao suporte das válvulas com uma corda.
Capacidade do equipamento de elevação: 41 kg
Suporte a secção da rampa central com o equipamento de elevação com a capacidade especificada.

Remove e guarde os 4 parafusos de cabeça flangeada (3/8 x 1¼ pol.) e 4 porcas flangeadas (⅜ pol.) que prendem a secção da rampa central aos suportes.

Eleve a secção da rampa central e remova-a da máquina.
Peças necessárias para este passo:
| Parafuso com cabeça flangeada (⅜ pol. x 1 pol.) | 2 |
| Porcas de bloqueio flangeadas (⅜ pol.) | 2 |
| Extensão da rampa central | 1 |
| Montagem do cilindro (larga) | 1 |
| Placa de ancoragem (larga) | 1 |
| Parafuso de carroçaria (½ x 1¼ pol.) | 4 |
| Porca flangeada (½ pol.) | 4 |
Na secção da rampa central, retire e guarde a porca de bloqueio flangeada que prende a torreta ao suporte.


Retire o parafuso de aço inoxidável (n.º 12 x 1¼ pol.) que prende a metade do grampo superior e a haste do tubo estriado simples ou dupla (¾ pol.) ao corpo da torreta e separe a haste do tubo estriado e o tubo do bico.
Note: O parafuso com cabeça sextavada (5/16 x ¾ pol. — aço inoxidável) vai separar a metade do grampo superior quando abrir o grampo; guarde o parafuso para instalação.

Remova a torreta da secção da rampa central.
Repita os passos 1 e 2 para as outras duas torretas.
Retire os tubos (¾ pol. de diâmetro interior), as hastes do tubo estriado, os grampos e a união em T estriada da secção da rampa central.
Note: Já não precisa do tubo, das hastes do tubo, dos grampos e a união em T; guarde todas as outras peças.
Retire os dois parafusos de cabeça flangeada (⅜ pol. x 1 pol.) e as duas porcas de bloqueio (⅜ pol.) que prendem as flanges verticais das estruturas de armação esquerda e direita.

Retire os dois parafusos de carroçaria (½ x 1¼ pol.) e as duas porcas de bloqueio (½ pol.) que prendem a montagem do cilindro estreita, as estruturas de armação esquerda e direita e a placa de ancoragem estreita.

Note: Guarde os parafusos de cabeça flangeada, os parafusos de carroçaria e as porcas de bloqueio. Já não precisa da montagem do cilindro estreita nem da placa de ancoragem estreita.
Separe as estruturas de armação esquerda e direita.
Monte sem apertar a extensão da rampa central à estrutura da armação com os dois parafusos de cabeça flangeada (⅜ x 1 pol.) e as duas porcas de bloqueio flangeadas (⅜ pol.) removidos anteriormente.

Monte sem apertar a extensão da rampa central à estrutura da armação com os dois parafusos de cabeça flangeada (⅜ x 1 pol.) e as duas porcas de bloqueio flangeadas (⅜ pol.).
Insira a placa de ancoragem na estrutura da armação e na extensão da rampa central e alinhe o orifício da placa com os orifícios na linha central das armações e da extensão da rampa.

Monte o suporte do cilindro, as armações, a extensão da rampa central e a placa de ancoragem com seis parafusos de carroçaria (½ x 1¼ pol.) e seis porcas de bloqueio flangeadas (½ pol.)
Note: Dois dos parafusos de carroçaria e das porcas de bloqueio são de peças removidas anteriormente.
Aperte os parafusos de cabeça flangeada de ⅜ pol. e as porcas de bloqueio com uma força de 37 a 45 N·m.
Aperte as porcas de bloqueio flangeadas de ½ pol. com uma força de 91 a 113 N·m.
Peças necessárias para este passo:
| Torreta | 2 |
| Conjunto dos tubos (válvula do pulverizador 5 ou 6) | 2 |
| Porca flangeada (5/16 pol.) | 2 |
Utilizando o equipamento de elevação, levante a nova secção da rampa central até atingir uma altura de trabalho confortável.
Remova o parafuso de aço inoxidável que prende a metade do grampo superior à sela.

Localize o orifício na lateral da haste do tubo estriado simples na extremidade do tubo de 25 cm do conjunto do tubo (válvula do pulverizador 5 ou 6) para a secção da rampa central.

Alinhe o tubo de transferência na sela de uma torreta com o orifício na lateral da haste do tubo estriado simples (13 mm).
Feche a metade do grampo superior em torno da haste do tubo estriado e prenda a metade do grampo e o corpo do bico do pulverizador com o parafuso de aço inoxidável (n.º 12 x 1¼ pol.); aperte o parafuso de aço inoxidável com 14 a 18 N∙m.
Important: Não aperte demasiado o parafuso de aço inoxidável.
Note: Certifique-se de que o parafuso de cabeça sextavada (5/16 x ¾ pol.) fica assente no entalhe na metade do grampo superior quando fechar o grampo.
Repita os passos 3 a 5 para as hastes do tubo estriado simples do outro conjunto dos tubos (válvula do pulverizador 5 ou 6) para a secção da rampa central.
Passe o tubo (13 mm) e o conjunto da torreta entre os tirantes da armação da armação exterior.

Passe o tubo e a torreta por cima do tirante da armação e para fora para a montagem do bico exterior.
Monte, sem apertar totalmente, a torreta no suporte com o parafuso de cabeça sextavada (5/16 x ¾ pol.) e com uma porca de bloqueio (5/16 pol.)

Passe o outro tubo (13 mm) e o conjunto da torreta entre os tirantes da armação da armação exterior.
Passe o tubo e a torreta por cima do tirante da armação e para dentro para a montagem da torreta interior.
Monte, sem apertar totalmente, a torreta no suporte com o parafuso de cabeça sextavada (5/16 x ¾ pol.) e com uma porca de bloqueio (5/16 pol.)
Aperte a porca de bloqueio flangeada com 19,78 a 25,42 N·m.
Passe o tubo e o acoplador estriado 13 x 810 mm para a lateral da secção de pulverização central com os suportes esquerdo e direito.
Repita os passos 1 a 8 para o outro tubo e torreta na outra armação exterior.
Peças necessárias para este passo:
| Tampa (acoplador rápido) | 3 |
| Fixador | 3 |
Remova o pequeno fixador que prende a união de desconexão rápida do tubo de desvio à união de desconexão rápida da válvula de desvio da secção direita.

Retire e guarde o fixador grande que prende a união estriada de 90° na extremidade inferior do tubo de desvio para a união do anteparo do depósito do pulverizador.

Retire e descarte o tubo de desvio da máquina.
Retire os três fixadores que prendem os três acionadores das válvulas às válvulas da secção esquerda, central e direita.

Retire os acionadores das válvulas das válvulas da secção esquerda, central e direita.
Retire o fixador que prende a tampa à união de desconexão rápida da válvula de desvio, e retire e descarte a tampa.

Retire os três retentores que prendem as três válvulas de distribuição às válvulas da secção esquerda, central e direita.

Levante as válvulas de distribuição das válvulas de secção.
Rode as válvulas de distribuição 180° e monte-as nas uniões de desligação rápida das válvulas de secção.
Prenda as três válvulas de distribuição nas válvulas de secção com os três retentores removidos anteriormente.
Monte a tampa na tomada de ligação rápida da válvula de distribuição.

Prenda a tampa à tomada de ligação rápida com o fixador removido anteriormente.
Monte os três acionadores de válvula às válvulas da secção esquerda, central e direita com os fixadores removidos anteriormente.
Retire e descarte os 2 parafusos de cabeça flangeada (¼ x ¾ pol.) e as 2 porcas de bloqueio (¼ pol.) que prendem a válvula da secção da rampa esquerda à montagem do coletor.

Retire os 2 parafusos de cabeça flangeada (¼ x ¾ pol.) e as 2 porcas de bloqueio (¼ pol.) que prendem a válvula da secção da rampa direita à montagem do coletor.
Retire a braçadeira de flange de 40 a 64 mm e a junta de 25 x 35 mm que prendem a flange da válvula da secção esquerda ao adaptador.
Note: Guarde os dois parafusos de cabeça flangeada, as duas porcas de bloqueio, a braçadeira de flange e a junta.

Remova as três válvulas de secção da máquina.
Retire os autocolantes dos acionadores das três válvulas de secção.

Retire e guarde a braçadeira de flange de 51 mm e a junta de 38 mm que prendem a flange do adaptador à flange do fluxímetro.

Peças necessárias para este passo:
| Montagem do fluxímetro | 1 |
| Metade do grampo de suporte | 4 |
| Parafuso (¼ pol. x 4½ pol.) | 4 |
| Porcas de bloqueio flangeadas (¼ pol.) | 4 |
Desligue o conector de três tomadas da cablagem da máquina rotulada FLUXíMETRO (flow meter) do conector de três pinos do fluxímetro.

Retire os dois fixadores de pressão da cablagem da máquina da flange inferior do suporte da válvula de secção.
Retire os quatro parafusos de cabeça flangeada (5/16 pol. x ¾ pol.) que prendem o suporte da válvula de secção da montagem da válvula e retire o suporte da válvula da máquina.
Note: Guarde os quatro parafusos de cabeça flangeada; já não precisa do suporte da válvula de secção.

Alinhe os furos no suporte do fluxímetro com os furos na montagem da válvula.

Monte o suporte do fluxímetro na montagem da válvula com os quatro parafusos de cabeça flangeada removidos anteriormente, e aperte os parafusos com 1978 a 2542 N·cm.
Monte o par de metades do grampo no suporte do fluxímetro com dois parafusos (¼ pol. x 4½ pol.) e duas porcas de bloqueio flangeadas (¼ pol.).

Aperte os parafusos e porcas com uma força de 1017 a 1243 N·cm.
Peças necessárias para este passo:
| Cablagem traseira | 1 |


Passe a secção da cablagem com 84 cm, a secção com 60 cm e a secção com 66 cm da cablagem traseira para o lado esquerdo da máquina, ao longo da cablagem da máquina.


Passe a secção da cablagem com 84 cm, a secção com 60 cm e a secção com 66 cm da cablagem traseira para a dianteira da máquina, ao longo do canal da estrutura esquerda.



Passe a secção da cablagem com 84 cm, a secção com 60 cm e a secção com 66 cm da cablagem traseira ao longo da cablagem da máquina, no exterior do conjunto do travão de estacionamento.

Passe a secção da cablagem com 84 cm, a secção com 60 cm e a secção com 66 cm da cablagem traseira através do tubo de suporte do para-choques.

Prenda a cablagem traseira à cablagem da máquina.
Na parte de trás da máquina, passe a secção da cablagem com 89 cm para a frente do coletor de elevação e para a direita do fluxímetro.

Passe a secção da cablagem com 102 cm para trás do coletor de elevação e para a direita.
Ligue o conector de três pinos da secção de cablagem traseira de 89 cm rotulado PULVERIZADOR ESQUERDO (left spray) ao conector de três tomadas da cablagem da máquina rotulado VáLVULA DO PULVERIZADOR ESQUERDO (left spray valve).

Ligue o conector de três pinos da cablagem traseira rotulado PULVERIZADOR CENTRAL (center spray) ao conector de três tomadas da cablagem da máquina rotulado VáLVULA DO PULVERIZADOR CENTRAL (center spray valve).
Ligue o conector de três pinos da cablagem traseira rotulado PULVERIZADOR DIREITO (right spray) ao conector de três tomadas da cablagem da máquina rotulado VáLVULA DO PULVERIZADOR DIREITO (right spray valve).
Insira o fixador de pressão da cablagem traseira no furo na flange do suporte do fluxímetro.
Ligue o conector de três tomadas da secção com 89 cm da cablagem traseira rotulado FLUXíMETRO (flow meter) no conector de três pinos do caudalímetro.

Ligue o conector de três pinos da secção de cablagem traseira de 89 cm rotulado VáLVULA PRINCIPAL (master valve) ao conector de três tomadas da cablagem da máquina rotulado VáLVULA DO PULVERIZADOR PRINCIPAL (master spray valve).

Ligue o conector de três pinos do atuador da válvula de pulverização principal no conector de três tomadas da secção com 89 cm da cablagem traseira rotulado VáLVULA PRINCIPAL (master valve).
Ligue o conector de quatro pinos do acionador da válvula de regulação principal no conector de quatro tomadas da secção com 89 cm da cablagem traseira rotulado VáLVULA DE REGULAçãO (rate valve).

Peças necessárias para este passo:
| Tubo reto com entalhe (1 x 2 pol.) | 1 |
| Braçadeira de tubos (¾ a 1½ pol.) | 3 |
| Tubo (3 x 5¾ pol.) | 1 |
| Coletor | 1 |
| Tubo (1 x 16 pol.) | 1 |
Monte o tubo (1 x 5¾ pol.) no tubo reto com entalhe (1 x 2 pol.) com uma braçadeira de tubos (¾ a 1½ pol.) e aperte a braçadeira à mão.

Monte a outra extremidade do tubo (1 x 5¾ pol.) na união estriada do coletor com uma braçadeira de tubos, e aperte a braçadeira à mão.
Monte o tubo (1 x 16 pol.) na outra união estriada do coletor com uma braçadeira de tubos e aperte a braçadeira à mão.
Monte o tubo reto com entalhe (1 x 2 pol.) na flange do caudalímetro com a junta de 38 mm e braçadeira de flange de 51 mm.

Aperte a braçadeira flangeada à mão.
Peças necessárias para este passo:
| Conjunto do tubo de desvio | 1 |
| Válvula de bloqueio | 1 |
Alinhe o conjunto dos tubos de desvio para o depósito.


Prenda a união estriada de 90° à união do anteparo do depósito com um fixador.
Capacidade do equipamento de elevação: 55 kg
Utilizando um equipamento de elevação com a capacidade de elevação indicada, levante a secção da rampa central e alinhe a secção da rampa com os furos nos suportes de apoio.

Monte a secção da rampa central aos suportes de apoio com os quatro parafusos de cabeça flangeada (⅜ x 1¼ pol.) e quatro porcas de bloqueio flangeadas (⅜ pol.)
Aperte as porcas e os parafusos com uma força de 37 a 45 N·m.
Solte o coletor de elevação do suporte de montagem da válvula.
Alinhe os orifícios no suporte de apoio para o coletor de elevação da secção com os orifícios na montagem do cilindro.

Monte o suporte de apoio ao suporte do cilindro com o parafuso de cabeça flangeada (5/16 x 1 pol.) e a porca de bloqueio flangeada (5/16 pol.)
Aperte os parafusos e as porcas com uma força de 1978 a 2542 N·cm.
Peças necessárias para este passo:
| Suporte das válvulas e conjunto das válvulas | 1 |
| Controlador de secção/regulação | 1 |
| Íman | 4 |
| Parafuso (n.º 8) | 4 |
| Anilha de cabeça chata | 4 |
| Porca de bloqueio (n.º 8) | 4 |
| Tampa (união de desconexão rápida) | 2 |
| Parafusos de cabeça flangeada (5/16 x ¾ pol.) | 8 |
| Porcas de bloqueio flangeadas (5/16 pol.) | 8 |
| Abraçadeira de tubos | 1 |
| Fixador de pressão (braçadeira de cabos) | 1 |
| Fixador de pressão (fixador do conector) | 3 |
Prenda os ímanes ao controlador com quatro parafusos (n.º 8), quatro anilhas e quatro porcas de bloqueio (n.º 8).

Coloque o conjunto do controlador no suporte das válvulas.

Monte as três válvulas de secção na flange da válvula 7 do conjunto das válvulas de pulverização com a braçadeira flangeada e a anilha.
Important: As válvulas de secção esquerda, central e direita estão identificadas no sistema de pulverização GeoLink da seguinte forma: válvula da secção esquerda — bico 8, válvula da secção central — bico 9 e válvula da secção direita — bico 10.

Prenda a tomada do acoplador de desconexão rápida da válvula de desvio da válvula do bico 8 ao acoplador de desconexão rápida da válvula de desvio da válvula do bico 7 com o fixador.

Monte a válvula do bico 10 no suporte das válvulas com os dois parafusos de cabeça flangeada (¼ x 3 pol.) e as duas porcas de bloqueio (¼ pol.) removidas anteriormente.


Aperte os parafusos de cabeça flangeada e as porcas de bloqueio com 10,17 a 12,43 N·m.
Capacidade do equipamento de elevação: 23 kg
Utilizando equipamento de elevação com a capacidade especificada, levante o suporte das válvulas e o conjunto da válvula da secção e alinhe-o por cima da secção da rampa central.

Alinhe os orifícios no suporte de montagem da válvula com os orifícios na estrutura da armação da secção da rampa central.

Monte o suporte da válvula na estrutura da armação com quatro parafusos (5/16 x ¾ pol.) e quatro porcas de bloqueio flangeadas (5/16 pol.).

Repita os passos 2 a 3 para o outro suporte da montagem da válvula na outra estrutura da armação.
Aperte os parafusos de cabeça flangeada e as porcas de bloqueio flangeadas com 1978 a 2542 N·cm.
Monte o tubo (1 x 16 pol.) por cima da união flangeada de 90° (1 pol.)

Fixe o tubo à união flangeada com uma braçadeira de tubos.
Instale a nova braçadeira de cabos/fixador de pressão no furo na parte superior da montagem da válvula.
Prenda a braçadeira de cabos/fixador de pressão em redor do tubo (1 x 16 pol.).
Remova os fixadores das tomadas das uniões de ligação rápida.
Monte a união de ligação rápida do tubo de desvio à união de desconexão rápida da válvula de desvio na válvula do bico 10.

Prenda as uniões de desconexão rápida do tubo de desvio e a válvula de desvio com o fixador.
Repita os passos 1 a 3 para as uniões de desconexão rápida na válvula da secção 1.
Monte os fixadores de pressão dos conectores elétricos dos acionadores das válvulas nos furos do suporte da válvula.

Ligue o conector de três tomadas da secção com 89 cm da cablagem traseira rotulado VáLVULA DO BICO 1 (nozzle valve 1) no conector de três pinos do atuador da válvula mais à esquerda (posição 1).
Note: As posições 1 a 10 do atuador da válvula estão dispostas da esquerda para a direita estando atrás da máquina.

Ligue o conector de três tomadas da secção com 89 cm da cablagem traseira rotulado VáLVULA DO BICO 2 (nozzle valve 2) no conector de três pinos do atuador da válvula (posição 2).
Ligue os restantes conectores de três tomadas da secção com 89 cm da cablagem traseira no conector de três pinos dos atuadores das válvulas.
Note: Certifique-se de que o conector de três tomadas está ligado à posição relacionada do atuador da válvula.
Insira o conector de três tomadas da secção com 61 cm da cablagem traseira rotulado CUNHA VERDE DO TRANSDUTOR DE PRESSãO (pressure transducer green wedge) no conector de três pinos do transdutor de pressão.

Insira o conector de 40 tomadas da secção com 102 cm da cablagem traseira no conector de 40 pinos do controlador de pulverização ASC 10.

Enrosque o parafuso recartilhado do conector de 40 tomadas no conector ASC 10 à mão.
Insira o conector de quatro tomadas da cablagem traseira rotulado PARA ASC 10 (to asc 10) no conector de quatro pinos do controlador de pulverização ASC 10.

Peças necessárias para este passo:
| Tubo hidráulico (¼ x 24¾ pol.) | 4 |
Alinhe a extremidade fixa do cilindro de elevação com o orifício de 16 mm no suporte do cilindro.
Note: Certifique-se de que as portas de extensão e retração do cilindro alinham.

Monte o cilindro no suporte do cilindro com o pino de articulação, o parafuso de cabeça flangeada e a porca flangeada.
Aperte o parafuso e porca com uma força de 19,78 a 25,42 N·m.
Repita os passos de 1 a 3 para o outro cilindro de elevação no outro lado da montagem do cilindro.
Monte sem apertar o novo tubo hidráulico (¼ x 24¾ pol.) entre a porta de extensão do cilindro de elevação da rampa esquerda e a porta C3 do coletor de elevação da rampa.

Monte sem apertar o novo tubo hidráulico (¼ x 24¾ pol.) entre a porta de retração do cilindro de elevação da rampa esquerda e a porta C4 do coletor de elevação da rampa.
Monte sem apertar o novo tubo hidráulico (¼ x 24¾ pol.) entre a porta de extensão do cilindro de elevação da rampa direita e a porta C1 do coletor de elevação da rampa.

Monte sem apertar o novo tubo hidráulico (¼ x 24¾ pol.) entre a porta de retração do cilindro de elevação da rampa direita e a porta C2 do coletor de elevação da rampa.
Aperte as uniões do tubo nas portas de extensão e retração dos cilindros de elevação com 21 a 26 N·m.
Aperte as porcas da articulação dos tubos no coletor de elevação da rampa com 24 a 30 N·m.
Peças necessárias para este passo:
| Casquilho com flange de nylon | 4 |
| Conjunto do tubo de alimentação de 188 cm | 1 |
| Conjunto do tubo de alimentação de 234 cm | 1 |
| Conjunto do tubo de alimentação de 279 cm | 1 |
Corte o tubo entre duas torretas.

Retire a porca de bloqueio flangeada (5/16 pol.) que prende a torreta ao suporte da torreta.
Repita os passos para as outras três torretas.
Note: Guarde a porca de bloqueio flangeada e as torretas.
Note: Descarte os tubos, os grampos e as uniões em T.
Repita os passos na outra secção da rampa exterior.
Retire os parafusos de aço inoxidável (n.º 12 x 1¼ pol.) que prendem as metades do grampo superior e as hastes do tubo estriado simples ou duplas (¾ pol.) ao corpo de cada bico do pulverizador e retire as hastes do tubo estriado.
Note: O parafuso com cabeça sextavada (5/16 x ¾ pol. — aço inoxidável) vai separar a metade do grampo superior quando abrir o grampo; guarde o parafuso para instalação.

Capacidade do equipamento de elevação: 46 kg
Utilizando equipamento de elevação com a capacidade especificada, levante a secção da rampa exterior.
Insira um casquilho de flange de nylon no orifício com 31,8 mm em cada lado do encaixe articulado.

Alinhe os casquilhos do encaixe articulado com os orifícios nas flanges do suporte da articulação na extremidade da secção da rampa central.

Monte o encaixe articulado no suporte da articulação com o pino de articulação, o parafuso flangeado (5/16 x 1 pol.) e a porca de bloqueio flangeada (5/16 pol.)
Aperte o parafuso e a porca com uma força de 1978 a 2542 N·cm.
Alinhe a extremidade da barra do cilindro de elevação com o orifício de 25 mm na protusão do encaixe articulado.

Prenda o cilindro de elevação ao encaixe articulado com o passador de forquilha e o perno de gancho.
Repita os passos 1 a 7 na secção da rampa exterior no outro lado da máquina.
Peças necessárias para este passo:
| Tubo de alimentação de 279 cm | 2 |
| Tubo de alimentação de 234 cm | 2 |
| Tubo de alimentação de 188 cm | 4 |
| Tubo de alimentação de 81 cm | 2 |
Note: Certifique-se de que a união estriada fica bem colocada no acoplador.
Prenda as uniões estriadas aos acopladores com um fixador.

Note: O conjunto do tubo de alimentação com 81 cm tem uma união em T com 2 secções de tubo e 2 hastes de tubo estriado simples.
| Secção da rampa | Válvula da secção | Bico | Tubo de alimentação |
|---|---|---|---|
| Esquerda | 1 | 1 | 279 cm |
| 2 | 2 | 234 cm | |
| 3 | 3 | 188 cm | |
| 4 | 4 | 188 cm | |
| Central | 5 | 5 e 6 | 81 cm |
| 6 | 7 e 8 | 81 cm | |
| Direita | 7 | 9 | 188 cm |
| 8 | 10 | 188 cm | |
| 9 | 11 | 234 cm | |
| 10 | 12 | 279 cm |

Alinhe o tubo de transferência na sela de uma torreta com o orifício na lateral da haste do tubo estriado simples (½ pol.).

Feche a metade do grampo superior em torno da haste do tubo estriado e prenda a metade do grampo e o corpo da torreta com o parafuso de aço inoxidável (n.º 12 x 1¼ pol.); aperte o parafuso de aço inoxidável com 14 a 18 N∙m.
Note: Certifique-se de que o parafuso de cabeça sextavada (5/16 x ¾ pol.) fica assente no entalhe na metade do grampo superior quando fechar o grampo.
Prenda as torretas aos suportes utilizando as porcas de bloqueio flangeadas removidas anteriormente (5/16 pol.)

Aperte a porca de bloqueio flangeada com 19,78 a 25,42 N·m.
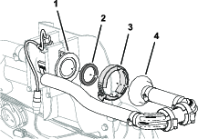
Alinhe a extremidade do tubo sensor de pressão (plástico) para o indicador de pressão no painel com o anel de tensão do acoplador do tubo.

Insira o tubo no anel de tensão até o tubo estar devidamente colocado.
Peças necessárias para este passo:
| Placa do recetor de navegação | 1 |
| Suporte do recetor | 1 |
| Parafuso (⅜ x 3¼ pol.) | 1 |
| Anilha de bloqueio (⅜ pol.) | 1 |
| Anilha (⅜ x 13/16 pol.) | 1 |
| Espaçador (⅜ x 1 pol.) | 1 |
| Porca de bloqueio flangeada (⅜ pol.) | 1 |
| Parafuso com cabeça flangeada (5/16 x ¾ pol.) | 1 |
| Porca flangeada (5/16 pol.) | 1 |
| Parafuso com cabeça flangeada (⅜ x 1½ pol.) | 2 |
| Espaçador (⅜ x 7/16 pol.) | 2 |
| Recetor de navegação | 1 |
| Suporte da antena do modem | 1 |
| Parafuso de cabeça sextavada (5 x 16 mm) | 3 |
| Anilha (5 mm) | 3 |
Prenda a placa do recetor ao suporte do recetor com um parafuso (⅜ x 3¼ pol.), uma anilha de bloqueio, uma anilha, um espaçador (⅜ x 1 pol.) e uma porca de bloqueio (⅜ pol.)

Monte o parafuso de cabeça flangeada (5/16 x ¾ pol.) e a porca de bloqueio flangeada (5/16 pol.) através do furo mais pequeno na montagem do recetor e ranhura na placa do recetor.

Aperte os parafusos e porcas de forma a que possa rodar a placa do recetor com uma ligeira resistência.
Monte o recetor e o espaçador (⅜ x 7/16 pol.) na barra de segurança com o parafuso de cabeça flangeada (⅜ x 1½ pol.)

Aperte os parafusos de forma a que possa rodar a placa do recetor com uma ligeira resistência.
Nivele a placa do recetor da esquerda para a direita

Aperte o parafuso de cabeça flangeada (5/16 x ¾ pol.) e a porca de bloqueio flangeada (5/16 pol.) com 19,78 a 25,42 N·m.
Nivele a placa do recetor da frente para trás.
Aperte o parafuso (⅜ x 3¼ pol.) e a porca de bloqueio flangeada (⅜ pol.) com 37 a 45 N·m.
Instale o recetor no suporte utilizando quatro parafusos (5 x 16 mm) e quatro anilhas.
Note: Certifique-se de que ambas as setas estão a apontar na direção da dianteira da máquina.

Aperte os três parafusos com uma força de 5,76 a 7,12 N·m.
Peças necessárias para este passo:
| Suporte da antena | 1 |
| Rebite | 2 |
| Íman | 2 |
| Antena do modem | 1 |
| Antena de ganho alto | 1 |
Instale o suporte da antena do modem na barra de segurança.

Limpe qualquer lubrificante ou óleo da superfície do suporte da antena.
Remova o suporte do revestimento adesivo de dupla face e coloque a antena na suporte.

Prenda a antena e a cablagem ao suporte com três braçadeiras de cabos.

Coloque a antena de ganho alto junto da outra antena, na barra de apoio.

Passe a cablagem da antena do modem pela direita, pela barra de segurança.


Passe a cablagem por baixo e para a frente.

Peças necessárias para este passo:
| Adaptador de fios | 1 |
| Cablagem elétrica e dos dados | 1 |
| Braçadeira de cabos | 8 |

Passe a secção com 302 cm da cablagem dos dados ao lado do tubo ROPS direito com o conector de 12 tomadas (cinzento) e o conector de 12 tomadas (preto) para cima na direção do recetor da navegação.
Ligue os dois conectores na face longa do conector de 12 tomadas da cablagem dos dados rotulado com as duas ranhuras do conector na cablagem do adaptador.

Ligue a cablagem do adaptador no recetor.
Passe a cablagem elétrica e dos dados pelo tubo direito da barra de proteção e cablagem da antena do modem na direção da travessa para o suporte do banco.

Prenda a cablagem à barra de proteção com braçadeira de cabos.
Note: Certifique-se de que a cablagem fica solta entre o conector de 12 tomadas e a braçadeira de cabos.
Passe a secção com 227 cm da cablagem elétrica e dos dados de navegação pela parte inferior da consola de controlo da máquina.

Passe a secção com 258 cm da cablagem elétrica e dos dados de navegação através do tubo de suporte do para-choques e na direção da bateria.
Coloque o suporte magnético da cablagem traseira na estrutura do tubo superior direito da máquina.

Ligue o conector de quatro pinos rotulado da cablagem dos dados no conector de quatro tomadas rotulado da cablagem traseira.
Peças necessárias para este passo:
| Suporte do visor | 1 |
| Parafuso de cabeça flangeada (6 x 12 mm) | 3 |
| Cavilha em U (5/16 pol.) | 2 |
| Parafuso de cabeça flangeada (5/16 x ¾ pol.) | 4 |
| Porca flangeada (5/16 pol.) | 8 |
| Suporte da rótula | 1 |
| Braço do visor | 1 |
Marque a posição do volante na válvula da direção com um pedaço de fita.

Retire a cobertura do volante.
Retire a porca (⅝ pol.) e a anilha (⅝ pol.) que prendem o volante à válvula da direção e retire o volante.
Alinhe a base do visor com a máquina, conforme mostrado.

Instale a montagem do visor na caixa da válvula da direção com os três parafusos de cabeça flangeada (6 x 12 mm).

Monte a placa da montagem do visor no tubo de suporte da estrutura da máquina com as duas cavilhas em U e as quatro porcas de bloqueio flangeadas (5/16 pol.).

Aperte os três parafusos de cabeça flangeada (6 x 12 mm) na válvula da direção com 9,72 a 11,98 N∙m. No tubo de suporte, aperte as porcas de bloqueio flangeadas com 19,78 a 25,42 N∙m.
Alinhe a marca da fita no volante com a marca na caixa da válvula da direção.

Monte o volante no eixo da válvula da direção com a anilha (⅝ pol.) e a porca (⅝ pol.) removidas anteriormente.
Aperte a porca com uma força de 206 a 254 N·m.
Instale a cobertura.
Monte o suporte da rótula no suporte do monitor com os quatro parafusos de cabeça flangeada (5/16 x ¾ pol.) e as quatro porcas de bloqueio flangeadas (5/16 pol.)

Aperte os parafusos e as porcas com uma força de 1978 a 2542 N·cm.
Monte a união da rótula no visor e o suporte da rótula na máquina no braço comprido do visor.

Ajuste o visor de forma a que seja visível a partir da posição do operador e aperte o manípulo do braço do visor à mão.
Passe a secção com 227 cm da cablagem dos dados de navegação e elétrica (a secção com o conector de 26 tomadas) por cima ao longo do tubo de apoio na direção do visor.
Ligue a cablagem dos dados de navegação ao visor.

Remova a resistência de terminação do conector de 6 tomadas rotulado CAN 2 TERMINATOR do cabo dos dados conforme mostrado.
Note: Já não precisa da resistência de terminação.

Peças necessárias para este passo:
| Cablagem dos dados do modem — 300 cm | 1 |
Aperte o conector da cablagem do modem no visor.

Passe a cablagem dos dados do modem pela cablagem dos dados para o visor.
Passe a cablagem dos dados do modem por baixo do tubo de suporte do para-choques da máquina.
Passe a cablagem dos dados do modem através da traseira do relé e para baixo.

Alinhe o conector de quatro pinos rotulado da cablagem dos dados do modem junto dos quatro conectores para a cablagem da antena do modem conforme mostrado.

Na estrutura do tubo superior direito, junte as cablagens elétrica e dos dados de navegação, e a cablagem da secção CAN 2 ASC 10 BUS à cablagem do kit do pulverizador com duas braçadeiras de cabos.
Junte a cablagem da antena do modem e prenda-a ao conjunto da cablagem do kit do pulverizador com duas braçadeiras de cabos.

Prenda a cablagem elétrica e dos dados de navegação ao tubo do visor com uma braçadeira de cabos.

Prenda a cablagem dos dados do modem à cablagem elétrica e dos dados de navegação com uma braçadeira de cabos.
Peças necessárias para este passo:
| Cablagem elétrica do modem | 1 |
Alinhe a cablagem elétrica do modem na máquina.

Passe os terminais de anel da cablagem elétrica do modem rotulado (battery) e (ground) na direção da bateria.

Passe o conector de quatro pinos rotulado e o conector de 18 tomadas rotulado da cablagem elétrica do modem por baixo da caixa de fusíveis da máquina.
Na dianteira da máquina, passe o conector de quatro pinos rotulado e o conector de 18 tomadas rotulado da cablagem elétrica do modem para a máquina, conforme mostrado.

Ligue o terminal da cablagem do kit rotulado no conector da tomada para alimentação opcional da caixa de fusíveis).
Note: Se a caixa de fusíveis da sua máquina não tiver um circuito de alimentação opcional, instale a caixa de fusíveis de opções adicionais; consulte o seu distribuidor autorizado da Toro.
Junto da caixa de fusíveis, junte a cablagem elétrica do modem no conector de nove pinos rotulado e prenda a cablagem com duas braçadeira de cabos, conforme mostrado.

Junte a cablagem elétrica do modem no cabo negativo da bateria, e prenda o conjunto ao cabo da bateria com uma braçadeira de cabos.
Insira o fusível (10 A) na tomada da caixa de fusíveis (Figura 145) para o circuito de alimentação opcional que utilizou no passo 5.

Peças necessárias para este passo:
| Modem CL-55 | 1 |
| Suporte do modem | 1 |
| Parafuso (n.º 10-24 x 1⅜ pol.) | 2 |
| Porca de bloqueio (n.º 10-24 pol.) | 2 |
| Íman | 2 |
| Rebite | 2 |
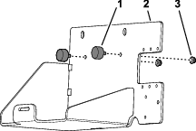
Remova o fixador de pressão que prende a cablagem da máquina ao suporte da barra de apoio.

Prenda o suporte ao modem utilizando dois parafusos (n.º 10-24 x 1⅜ pol.) e duas porcas (n.º 10-24).

Prenda os ímanes ao suporte do modem utilizando os rebites.

Coloque o suporte do modem por baixa do suporte da barra de apoio e por trás da flange da estrutura da máquina.

Insira a o fixador de pressão da cablagem da máquina nos furos do suporte da barra de apoio.

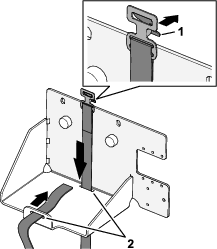
Ligue o conector coaxial da cablagem da antena do modem rotulada na porta coaxial do modem CL-55 rotulado com WIFI/BT, e aperte o conector coaxial.

Ligue o conector “push in” coaxial azul à cablagem da antena do modem rotulado no conector do modem CL-55 rotulado com , até os conectores encaixarem bem.
Ligue o conector “push in” coaxial roxo à cablagem da antena do modem rotulado no conector do modem CL-55 identificado com , até os conectores encaixarem bem.
Ligue o conector “push in” coaxial vermelho à cablagem da antena do modem rotulado no conector do modem CL-55 identificado com , até os conectores encaixarem bem.
Ligue o conector de quatro pinos da cablagem dos dados do modem rotulado no conector de quatro tomadas (não rotulado) do modem CL-55, e aperte a porca serrilhada do conector de quatro pinos.

Ligue o conector de 18 tomadas da cablagem elétrica do modem rotulado no conector de 18 pinos do modem CL-55.
Na parte interior da consola de controlo da máquina, remova e guarde a resistência de terminação passiva do conector de três pinos não identificado da cablagem da máquina.


Peças necessárias para este passo:
| Cablagem do barramento ISO-CAN — 302 cm | 1 |
Na parte frontal da consola de controlo da máquina, passe o conector identificado da cablagem do barramento ISO-CAN para a parte inferior do visor.

Remova o tampão do conector de quatro tomadas rotulado da cablagem elétrica e dos dados.

Ligue o conector de quatro pinos rotulado da cablagem do barramento ISO-CAN para o conector de 4 tomadas rotulado da cablagem elétrica e dos dados.

Passe os conectores rotulados e da cablagem do barramento ISO-CAN na direção da caixa de fusíveis.


Na caixa de fusíveis, remova o tampão do conector de três tomadas rotulado da cablagem da máquina.

Ligue o conector de três pinos rotulado da cablagem do barramento ISO-CAN no conector de três tomadas rotulado da cablagem da máquina.
Important: Não ligue os conectores da cablagem rotulados e da cablagem traseira.
Junte a cablagem do barramento ISO-CAN e prenda-a à cablagem elétrica e dos dados de navegação com uma braçadeira de cabos.

Prenda a cablagem do barramento ISO-CAN e a cablagem elétrica e dos dados de navegação ao tubo da estrutura direito com uma braçadeira de cabos, conforme mostrado.
Peças necessárias para este passo:
| Cablagem do adaptador — 13 cm | 1 |
No recetor de satélite, remova e descarte o terminador do barramento ISO para o conector de 6 tomadas da cablagem GeoLink.

Ligue o conector de seis pinos da cablagem do adaptador — 13 cm no conector de 6 pinos da cablagem GeoLink.
Ligue a resistência no conector de três tomadas da cablagem do adaptador.
Prenda a cablagem do adaptador à cablagem GeoLink com uma braçadeira de cabos.
Desligue o conector de duas tomadas da cablagem da máquina rotulado do conector de dois pinos da embraiagem da bomba.

Ligue o conector de dois pinos da secção de cablagem do kit do pulverizador (84 cm) ao conector de duas tomadas da cablagem da máquina rotulado .

Ligue o conector de duas tomadas da cablagem do kit pulverizador ao conector de dois pinos da embraiagem da bomba.
Passe a secção de cablagem de 84 cm contra o motor e a bomba do pulverizador de forma a que a cablagem fique afastada da correia do alternador.

Peças necessárias para este passo:
| Suporte da bateria | 1 |
| Amortecedor | 1 |
| Porca de bloqueio flangeada (¼ pol.) | 2 |
| Correia | 1 |
| Bateria (650 A) | 1 |
| Suporte do alternador | 1 |
| Polia da transmissão 279 mm | 1 |
| Parafuso (¼ x 2¼ pol.) | 4 |
| Alternador (60 A) | 1 |
| Parafuso com cabeça flangeada (8 x 25 mm) | 1 |
| Parafuso com cabeça flangeada (⅜ x 1½ pol.) | 1 |
| Correia em V | 1 |
Retire as duas porcas de bloqueio flangeadas e a barra de fixação dos dois parafusos em J que prendem a bateria ao suporte da bateria da máquina.

Retire e descarte os dois parafusos em J e o tabuleiro da bateria do suporte da bateria.

Retire a bateria da máquina.
Note: Já não precisa das duas porcas flangeadas, da barra de fixação e da bateria (300 A).
Retire e guarde os três parafusos (10-24 x 3/4 pol.) e as três porcas (10-24) que prendem as caixas de fusíveis ao suporte da bateria.

Retire e guarde os dois parafusos de cabeça flangeada (⅜ x ¾ pol.) que prendem o suporte da bateria ao tubo de suporte do para-choques da máquina.
Retire e guarde os dois parafusos (10-24 x 2/4 pol.), as duas porcas de bloqueio (10-24), e o clipe de apoio da cablagem que prendem o bloco de ligação à terra ao suporte da bateria.
Note: Descarte o clipe de apoio da cablagem.

Retire e descarte o suporte da bateria da máquina.

Monte os dois amortecedores no suporte da bateria com duas porcas flangeadas (¼ pol.)

Monte a correia através das duas ranhuras do suporte da bateria.

Alinhe o novo suporte da bateria com o tubo de suporte do para-choques da máquina e as caixas de fusíveis.

Monte o suporte da bateria ao tubo de suporte do para-choques com os dois parafusos de cabeça flangeada (⅜ x ¾ pol.) removidos anteriormente.

Aperte os parafusos de cabeça flangeada com uma força de 37 a 45 N·m.
Prenda o bloco de ligação à terra e o suporte da bateria com os dois parafusos (10-24 x ¾ pol.) e as duas porcas de bloqueio (10-24) removidos anteriormente e prenda o clipe de apoio da cablagem à extremidade do suporte.

Prenda a caixa de fusíveis ao suporte da bateria com os três parafusos (10-24 x ¾ pol.) e as três porcas (10-24 removidos anteriormente.

Monte a bateria (650 A) no suporte da bateria.

Passe a tira da correia da bateria através da fivela e aperte a correia até a bateria ficar presa.
Na cabeça da bomba, desaperte os dois parafusos para disponibilizar uma folga de 7 a 10 mm entre a cabeça dos parafusos e a bomba.
Note: Não necessita de retirar os parafusos da bomba do pulverizador.

Alinhe o suporte do alternador entre os parafusos e a cabeça da bomba.

Aperte os parafusos com uma força de 61 a 75 N.
Desaperte a porca do eixo da polia intermédia.
Note: Certifique-se de que não existe tensão na correia.

Rode o parafuso de tensionamento da correia para remover a tensão da correia da bomba do pulverizador.
Retire os quatro parafusos (¼ x 1 pol.) e as quatro anilhas de bloqueio (¼ pol.) que prendem a polia à bomba do pulverizador.
Important: Não retire a polia.
Note: Guarde a anilha de bloqueio; não precisa dos parafusos.

Alinhe os orifícios na polia do alternador (kit) com os orifícios na polia da bomba do pulverizador.

Monte a polia do alternador na polia da bomba do pulverizador e bomba do pulverizador com os quatro parafusos (¼ pol. x 2¼ pol.) e quatro porcas de bloqueio (¼ pol.).
Aperte os parafusos com uma força de 1017 a 1243 N·m.
Rode o parafuso de tensionamento da correia para tensionar a correia até que meça 9,5 mm de deflexão da correia quando aplica 4,5 kg a meio entre o motor e as rodas dentadas da bomba do pulverizador.

Aperte a porca do eixo da polia intermédia com uma força de 37 a 44 N·m.
Monte o alternador (60 A) na saliência roscada do suporte do alternador com o parafuso de cabeça flangeada (⅜ x 1½ pol.).

Instale a flange roscada do alternador na flange ranhurada do suporte do alternador com o parafuso de cabeça flangeada (8 x 25 mm).
Monte a cobertura da correia em V na polia da transmissão de 279 mm e a polia do alternador.

Rode o alternador para aumentar a tensão na correia até medir uma deflexão da correia de 9,5 mm quando aplica 4,5 kg a meio entre a polia do alternador e a polia da transmissão de 279 mm.

Aperte o parafuso de cabeça flangeada (8 x 25 mm) com 23 a 29 N·m.
Aperte o parafuso de cabeça flangeada (⅜ x 1½ pol.) com uma força de 37 a 45 N·m.
Peças necessárias para este passo:
| Fio do alternador (vermelho — grau 6) | 1 |
| Relé | 1 |
| Fixador de pressão | 1 |
| Fusível (15 A) | 1 |
Insira o conector de duas tomadas na extremidade do fio cor de rosa da cablagem de 57 cm no conector de dois pinos do alternador (50 A).

Passe o fio do sensor cor de rosa afastando-o das correias do alternador e prenda o fio com uma braçadeira de cabos.
Retire a porca do terminal do alternador (50 A).

Monte a extremidade do cabo do alternador (vermelho — grau 6) com a cobertura de isolamento no terminal do alternador (50 A) com a porca.
Passe a outra extremidade do cabo do alternador na direção dos terminais, afastada da polia e da correia do alternador.
Aperte a porca com uma força de 47 a 57 N·m.
Deslize a cobertura de isolamento sobre o terminal do alternador.
Ligue o conector de cinco pinos do relé no conector de cinco tomadas da cablagem rotulado ASC 10 ENABLE RELAY.

Alinhe o orifício na patilha de montagem do relé com o orifício no tubo de suporte do para-choques e prenda o relé no tubo com um fixador de pressão.
Prepare um multímetro para realizar um teste de continuidade.
Na caixa de fusíveis 3 da máquina, insira a sonda do multímetro no contacto 4 (na coluna direita) da tomada do fusível 2.

Na parte frontal dos blocos de fusíveis, utilize a outra sonda do multímetro para identificar o conector de lâmina na extremidade do fio de grau 10 que está ligado à tomada do fusível 2 — contacto 4.

Utilize um pedaço de fita para marcar o conector e fio que identificou no passo anterior.
Ligue o conector de lâmina que marcou no passo anterior no conector de tomada na extremidade do fio cor de rosa de 51 mm da cablagem.

Insira o fusível (15 A) na tomada do fusível da caixa de fusíveis 2 até que o fusível esteja totalmente encaixado.

Peças necessárias para este passo:
| Grampo de ligação rápida (manípulo vermelho) | 1 |
| Grampo de ligação rápida (manípulo preto) | 1 |
Retire as porcas sextavadas e as anilhas dos grampos de ligação rápida do manípulo.
Abra o manípulo do trinco do grampo de ligação rápida com o manípulo preto.

Monte o grampo de ligação rápida no borne negativo da bateria, com o poste roscado do grampo alinhado na direção do centro da bateria.
Feche a pega do trinco do grampo de ligação rápida.
Note: Se necessitar de ajustar a força de aperto do grampo de ligação rápida, abra o manípulo, rode a porca serrilhada para aumentar ou diminuir a força de aperto e feche o manípulo do grampo.
Repita os passos para o grampo do manípulo vermelho no borne positivo da bateria.
A ligação incorreta dos cabos da bateria poderá danificar o veículo e os cabos, produzindo faíscas. As faíscas podem provocar uma explosão dos gases da bateria, resultando em acidentes pessoais.
Desligue sempre o cabo negativo (preto) antes de desligar o cabo positivo (vermelho).
Ligue sempre o cabo positivo (vermelho) antes de ligar o cabo negativo (preto).
Os terminais da bateria e as ferramentas de metal poderão provocar curto-circuitos noutros componentes do veículo, produzindo faíscas. As faíscas podem provocar uma explosão dos gases da bateria, resultando em acidentes pessoais.
Quando retirar ou montar a bateria, não toque com os terminais da bateria noutras peças metálicas do veículo.
Deverá evitar quaisquer curto-circuitos entre os terminais da bateria e as peças metálicas do veículo.
Deslize a cobertura de isolamento do cabo positivo da bateria para o arrancador.

Monte os seguintes terminais do fio e cabo nos postes roscados do terminal positivo da bateria na ordem seguinte:
Important: Certifique-se de que o terminal do cabo da bateria (positivo) para o arrancador do motor está posicionado na parte superior da pilha de terminais no poste roscado.
Terminal de anel — secção de 165 cm da cablagem elétrica do modem (rotulado
Terminal do cabo da bateria (positivo) — para o alternador (50 A)
Terminal de anel — secção com 258 cm da cablagem elétrica e dos dados de navegação (rotulado )
Terminal de anel — secção com 21,6 cm da cablagem do kit (rotulado
Terminal de anel — secção com 24 cm da cablagem do pulverizador (não rotulado)
Terminal do cabo da bateria (positivo) — para o arrancador do motor

Monte a porca hexagonal (¼ pol.) e a anilha (¼ pol.) no poste roscado e aperte a porca com 10,17 e 12,34 N·m.
Alinhe a cobertura de isolamento do cabo positivo da bateria para o arrancador sobre o poste roscado.
Monte os seguintes terminais do fio e cabo nos postes roscados do terminal negativo da bateria na ordem seguinte:
Important: Certifique-se de que o terminal do cabo da bateria (negativo) para a ligação à terra do chassis do motor está posicionado na parte superior da pilha de terminais no poste roscado.
Terminal de anel — secção com 258 cm da cablagem elétrica e dos dados de navegação (não rotulado — cablagem de isolamento preta)
Terminal de anel — secção de 165 cm da cablagem elétrica do modem (rotulado )
Terminal do cabo da bateria (negativo) — para o motor e ligação à terra do chassis

Reúna o comprimento em excesso da cablagem de dados contra o tubo da estrutura superior direita.

Alinhe a cablagem de dados com o tubo de suporte do para-choques e prenda a cablagem ao tubo com uma braçadeira de cabos.
Alinhe o conjunto da cablagem de dados com o tubo da estrutura superior direita e prenda o conjunto da cablagem à estrutura com uma braçadeira de cabos.
Certifique-se de que existe folga entre as polias e correias e a cablagem de dados, cablagem da bateria, cablagem do kit e cabos da bateria.
Prenda a cablagem e cabos com braçadeiras, como necessário, para criar folga afastando-os das correias e polias.
Peças necessárias para este passo:
| Tampão do interruptor | 1 |
Retire os quatro parafusos de cabeça flangeada (¼ x ½ pol.) que prendem o painel dos três interruptores à consola de controlo.

Aperte as abas de bloqueio do interruptor de controlo de regulação juntando-as e prima o interruptor para fora do painel de três interruptores.

Desligue o conector de oito tomadas da cablagem da máquina rotulado interruptor de regulação (rate switch) do conector de oito pinos do interruptor.
Note: Já não precisa do interruptor de regulação que retirou da máquina.
Passe a secção da cablagem dianteira para o interruptor de regulação através da abertura no painel de três interruptores e prenda a secção da cablagem numa secção de cablagem adjacente com uma braçadeira de cabos.
Monte o painel de três interruptores na consola de controlo com os quatro parafusos de cabeça flangeada (¼ x ½ pol.) que retirou no passo 1.
Alinhe o tampão do interruptor com a abertura no painel de três interruptores de onde retirou o interruptor de regulação.
Insira o tampão do interruptor no painel de três interruptores até o tampão encaixar e ficar bem preso no painel.
Peças necessárias para este passo:
| Fixador de pressão | 13 |
Alinhe os furos do capot no capot com os furos no painel de instrumentos e estrutura da máquina.

Prenda o capot ao painel de instrumentos e estrutura com nove fixadores de pressão.
Ligue os dois conectores elétricos (duas tomadas) da cablagem da máquina dos conectores de dois pinos dos faróis esquerdo e direito.

Alinhe o resguardo do guarda-lamas interior com os tubos da estrutura esquerdo superior e esquerdo inferior.

Prenda o resguardo do guarda-lamas interior nos tubos da estrutura com os seis fixadores de pressão.
Alinhe os orifícios no guarda-lamas com os orifícios na estrutura da máquina.

Aperte, sem apertar totalmente, o guarda-lamas na estrutura com os três parafusos (5/16 x 1 pol.) e três anilhas (5/16 pol.) removidos anteriormente.
Prenda o guarda-lamas no canal da estrutura com os dois fixadores de pressão.

Aperte o parafuso (5/16 x 1 pol.) com uma força de 19,78 a 25,42 N·m.
Repita os passos 1 a 6 para o resguardo do guarda-lamas interior e guarda-lamas no outro lado da máquina.
Alinhe o resguardo do guarda-lamas interior com os tubos da estrutura direito superior e direito inferior.


Prenda o resguardo do guarda-lamas interior nos tubos da estrutura com os seis fixadores de pressão e cinco anilhas (9/16 x ½ pol.)
Alinhe o guarda-lamas dianteiro direito com a máquina e alinhe os furos no guarda-lamas com os furos na estrutura.

Prenda o guarda-lamas dianteiro direito à porca de gaiola do suporte da travessa com um parafuso (5/16 x 1 pol.) e uma anilha (5/16).
Prenda o guarda-lamas dianteiro direito ao canal de montagem da barra de segurança com dois fixadores de pressão.

Alinhe o furo no guarda-lamas dianteiro direito com o furo no piso da plataforma e prenda o guarda-lamas ao piso com um parafuso (5/16 x 1 pol.) e uma anilha (5/16).

Alinhe o furo na parte inferior da consola com o furo no tubo de suporte do para-choques e o furo na extremidade da cobertura da consola com o tubo na travessa.

Prenda as coberturas aos tubos com dois parafusos (5/16 x 1 pol.) e duas anilhas (5/16).
Alinhe os trincos do painel de acesso ao motor com os casquilhos nos suportes do painel na barra de segurança.

Monte o painel nos suportes.
Rode os trincos dos manípulos para baixo para prender o painel aos suportes.
Alinhe o banco e a placa do banco ao chassis da máquina.

Alinhe os orifícios nos encaixes articulados do painel do banco com os orifícios no suporte do chassis.


Monte o painel do banco nos suportes do chassis com dois pinos articulados.
Prenda os pinos articulados na máquina com dois pernos de gancho.
Monte a barra de apoio no suporte do banco com a anilha e perno de gancho.

Ligue o conector de duas tomadas da cablagem da máquina no conector do interruptor do banco até que os conectores encaixem em segurança.

Rode o banco ligeiramente para a frente, retire a barra de apoio do entalhe, rode o banco para baixo até que o banco encaixe em segurança.
Insira a chave na ignição e rode-a para a posição LIGAR.
O ecrã de inicialização surge no ecrã do InfoCenter e a luz do indicador acende por breves momentos.
Note: Não ligue o motor.

No ecrã inicial, prima o botão central no InfoCenter para aceder ao ecrã de navegação.

Prima o botão central do InfoCenter para aceder ao menu principal.
No ecrã MENU PRINCIPAL, prima o botão central para navegar até à opção de DEFINIçõES e prima o botão direito para selecionar a opção.

No ecrã de DEFINIçõES, prima o botão central para navegar até à opção de DEFINIçõES PROTEGIDAS e prima o botão direito para selecionar a opção.

Introduza o código PIN da seguinte forma:
Prima o botão central como necessário para introduzir o número do código PIN da posição esquerda.

Prima o botão direito para navegar para a próxima posição do número do código PIN.
Repita os passos 1 e 2 para as outras três posições do número do código PIN.
Quando todos os números do código PIN tiverem sido introduzidos, prima o botão direito e, em seguida, prima o botão central para introduzir o código PIN.
A luz do indicador acende por breves momentos.

Prima o botão central para navegar até à opção GEOLINK e prima o botão direito para definir a opção.

É exibido o ecrã de confirmação GeoLink no InfoCenter.

Rode a ignição para a posição DESLIGAR e, em seguida, para a posição LIGAR.
O ecrã de inicialização GEOLINK surge por breves momentos quando a chave é rodada para a posição LIGAR.

Rode a chave de ignição para a posição FUNCIONAMENTO (gasolina) ou PRé-AQUECIMENTO/ARRANQUE (gasóleo).
Verifique se os seguintes componentes indicam que cada um recebem alimentação:
Consola de controlo — exibe gráficos e texto

Recetor de satélite — o indicador PWR acende

Modem — os indicadores LED acedem

Controlador automático de secção — o indicador STATUS (estado) acende

Rode a chave da ignição para a posição DESLIGAR.
Verifique se a alimentação está desligada nos seguintes componentes:
Consola de controlo
Recetor de satélite
Controlador automático de secções
Consulte o Guia do software do seu sistema GeoLink.
Conclua os procedimentos seguintes:
Verificação da versão do software.
Seleção das unidades de medida.
Criação de um campo.
Criação de um novo produto e uma taxa de aplicação.
Criação de uma tarefa de pulverização.
Equilíbrio das válvulas de secçãoeste tópico não está no 5800. verificar SG
Verificação do sistema de pulverização.
Equilíbrio da válvula de distribuição da agitação.
Calibração do medidor de fluxo.
Verificação do estado da rede celular.
Calibração do compasso nas instalações do representante.
Limpeza da NVRAM nas instalações do cliente.
Calibração do compasso nas instalações do cliente.