Întreţinere
Note: Determinați partea stângă și dreaptă a mașinii din poziția de operare normală.
Program(e) de întreţinere recomandat(e)
| Interval de întreţinere şi service | Procedură de întreţinere |
|---|---|
| După primele 8 ore |
|
| După fiecare folosinţă |
|
| La intervale de 25 de ore |
|
| La intervale de 100 de ore |
|
Atenţie
Dacă lăsați cheia în comutatorul de contact, cineva poate porni în mod accidental mașina și vă poate răni pe dumneavoastră sau alți trecători.
Scoateți cheia și deconectați cablurile de la bujie înainte de a efectua orice lucrare de întreținere. Amplasați cablul deoparte, astfel încât să nu intre în contact accidental cu bujia.
Atenţie
Motoarele se pot încălzi atunci când funcționează. Contactul cu suprafețele fierbinți poate cauza arsuri grave.
Lăsați să se răcească motorul, în special toba de eșapament, înainte de a le atinge.
Atenţie
Resturile, cum ar fi frunzele, iarba sau tufișurile pot lua foc. Un incendiu în zona motorului poate provoca vătămări corporale și daune materiale.
-
Aveți grijă să nu se acumuleze resturi în zona motorului și a tobei de eșapament.
-
Aveți grijă când deschideți capacul sistemului de colectare pentru a împiedica resturile să cadă în zona motorului și a tobei de eșapament.
-
Înainte de depozitare, lăsaţi mașina să se răcească.
Pregătirea pentru întreţinere
Efectuați următorii pași înainte de a efectua lucrările de întreținere a mașinii:
-
Parcați maşina pe o suprafaţă uniformă.
-
Decuplați priza de putere și deplasați manetele de control al mișcării în poziția NEUTRă-BLOCARE.
-
Opriți mașina și scoateți cheia.
-
Curățați mașina de tuns iarba de orice resturi de pe punte sau partea din spate, pentru a ușura întreținerea.
Curățarea ecranului capotei
| Interval de întreţinere şi service | Procedură de întreţinere |
|---|---|
| După fiecare folosinţă |
|
-
Deschideți capota sistemului de colectare.
-
Curățați reziduurile de pe ecran.
-
Închideți capota sistemului de colectare.
Curățarea sistemului de colectare și a sacilor
| Interval de întreţinere şi service | Procedură de întreţinere |
|---|---|
| După fiecare folosinţă |
|
-
Spălați interiorul și exteriorul capotei sistemului de colectare, sacii, tubul și partea inferioară a mașinii de tuns iarba.
Note: Utilizați un detergent delicat pentru autovehicule pentru a îndepărta murdăria.
-
Asigurați-vă că îndepărtați iarba colmatată de pe toate piesele.
-
După spălarea tuturor pieselor, lăsați-le să se usuce bine.
Note: Cu toate piesele montate, porniți și rulați mașina timp de un minut pentru a ajuta la uscare.
Verificarea curelei suflantei
| Interval de întreţinere şi service | Procedură de întreţinere |
|---|---|
| După primele 8 ore |
|
| La intervale de 25 de ore |
|
Verificați curelele pentru a descoperi eventuale fisuri, margini uzate, urme de arsuri sau orice alte deteriorări. Înlocuiţi curelele deteriorate.
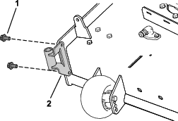
Înlocuirea curelei suflantei
-
Îndepărtați capacul din plastic al curelei.
-
Trageți în spate fulia de ghidare cu arc pentru a detensiona cureaua (Figura 36).

-
Scoateți cureaua existentă a sistemului de colectare de pe fulia punții mașinii de tuns iarba.
-
Îndepărtați suflanta de la puntea mașinii de tuns iarba.
-
Scoateți cureaua existentă a sistemului de colectare de pe fuliile suflantei.
-
Montați cureaua nouă în jurul fuliilor suflantei (Figura 36).
-
Montați suflanta pe suportul său.
-
Montați noua curea în jurul fuliei punții mașinii de tuns iarba (Figura 36).
-
Trageți în spate fulia de ghidare cu arc și montați cureaua pe aceasta (Figura 36).
Verificarea sistemului de colectare
| Interval de întreţinere şi service | Procedură de întreţinere |
|---|---|
| După primele 8 ore |
|
| La intervale de 100 de ore |
|
-
Verificați tubul superior, tubul inferior, capota sistemului de colectare și ansamblul suflantei.
Note: Înlocuiți aceste piese dacă sunt fisurate sau rupte.
-
Verificați sacii, cadrul sistemului de colectare și ecranul.
Note: Înlocuiți orice piesă care este fisurată sau ruptă.
-
Strângeți toate piulițele și șuruburile.
Verificarea lamelor mașinii de tuns iarba
-
Verificați lamele mașinii de tuns iarba în mod regulat și ori de câte ori o lamă lovește un obiect străin.
-
Dacă lamele sunt uzate sau deteriorate, montați lame noi; consultați Manualul operatorului mașinii pentru instrucțiuni cu privire la întreținerea completă a lamelor.





































