Održavanje
Note: Odredite lijevu i desnu stranu uređaja s uobičajenog vozačevog položaja.
Preporučeni raspored održavanja
| Interval servisa održavanja | Postupak održavanja |
|---|---|
| Nakon prvih 8 sati |
|
| Nakon svake uporabe |
|
| Svakih 25 sati |
|
| Svakih 100 sati |
|
Upozorenje
Ako ostavite ključ u prekidaču za paljenje, netko bi mogao slučajno pokrenuti uređaj i nanijeti vama ili prolaznicima teške ozljede.
Prije bilo kakvog održavanja izvadite ključ i odspojite svjećice. Ostavite žicu po strani kako ne bi slučajno dodirnula svjećicu.
Upozorenje
Motori mogu postati vrući pri radu. Dodirivanje vrućih površina može uzrokovati teške opekline.
Pustite da se motori, osobito prigušivač, ohlade prije nego što ih dodirnete.
Upozorenje
Otpad kao što su lišće, trava ili nisko raslinje može se zapaliti. Vatra u području motora može uzrokovati tjelesne ozljede i oštećenja imovine.
-
Redovito čistite područje motora i prigušivača kako biste spriječili nakupljanje otpada.
-
Pažljivo otvarajte poklopac hvatača trave kako biste spriječili padanje otpada na motor i prigušivač.
-
Pričekajte da se uređaj ohladi prije skladištenja.
Priprema za održavanje
Prije održavanja uređaja slijedite sljedeće korake:
-
Parkirajte uređaj na ravnoj površini.
-
Isključite PTO uređaj i pomaknite upravljačke poluge u NEUTRALNI ZAKLJUčANI položaj.
-
Isključite uređaj i izvadite ključ.
-
Očistite svu prljavštinu s kosišta ili stražnjeg dijela kosilice kako biste olakšali održavanje.
Čišćenje filtra poklopca
| Interval servisa održavanja | Postupak održavanja |
|---|---|
| Nakon svake uporabe |
|
-
Otvorite poklopac hvatača trave.
-
Očistite prljavštinu s filtra.
-
Zatvorite poklopac hvatača trave.
Čišćenje hvatača trave i vreća
| Interval servisa održavanja | Postupak održavanja |
|---|---|
| Nakon svake uporabe |
|
-
Operite unutrašnjost i vanjski dio poklopca hvatača trave, vreća, cijevi, i donju stranu kosilice.
Note: Za uklanjanje prljavštine koristite blagi deterdžent namijenjen za automobile.
-
Uklonite nakupine trave iz svih dijelova.
-
Nakon pranja svih dijelova, ostavite ih da se temeljito osuše.
Note: Nakon što sve dijelove postavite, uključite uređaj i ostavite ga da radi minutu kako bi pomogao u sušenju.
Provjera remena puhača
| Interval servisa održavanja | Postupak održavanja |
|---|---|
| Nakon prvih 8 sati |
|
| Svakih 25 sati |
|
Provjerite ima li na remenima pukotina, izlizanih rubova, tragova gorenja ili bilo kakvih drugih oštećenja. Zamijenite oštećene remene.
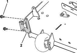
Zamjena remena puhača
-
Uklonite plastični poklopac remena.
-
Povucite opružnu remenicu praznog hoda kako biste otpustili napetost remena (Slika 36).

-
Uklonite postojeći remen hvatača trave s remenice kosišta.
-
Uklonite puhač s kosišta.
-
Uklonite postojeći remen hvatača trave s remenica puhača.
-
Postavite novi remen oko remenica puhača (Slika 36).
-
Postavite puhač na nosač puhača.
-
Postavite novi remen oko remenice kosišta (Slika 36).
-
Povucite opružnu remenicu praznog hoda i postavite remen na opružnu remenicu praznog hoda (Slika 36).
Pregled hvatača trave
| Interval servisa održavanja | Postupak održavanja |
|---|---|
| Nakon prvih 8 sati |
|
| Svakih 100 sati |
|
-
Provjerite gornju cijev, donju cijev, poklopac hvatača trave i sklop puhača.
Note: Zamijenite te dijelove ako su napukli ili slomljeni.
-
Provjerite vreće, okvir hvatača trave i filtar.
Note: Zamijenite dijelove koji su napukli ili slomljeni.
-
Zategnite sve matice i vijke.
Pregledavanje noževa kosilice
-
Redovito pregledavajte noževe kosilice i pregledajte ih kad god nož udari o nepoznat predmet.
-
Ako su noževi jako istrošeni ili oštećeni, postavite nove noževe; za informacije o održavanju noževa pogledajte Upute za upotrebu uređaja.





































