Одржавање
Note: Utvrdite levu i desnu stranu mašine iz uobičajenog položaja operatera.
Препоручени распоред(и) одржавања
| Интервал сервисног одржавања | Поступак одржавања |
|---|---|
| Након првих 8 сати |
|
| Након сваке употребе |
|
| Сваких 25 сати |
|
| Сваких 100 сати |
|
Упозорење
Ako ostavite ključ u prekidaču kontakta, neko bi mogao slučajno da pokrene mašinu i ozbiljno da povredi vas ili nekog od posmatrača.
Pre bilo kakvog održavanja, uklonite ključ i skinite kabl sa svećice. Gurnite kabl na stranu da ne bi slučajno došao u dodir sa svećicom.
Упозорење
Motori mogu biti vreli kad rade. Dodirivanje vrelih površina može dovesti do teških opekotina.
Sačekajte da se motor ohladi pre nego što ga dodirnete, naročito izduvni lonac.
Упозорење
Otpad poput lišća, trave i šiblja može da se zapali. Požar u predelu motora može da izazove telesne povrede i materijalnu štetu.
-
Pazite da se u predelu motora i izduvnog lonca ne nakupljaju otpaci.
-
Kada otvarate poklopac sakupljača, pazite da otpad ne pada na predeo motora i izduvnog lonca.
-
Sačekajte da se mašina ohladi pre odlaganja.
Priprema za održavanje
Pre obavljanja radova na održavanju mašine izvršite sledeće korake:
-
Parkirajte mašinu na ravnoj površini.
-
Deaktivirajte PTO i pomerite ručice za kontrolu kretanja u NEUTRALNI-ZAKLJUčANI položaj.
-
Isključite mašinu i uklonite ključ.
-
Očistite svu prljavštinu sa kućišta i stražnjeg dela kosilice radi lakšeg održavanja.
Čišćenje mrežice poklopca
| Интервал сервисног одржавања | Поступак одржавања |
|---|---|
| Након сваке употребе |
|
-
Otvorite poklopac sakupljača.
-
Očistite otpatke sa mrežice.
-
Zatvorite poklopac sakupljača.
Čišćenje sakupljača i vreća
| Интервал сервисног одржавања | Поступак одржавања |
|---|---|
| Након сваке употребе |
|
-
Operite poklopac sakupljača iznutra i spolja, vreće, cev i donju stranu kosilice.
Note: Za uklanjanje prljavštine koristite blagi deterdžent za automobile.
-
Obavezno uklonite slepljenu travu sa svih delova.
-
Nakon pranja svih delova pustite ih da se potpuno osuše.
Note: Kad su svi delovi montirani, pokrenite mašinu i pustite je da radi jedan minut da bi se bolje osušila.
Pregled kaiša duvača
| Интервал сервисног одржавања | Поступак одржавања |
|---|---|
| Након првих 8 сати |
|
| Сваких 25 сати |
|
Proverite da li na kaiševima ima pukotina, iskrzanih ivica, tragova gorenja ili bilo kakvih drugih oštećenja. Zamenite oštećene kaiševe.
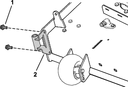
Zamena kaiša duvača
-
Skinite plastični poklopac kaiša.
-
Povucite remenicu prenosnika sa oprugom unazad da bi se otpustila zategnutost kaiša (Слика 36).

-
Skinite postojeći kaiš sakupljača sa remenice kućišta kosilice.
-
Skinite duvač sa kućišta kosilice.
-
Skinite postojeći kaiš sakupljača sa remenica duvača.
-
Postavite novi kaiš oko remenica duvača (Слика 36).
-
Postavite duvač na nosač duvača.
-
Postavite novi kaiš oko remenice kućišta kosilice (Слика 36).
-
Povucite remenicu prenosnika sa oprugom unazad i postavite kaiš na remenicu prenosnika sa oprugom (Слика 36).
Pregled sakupljača
| Интервал сервисног одржавања | Поступак одржавања |
|---|---|
| Након првих 8 сати |
|
| Сваких 100 сати |
|
-
Proverite gornju cev, donju cev, poklopac sakupljača i sklop sakupljača.
Note: Zamenite te delove ako su puknuti ili polomljeni.
-
Proverite vreće, ram sakupljača i mrežicu.
Note: Zamenite sve delove koji su puknuti ili polomljeni.
-
Zategnite sve navrtke, vijke i zavrtnje.
Pregled sečiva kosilice
-
Redovno pregledajte sečiva kosilice i pregledajte ih svaki put kad sečivo udari u neko strano telo.
-
Ako su sečiva veoma istrošena ili oštećena, montirajte nova sečiva; pogledajte Priručnik za operatera za vašu mašinu za uputstva o kompletnom održavanju sečiva.





































