Konserwacja
Zasady bezpieczeństwa podczas
konserwacji
- Jeśli pozostawisz kluczyk
w stacyjce, silnik może zostać przypadkowo uruchomiony
przez osobę postronną, co może grozić poważnymi
obrażeniami ciała operatora
lub innych osób. Przez przystąpieniem do wykonywania jakichkolwiek
czynności konserwacyjnych wyciągnij
kluczyk ze stacyjki.
- Przed opuszczeniem stanowiska
operatora:
- Zatrzymaj maszynę na równym
podłożu.
- Odłącz wszystkie napędy.
- Załącz hamulec postojowy.
- Wyłącz silnik i wyjmij
kluczyk ze stacyjki.
- Przed przeprowadzaniem konserwacji
odczekaj aż maszyna ostygnie.
- Nie pozwalać nieprzeszkolonym
osobom serwisować maszyny.
- Ręce i nogi operatora muszą
znajdować się w bezpiecznej odległości od
części ruchomych lub gorących powierzchni. Jeśli
to możliwe, nie przeprowadzaj żadnych
regulacji, gdy silnik jest włączony.
- Zadbaj o to, aby wszystkie osłony,
przełączniki i urządzenia zabezpieczające
znajdowały się na miejscu i były w dobrym stanie
technicznym. Sprawdzaj często, czy
podzespoły nie są zużyte lub zniszczone. W razie
potrzeby wymieniaj je na oryginalne części
Toro.
- Ostrożnie uwalniaj ciśnienie
z podzespołów magazynujących energię.
 |
Ostrzeżenie |
|
Demontaż lub modyfikacja
części i/lub akcesoriów oryginalnie zamontowanych
w maszynie może mieć negatywny wpływ na przyczepność,
sterowność oraz bezpieczeństwo
maszyny. Przeprowadzanie nieuprawnionych modyfikacji oryginalnego
sprzętu lub korzystanie z części
innych niż oryginalne elementy Toro może doprowadzić
do poważnych obrażeń lub śmierci.
- Regularnie sprawdzaj działanie
hamulca postojowego. Reguluj i serwisuj zgodnie z wymaganiami.
- Nie manipuluj przy urządzeniach
zabezpieczających. Regularnie sprawdzaj prawidłowość
ich działania.
- Usuwaj trawę, liście,
resztki oleju i smaru oraz inne zanieczyszczenia z zespołu tnącego,
tłumika, napędów, zbieracza trawy
i komory silnika, aby zmniejszyć ryzyko pożaru.
- Usuwaj rozlany olej lub paliwo
i nasączone paliwem odpady.
- Nie należy polegać
wyłącznie na podnośnikach hydraulicznych ani mechanicznych
jako podparciu maszyny. Używaj odpowiednich
podpórek.
- Utrzymuj wszystkie części
w dobrym stanie technicznym. Wszystkie elementy mocujące powinny
być dobrze dokręcone. Dotyczy to
zwłaszcza elementów mocujących ostrza.
- Dla zagwarantowania optymalnej
wydajności, stosuj wyłącznie oryginalne części
zamienne oraz akcesoria Toro. Części zamienne
i akcesoria innych producentów mogą być niebezpieczne.
Zalecany harmonogram konserwacji
| Po pierwszych 50 godzinach
|
Sprawdź moment dokręcenia nakrętek mocujących. |
| Przed każdym użyciem
lub codziennie |
Sprawdź układ blokad bezpieczeństwa. |
| Sprawdź poziom oleju w silniku.
|
| Sprawdź ostrza.
|
| Sprawdź deflektor trawy pod kątem uszkodzeń. |
| Po każdym użyciu |
Oczyść maszynę z trawy i innych pozostałości. |
| Oczyść obudowę podwozia tnącego kosiarki. |
| Co 25 godzin |
Nasmaruj łożyska kół samonastawnych (częściej
w warunkach zapiaszczonej gleby).
|
| Oczyść element piankowy filtra powietrza (częściej
w warunkach silnego zapylenia i zabrudzenia).
|
| Sprawdź ciśnienie w oponach. |
| Sprawdzić paski klinowe pod kątem zużycia i pęknięć. |
| Co 50 godzin |
Wymień papierowy wkład filtra powietrza (częściej
w warunkach silnego zapylenia i zabrudzenia).
|
| Co 100 godzin |
Zdejmij i wyczyść obudowę dmuchawy i pozostałe
osłony chłodnicy (częściej w warunkach silnego
zapylenia i zabrudzenia).
|
| Wymień przepływowy filtr paliwa.
|
| Co 100 godzin lub co roku, w zależności
od tego, co nastąpi wcześniej |
Wymień papierowy wkład filtra powietrza (częściej
w warunkach silnego zapylenia i zabrudzenia).
|
| Wymień olej silnikowy oraz filtr oleju (częściej
w warunkach silnego zapylenia i zabrudzenia).
|
| Sprawdź świece zapłonowe.
|
| Co 500 godzin |
Wymień świece zapłonowe.
|
| Co roku |
Sprawdź moment dokręcenia nakrętek mocujących. |
| Przed przechowywaniem |
Naładuj akumulator i odłącz przewody. |
| Przed przechowywaniem maszyny wykonaj wszystkie procedury konserwacyjne
wymienione powyżej.
|
| Zamalować wszelkie odpryski farby.
|
Dodatkowe procedury konserwacyjne
zostały podane w instrukcji obsługi silnika.
Czynności przygotowujące
do konserwacji
Przemieszczanie niesprawnej maszyny
-
Ustaw maszynę
na równej powierzchni, wyłącz przełącznik
sterowania ostrzem i ustaw dźwignie sterowania jazdy w kierunku
na zewnątrz, w położeniu parkowania.
-
Zanim opuścisz
stanowisko operatora, wyłącz silnik i zaczekaj, aż
wszystkie ruchome części się zatrzymają.
-
Odnajdź
dźwignie obejścia
na ramie po obu stronach silnika.
-
Przestaw
obie dźwignie obejścia do przodu przez otwór z wycięciem
i do góry, blokując je w tym położeniu
.
 |
Ostrzeżenie |
|
Dotykanie
gorących powierzchni może powodować obrażenia
ciała.
Trzymaj ręce, stopy, twarz,
inne części ciała i odzież w bezpiecznej odległości
od silnika, tłumika i innych gorących powierzchni.
 |
Ostrzeżenie |
|
Gdy
dźwignie obejścia są zablokowane w wycięciu
w pozycji do przodu, maszyna może przypadkowo poruszyć
się, wywołując obrażenia
ciała operatora lub osób postronnych.
Po przemieszczeniu maszyny zablokuj
dźwignie obejścia w pozycji do tyłu.
-
Zwolnij hamulec
postojowy, przesuwając obie dźwignie kierowania w dół,
do środkowego niezablokowanego położenia.
Uwaga: Nie uruchamiaj maszyny.
-
Przestaw
maszynę stosownie do potrzeb.
Maszynę
należy pchać ręcznie. Nie holuj maszyny, gdyż
może to ją uszkodzić.
-
Przesuń
dźwignie kierujące na zewnątrz do położenia parkowania.
-
Przestaw
obie dźwignie obejścia do tyłu przez otwór
z wycięciem i do góry, blokując je w tym położeniu
.
Zwalnianie osłony jednostki
tnącej
-
Poluzuj dwie
dolne śruby osłony, aby uzyskać dostęp do
górnej części podwozia tnącego.
Po zakończeniu
czynności konserwacyjnych należy zawsze przykręcać
śruby mocujące osłonę.
G453430
Konserwacja silnika
Bezpieczeństwo obsługi
silnika
- Trzymaj ręce, stopy, twarz,
inne części ciała i odzież w bezpiecznej odległości
od tłumika i innych gorących powierzchni.
Przed przystąpieniem do wykonania czynności
konserwacyjnych poczekaj, aż silnik ostygnie.
- Nie zmieniaj ustawień regulatora
silnika ani nie ustawiaj nadmiernej prędkości obrotowej.
Obsługa filtra powietrza
Demontaż wkładów filtra powietrza
-
Ustaw maszynę
na równej powierzchni, wyłącz przełącznik
sterowania ostrzem i ustaw dźwignie sterowania jazdy w kierunku
na zewnątrz, w położeniu parkowania.
-
Zanim opuścisz
stanowisko operatora, wyłącz silnik i zaczekaj, aż
wszystkie ruchome części się zatrzymają.
-
Oczyść
obszar wokół pokrywy filtra powietrza
, aby zapobiec przedostaniu się
zabrudzeń do silnika i spowodowaniu uszkodzeń.
-
Obróć
zatrzaski
na zewnątrz i zdejmij pokrywę.
-
Wyjmij wkłady
filtra powietrza
.
-
Wyjmij wkład
piankowy z wkładu papierowego.
Czyszczenie wkładu piankowego
-
Umyj wkład
piankowy za pomocą mydła w płynie i ciepłej
wody. Po oczyszczeniu wkładu dokładnie go opłucz.
-
Osusz wkład
poprzez wyciśnięcie go przy użyciu czystej szmatki.
Jeśli
wkład piankowy jest uszkodzony lub zużyty, wymień
go.
-
Delikatnie
nasmaruj wkład piankowy nowym olejem silnikowym i wyciśnij
nadmiar oleju.
Serwisowanie papierowego wkładu filtra powietrza
-
Oczyść
wkład papierowy, uderzając nim delikatnie w celu usunięcia
pyłu.
Uwaga: Jeżeli jest bardzo zabrudzony, wymień go na nowy.
-
Sprawdź
wkład pod kątem rozdarć, warstwy oleju i uszkodzenia
gumowej uszczelki.
-
Jeśli
element papierowy jest zniszczony, wymień go.
Nie
należy czyścić filtra papierowego.
Montaż filtra powietrza
-
Zamontuj
wstępny wkład piankowy nad wkładem papierowym.
Uwaga: Uważaj, aby nie uszkodzić wkładów.
-
Zamontuj
wkłady filtra powietrza
na podstawie filtra powietrza.
-
Zamontuj
pokrywę
i zamocuj ją przy pomocy
zatrzasków
.
Serwis olejowy silnika
Specyfikacja oleju silnikowego
| Rodzaj oleju |
Olej zawierający detergenty
(w tym syntetyczne), klasa serwisowa API SJ lub wyższa |
| Pojemność skrzyni
korbowej |
1,9 l z filtrem
oleju |
| Lepkość |
Zob. tabela poniżej |
| |
Sprawdzanie poziomu oleju silnikowego
-
Ustaw maszynę
na równej powierzchni, wyłącz przełącznik
sterowania ostrzem i ustaw dźwignie sterowania jazdy w kierunku
na zewnątrz, w położeniu parkowania.
-
Przed opuszczeniem
stanowiska operatora wyłącz silnik, wyjmij kluczyk zapłonu
i odczekaj, aż wszystkie części ruchome się
zatrzymają.
-
Poczekaj,
aż silnik ostygnie. W tym czasie olej zdąży spłynąć
do miski olejowej.
-
Aby zapobiec
dostaniu się zanieczyszczeń, ścinków trawy
itp. do wnętrza silnika, oczyść obszar wokół
korka wlewu oleju i wskaźnika
poziomu oleju przed ich odkręceniem.
-
Sprawdź
poziom oleju w silniku w sposób pokazany na ilustracji.
Napełnienie
skrzyni korbowej zbyt małą lub zbyt dużą ilością
oleju i uruchomienie silnika może spowodować jego uszkodzenie.
Wymiana oleju i filtra silnikowego
-
Zaparkuj
maszynę na poziomej nawierzchni, aby olej mógł całkowicie
spłynąć z silnika.
-
Wyłącz
przełącznik sterowania ostrzem i ustaw dźwignie
sterowania jazdy w kierunku na zewnątrz, w położeniu parkowania.
-
Przed opuszczeniem
stanowiska operatora wyłącz silnik, wyjmij kluczyk zapłonu
i odczekaj, aż wszystkie części ruchome się
zatrzymają.
-
Spuść
olej z silnika.
-
Wymień
filtr oleju silnikowego.
Uwaga: Dokręcaj filtr do momentu, aż uszczelka filtra oleju
będzie dotykać silnika, a następnie dokręć
o jeszcze ¾ obrotu.
-
Powoli wlej
około 80% oleju do kanału wlewowego, a następnie
powoli wlewaj pozostałą porcję, aż olej osiągnie
poziom znaku Full (Pełny).
-
Zutylizuj
zużyty olej i filtr zgodnie z miejscowymi przepisami.
Konserwacja świecy
Przed zainstalowaniem
świecy zapłonowej upewnij się, że odstęp
pomiędzy centralną i boczną elektrodą jest
właściwy. Do demontażu i
montażu świecy zapłonowej należy używać
klucza do świec zapłonowych, a do sprawdzania i regulacji
szczeliny powietrznej należy zastosować
szczelinomierz. W razie potrzeby zamontuj nową świecę
zapłonową.
Typ: Champion® XC12YC
Szczelina: 0,76 mm
Wyjmowanie świecy zapłonowej
-
Ustaw maszynę
na równej powierzchni, wyłącz przełącznik
sterowania ostrzem i ustaw dźwignie sterowania jazdy w kierunku
na zewnątrz, w położeniu parkowania.
-
Przed opuszczeniem
stanowiska operatora wyłącz silnik, wyjmij kluczyk zapłonu
i odczekaj, aż wszystkie części ruchome się
zatrzymają.
-
Oczyść
obszar wokół podstawy świecy zapłonowej, aby
zanieczyszczenia i brud nie dostały się do silnika.
-
Wyjmij świecę
zapłonową.
Sprawdzanie świecy zapłonowej
Nigdy nie czyść świec
zapłonowych. Wymień świecę zapłonową,
gdy pokryta jest czarnym nalotem, jej elektrody są zużyte,
pokryte tłustym filmem lub gdy
są popękane.
Jeżeli
izolator jest lekko brązowy lub szary, silnik działa poprawnie.
Czarny nalot na izolatorze zazwyczaj oznacza, że filtr
powietrza jest brudny.
-
Ustaw szerokość
szczeliny na 0,75 mm.
Czyszczenie obudowy dmuchawy
-
Aby zapewnić
prawidłowe chłodzenie, oczyść ekran przeciwdziałający
dostaniu się trawy, żebra chłodzące oraz inne
powierzchnie zewnętrzne silnika.
Dopilnuj, aby osłony chłodnicy były zamontowane.
Dokręć śruby obudowy dmuchawy momentem 4,0 N∙m.
Eksploatacja
silnika z niedrożnym ekranem przeciwdziałającym
dostaniu się trawy, zabrudzonymi lub zatkanymi żeberkami
chłodzącymi lub zdemontowanymi
osłonami układu chłodzenia powoduje uszkodzenie
silnika na skutek przegrzania.
Konserwacja układu paliwowego
 |
Niebezpieczeństwo |
|
W określonych warunkach
paliwo jest łatwopalne i silnie wybuchowe. Pożar lub wybuch
paliwa może skutkować poważnymi oparzeniami
ciała oraz zniszczeniem mienia.
Wymiana filtra paliwa
-
Ustaw maszynę
na równej powierzchni, wyłącz przełącznik
sterowania ostrzem i ustaw dźwignie sterowania jazdy w kierunku
na zewnątrz, w położeniu parkowania.
-
Przed opuszczeniem
stanowiska operatora wyłącz silnik, wyjmij kluczyk zapłonu
i odczekaj, aż wszystkie części ruchome się
zatrzymają.
-
Załóż
zaciski na przewody paliwowe po obu stronach filtra paliwa.
-
Wymień
filtr.
Uwaga: Upewnij się, że strzałka kierunku przepływu
na nowym filtrze jest skierowana w stronę silnika.
Nie
instaluj brudnego filtra paliwa po zdemontowaniu go z przewodu paliwowego.
-
Usuń
zaciski blokujące przepływ paliwa.
Konserwacja instalacji elektrycznej
Bezpieczeństwo obsługi
układu elektrycznego
- Przed przystąpieniem do
naprawy maszyny odłącz przewód od ujemnego zacisku
akumulatora.
- Ładuj akumulator na otwartym,
dobrze wentylowanym obszarze, z dala od źródeł
iskier i ognia. Przed podłączeniem lub odłączeniem
od akumulatora odłącz ładowarkę
od źródła zasilania. Używaj odzieży ochronnej
oraz narzędzi z izolacją.
Serwis akumulatora
Wyjmowanie akumulatora
 |
Ostrzeżenie |
|
Zaciski akumulatora i metalowe
narzędzia mogą powodować zwarcie z komponentami
metalowymi, wywołując iskrzenie. Iskrzenie
może spowodować wybuch gazów akumulatora,
co grozi obrażeniami.
- Podczas demontażu lub montażu
akumulatora nie dopuść, aby doszło do zetknięcia
się zacisków akumulatora z metalowymi częściami
maszyny.
- Nie dopuść, aby metalowe
narzędzia spowodowały zwarcie między zaciskami akumulatora
a metalowymi częściami maszyny.
-
Ustaw maszynę
na równej powierzchni, wyłącz przełącznik
sterowania ostrzem i ustaw dźwignie sterowania jazdy w kierunku
na zewnątrz, w położeniu parkowania.
-
Przed opuszczeniem
stanowiska operatora wyłącz silnik, wyjmij kluczyk zapłonu
i odczekaj, aż wszystkie części ruchome się
zatrzymają.
-
Odłącz
ujemny (czarny) przewód uziemienia od bieguna akumulatora.
Uwaga: Zachowaj wszystkie elementy mocujące.
 |
Ostrzeżenie |
|
Nieprawidłowe
odpięcie przewodów od akumulatora może spowodować
uszkodzenie maszyny i przewodów, powodując iskrzenie. Iskrzenie
może spowodować wybuch
gazów akumulatora, co będzie skutkowało obrażeniami
ciała.
- Przed odłączeniem
dodatniego (czerwonego) przewodu należy zawsze odłączać
ujemny (czarny) przewód akumulatora.
- Przed podłączeniem
ujemnego (czarnego) przewodu należy zawsze podłączyć
dodatni (czerwony) przewód akumulatora.
-
Zsuń
gumową osłonę z dodatniego (czerwonego) przewodu
akumulatora.
-
Odłącz
dodatni (czerwony) przewód od bieguna akumulatora (+).
Uwaga: Zachowaj wszystkie elementy mocujące.
-
Odkręć
obejmę przytrzymującą akumulator i zdejmij akumulator
z tacy akumulatora.
G440221
-
Akumulator
-
Osłona zacisku
-
Biegun ujemny (-) akumulatora
-
Nakrętka motylkowa, podkładka
i śruba
-
Uchwyt podtrzymujący akumulator
-
Śruba, podkładka i
nakrętka
-
Biegun dodatni (+) akumulatora
Ładowanie akumulatora
 |
Ostrzeżenie |
|
Podczas ładowania akumulatora
wytwarzają się gazy o charakterze wybuchowym.
W
pobliżu akumulatora zabrania się palenia tytoniu, powodowania
iskrzenia czy też wzniecania płomienia.
Akumulator powinien być
utrzymywany w czystości i w stanie naładowanym. Jest to
szczególnie istotne, aby zapobiec uszkodzeniu
akumulatora, gdy temperatura spadnie poniżej
0°C.
-
Zdemontuj
akumulator z maszyny.
-
Naładuj
akumulator zgodnie z instrukcją producenta ładowarki.
Nie
dopuszczaj do przeładowania akumulatora, gdyż może
to spowodować jego uszkodzenie.
G003792S
- Biegun
dodatni akumulatora
- Biegun
ujemny akumulatora
- Czerwony
(+) przewód ładowarki
- Czarny
(-) przewód ładowarki
-
Gdy akumulator
jest w pełni naładowany, odłącz ładowarkę
od gniazdka elektrycznego (w zależności od typu ładowarki),
a następnie odłącz
przewody ładowarki od biegunów akumulatora.
Czyszczenie akumulatora
Uwaga: Zaciski i obudowa akumulatora muszą być czyste, ponieważ
zabrudzenia prowadzą do jego powolnego wyładowania.
-
Ustaw maszynę
na równej powierzchni, wyłącz przełącznik
sterowania ostrzem i ustaw dźwignie sterowania jazdy w kierunku
na zewnątrz, w położeniu parkowania.
-
Zanim opuścisz
stanowisko operatora, wyłącz silnik i zaczekaj, aż
wszystkie ruchome części się zatrzymają.
-
Zdemontuj
akumulator z maszyny.
-
Całą
obudowę akumulatora przemyj roztworem wody z sodą oczyszczoną.
-
Opłucz
akumulator czystą wodą.
-
Aby zapobiec
korozji, pokryj bieguny akumulatora i złącza przewodów
smarem Grafo 112X (zewnętrznym) lub wazeliną.
-
Zamontować
akumulator.
Montaż akumulatora
-
Ustaw akumulator
na przeznaczonej do tego podstawie w maszynie.
-
Za pomocą
elementów mocujących zdemontowanych wcześniej podłącz
dodatni (czerwony) przewód do dodatniego (+) zacisku akumulatora.
-
Za pomocą
elementów mocujących zdemontowanych wcześniej podłącz
ujemny przewód do ujemnego (-) zacisku akumulatora.
-
Wsuń
czerwoną nakładkę zacisku na dodatni (czerwony)
biegun akumulatora.
-
Zamocuj akumulator
za pomocą obejmy przytrzymującej.
G440221
-
Akumulator
-
Osłona zacisku
-
Biegun ujemny (-) akumulatora
-
Nakrętka motylkowa, podkładka
i śruba
-
Uchwyt podtrzymujący akumulator
-
Śruba, podkładka i
nakrętka
-
Biegun dodatni (+) akumulatora
Uruchamianie silnika za pomocą
kabli rozruchowych
 |
Ostrzeżenie |
|
Przy uruchamianiu silnika za pomocą
kabli rozruchowych w akumulatorze powstają wybuchowe gazy.
Nigdy
nie pal papierosów w pobliżu akumulatora i dopilnuj, aby
w pobliżu akumulatora nie występowały iskry ani
płomienie.
 |
Niebezpieczeństwo |
|
Uruchamianie z zewnętrznego
akumulatora w sytuacji, gdy akumulator maszyny jest słabo naładowany,
pęknięty lub zamarznięty,
ma niski poziom elektrolitu lub otwarte/zwarte ogniwo może
spowodować wybuch skutkujący poważnymi obrażeniami
ciała.
W powyższych warunkach nie
próbuj uruchamiać maszyny z zewnętrznego akumulatora.
-
Przed uruchomieniem
za pomocą kabli rozruchowych sprawdź zaciski akumulatora
i usuń z nich korozję. Upewnij się, że złącza
są prawidłowo podłączone.
 |
Uwaga |
|
Korozja
lub poluzowane połączenia mogą spowodować
niepożądane wzrosty napięcia elektrycznego podczas
procedury uruchamiania z zewnętrznego
akumulatora.
Nie wolno podejmować prób
uruchomienia maszyny za pomocą kabli rozruchowych z luźnymi
lub skorodowanymi zaciskami akumulatora,
gdyż grozi to uszkodzeniem silnika.
-
Upewnij się,
że zewnętrzny akumulator jest dobrym i w pełni naładowanym
akumulatorem kwasowo-ołowiowym o napięciu 12,6 V lub
wyższym.
Uwaga: Aby zmniejszyć spadek napięcia między instalacjami,
należy stosować odpowiednio zwymiarowane kable rozruchowe
o niewielkiej długości.
Upewnij się, że przewody są oznaczone kolorem lub
etykietą w celu zapewnienia prawidłowej biegunowości.
 |
Ostrzeżenie |
|
Akumulatory
zawierają kwas i wytwarzają gazy wybuchowe.
- Pracując przy akumulatorach,
osłaniaj oczy i twarz.
- Nie nachylaj się nad akumulatorem.
Uwaga: Upewnij się, że korki odpowietrzające są
szczelne i równo ustawione. W miarę możliwości
umieść wilgotną szmatkę nad korkami
odpowietrzającymi obu akumulatorów.
Upewnij się, że maszyny nie stykają się ze
sobą i obie instalacje elektryczne są wyłączone
oraz mają takie samo znamionowe
napięcie systemowe. Niniejsza instrukcja dotyczy wyłącznie
instalacji z biegunem ujemnym połączonym
z masą.
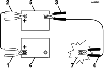
-
Podłącz
przewód dodatni (+) do dodatniego (+) zacisku rozładowanego
akumulatora, który jest podłączony do rozrusznika
lub zaworu elektromagnetycznego w pokazany
sposób:
g012785
- Przewód
dodatni (+) na rozładowanym akumulatorze
- Przewód
dodatni (+) na akumulatorze wspomagającym
- Przewód
ujemny (-) na akumulatorze wspomagającym
- Przewód
ujemny (-) na bloku silnika
- Akumulator
wspomagający
- Rozładowany
akumulator
- Blok
silnika
-
Drugi koniec
dodatniego (+) przewodu rozruchowego podłącz do dodatniego
bieguna akumulatora w drugim pojeździe.
-
Podłącz
jeden koniec ujemnego (-) przewodu rozruchowego do ujemnego bieguna
akumulatora w drugim pojeździe.
-
Drugi koniec
ujemnego (-) przewodu rozruchowego podłącz do masy pojazdu,
na przykład do niemalowanej śruby lub elementu ramy.
-
Uruchom silnik
w drugim pojeździe. Pozwól mu pracować przez kilka
minut, a następnie uruchom silnik w uruchamianym pojeździe.
-
Przewody
odłączaj w kolejności odwrotnej niż przy podłączaniu.
-
Załóż
pokrywę bieguna rozruchowego.
Konserwacja bezpieczników
Układ elektryczny chroniony
jest przez bezpieczniki. Nie wymaga on konserwacji. Jeśli jednak
przepali się bezpiecznik, sprawdź,
czy element/obwód nie jest uszkodzony ani zwarty.
-
Ustaw maszynę
na równej powierzchni, wyłącz przełącznik
sterowania ostrzem i ustaw dźwignie sterowania jazdy w kierunku
na zewnątrz, w położeniu parkowania.
-
Przed opuszczeniem
stanowiska operatora wyłącz silnik, wyjmij kluczyk zapłonu
i odczekaj, aż wszystkie części ruchome się
zatrzymają.
-
Wymień
przepalony bezpiecznik na nowy.
G440132
- Obwód
ładowania (15 A)
- Główny
(25 A)
Konserwacja układu jezdnego
Sprawdzanie ciśnienia w oponach
Utrzymuj ciśnienie powietrza
w przednich i tylnych oponach zgodnie z podanymi wartościami.
Nierówne ciśnienie w oponach może
powodować nierówne cięcie. Sprawdź
ciśnienie w trzpieniu zaworu, gdy opony są zimne. Pozwoli
to na uzyskanie najdokładniejszego odczytu
ciśnienia.
-
Napompuj
przednie koła samonastawne do ciśnienia 1,03 bara lub
ciśnienia wskazanego na ściance bocznej, w zależności
która z tych wartości będzie
niższa.
-
Napompuj
tylne koła napędowe do ciśnienia 0,90 bar.
Sprawdzenie nakrętek mocujących
kół
-
Sprawdź
i dokręć nakrętki śrub kół z momentem 108 N·m.
Regulacja układu jezdnego
Jeśli podczas jazdy maszyną
do przodu z maksymalną prędkością po płaskim
poziomym terenie maszyna ściąga na jedną stronę,
wyreguluj układ jezdny.
Jeśli
maszyna ściąga w lewo, wyreguluj prawą dźwignię
sterowania jazdy; jeśli maszyna ściąga w prawo,
wyreguluj lewą dźwignię
sterowania jazdy.
Uwaga: Układ jezdny można wyregulować tylko w odniesieniu
do jazdy do przodu.
-
Ustaw maszynę
na równej powierzchni, wyłącz przełącznik
sterowania ostrzem i ustaw dźwignie sterowania jazdy w kierunku
na zewnątrz, w położeniu parkowania.
-
Przed opuszczeniem
stanowiska operatora wyłącz silnik, wyjmij kluczyk zapłonu
i odczekaj, aż wszystkie części ruchome się
zatrzymają.
-
Odszukaj
śrubę regulacyjną układu jezdnego w pobliżu
dźwigni kierowania po stronie wymagającej regulacji.
-
Obróć
śrubę, aby zmniejszyć prędkość
danego koła.
Uwaga: Delikatnie obracaj śrubę, aby dokonywać niewielkich
korekt.
-
W celu sprawdzenia,
czy maszyna utrzymuje kierunek jazdy na wprost, uruchom maszynę
i jedź nią do przodu po płaskiej, równej
powierzchni trzymając dźwignie
kierowania wychylone całkowicie do przodu. W razie potrzeby
powtórz procedurę regulacji.
Konserwacja paska
Kontrola pasków
-
Ustaw maszynę
na równej powierzchni, wyłącz przełącznik
sterowania ostrzem i ustaw dźwignie sterowania jazdy w kierunku
na zewnątrz, w położeniu parkowania.
-
Zanim opuścisz
stanowisko operatora, wyłącz silnik i zaczekaj, aż
wszystkie ruchome części się zatrzymają.
-
Ustaw wysokość
koszenia w najniższym położeniu.
-
Sprawdź
paski pod kątem zużycia. Zużyty pasek należy
wymienić.
Oznakami zużycia
paska są: piski podczas ruchu paska, ślizganie się
ostrzy podczas koszenia trawy, wystrzępione krawędzie,
ślady przypalenia i pęknięcia
na pasku.
Wymiana paska kosiarki
Oznakami zużycia
paska są: piski podczas ruchu paska, ślizganie się
ostrzy podczas koszenia trawy, wystrzępione krawędzie,
ślady przypalenia i pęknięcia
na pasku. Jeśli pojawią się jakiekolwiek z powyższych
oznak, wymień pasek kosiarki.
-
Ustaw maszynę
na równej powierzchni, wyłącz przełącznik
sterowania ostrzem i ustaw dźwignie sterowania jazdy w kierunku
na zewnątrz, w położeniu parkowania.
-
Przed opuszczeniem
stanowiska operatora wyłącz silnik, wyjmij kluczyk zapłonu
i odczekaj, aż wszystkie części ruchome się
zatrzymają.
-
Ustaw wysokość
koszenia w najniższym położeniu.
-
Zwolnij osłonę
podwozia tnącego.
-
Zdejmij pokrywy
paska.
-
Poluzuj nakrętkę
mocującą wygięty drut do jałowego koła
pasowego.
-
Za pomocą
narzędzia do demontażu sprężyny (nr części
Toro 92-5771) zdejmij sprężynę jałowego koła
pasowego z zaczepu podwozia, uwalniając
napięcie jałowego koła pasowego.
 |
Ostrzeżenie |
|
Zamontowana
sprężyna jest naprężona i może spowodować
obrażenia ciała.
Podczas zdejmowania paska zachowaj
ostrożność.
G453682
- Koło
pasowe podwozia tnącego
- Pasek
kosiarki
- Koło
pasowe silnika
- Jałowe
koło pasowe
- Sprężyna
- Narzędzie
do demontażu sprężyny
-
Zsuń
pasek z kół pasowych.
-
Załóż
nowy pasek na koła pasowe silnika i kosiarki.
-
Za pomocą
narzędzia do demontażu sprężyny załóż
sprężynę jałowego koła pasowego na zaczep
podwozia, napinając jałowe koło
pasowe i pasek klinowy kosiarki.
-
Załóż
wygięty drut na ramieniu jałowego koła pasowego
w sposób pokazany na ilustracji i dokręć nakrętkę.
-
Załóż
pokrywy paska.
-
Dokręć
śruby osłony podwozia tnącego.
Konserwacja podwozia kosiarki
Zachowanie bezpieczeństwa
w przypadku postępowania z ostrzami
- Regularnie sprawdzaj ostrza pod
kątem zużycia i uszkodzeń.
- Podczas sprawdzania stanu ostrzy
zachowaj szczególną ostrożność. Owiń
ostrza materiałem lub załóż rękawice
i zachowaj ostrożność
podczas ich serwisowania. Ostrza należy wymienić;
nie wolno ich prostować ani spawać.
- Zachowaj szczególną
ostrożność w przypadku maszyn wieloostrzowych, ponieważ
obrót jednego ostrza może spowodować obracanie
się innych.
- Aby zachować równowagę
zespołu tnącego, wymieniaj cały zestaw zużytych
lub uszkodzonych ostrzy i śrub.
Serwis ostrza
Aby zapewnić najwyższą
jakość koszenia, ostrza powinny być zawsze naostrzone.
Aby ułatwić ostrzenie i wymianę, należy zaopatrzyć
się w dodatkowe ostrza.
Wymień
ostrza, jeżeli uderzą w twardy przedmiot, są niewyważone
lub wygięte.
Przed sprawdzeniem lub konserwacją ostrzy
-
Ustaw maszynę
na równej powierzchni, wyłącz przełącznik
sterowania ostrzem i ustaw dźwignie sterowania jazdy w kierunku
na zewnątrz, w położeniu parkowania.
-
Przed opuszczeniem
stanowiska operatora wyłącz silnik, wyjmij kluczyk zapłonu
i odczekaj, aż wszystkie części ruchome się
zatrzymają.
-
Odłącz
przewody od świec zapłonowych.
Sprawdzanie ostrzy po kątem zagięcia
Na potrzeby
wykonania tej procedury maszyna musi być ustawiona na płaskiej
powierzchni.
-
Unieś
podwozie tnące na najwyższą wysokość
koszenia.
-
Korzystając
z grubych rękawic lub innej ochrony dłoni, powoli obracaj
ostrzem i ustaw je w pozycji, w której będzie można
zmierzyć odległość
między krawędzią tnącą a płaską
powierzchnią.
-
Zmierz odległość
od końcówki ostrza do płaskiej powierzchni.
G451422
- Ostrze
(w pozycji pomiarowej)
- Pozioma
powierzchnia
- Zmierzona
odległość między ostrzem a powierzchnią
(A)
-
Obróć
to samo ostrze o 180 stopni tak, aby w pozycji mierzenia znalazła
się przeciwległa krawędź tnąca.
G451423
- Poprzednio
mierzona krawędź tnąca
- Przeciwległa
krawędź tnąca
-
Zmierz odległość
od końcówki ostrza do płaskiej powierzchni.
G451422
- Ostrze
(w pozycji pomiarowej)
- Pozioma
powierzchnia
- Zmierzona
odległość między ostrzem a powierzchnią
(B)
-
Jeżeli
różnica między A i B jest większa niż
3 mm, ostrze należy wymienić.
Uwaga: Jeżeli po wymianie ostrza na nowe uzyskiwana różnica
wymiarów nadal przekracza 3 mm, prawdopodobnie zgięta
jest oś wrzeciona ostrza.
Skontaktuj się z przedstawicielem autoryzowanego serwisu, aby
przeprowadzić przegląd.
-
Powtórz
tę samą procedurę dla każdego ostrza.
Demontaż ostrzy
-
Trzymaj koniec
ostrza przez szmatkę lub grube wykładane rękawice.
-
Zdejmij ostrze
w sposób pokazany na ilustracji.
Ostrzenie ostrzy
-
Użyj
pilnika do naostrzenia krawędzi tnącej na obu końcach
ostrza. Zachowaj oryginalny kąt ostrza
.
Uwaga: Usuń taką samą ilość materiału
z obu krawędzi tnących, aby zachować wyważenie
ostrza.
-
Sprawdź
wyważenie ostrza
, układając
je na wyważarce ostrzy
.
Uwaga: Jeżeli ostrze pozostaje w położeniu poziomym, wówczas
jest wyważone i można je stosować.
Jeżeli
ostrze nie jest wyważone, spiłuj nieco metalu ze strefy
łopatki.
-
Powtarzaj
tę procedurę do momentu wyważenia ostrza.
Montaż ostrzy
 |
Ostrzeżenie |
|
Eksploatowanie maszyny po nieprawidłowym
zamontowaniu zespołu ostrzy i/lub nieużywanie oryginalnych Toro ostrzy i ich osprzętu
może spowodować wyrzucenie elementu ostrza spod podwozia,
co grozi poważnymi obrażeniami lub śmiercią.
Zawsze
należy montować oryginalne ostrza i ich osprzęt Toro, zgodnie z instrukcją.
-
Zamontuj
ostrza w sposób pokazany na ilustracji.
Uwaga: Aby koszenie było prawidłowe, zagięta część
ostrza musi być skierowana w górę do wnętrza
kosiarki.
-
Dokręć
śrubę ostrza z momentem od 136 do 149 N∙m.
Poziomowanie jednostki tnącej
kosiarki
Zawsze po montażu
podwozia tnącego lub w razie zauważenia nierównomiernie
skoszonych obszarów na trawniku upewnij się, że
podwozie tnące jest ustawione poziomo.
Przygotowanie do poziomowania podwozia tnącego
-
Ustaw maszynę
na równej powierzchni, wyłącz przełącznik
sterowania ostrzem i ustaw dźwignie sterowania jazdy w kierunku
na zewnątrz, w położeniu parkowania.
-
Przed opuszczeniem
stanowiska operatora wyłącz silnik, wyjmij kluczyk zapłonu
i odczekaj, aż wszystkie części ruchome się
zatrzymają.
-
Upewnij się,
że opony są poprawnie napompowane, a koła samonastawne
są ustawione na wprost.
-
Sprawdź,
czy ostrza nie są wygięte; zdemontuj i wymień wszystkie
wygięte ostrza.
-
Unieś
podwozie tnące kosiarki do położenia wysokości
koszenia 76 mm.
Sprawdzanie poziomu podwozia tnącego
-
Ustaw ostrza
w osi poprzecznej.
-
Dokonaj pomiaru
w punktach
i
od poziomej powierzchni do krawędzi
tnącej końcówki ostrza
.
Różnica w pomiarach
nie powinna przekraczać 5 mm. Jeżeli różnica
jest większa, wyreguluj poziom w ustawieniu poprzecznym.
-
Ustaw ostrze
1 w osi wzdłużnej.
-
Dokonaj pomiaru
w punktach
i
od poziomej powierzchni do krawędzi
tnącej końcówki ostrza
.
Przednie końcówka ostrza
powinna znajdować się od 1,6 do 7,9 mm poniżej
tylnej końcówki. Jeżeli różnica jest poza
tym zakresem, wyreguluj poziom w
ustawieniu wzdłużnym.
Poziomowanie jednostki tnącej kosiarki
-
W celu wykonania
tej procedury ustaw rolki zapobiegające zdzieraniu darni w górnych
otworach lub zdemontuj je.
-
Ustaw dźwignię
wysokości koszenia w pozycji 76 mm.
-
Umieść
dwa klocki
o grubości 6,6 cm po obu
stronach przedniej krawędzi podwozia tnącego.
Nie
umieszczaj klocków pod wspornikami rolki zapobiegającej
zdzieraniu darni.
-
Umieść
dwa klocki
o grubości 7,3 cm po obu
stronach tylnej krawędzi podwozia tnącego.
-
Poluzuj dolne
elementy mocujące wsporniki w każdym z 4 narożników
podwozia tnącego i upewnij się, że podwozie jest
bezpiecznie oparte na 4 klockach.
-
Zlikwiduj
luzy na wspornikach podwozia tnącego i upewnij się, że
dźwignia pedału podnoszenia podwozia tnącego jest
całkowicie dociśnięta
do ogranicznika.
-
Dokręć
elementy złączne.
-
Upewnij się,
że klocki są wsunięte ciasno pod krawędzią
podwozia tnącego i wszystkie śruby mocujące są
mocno dokręcone
-
Sprawdź
poziom w osi poprzecznej i wzdłużnej; powtarzaj procedurę
aż do uzyskania poprawnych pomiarów.
Zdejmowanie jednostki tnącej
-
Ustaw maszynę
na równej powierzchni, wyłącz przełącznik
sterowania ostrzem i ustaw dźwignie sterowania jazdy w kierunku
na zewnątrz, w położeniu parkowania.
-
Przed opuszczeniem
stanowiska operatora wyłącz silnik, wyjmij kluczyk zapłonu
i odczekaj, aż wszystkie części ruchome się
zatrzymają.
-
Opuść
dźwignię wysokości koszenia do najniższej
pozycji.
-
Zwolnij osłonę
podwozia tnącego.
-
Wyjmij sworzeń
z zawleczką i podkładką z przedniego sworznia nośnego
, po czym wyjmij sworzeń
ze wspornika podwozia tnącego
.
Uwaga: Zachowaj wszystkie części do późniejszego
montażu.
-
Usuń
górne elementy mocujące wsporniki do wszystkich 4 ramion
podnoszących.
-
Przesuń
podwozie tnące do tyłu, aby zdjąć pasek napędowy
kosiarki z koła pasowego silnika.
-
Wysuń
podwozie tnące spod maszyny.
Montaż jednostki tnącej
kosiarki.
-
Ustaw maszynę
na równej powierzchni, wyłącz przełącznik
sterowania ostrzem i ustaw dźwignie sterowania jazdy w kierunku
na zewnątrz, w położeniu parkowania.
-
Przed opuszczeniem
stanowiska operatora wyłącz silnik, wyjmij kluczyk zapłonu
i odczekaj, aż wszystkie części ruchome się
zatrzymają.
-
Wsuń
podwozie tnące pod maszynę.
-
Opuść
dźwignię wysokości koszenia do najniższej
pozycji.
-
Zamontuj
cięgna podnoszące do ramion podnoszących podwozia
tnącego za pomocą usuniętych wcześniej elementów
mocujących.
-
Zamocuj przedni
sworzeń nośny
do wspornika w podwoziu
tnącym
za pomocą sworznia z zawleczką
i podkładką.
-
Załóż
pasek napędowy kosiarki na koło pasowe silnika.
-
Dokręć
śruby osłony podwozia tnącego.
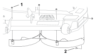
Wymiana deflektora trawy
 |
Niebezpieczeństwo |
|
Osoby postronne mogą być
uderzone przez przedmioty wyrzucane przez nieosłonięty
otwór wyrzutowy. Może również nastąpić
kontakt z ostrzem. Wyrzucane obiekty lub
kontakt z ostrzem mogą spowodować poważne obrażenia
ciała lub śmierć.
Nie używaj kosiarki,
gdy deflektor wyrzutowy jest podniesiony, zdemontowany lub zmodyfikowany,
chyba że kosiarka jest wyposażona
w prawidłowo działający system zbierania
trawy lub rozdrabniacz.
-
Ustaw maszynę
na równej powierzchni, wyłącz przełącznik
sterowania ostrzem i ustaw dźwignie sterowania jazdy w kierunku
na zewnątrz, w położeniu parkowania.
-
Przed opuszczeniem
stanowiska operatora wyłącz silnik, wyjmij kluczyk zapłonu
i odczekaj, aż wszystkie części ruchome się
zatrzymają.
-
Uwolnij sprężynę
z wycięcia we wsporniku deflektora i wysuń sworzeń
z przyspawanych do podwozia tnącego wsporników, zdejmując
sprężynę i deflektor
wyrzutowy.
G456086
- Sworzeń
- Deflektor
trawy
- Sprężyna
- Wsporniki
na podwoziu tnącym
- Zawleczka
- Sprężyna
założona na sworzniu
-
Usuń
uszkodzony lub zużyty deflektor trawy.
-
Ustaw nowy
deflektor wyrzutowy tak, aby końcówki wsporników znalazły
się między spawanymi wspornikami na podwoziu tnącym
w sposób pokazany na ilustracji.
G456085
- Założony
sworzeń ze sprężyną
- Koniec
sprężyny z pętlą włożony w wycięcie
wspornika deflektora
- Sworzeń
i krótki jego koniec wsunięty za wspornik kosiarki
- Krótszy
koniec, unieruchomiony przez wspornik kosiarki
- Zawleczka
-
Zamocuj zespół
sworznia i sprężyny, obracając go tak, aby krótki
koniec sworznia wsunął się za przedni wspornik przyspawany
do podwozia tnącego.
-
Wsuń
zawleczkę w koniec sworznia.
Deflektor
trawy musi być dociskany sprężyną w kierunku
dolnej pozycji. Unieś deflektor, aby sprawdzić, czy wróci
samoczynnie do najniższej pozycji.
Czyszczenie
Utylizacja odpadków
Olej silnikowy,
akumulatory, olej hydrauliczny oraz płyn chłodzący
mogą zanieczyścić środowisko. Usuwaj je zgodnie
z lokalnymi przepisami.
Wykrywanie i rozwiązywanie
problemów
Zbiornik paliwa nosi oznaki zapadania
się lub w maszynie często kończy się paliwo.
| Prawdopodobna przyczyna |
Działanie naprawcze |
| Zatkany papierowy wkład
filtra powietrza. |
-
Oczyść
papierowy wkład filtra powietrza.
|
Przegrzewanie się silnika.
| Prawdopodobna przyczyna |
Działanie naprawcze |
| Nadmiernie obciążony
silnik. |
-
Należy
zmniejszyć prędkość jazdy.
|
| Niski poziom oleju w skrzyni
korbowej. |
-
Dolej oleju
do skrzyni korbowej.
|
| Żeberka chłodzące
i przewody powietrzne pod obudową dmuchawy silnika są
zablokowane. |
-
Należy
usunąć wszelkie przeszkody z żeberek chłodzących
i przewodów powietrznych.
|
| Zabrudzony filtr powietrza. |
-
Wyczyść
lub wymień wkład filtra powietrza.
|
| W układzie paliwowym
znajdują się zabrudzenia, woda lub stare paliwo. |
-
Skontaktuj
się z autoryzowanym przedstawicielem serwisowym.
|
Rozrusznik nie działa.
| Prawdopodobna przyczyna |
Działanie naprawcze |
| Przełącznik
sterujący ostrzem jest w położeniu załączonym. |
-
Zwolnij przełącznik
sterujący ostrzem.
|
| Dźwignie kierowania
nie znajdują się w położeniu parkowania.
|
-
Przesuń
dźwignie sterowania na zewnątrz w położenie parkowania.
|
| Akumulator jest rozładowany. |
-
Naładuj
akumulator.
|
| Połączenia
elektryczne skorodowały lub są poluzowane. |
-
Sprawdź
połączenia elektryczne pod kątem prawidłowego
styku.
|
| Przepalony bezpiecznik. |
-
Wymień
bezpiecznik.
|
| Uszkodzony przekaźnik
lub przełącznik. |
-
Skontaktuj
się z autoryzowanym przedstawicielem serwisowym.
|
Silnik nie uruchamia się,
dławi się lub po chwili gaśnie.
| Prawdopodobna przyczyna |
Działanie naprawcze |
| Zbiornik paliwa jest pusty. |
-
Napełnij
zbiornik paliwa.
|
| Ssanie (jeżeli dotyczy)
nie jest włączone.
|
-
Przestaw
dźwignię ssania do pozycji włączenia.
|
| Zabrudzony filtr powietrza. |
-
Wyczyść
lub wymień wkład filtra powietrza.
|
| Przewód świecy
zapłonowej jest obluzowany lub odłączony. |
-
Podłącz
przewód do świecy zapłonowej.
|
| Świeca zapłonowa
jest pokryta czarnym nalotem, jest uszkodzona lub szczelina jest nieprawidłowa. |
-
Zainstaluj
nową świecę zapłonową o prawidłowej
szerokości szczeliny.
|
| Filtr paliwa jest zanieczyszczony. |
-
Wymień
filtr paliwa.
|
| W układzie paliwowym
znajduje się brud, woda lub stare paliwo.
|
-
Skontaktuj
się z autoryzowanym przedstawicielem serwisowym.
|
| W zbiorniku paliwa znajduje
się niewłaściwy rodzaj paliwa.
|
-
Spuść
paliwo z układu paliwowego i zatankuj prawidłowy rodzaj
paliwa.
|
| Niski poziom oleju w skrzyni
korbowej. |
-
Dolej oleju
do skrzyni korbowej.
|
Silnik traci moc.
| Prawdopodobna przyczyna |
Działanie naprawcze |
| Nadmiernie obciążony
silnik. |
-
Należy
zmniejszyć prędkość jazdy.
|
| Zabrudzony filtr powietrza. |
-
Wymień
wkład filtra powietrza.
|
| Niski poziom oleju w skrzyni
korbowej. |
-
Dolej oleju
do skrzyni korbowej.
|
| Żeberka chłodzące
i przewody powietrzne pod obudową dmuchawy silnika są
zablokowane. |
-
Należy
usunąć wszelkie przeszkody z żeberek chłodzących
i przewodów powietrznych.
|
| Świeca zapłonowa
jest pokryta czarnym nalotem, jest uszkodzona lub szczelina jest nieprawidłowa. |
-
Zainstaluj
nową świecę zapłonową o prawidłowej
szerokości szczeliny.
|
| Odpowietrznik zbiornika
paliwa jest zatkany. |
-
Skontaktuj
się z autoryzowanym przedstawicielem serwisowym.
|
| Zabrudzony filtr paliwa. |
-
Wymień
filtr paliwa.
|
| W układzie paliwowym
znajdują się zabrudzenia, woda lub stare paliwo. |
-
Skontaktuj
się z autoryzowanym przedstawicielem serwisowym.
|
| W zbiorniku paliwa znajduje
się niewłaściwy rodzaj paliwa.
|
-
Skontaktuj
się z autoryzowanym przedstawicielem serwisowym.
|
Maszyna nie jedzie.
| Prawdopodobna przyczyna |
Działanie naprawcze |
| Zawory obejścia są
otwarte. |
-
Zamknij zawory
holownicze.
|
| Paski napędowe są
zużyte, poluzowane lub zerwane.
|
-
Skontaktuj
się z autoryzowanym przedstawicielem serwisowym.
|
| Paski napędu jezdnego
spadły z kół pasowych.
|
-
Skontaktuj
się z autoryzowanym przedstawicielem serwisowym.
|
| Skrzynia biegów jest
uszkodzona. |
-
Skontaktuj
się z autoryzowanym przedstawicielem serwisowym.
|
Maszyna zaczyna nieprawidłowo
drgać.
| Prawdopodobna przyczyna |
Działanie naprawcze |
| Ostrze/-a tnące są
zgięte lub niewyważone.
|
-
Zamontuj
nowe ostrza tnące.
|
| Śruba mocująca
ostrze jest poluzowana. |
-
Dokręć
śrubę mocującą ostrze.
|
| Śruby mocujące
silnik są poluzowane. |
-
Dokręć
śruby mocujące silnik.
|
| Koło pasowe silnika,
koło pasowe luźne lub koło pasowe ostrza są
poluzowane. |
-
Dokręć
odpowiednie koło pasowe.
|
| Uszkodzone koło pasowe
silnika. |
-
Skontaktuj
się z autoryzowanym przedstawicielem serwisowym.
|
| Zgięte wrzeciono
ostrza. |
-
Skontaktuj
się z autoryzowanym przedstawicielem serwisowym.
|
| Mocowanie silnika jest
poluzowane lub zużyte. |
-
Skontaktuj
się z autoryzowanym przedstawicielem serwisowym.
|
Nierówna wysokość
koszenia.
| Prawdopodobna przyczyna |
Działanie naprawcze |
| Ostrze nie jest ostre. |
-
Naostrz ostrza.
|
| Ostrza tnące są
zgięte. |
-
Zamontuj
nowe ostrza tnące.
|
| Kosiarka nie jest wypoziomowana. |
-
Wypoziomuj
kosiarkę w osi poprzecznej i podłużnej.
|
| Kółko zapobiegające
zdzieraniu darni (jeśli występuje) nie jest ustawione
prawidłowo. |
-
Wyreguluj
wysokość ustawienia kółka zapobiegającego
zdzieraniu darni.
|
| Spodnia część
podwozia tnącego jest zabrudzona.
|
-
Oczyść
spodnią część podwozia tnącego kosiarki.
|
| Nieprawidłowe ciśnienie
w oponach. |
-
Ustaw odpowiednie
ciśnienie w oponach.
|
| Wrzeciono ostrza jest zgięte. |
-
Skontaktuj
się z autoryzowanym przedstawicielem serwisowym.
|
Ostrza się nie obracają.
| Prawdopodobna przyczyna |
Działanie naprawcze |
| Pasek napędowy jest
zużyty, poluzowany lub zerwany.
|
-
Zamontuj
nowy pasek napędowy.
|
| Pasek napędowy spadł
z koła pasowego. |
-
Zamontuj
pasek napędowy i sprawdź, czy wałki regulacyjne
i prowadnice paska są we właściwym położeniu.
|
| Przełącznik
lub sprzęgło wału odbioru mocy (WOM) są wadliwe. |
-
Skontaktuj
się z autoryzowanym przedstawicielem serwisowym.
|
| Pasek kosiarki jest zużyty,
poluzowany lub zerwany. |
-
Zamontuj
nowy pasek kosiarki.
|