Vzdrževanje
Varnost pri vzdrževanju
- Če pozabite ključ
v stikalu za vžig, lahko nekdo nenamerno zažene motor
ter vas ali druge prisotne osebe hudo poškoduje. Pred
vsakim vzdrževanjem odstranite ključ
iz stikala za vžig.
- Preden zapustite delovni položaj,
storite naslednje:
- Parkirajte stroj na ravni površini.
- Izklopite pogone.
- Vklopite parkirno zavoro.
- Ugasnite motor in odstranite ključ.
- Preden se lotite vzdrževanja,
počakajte, da se stroj popolnoma ohladi.
- Servisiranje stroja sme izvajati
samo ustrezno usposobljeno osebje.
- Rok in nog ne približujte
premikajočim se delom ali vročim delom stroja. Če
je mogoče, ne izvajajte prilagoditev, medtem ko
motor teče.
- Varovala, ščitniki,
stikala in druga zaščitna oprema mora biti vedno nameščena
in brezhibno delujoča. Pogosto preverjajte
morebitno obrabo ali dotrajanost sestavnih delov in jih
po potrebi zamenjajte z originalnimi nadomestnimi deli Toro.
- Pri sestavnih delih, ki so pod
tlakom, bodite pri sproščanju tlaka zelo previdni.
 |
Opozorilo |
|
Odstranitev ali spreminjanje originalne
opreme, delov in/ali dodatne opreme lahko vpliva na veljavnost garancije,
krmiljenje in varnost stroja. Nepooblaščeno
spreminjanje originalne opreme ali opustitev uporabe originalnih delov Toro lahko privede do
hudih telesnih poškodb ali smrti.
- Redno preverjajte delovanje parkirne
zavore. Po potrebi jo prilagodite ali popravite.
- Ne posegajte v varovala. Redno
preverjajte njihovo pravilno delovanje.
- Očistite travo, listje,
odvečno olje in mast ter druge ostanke iz rezalne enote, glušnika,
pogonov, lovilnika in motornega prostora,
da zmanjšate možnost požara.
- Počistite razlito olje ali
gorivo in odstranite ostanke, namočene z gorivom.
- Za podporo stroja se ne smete
zanašati le na mehanska ali hidravlična podporna stojala.
Uporabite ustrezna podporna stojala.
- Dele stroja vzdržujte v
brezhibnem stanju, poskrbite, da bodo vijaki in matice dobro priviti,
zlasti opremo za pritrditev rezil.
- Če želite zagotoviti
optimalno delovanje stroja, uporabljajte izključno originalne
nadomestne dele Toro in dodatno opremo. Nadomestni
deli in dodatna oprema drugih proizvajalcev so lahko nevarni.
Priporočen urnik vzdrževanja
| Po prvih 50 urah
|
Preverite zatezni moment za matice.
|
| Pred vsako uporabo
ali dnevno
|
Preverite varnostni zaporni sistem.
|
| Preverite raven motornega olja.
|
| Preglejte rezila. |
| Preglejte usmerjevalnik trave, ali je poškodovan. |
| Po vsaki uporabi |
Očistite trave in smeti s stroja.
|
| Očistite ohišje okrova kosilnice. |
| Vsakih 25 ur |
Namažite ležaje samoslednih koles (kjer je prisotno veliko
peska, jih mažite pogosteje).
|
| Očistite penasti vložek zračnega filtra (pogosteje
v izjemno prašnih, umazanih pogojih).
|
| Preverite tlak v pnevmatikah.
|
| Preverite, ali so jermeni obrabljeni ali poškodovani. |
| Vsakih 50 ur |
Zamenjajte penasti vložek zračnega filtra (pogosteje
v izjemno prašnih ali umazanih pogojih). |
| Vsakih 100 ur |
Odstranite in očistite ohišje puhalnika ali druge hladilne
okrove (pogosteje pod izjemno prašnimi, umazanimi pogoji). |
| Zamenjajte filter dovoda goriva.
|
| Vsakih 100 ur ali letno, kar
nastopi prej |
Zamenjajte papirnati vložek zračnega filtra (pogosteje
v izjemno prašnih ali umazanih pogojih). |
| Zamenjajte motorno olje in olje filtra (pogosteje v izjemno prašnih
ali umazanih pogojih).
|
| Preverite vžigalne svečke.
|
| Vsakih 500 ur |
Zamenjajte vžigalno svečko (svečke). |
| Letno |
Preverite zatezni moment za matice.
|
| Pred uskladiščenjem |
Napolnite akumulator in odklopite kable akumulatorja. |
| Pred uskladiščenjem stroja izvedite vse zgoraj navedene
vzdrževalne postopke.
|
| Pobarvajte vse poškodovane površine. |
Za dodatne postopke vzdrževanja
glejte priročnik za upravljanje motorja.
Postopki pred vzdrževanjem
Premikanje nedelujočega
stroja
-
Stroj parkirajte
na ravni površini, izklopite stikalo za upravljanje rezil in
ročici za nadzor vožnje premaknite navzven v
parkirni položaj.
-
Ugasnite
motor in počakajte, da se vsi premikajoči se deli ustavijo,
preden zapustite upravljavčev položaj.
-
Poiščite
premostitvena vzvoda
, ki sta na obeh straneh
motorja.
-
Oba premostitvena
vzvoda potisnite naprej skozi odprtino in ju pritrdite v ležišči
.
 |
Opozorilo |
|
Stik
z vročimi površinami lahko povzroči telesne poškodbe.
Rok, stopal, oblačil in
drugih delov telesa ne približujte glušniku motorja ali
drugim vročim površinam.
 |
Opozorilo |
|
Premostitvena
vzvoda se lahko nenamerno iztakneta iz ležišč ter
poškodujeta vas in druge navzoče osebe.
Ko
premaknete stroj, premostitvena vzvoda zataknite v zadnjem položaju.
-
Izklopite
parkirno zavoro tako, da obe ročici za nadzor vožnje premaknite
navzdol v sredinski odklenjeni položaj.
Opomba: Ne zaženite stroja.
-
Stroj premaknite
na želeno mesto.
Stroj
vedno potiskajte z rokami. Ne vlecite ga, saj ga to lahko poškoduje.
-
Premaknite
ročici za nadzor vožnje navzven v parkirni položaj.
-
Oba premostitvena
vzvoda potisnite nazaj in skozi odprtino in ju pritrdite v ležišči
.
Odpenjanje zavese okrova kosilnice
-
Odvijte 2
spodnja vijaka zavese, da si omogočite dostop do zgornjega dela
okrova kosilnice.
Ko končate
vzdrževalna dela, ne pozabite znova priviti vijakov zavese.
G453430
Vzdrževanje motorja
Varnost motorja
- Rok, nog, oblačil, obraza,
drugih delov telesa in oblačil ne približujte glušniku
motorja ali drugim vročim površinam. Preden
se lotite vzdrževanja, počakajte,
da se motor popolnoma ohladi.
- Ne spreminjajte regulatorja vrtljajev
motorja oziroma ne nastavljajte previsokega števila vrtljajev.
Servisiranje zračnega filtra
Odstranjevanje vložkov zračnega filtra
-
Stroj parkirajte
na ravni površini, izklopite stikalo za upravljanje rezil in
ročici za nadzor vožnje premaknite navzven v
parkirni položaj.
-
Ugasnite
motor in počakajte, da se vsi premikajoči se deli ustavijo,
preden zapustite upravljavčev položaj.
-
Očistite
okolico pokrova zračnega filtra
, da preprečite, da bi umazanija
prodrla v motor in povzročila škodo.
-
Zapaha zavrtite
navzven in odstranite pokrov.
-
Odstranite
vložka zračnega filtra
.
-
Odstranite
filtrirne vložke iz pene in papirja.
Servisiranje penastega vložka
-
Penasti vložek
zračnega filtra operite s tekočim milo in toplo vodo.
Ko očistite filtrirni vložek, ga temeljito izperite.
-
Osušite
ga tako, da ga ožamete v čisto krpo.
Zamenjajte
penasti vložek, če je raztrgan ali obrabljen.
-
Penasti vložek
rahlo natopite s svežim motornim oljem, nato iz njega iztisnite
odvečno olje.
Servisiranje papirnatega vložka zračnega filtra
-
Očistite
papirnati vložek tako, da s previdnim tapkanjem iz njega stresete
prah.
Opomba: Če je zelo umazan, ga zamenjajte z novim.
-
Preverite
vložek za raztrganost, tanke sloje olja ali za poškodbe
na gumijastem tesnilu.
-
Zamenjajte
papirnati vložek, če je raztrgan ali obrabljen.
Ne
poskušajte oprati papirnatega filtra.
Namestitev vložkov zračnega filtra
-
Penasti predfilter
namestite na papirnatega.
Opomba: Pazite, da ne boste poškodovali vložkov.
-
Filtrirna
vložka namestite v
ohišje zračnega
filtra.
-
Namestite
pokrov
in ga pritrdite z zapahoma
.
Servisiranje motornega olja
Specifikacije za motorno olje
| Vrsta olja |
Čistilno olje (vključno
s sintetičnimi) s servisno klasifikacijo API SJ ali višje |
| Prostornina okrova ročične
gredi |
1,9 litra
z oljnim filtrom
|
| Viskoznost |
Glejte spodnjo tabelo |
| |
Preverjanje ravni motornega olja
-
Stroj parkirajte
na ravni površini, izklopite stikalo za upravljanje rezil in
ročici za nadzor vožnje premaknite navzven v
parkirni položaj.
-
Ugasnite
motor, odstranite ključ in počakajte, da se vsi premikajoči
se deli ustavijo, preden zapustite upravljavčev položaj.
-
Počakajte,
da je motor hladen in da je preteklo dovolj časa, da je olje
izteklo v oljno korito.
-
Očistite
predel okrog čepa odprtine za dolivanje olja in merilne palice,
preden ju odstranite, da ne bi motorja onesnažili
s prahom, pokošeno travo ipd.
-
Preverite
raven motornega olja, kot je prikazano na sliki.
Če
preveč ali premalo napolnite okrov ročične gredi
motorja z oljem in nato zaženete motor, se motor lahko poškoduje.
Menjava motornega olja in filtra
-
Stroj parkirajte
na ravni površini, da zagotovite, da bo olje popolnoma odteklo.
-
Izklopite
stikalo za upravljanje rezil in ročici za nadzor vožnje
premaknite navzven v parkirni položaj.
-
Ugasnite
motor, odstranite ključ in počakajte, da se vsi premikajoči
se deli ustavijo, preden zapustite upravljavčev položaj.
-
Pustite,
da vse olje izteče iz motorja.
-
Zamenjajte
oljni filter.
Opomba: Tesnilo oljnega filtra privijte tako, da se dotika motorja, nato
pa ga privijte še za dodatne ¾ obrata.
-
Počasi
nalijte približno 80 % predpisanega olja v cev za dolivanje,
nato pa počasi dolivajte olje do oznake Full (polno).
-
Odpadno olje
zavrzite skladno z lokalnimi predpisi.
Servisiranje vžigalne svečke
Pred namestitvijo
vžigalne svečke preverite, ali je razmik med sredinsko
in stransko elektrodo ustrezen. Vžigalne svečke odstranjujte
in vstavljajte s ključem za vžigalne
svečke, razmik med poloma pa izmerite z merilnikom vrzeli ali
merilnim lističem. Po potrebi namestite
novo vžigalno svečko.
Tip: Champion® XC12YC
Zračna vrzel: 0,76 mm
Odstranjevanje vžigalne svečke
-
Stroj parkirajte
na ravni površini, izklopite stikalo za upravljanje rezil in
ročici za nadzor vožnje premaknite navzven v
parkirni položaj.
-
Ugasnite
motor, odstranite ključ in počakajte, da se vsi premikajoči
se deli ustavijo, preden zapustite upravljavčev položaj.
-
Očistite
predel okrog ohišja vžigalne svečke, da preprečite
onesnaženje motorja s prahom in umazanijo.
-
Odstranite
vžigalno svečko.
Preverjanje vžigalne svečke
Ne poskušajte očistiti
vžigalne svečke. Vedno zamenjajte vžigalno svečko,
če opazite, da je počrnela, sta elektrodi izrabljeni,
če je prekrita z oljnim slojem
ali razpokana.
Če je izolator svetlo rjave
ali sive barve, motor pravilno deluje. Če je izolator črne
barve, je to običajno znak, da je filter
za zrak umazan.
-
Vrzel nastavite
na 0,75 mm.
Nameščanje vžigalne svečke
Čiščenje ohišja
puhalnika
-
Za zagotavljanje
pravilnega hlajenja pazite, da so mreža za travo, hladilna rebra
in druge zunanje površine motorja vedno
čiste. Pazite, da so nameščeni hladilni okrovi.
Vijake ohišja puhalnika zategnite s 4,0 N·m.
Delo
s strojem z blokirano mrežo za travo, umazanimi ali zamašenimi
hladilnimi rebri in/ali odstranjenimi hladilnimi okrovi
povzroči poškodbe stroja zaradi
pregrevanja.
Vzdrževanje sistema za gorivo
 |
Nevarnost |
|
V določenih pogojih je gorivo
zelo vnetljivo in eksplozivno. Požar ali eksplozija zaradi goriva
ima lahko hude posledice za vas in druge osebe
v bližini, kot so opekline in premoženjska škoda.
Zamenjava filtra za gorivo
-
Stroj parkirajte
na ravni površini, izklopite stikalo za upravljanje rezil in
ročici za nadzor vožnje premaknite navzven v
parkirni položaj.
-
Ugasnite
motor, odstranite ključ in počakajte, da se vsi premikajoči
se deli ustavijo, preden zapustite upravljavčev položaj.
-
Z objemkami
pritrdite cev za gorivo na obeh straneh filtra za gorivo.
-
Zamenjajte
filter.
Opomba: Prepričajte se, da je puščica za smer pretoka na
nadomestnem filtru usmerjena proti motorju.
Umazanega
filtra, ki ga odstranite iz dovoda za gorivo, ne namestite nazaj.
-
Odstranite
objemki, ki blokirata pretok goriva.
Vzdrževanje električnega
sistema
Varnost električnega sistema
- Pred izvajanjem popravil na stroju
odklopite kabel iz negativne priključne sponke akumulatorja.
- Zamenjavo akumulatorja opravite
v odprtem in dobro prezračenem prostoru, daleč od isker
in plamenov. Pred priključitvijo ali
odklopom akumulatorja morate odklopiti polnilnik. Nositi morate
zaščitna oblačila in uporabiti izolirana orodja.
Servisiranje akumulatorja
Odstranjevanje akumulatorja
 |
Opozorilo |
|
Akumulatorske priključne
sponke ali kovinska orodja lahko povzročijo kratek stik s kovinskimi
sestavnimi deli stroja, kar lahko privede
do iskrenja. Iskre lahko povzročijo eksplozijo plinov iz akumulatorja,
zaradi česar lahko pride do hudih telesnih
poškodb.
- Pri odstranjevanju ali nameščanju
akumulatorja ne dovolite, da se priključne sponke akumulatorja
dotaknejo kovinskih delov stroja.
- Preprečite, da se priključne
sponke akumulatorja dotaknejo kovinskih delov stroja in tako povzročijo
kratek stik.
-
Stroj parkirajte
na ravni površini, izklopite stikalo za upravljanje rezil in
ročici za nadzor vožnje premaknite navzven v
parkirni položaj.
-
Ugasnite
motor, odstranite ključ in počakajte, da se vsi premikajoči
se deli ustavijo, preden zapustite upravljavčev položaj.
-
Odklopite
negativni (črni) kabel iz priključne sponke akumulatorja.
Opomba: Shranite vse pritrdilne elemente.
 |
Opozorilo |
|
Nepravilen
odklop kablov akumulatorja lahko poškoduje stroj in kable ter
povzroči iskrenje. Iskre lahko povzročijo eksplozijo
plinov iz akumulatorja, zaradi
česar lahko pride do hudih telesnih poškodb.
- Vedno izklopite najprej negativni
(črni) akumulatorski kabel, preden izklopite pozitivni (rdeči)
kabel.
- Vedno priklopite najprej pozitivni
(rdeči) akumulatorski kabel, preden priklopite negativni (črni)
kabel.
-
Odmaknite
gumijasti čevelj s pozitivnega (rdečega) kabla.
-
Odklopite
pozitivni (rdeči) kabel s priključnega pola akumulatorja.
Opomba: Shranite vse pritrdilne elemente.
-
Odstranite
vpenjalno držalo akumulatorja in ga dvignite s podstavka akumulatorja.
G440221
-
Akumulator
-
Čevelj priključka
-
Negativna (–) priključna sponka akumulatorja
-
Krilata matica, podložka
in vijak
-
Vpenjalno držalo akumulatorja
-
Vijak, podložka in matica
-
Pozitivna (+) priključna
sponka akumulatorja
Polnjenje akumulatorja
 |
Opozorilo |
|
Pri polnjenju akumulatorja lahko
nastanejo eksplozivni plini.
Nikoli ne kadite v bližini
akumulatorja in akumulatorju ne približujte virov iskrenja in
ognja.
Akumulator mora biti vedno popolnoma
napolnjen. To je še posebej pomembno za preprečevanje
poškodb akumulatorja pri temperaturah
pod 0 °C.
-
Odstranite
akumulator s stroja.
-
Akumulator
napolnite tako, kot je navedeno v navodilih proizvajalca.
Akumulatorja
ne polnite predolgo, saj ga sicer lahko poškodujete.
G003792S
- Pozitivna
priključna sponka akumulatorja
- Negativna
priključna sponka akumulatorja
- Rdeči
(+) kabel polnilnika
- Črni
(–) kabel polnilnika
-
Ko je akumulator
popolnoma napolnjen, odklopite polnilnik iz električne vtičnice
(če je primerno), nato odklopite kabel polnilnika
s priključnih polov akumulatorja.
Čiščenje akumulatorja
Opomba: Pola in celotno ohišje akumulatorja morajo biti čisti,
saj se umazan akumulator počasi izprazni.
-
Stroj parkirajte
na ravni površini, izklopite stikalo za upravljanje rezil in
ročici za nadzor vožnje premaknite navzven v
parkirni položaj.
-
Ugasnite
motor in počakajte, da se vsi premikajoči se deli ustavijo,
preden zapustite upravljavčev položaj.
-
Odstranite
akumulator s stroja.
-
Celotno ohišje
operite z raztopino sode bikarbone in vode.
-
Akumulator
sperite s čisto vodo.
-
Za preprečevanje
korozije namažite priključne sponke in priključke
kablov z mastjo Grafo 112X (za ustvarjanje zaščitne plasti)
ali vazelinom.
-
Namestite
akumulator.
Namestitev akumulatorja
-
Akumulator
namestite na podstavek.
-
S predhodno
odstranjenimi pritrdilnimi elementi priključite pozitivni (rdeči)
kabel na pozitivno (+) priključno sponko akumulatorja.
-
S predhodno
odstranjenimi pritrdilnimi elementi priključite negativni (črni)
kabel na negativno (–) priključno sponko
akumulatorja.
-
Čevelj
rdečega priključka potisnite na pozitivni (rdeči)
priključek.
-
Akumulator
pritrdite z vpenjalnim držalom.
G440221
-
Akumulator
-
Čevelj priključka
-
Negativna (–) priključna sponka akumulatorja
-
Krilata matica, podložka
in vijak
-
Vpenjalno držalo akumulatorja
-
Vijak, podložka in matica
-
Pozitivna (+) priključna
sponka akumulatorja
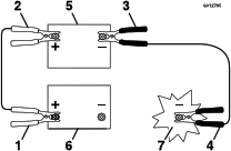
Prisilni zagon stroja
 |
Opozorilo |
|
Pri prisilnem zagonu stroja lahko
v akumulatorju nastanejo eksplozivni plini.
Nikoli ne kadite
v bližini akumulatorja in akumulatorju ne približujte
virov iskrenja in ognja.
 |
Nevarnost |
|
Prisilni zagon stroja s šibkim
akumulatorjem, ki je razpokan, zamrznjen ali ima nizko raven elektrolita
ali celico, ki je prekinjena ali v kratkem
stiku, lahko povzroči eksplozijo, ta pa lahko povzroči
hude telesne poškodbe.
Ne poskušajte izvesti prisilnega
zagona, če je akumulator v opisanem stanju.
-
Pred prisilnim
zagonom preverite in očistite korozijo s polov akumulatorja.
Prepričajte se, da sta priključka akumulatorja
dobro pritrjena.
 |
Svarilo |
|
Korozija
ali ohlapni priključki lahko kadar koli med postopkom prisilnega
zagona povzročijo neželene sunke električne napetosti.
Ne poskušajte prisilno zagnati
stroja z ohlapnimi ali korodiranimi priključki akumulatorja,
sicer lahko pride do poškodbe
motorja.
-
Zunanji akumulator
za prisilni zagon mora biti brezhiben in popolnoma napolnjen svinčev
kislinski akumulator z napetostjo 12,6 V
ali več.
Opomba: Za zmanjšanje padca napetosti med sistemoma uporabite kratka,
ustrezno debela povezovalna kabla. Kabla morata biti barvno
ali drugače označena za pravilno
polarnost.
 |
Opozorilo |
|
Akumulatorji
vsebujejo kislino in proizvajajo eksplozivne pline.
- Vedno zaščitite oči
in obraz pred akumulatorji.
- Ne sklanjajte se nad akumulator.
Opomba: Prepričajte se, da sta odzračevalna pokrovčka tesno
pritrjena in poravnana z zgornjo ploskvijo. Odzračevalne pokrovčke
obeh akumulatorjev pokrijte vlažnima
krpama, če je mogoče. Poskrbite tudi, da se stroja ne
dotikata in da sta oba električna sistema
izključena in imata enako nazivno sistemsko napetost.
Ta navodila veljajo samo za sisteme z ozemljenim negativnim polom.
-
Pozitivni
(+) kabel priključite na pozitivni (+) priključek izpraznjenega
akumulatorja, ki je priključen na zaganjalnik ali
zagonski elektromagnet, kot na prikazu:
g012785
- Pozitivni
(+) kabel na izpraznjenem akumulatorju
- Pozitivni
(+) kabel na polnilnem akumulatorju
- Negativni
(–) kabel na polnilnem akumulatorju
- Negativni
(–) kabel na bloku motorja
- Polnilni
akumulator
- Izpraznjeni
akumulator
- Blok
motorja
-
Drugi konec
pozitivnega (+) povezovalnega kabla priključite na pozitivni
pol akumulatorja na drugem stroju.
-
En konec
negativnega (–) povezovalnega kabla priključite
na negativni pol akumulatorja na drugem stroju.
-
Drugi konec
negativnega (–) povezovalnega kabla priključite
na ozemljitveno točko, na primer na nelakiran vijak ali del
šasije.
-
Zaženite
motor drugega stroja. Pustite ga teči nekaj minut, nato pa zaženite
motor svojega stroja.
-
Odstranite
kable v obratnem vrstnem redu priključitve.
-
Namestite
pokrov na povezovalni priključek.
Servisiranje varovalk
Električni
sistem je zaščiten z varovalkami. Te ne zahtevajo vzdrževanja;
če varovalka pregori, preverite sestavni del/tokokrog
za okvaro ali kratki stik.
-
Stroj parkirajte
na ravni površini, izklopite stikalo za upravljanje rezil in
ročici za nadzor vožnje premaknite navzven v
parkirni položaj.
-
Ugasnite
motor, odstranite ključ in počakajte, da se vsi premikajoči
se deli ustavijo, preden zapustite upravljavčev položaj.
-
Zamenjajte
pregorelo varovalko z novo varovalko.
G440132
- Polnilni
tokokrog (15 A)
- Glavna
(25 A)
Vzdrževanje pogonskega sistema
Preverjanje tlaka v pnevmatikah
Vzdržujte predpisani tlak
zraka v sprednjih in zadnjih pnevmatikah. Neustrezen tlak v pnevmatikah
lahko povzroči neenakomerno košnjo.
Meritev tlaka bo najnatančnejša, če jo izvedete
na steblu ventila, ko so pnevmatike ohlajene.
-
Pnevmatiki
sprednjih, samoslednih koles napolnite do 1 bar (15 psi)
oziroma do tlaka, ki je naveden na stranski steni, do
nižje izmed obeh vrednosti.
-
Pnevmatiki
zadnjih, pogonskih koles napolnite do tlaka 0,9 bar (13 psi).
Preverjanje kolesnih matic
-
Preverite
in privijte kolesne matice s predpisanim zateznim momentom 108 N∙m.
Nastavitev pogona za vožnjo
Če pri vožnji naprej
pri polni hitrosti pa ravni površini stroj vleče v eno
stran, nastavite pogon za vožnjo.
Če stroj vleče
v levo, nastavite desno ročico za nadzor vožnje; če
stroj vleče v desno, nastavite levo ročico za nadzor vožnje.
Opomba: Pogon za vožnjo lahko nastavite samo za vožnjo naprej.
-
Stroj parkirajte
na ravni površini, izklopite stikalo za upravljanje rezil in
ročici za nadzor vožnje premaknite navzven v
parkirni položaj.
-
Ugasnite
motor, odstranite ključ in počakajte, da se vsi premikajoči
se deli ustavijo, preden zapustite upravljavčev položaj.
-
Poiščite
nastavitveni vijak pogona za vožnjo, ki je ob ročici za
nadzor vožnje na strani, kjer je potrebna nastavitev.
-
Z vrtenjem
vijaka nastavite hitrost posameznega kolesa.
Opomba: Vijak premikajte počasi in naredite le majhne prilagoditve.
-
Zaženite
stroj in vozite naravnost po ravni površini, pri čemer
naj bosta ročici za nadzor vožnje potisnjeni povsem naprej.
Stroj mora peljati v ravni črti.
Postopek ponavljajte, dokler je potrebno.
Vzdrževanje jermena
Pregled jermenov
-
Stroj parkirajte
na ravni površini, izklopite stikalo za upravljanje rezil in
ročici za nadzor vožnje premaknite navzven v
parkirni položaj.
-
Ugasnite
motor in počakajte, da se vsi premikajoči se deli ustavijo,
preden zapustite upravljavčev položaj.
-
Višino
košnje nastavite na najnižjo.
-
Preverite,
ali je jermen obrabljen. Zamenjajte jermen, če je obrabljen.
Znaki obrabljenega
jermena so cviljenje med vrtenjem jermenice, zdrsavanje rezil med
košnjo, cefranje robov, ožgani in razpokani
deli jermena.
Zamenjava jermena kosilnice
Znaki obrabljenega jermena so
cviljenje med vrtenjem jermenice, zdrsavanje rezil med košnjo,
cefranje robov, ožgani in razpokani
deli jermena. Zamenjajte jermen kosilnice, če opazite katerega
koli od teh znakov.
-
Stroj parkirajte
na ravni površini, izklopite stikalo za upravljanje rezil in
ročici za nadzor vožnje premaknite navzven v
parkirni položaj.
-
Ugasnite
motor, odstranite ključ in počakajte, da se vsi premikajoči
se deli ustavijo, preden zapustite upravljavčev položaj.
-
Višino
košnje nastavite na najnižjo.
-
Odpnite zaveso
okrova kosilnice.
-
Odstranite
pokrova jermenice.
-
Odvijte matico,
ki žičnato varovalo pritrjuje na napenjalni kolut.
-
S pomočjo
orodja za odstranjevanje vzmeti (št. dela Toro 92-5771) odstranite
vzmet napenjalnega koluta z zatiča na okrovu,
da sprostite napetost napenjalnega koluta.
 |
Opozorilo |
|
Vzmet
je napeta, ko je nameščena, in lahko povzroči telesne
poškodbe.
Pri odstranjevanju jermena bodite
pazljivi.
G453682
- Jermenica
okrova
- Jermen
kosilnice
- Jermenica
motorja
- Napenjalni
kolut
- Vzmet
- Orodje
za odstranjevanje vzmeti
-
Jermen snemite
z jermenic.
-
Napeljite
novi jermen okoli jermenice motorja in zunanje jermenice.
-
Z orodjem
za odstranjevanje vzmeti zapnite vzmet napenjalnega koluta za kavelj
na okrovu nastavite napetost na napenjalnem
kolutu in jermenu kosilnice.
-
Žičnato
varovalo namestite na napenjalni vzvod, kot je prikazano, in zategnite
matico.
-
Namestite
pokrova jermenice.
-
Zategnite
vijak, s katerim je zavesa okrova kosilnice pritrjena.
Vzdrževanje okrova kosilnice
Varnost pri delu z rezili
- Redno preverjajte rezila za obrabo
ali poškodbe.
- Pri preverjanju rezil bodite zelo
pazljivi. Rezilo/a ovijte ali si nadenite rokavice ter bodite zelo
previdni, ko jih servisirate. Poškodovana
rezila lahko samo zamenjate; v nobenem primeru jih ne smete ravnati
ali variti.
- Pri strojih, ki imajo več
rezili, bodite še posebej pazljivi, saj če zavrtite eno
rezilo, se zavrtijo tudi druga rezila.
- Zamenjajte izrabljena ali poškodovana
rezila in vijake v kompletih, da ohranite ravnotežje.
Servisiranje rezil
Za zagotavljanje vrhunske
kakovosti košnje morajo biti rezila ostra. Za lažje ostrenje
in zamenjavo imejte na zalogi dodatna rezila.
Zamenjajte
rezila, če udarijo v trd predmet ali če niso v ravnovesju
oziroma so ukrivljena.
Pred pregledom ali servisiranjem rezil
-
Stroj parkirajte
na ravni površini, izklopite stikalo za upravljanje rezil in
ročici za nadzor vožnje premaknite navzven v
parkirni položaj.
-
Ugasnite
motor, odstranite ključ in počakajte, da se vsi premikajoči
se deli ustavijo, preden zapustite upravljavčev položaj.
-
Kable vžigalnih
svečk odklopite s svečk.
Preverjanje zakrivljenosti rezil
Za ta postopek mora biti stroj
na ravni podlagi.
-
Okrov kosilnice
nastavite na najvišji položaj višine košnje.
-
Nadenite
si debele rokavice ali drugo ustrezno zaščito za roke
in rezilo počasi zavrtite v položaj, ki omogoča
merjenje razdalje med rezalnim robom
in ravno površino.
-
Izmerite
razdaljo od rezila do ravne površine.
G451422
- Rezilo
(položaj za merjenje)
- Ravna
površina
- Izmerjena
razdalja med rezilom in površino (A)
-
Isto rezilo
obrnite za 180 stopinj, tako da bo na tem položaju nasprotni
rezalni rob.
G451423
- Predhodno
izmerjeni rob rezila
- Nasprotni
rob rezila
-
Izmerite
razdaljo od rezila do ravne površine.
G451422
- Rezilo
(položaj za merjenje)
- Ravna
površina
- Izmerjena
razdalja med rezilom in površino (B)
-
Če
je razlika med meritvama večja od 3 mm, zamenjajte rezilo.
Opomba: Če rezilo zamenjate z novim in je razlika še vedno večja
od 3 mm, je morda ukrivljeno vreteno rezila. Pokličite
pooblaščeni servis.
-
Ta postopek
ponovite za vsa rezila.
Odstranjevanje rezil
-
Primite konec
rezila s krpo ali debelo podloženo rokavico.
-
Odstranite
obe rezili, kot prikazuje slika.
Brušenje rezil
-
S pilo naostrite
rezalni rob na obeh koncih rezila. Prepričajte se, da je prvotni
kot
ohranjen.
Opomba: Z obeh koncev držala rezila odstranite enako količino
materiala tako, da rezilo ostane v ravnovesju.
-
Preverite
uravnoteženost rezila
tako, da ga postavite
na napravo za uravnoteženje rezil
.
Opomba: Če rezilo ostane v vodoravnem položaju, je sklop rezil
uravnotežen in pripravljen za uporabo.
Če rezilo
ni uravnoteženo, pobrusite stran nekaj materiala na težjem
koncu rezila, vendar samo na predelu, ki ima obliko jadra.
-
Ponavljajte
ta postopek, dokler rezilo ni uravnoteženo.
Namestitev rezil
 |
Opozorilo |
|
Če stroj uporabljate potem,
ko ste nepravilno namestili skop rezil in/ali niste uporabili originalnih Toro rezil in opreme
za rezila, to pomeni, da lahko rezilo ali njegov del stroj izvrže
izpod okrova in s tem povzroči hudo poškodbo
ali smrt.
Vedno namestite originalna Toro rezila in opremo
zanje, skladno z navodili.
-
Rezila namestite
tako, kot je prikazano.
Opomba: Ukrivljeni del rezila mora biti usmerjen navzgor proti notranjemu
delu kosilnice, da zagotovite pravilno košnjo.
-
Zategnite
vijak rezila z zateznim momentom od 136 do 149 N·m.
Nastavitev višine okrova
kosilnice
Vsakič,
ko namestite kosilnico ali vidite, da trava ni enakomerno pokošena,
preverite, ali je okrov kosilnice izravnan.
Priprava na nastavitev višine okrova kosilnice
-
Stroj parkirajte
na ravni površini, izklopite stikalo za upravljanje rezil in
ročici za nadzor vožnje premaknite navzven v
parkirni položaj.
-
Ugasnite
motor, odstranite ključ in počakajte, da se vsi premikajoči
se deli ustavijo, preden zapustite upravljavčev položaj.
-
Prepričajte
se, da so pnevmatike napolnjene glede na pripadajoča navodila
in da sta samosledni kolesi obrnjeni naprej.
-
Preverite,
ali so na okrovu kosilnice zakrivljena rezila; odstranite in nadomestite
zakrivljena rezila.
-
Okrov kosilnice
dvignite tako, da je višina košnje 76 mm.
Preverjanje ravni okrova kosilnice
-
Postavite
rezili eno ob drugo.
-
Izmerite
na mestih
in
z ravne površine do rezalnega
roba konic rezil
.
Razlika med meritvami ne sme biti
večja od 5 mm. Če je meritev večja, nastavite
izravnave od strani do strani.
-
Eno rezilo
naj bo vzdolžno poravnano.
-
Izmerite
na mestih
in
z ravne površine do rezalnega
roba konic rezil
.
Konica sprednjega rezila naj bo
za 1,6 do 7,9 mm nižja kot konica zadnjega rezila. Če
meritev ni pravilna, nastavite raven
vzdolžne poravnanosti.
Nastavitev višine okrova kosilnice
-
Za ta postopek
nastavite kolesca za preprečevanje poškodb travne ruše
na najvišjo lego ali pa jih popolnoma odstranite.
-
Vzvod za
nastavitev višine košnje nastavite na 76 mm.
-
Podstavite
dve kladi
debeline 6,6 cm pod vsako
stran sprednjega roba okrova.
Ne
podstavljajte ju pod kolesci za preprečevanje poškodb
travne ruše.
-
Podstavite
dve kladi
debeline 7,3 cm pod vsako
stran zadnjega roba okrova.
-
Razrahljate
spodnje pritrdilne elemente in pritrdite držala v vse 4 kote
okrova ter se prepričajte, da je okrov kosilnice
varno naslonjen na vse 4 bloke.
-
Poskrbite,
da držalo okrova ni ohlapno in se prepričajte, da je nožna
ročica za dvig okrova potisnjena nazaj proti omejevalniku.
-
Zategnite
vse pritrdilne elemente.
-
Poskrbite,
da bodo bloki tesno podstavljeni pod robom okrova in da bodo vsi vijaki
priključka tesno priviti.
-
Preverite
prečno in vzdolžno poravnanost stroja. Ponavljajte ta
postopek, dokler meritve ne bodo v okviru predpisanih.
Odstranjevanje okrova kosilnice
-
Stroj parkirajte
na ravni površini, izklopite stikalo za upravljanje rezil in
ročici za nadzor vožnje premaknite navzven v
parkirni položaj.
-
Ugasnite
motor, odstranite ključ in počakajte, da se vsi premikajoči
se deli ustavijo, preden zapustite upravljavčev položaj.
-
Vzvod za
nastavitev višine košnje premaknite v najnižji položaj.
-
Odpnite zaveso
okrova kosilnice.
-
Odstranite
razcepko in podložko s sprednjega nosilnega droga
, nato pa drog odstranite iz držala
okrova
.
Opomba: Vse dele shranite za kasnejšo ponovno namestitev.
-
Odstranite
zgornje pritrdilne elemente, držala pritrdite na vse 4 ročice
za dvig.
-
Okrova kosilnice
potisnite nazaj, da boste lahko jermen okrova kosilnice odstranili
z jermenice motorja.
-
Okrov kosilnice
potisnite ven izpod stroja.
Namestitev okrova kosilnice
-
Stroj parkirajte
na ravni površini, izklopite stikalo za upravljanje rezil in
ročici za nadzor vožnje premaknite navzven v
parkirni položaj.
-
Ugasnite
motor, odstranite ključ in počakajte, da se vsi premikajoči
se deli ustavijo, preden zapustite upravljavčev položaj.
-
Okrov kosilnice
potisnite pod stroj.
-
Vzvod za
nastavitev višine košnje premaknite v najnižji položaj.
-
S pomočjo
prej odstranjenih pritrdilnih elementov namestite dvižne člene
na ročice za dvig okrova.
-
Pritrdite
sprednji nosilni drog
na držalo okrova
z razcepko in podložko.
-
Jermen kosilnice
namestite na jermenico motorja.
-
Zategnite
vijak, s katerim je zavesa okrova kosilnice pritrjena.
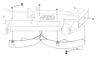
Zamenjava usmerjevalnika trave
 |
Nevarnost |
|
Nepokrita odprtina izmeta pomeni,
da lahko izvrženi predmeti priletijo proti vam ali navzočim
osebam. Poleg tega lahko pride do stika
z rezilom. Stik z rezilom ali izvrženim predmetom bo povzročil
hudo poškodbo ali smrt.
Ne upravljajte kosilnice z dvignjenim,
odstranjenim ali predelanim usmerjevalnikom, razen če je nameščen
brezhiben zbiralnik za travo ali komplet
za mulčenje.
-
Stroj parkirajte
na ravni površini, izklopite stikalo za upravljanje rezil in
ročici za nadzor vožnje premaknite navzven v
parkirni položaj.
-
Ugasnite
motor, odstranite ključ in počakajte, da se vsi premikajoči
se deli ustavijo, preden zapustite upravljavčev položaj.
-
Odpnite vzmet
iz zareze na nosilcu okrova in drog izvlecite iz privarjenih nosilcev
okrova, vzmeti in izmetnega usmerjevalnika.
G456086
- Drog
- Usmerjevalnik
trave
- Vzmet
- Držalo
okrova
- Razcepka
- Vzmet,
nameščena čez drog
-
Odstranite
poškodovani ali obrabljeni usmerjevalnik trave.
-
Novi izmetni
usmerjevalnik namestite tako, da bosta nosilna konca med privarjenima
nosilcema na okrovu, kot je prikazano.
G456085
- Nameščen
sklop droga in vzmeti
- Konec
vzmeti z zanko, zataknjen v zarezo v nosilcu usmerjevalnika
- Kratki
konec droga, premaknjen za nosilec kosilnice
- Krajši
konec, zataknjen za nosilec kosilnice
- Razcepka
-
Sklop droga
in vzmeti pritrdite tako, da ga zasučete tako, da bo krajši
zaključni kavelj zataknjen v sprednji nosilec, ki
je privarjen na okrov.
-
Namestite
razcepko v konec droga.
Usmerjevalnik
trave mora biti z vzmetjo pripet v spodnjem položaju. Dvignite
usmerjevalnik, da preverite, ali se zapre nazaj
v spodnji položaj.
Čiščenje
Odstranjevanje odpadkov
Motorno olje,
akumulatorji, hidravlična tekočina in hladilna tekočina
motorja so onesnaževalci okolja. Odpadke odstranite
v skladu z državnimi in lokalnimi predpisi.
Odpravljanje težav
Rezervoar za gorivo je videti,
kot da se bo vdrl, ali pa stroju pogosto zmanjkuje goriva.
| Možni vzrok |
Popravni ukrep |
| Papirnati vložek
filtra za zrak je zamašen.
|
-
Očistite
papirnati filtrirni vložek.
|
Motor se pregreva.
| Možni vzrok |
Popravni ukrep |
| Prevelika obremenitev motorja. |
-
Vozite počasneje.
|
| Nizka raven olja v okrovu
ročične gredi. |
-
Dolijte olje
v okrov ročične gredi.
|
| Hladilna rebra in zračni
kanali pod motorjem/ohišjem puhalnika so zamašeni. |
-
Odstranite
smeti s hladilnih reber in dovoda zraka.
|
| Filter za zrak je umazan. |
-
Očistite
ali zamenjajte vložek zračnega filtra.
|
| V sistemu za gorivo je
umazanija, voda ali staro gorivo.
|
-
Obrnite se
na pooblaščenega serviserja.
|
Zaganjalnik se ne zažene.
| Možni vzrok |
Popravni ukrep |
| Stikalo za upravljanje
rezil je vklopljeno. |
-
Izklopite
stikalo za upravljanje rezil.
|
| Ročici za nadzor
vožnje nista v parkirnem položaju. |
-
Premaknite
ročici za nadzor vožnje navzven v parkirni položaj.
|
| Akumulator je izpraznjen. |
-
Napolnite
akumulator.
|
| Električni spoji
so razjedeni ali razrahljani.
|
-
Preverite,
ali imajo električni spoji dober stik.
|
| Varovalka je pregorela. |
-
Zamenjajte
varovalko.
|
| Okvara releja ali stikala. |
-
Obrnite se
na pooblaščenega serviserja.
|
Motor se ne zažene, težave
pri zagonu ali ugašanje motorja.
| Možni vzrok |
Popravni ukrep |
| Rezervoar za gorivo je
prazen. |
-
Napolnite
rezervoar za gorivo.
|
| Dušilna loputa ni
odprta. |
-
Dušilno
loputo premaknite v položaj za vklop.
|
| Filter za zrak je umazan. |
-
Očistite
ali zamenjajte vložek zračnega filtra.
|
| Kabel vžigalne svečke
je razrahljan ali odklopljen.
|
-
Kabel priključite
na vžigalno svečko.
|
| Vžigalna svečka
je porozna, umazana ali pa je vrzel med elektrodama napačna. |
-
Vstavite
novo svečko s pravilno vrzeljo med elektrodama.
|
| V filtru za gorivo je umazanija. |
-
Zamenjajte
filter za gorivo.
|
| V sistemu za gorivo je
umazanija, voda ali staro gorivo.
|
-
Obrnite se
na pooblaščenega serviserja.
|
| V rezervoarju za gorivo
je napačno gorivo. |
-
Izpraznite
rezervoar za gorivo in ga napolnite z gorivom prave vrste.
|
| Nizka raven olja v okrovu
ročične gredi. |
-
Dolijte olje
v okrov ročične gredi.
|
Motor izgubi moč.
| Možni vzrok |
Popravni ukrep |
| Prevelika obremenitev motorja. |
-
Vozite počasneje.
|
| Filter za zrak je umazan. |
-
Očistite
vložek zračnega filtra.
|
| Nizka raven olja v okrovu
ročične gredi. |
-
Dolijte olje
v okrov ročične gredi.
|
| Hladilna rebra in zračni
kanali pod motorjem/ohišjem puhalnika so zamašeni. |
-
Odstranite
smeti s hladilnih reber in dovoda zraka.
|
| Vžigalna svečka
je porozna, umazana ali pa je vrzel med elektrodama napačna. |
-
Vstavite
novo svečko s pravilno vrzeljo med elektrodama.
|
| Prezračevalni ventil
rezervoarja za gorivo je zamašen.
|
-
Obrnite se
na pooblaščenega serviserja.
|
| V filtru za gorivo je umazanija. |
-
Zamenjajte
filter za gorivo.
|
| V sistemu za gorivo je
umazanija, voda ali staro gorivo.
|
-
Obrnite se
na pooblaščenega serviserja.
|
| V rezervoarju za gorivo
je napačno gorivo. |
-
Obrnite se
na pooblaščenega serviserja.
|
Stroja ni mogoče voziti.
| Možni vzrok |
Popravni ukrep |
| Ventila obtočnega
voda sta odprta. |
-
Zaprite obročne
ventile.
|
| Pogonski jermeni so obrabljeni,
ohlapni ali pretrgani. |
-
Obrnite se
na pooblaščenega serviserja.
|
| Pogonski jermeni so sneti
z jermenic. |
-
Obrnite se
na pooblaščenega serviserja.
|
| Okvara menjalnika. |
-
Obrnite se
na pooblaščenega serviserja.
|
Stroj se neobičajno trese.
| Možni vzrok |
Popravni ukrep |
| Rezila so ukrivljena ali
niso v ravnovesju. |
-
Namestite
nova rezila.
|
| Pritrdilni vijak rezila
je razrahljan. |
-
Privijte
pritrdilni vijak rezila.
|
| Pritrdilni vijaki motorja
so razrahljani. |
-
Privijte
pritrdilne vijake motorja.
|
| Jermenica motorja, napenjalni
kolut ali jermenica rezila je razrahljan/-a.
|
-
Privijte
ustrezno jermenico/kolut.
|
| Jermenica motorja je poškodovana. |
-
Obrnite se
na pooblaščenega serviserja.
|
| Vreteno rezila je ukrivljeno. |
-
Obrnite se
na pooblaščenega serviserja.
|
| Vpetje motorja je razrahljano
ali obrabljeno. |
-
Obrnite se
na pooblaščenega serviserja.
|
Neenakomerna višina košnje.
| Možni vzrok |
Popravni ukrep |
| Rezila niso ostra. |
-
Nabrusite
rezila.
|
| Rezila so ukrivljena. |
-
Namestite
nova rezila.
|
| Kosilnica ni izravnana. |
-
Izravnajte
kosilnico, najprej prečno, nato še vzdolžno.
|
| Kolesce za preprečevanje
poškodb travne ruše (če se uporablja) ni pravilno
nastavljeno. |
-
Nastavite
višino kolesca za preprečevanje poškodb travne ruše.
|
| Spodnja stran okrova kosilnice
je umazana. |
-
Očistite
spodnjo stran okrova kosilnice.
|
| Nepravilen tlak v pnevmatikah. |
-
Pnevmatike
napolnite do ustreznega tlaka.
|
| Vreteno rezila je ukrivljeno. |
-
Obrnite se
na pooblaščenega serviserja.
|
Rezila se ne vrtijo.
| Možni vzrok |
Popravni ukrep |
| Pogonski jermen je obrabljen,
ohlapen ali pretrgan. |
-
Namestite
nov pogonski jermen.
|
| Pogonski jermen je snet
z jermenic. |
-
Namestite
pogonski jermen ter preverite, ali so nastavljive gredi in vodila
jermena pravilno nastavljeni.
|
| Okvara stikala priključne
gredi (odjema moči) ali sklopke priključne gredi. |
-
Obrnite se
na pooblaščenega serviserja.
|
| Jermen kosilnice obrabljen,
ohlapen ali pretrgan. |
-
Namestite
nov jermen kosilnice.
|