
. Zapišite brojeve
u za to predviđenom prostoru.| Важне информације |
| Broj modela: |
Serijski broj: |

![]() |
Опасност | |
![]() |
Упозорење | |
![]() |
Пажња | |























| Model 76420
|
Model 76425
|
Model 76530
|
Model 76635
|
|
|---|---|---|---|---|
| Širina košenja |
123 cm
|
123 cm
|
137 cm
|
152 cm
|
| Širina sa spuštenim
usmerivačem |
163 cm
|
163 cm
|
178 cm
|
192 cm
|
| Širina sa podignutim usmerivačem |
138 cm
|
138 cm
|
152 cm
|
166 cm
|
| Dužina
|
208 cm
|
208 cm
|
208 cm
|
208 cm
|
| Visina
|
124 cm
|
127 cm
|
127 cm
|
127 cm
|
| Teg
|
338 kg
|
354 kg
|
354 kg
|
371 kg
|
![]() |
Упозорење | |
| Kapacitet
|
19 L |
| Tip
|
Bezolovni benzin
|
| Minimalni oktanski broj |
87 (SAD) ili 91 (istraživački
oktanski broj; izvan SAD-a)
|
| Etanol
|
Ne više od 10% zapremine |
| Metanol
|
Nijedan
|
| MTBE (metil tercijarni butil etar) |
Manje od 15% zapremine |
| Ulje
|
Ne dodavati u gorivo |
| Важне информације |
| Важне информације |

![]() |
Упозорење | |







.
.
i pritegnite dugme
.![]() |
Упозорење | |




![]() |
Упозорење | |





![]() |
Упозорење | |






| Важне информације |


![]() |
Пажња | |
![]() |
Пажња | |


![]() |
Опасност | |
![]() |
Опасност | |


![]() |
Опасност | |

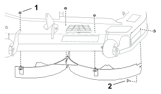
da biste podigli kućište
kosilice.
iz nosača za visinu
košenja.
.
do kraja napred da bi se kućište
kosilice blokiralo u položaju za Transport.
unapred u odblokirani položaj, a zatim polako
spustite kućište kosilice na željenu visinu košenja.
| Важне информације |
![]() |
Упозорење | |
![]() |
Упозорење | |

![]() |
Упозорење | |



![]() |
Упозорење | |
| Održavanje Servisni interval |
Procedura održavanja |
|---|---|
| Након
првих 50 сати |
Proverite obrtni moment navrtki.
|
| Пре сваке
употребе
или свакодневно |
Proverite sistem bezbednosne blokade.
|
| Proverite nivo ulja u motoru.
|
|
| Pregledajte sečiva.
|
|
| Pregledajte usmerivač za travu u potrazi za oštećenjem. |
|
| Након сваке
употребе |
Očistite travu i otpatke sa mašine. |
| Očistite kućište kosilice.
|
|
| Сваких 25 сати |
Podmažite ležajeve točkova (češće
u peskovitim uslovima zemljišta).
|
| Očistite penasti element filtera za vazduh (češće
u prašnjavim, prljavim uslovima).
|
|
| Proverite pritisak u pneumaticima.
|
|
| Proverite da li su kaiševi pohabani ili napukli. |
|
| Сваких 50 сати |
Zamenite penasti element čistača vazduha (češće
u prljavim ili prašnjavim uslovima).
|
| Сваких 100 сати |
Uklonite i očistite kućište ventilatora i sva druga
rashladna kućišta (češće u prljavim
ili prašnjavim uslovima).
|
| Zamenite linijski filter za gorivo.
|
|
| Na
svakih 100 radnih sati ili godišnje, koji se uslov
pre ispuni |
Zamenite papirni element čistača vazduha (češće
u prljavim ili prašnjavim uslovima).
|
| Zamenite motorno ulje i filtera za ulje (češće
u prljavim ili prašnjavim uslovima).
|
|
| Proverite svećicu(e).
|
|
| Сваких 500 сати |
Zamenite svećicu(e).
|
| Годишње |
Proverite obrtni moment navrtki.
|
| Пре складиштења |
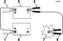
Napunite akumulator i odvojite kablove akumulatora. |
| Sve prethodno navedene postupke održavanja obavite pre skladištenja. |
|
| Ofarbajte sve površine sa oštećenom bojom. |
| Важне информације |
na okviru sa obe strane motora.
.![]() |
Упозорење | |
![]() |
Упозорење | |
| Важне информације |
.| Важне информације |


kako biste sprečili da
prljavština uđe u motor i izazove oštećenje.
ka spolja i uklonite poklopac.
.
| Важне информације |
| Важне информације |


na bazu čistača vazduha.
i pričvrstite ga pomoću
brava
.| Tip ulja
|
Deterdžentno ulje (uključujući
sintetičko) API servisne klasifikacije SJ ili više |
| Kapacitet kućišta
motora |
1,9 L sa
filterom za ulje
|
| Viskoznost |
Pogledajte donju tabelu |
![]() |
|

| Важне информације |




| Важне информације |


| Важне информације |
![]() |
Опасност | |
| Важне информације |

![]() |
Упозорење | |
![]() |
Упозорење | |

![]() |
Упозорење | |
| Важне информације |
| Важне информације |


![]() |
Упозорење | |
![]() |
Опасност | |
![]() |
Пажња | |
![]() |
Упозорење | |






![]() |
Упозорење | |








.
tako što ćete ga
staviti na balanser sečiva
.![]() |
Упозорење | |


i
od ravne površine do oštrica
na vrhovima sečiva
.
i
od ravne površine do oštrica
na vrhovima sečiva
.
, od kojih svaki ima debljinu
od 6,6 cm, ispod svake strane prednje ivice kućišta.| Важне информације |
, od kojih svaki ima debljinu
od 7,3 cm, ispod svake strane zadnje ivice kućišta.

i uklonite šipku sa nosača
kućišta
.


na nosač kućišta
pomoću rascepke i podloške.![]() |
Опасност | |


| Важне информације |
| Важне информације |
| Важне информације |
| Могући
узрок
|
Корективна
мера
|
|---|---|
| Papirni element čistača
vazduha je začepljen. |
|
| Могући
узрок
|
Корективна
мера
|
|---|---|
| Opterećenje motora
je prekomerno. |
|
| Nivo ulja u kućištu
motora je nizak. |
|
| Rashladna rebra i vazdušni
prolazi ispod kućišta ventilatora motora su začepljeni. |
|
| Čistač vazduha
je prljav. |
|
| Prljavština, voda
ili ustajalo gorivo je u sistemu goriva.
|
|
| Могући
узрок
|
Корективна
мера
|
|---|---|
| Prekidač za kontrolu
sečiva je aktiviran. |
|
| Ručice za kontrolu
kretanja nisu u položaju parkiranja.
|
|
| Akumulator je prazan. |
|
| Električni priključci
su korodirali ili labavi. |
|
| Osigurač je pregoreo. |
|
| Oštećen je
relej ili prekidač. |
|
| Могући
узрок
|
Корективна
мера
|
|---|---|
| Rezervoar za gorivo je
prazan. |
|
| Čok (ako postoji)
nije uključen. |
|
| Čistač vazduha
je prljav. |
|
| Kabl(ovi) svećice
je labav ili odvojen. |
|
| Svećica(e) je udubljena,
zaprljana ili je razmak neodgovarajući.
|
|
| U filteru za gorivo ima
prljavštine. |
|
| Prljavština, voda
ili ustajalo gorivo je u sistemu goriva.
|
|
| U rezervoaru za gorivo
se nalazi pogrešno gorivo.
|
|
| Nivo ulja u kućištu
motora je nizak. |
|
| Могући
узрок
|
Корективна
мера
|
|---|---|
| Opterećenje motora
je prekomerno. |
|
| Čistač vazduha
je prljav. |
|
| Nivo ulja u kućištu
motora je nizak. |
|
| Rashladna rebra i vazdušni
prolazi ispod kućišta ventilatora motora su začepljeni. |
|
| Svećica(e) je udubljena,
zaprljana ili je razmak neodgovarajući.
|
|
| Otvor rezervoara za gorivo
je blokiran. |
|
| U filteru za gorivo ima
prljavštine. |
|
| Prljavština, voda
ili ustajalo gorivo je u sistemu goriva.
|
|
| U rezervoaru za gorivo
se nalazi pogrešno gorivo.
|
|
| Могући
узрок
|
Корективна
мера
|
|---|---|
| Ventili za premošćavanje
su otvoreni. |
|
| Kaiševi za vuču
su pohabani, labavi ili pokidani.
|
|
| Kaiševi za vuču
su van remenica. |
|
| Prenos nije uspeo. |
|
| Могући
узрок
|
Корективна
мера
|
|---|---|
| Sečivo(a) za košenje
je/su iskrivljeno(a) ili neizbalansirano(a).
|
|
| Montažni zavrtanj
za sečivo je olabavljen.
|
|
| Montažni zavrtnjevi
za motor su olabavljeni. |
|
| Remenica motora, remenica
prenosnika ili remenica sečiva je labava.
|
|
| Oštećena je
remenica motora. |
|
| Vreteno sečiva je
iskrivljeno. |
|
| Nosač motora je olabavljen
ili pohaban. |
|
| Могући
узрок
|
Корективна
мера
|
|---|---|
| Sečivo(a) nije oštro. |
|
| Sečivo(a) za košenje
je/su iskrivljeno(a). |
|
| Kosilica nije nivelisana. |
|
| Valjak protiv struganja
(ako postoji) nije ispravno postavljen.
|
|
| Donja strana kućišta
kosilice je prljava. |
|
| Pritisak u pneumaticima
je neodgovarajući. |
|
| Vreteno sečiva je
iskrivljeno. |
|
| Могући
узрок
|
Корективна
мера
|
|---|---|
| Pogonski kaiš je
pohaban, labav ili pokidan. |
|
| Pogonski kaiš je
van remenice. |
|
| Prekidač priključnog
vratila (PTO) ili kvačilo PTO-a je neispravno.
|
|
| Kaiš kosilice je
pohaban, labav ili pokidan. |
|
