
. Kirjutage numbrid selleks
ette nähtud tühjale alale.| Tähtis |
| Mudeli number: |
Seerianumber: |

![]() |
Hädaoht | |
![]() |
Hoiatus | |
![]() |
Ettevaatust | |























| Mudel 76420
|
Mudel 76425
|
Mudel 76530
|
Mudel 76635
|
|
|---|---|---|---|---|
| Lõikelaius
|
123 cm
|
123 cm
|
137 cm
|
152 cm
|
| Laius langetatud deflektoriga |
163 cm
|
163 cm
|
178 cm
|
192 cm
|
| Laius tõstetud deflektoriga |
138 cm
|
138 cm
|
152 cm
|
166 cm
|
| Pikkus
|
208 cm
|
208 cm
|
208 cm
|
208 cm
|
| Kõrgus
|
124 cm
|
127 cm
|
127 cm
|
127 cm
|
| Kaal
|
338 kg
|
354 kg
|
354 kg
|
371 kg
|
![]() |
Hoiatus | |
| Maht
|
19 L |
| Tüüp
|
Pliivaba bensiin
|
| Minimaalne oktaanarv |
87 (USA) või 91 (uurimismeetodil
määratud oktaanarv; väljaspool USA-d)
|
| Etanool
|
Mitte rohkem kui 10 % mahuprotsenti |
| Metanool
|
Puudub
|
| MTBE (metüül-tert-butüüleeter) |
Vähem kui 15 % mahuprotsenti |
| Õli
|
Ärge lisage kütusele |
| Tähtis |
| Tähtis |

![]() |
Hoiatus | |







.
.
ja keerake nupp kinni
.![]() |
Hoiatus | |




![]() |
Hoiatus | |





![]() |
Hoiatus | |






| Tähtis |


![]() |
Ettevaatust | |
![]() |
Ettevaatust | |


![]() |
Hädaoht | |
![]() |
Hädaoht | |


![]() |
Hädaoht | |

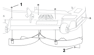
, et niiduki korpust tõsta.
lõikekõrguse pesast.
.
täielikult ette, et lukustada
niiduki korpus asendisse transport.
ette luku vabastamise asendisse. Seejärel
langetage korpus aeglaselt soovitud lõikekõrgusele.
| Tähtis |
![]() |
Hoiatus | |
![]() |
Hoiatus | |

![]() |
Hoiatus | |



![]() |
Hoiatus | |
| Hooldus Hooldusintervall |
Hooldustoimingud
|
|---|---|
| Pärast esimest 50 tundi
|
Kontrollige rattapoltide pingutusmomenti.
|
| Enne
iga kasutamist või iga päev |
Kontrollige turvalukustuse süsteemi. |
| Kontrollige mootoriõli taset.
|
|
| Kontrollige terasid. |
|
| Kontrollige, kas väljaviskedeflektor on kahjustada saanud. |
|
| Pärast iga kasutamist |
Eemaldage masinalt muru ja praht.
|
| Puhastage niiduki korpus.
|
|
| Iga 25 tunni järel |
Määrige rullikratta laagreid (liivastes tingimustes tihedamini). |
| Puhastage õhufiltri vahtelement (räpastes või tolmustes
tingimustes tihemini).
|
|
| Kontrollige rehvirõhku.
|
|
| Kontrollige, kas rihmad on kulunud või katki. |
|
| Iga 50 tunni järel
|
Vahetage õhufiltri vahtelement välja (räpastes või
tolmustes tingimustes tihedamini).
|
| Iga 100 tunni järel |
Eemaldage ja puhastage puhuri korpus ning muud jahutuskatted (räpastes
ja tolmustes tingimustes tihedamini).
|
| Vahetage jadamisi paiknev kütusefilter välja. |
|
| Iga 100 tunni järel või
iga aasta, olenevalt sellest, kumb on varasem |
Vahetage õhufiltri paberelement välja (räpastes või
tolmustes tingimustes tihedamini).
|
| Vahetage mootoriõli ja õlifilter (räpastes või
tolmustes tingimustes tihedamini).
|
|
| Kontrollige süüteküünlaid. |
|
| Iga 500 tunni järel
|
vahetage süüteküünal(-küünlad). |
| Iga aasta |
Kontrollige rattapoltide pingutusmomenti.
|
| Enne hoiustamist |
Laadige aku täis ja eemaldage akukaablid. |
| Enne hoiulepanemist teostage kõik eespool loetletud hooldustoimingud. |
|
| Värvige üle kõik kriibitud või katteta metallpinnad. |
| Tähtis |
.
).![]() |
Hoiatus | |
![]() |
Hoiatus | |
| Tähtis |
.| Tähtis |


ümbrus, et mustus
mootorisse ei satuks.
väljapoole ja eemaldage
kate.
.
| Tähtis |
| Tähtis |


õhufiltri alusele.
ja kinnitage see riividega
.| Õli tüüp |
Pesuainega õli (k.a sünteetiline),
API kvaliteediklass SJ või parem
|
| Karteri mahutavus |
1,9 L lifiltriga |
| Viskoossus |
Vt allolevast tabelist. |
![]() |
|

| Tähtis |




| Tähtis |


| Tähtis |
![]() |
Hädaoht | |
| Tähtis |

![]() |
Hoiatus | |
![]() |
Hoiatus | |

![]() |
Hoiatus | |
| Tähtis |
| Tähtis |


![]() |
Hoiatus | |
![]() |
Hädaoht | |
![]() |
Ettevaatust | |
![]() |
Hoiatus | |






![]() |
Hoiatus | |








.
tasakaalu tera tasakaalustaja
abil
.![]() |
Hoiatus | |


ja
tasasest pinnast kuni tera tippude
lõikeservani.
ja
tasasest pinnast kuni tera tippude
lõikeservani.
korpuse eesmise serva
külgede alla.| Tähtis |
korpuse tagumise serva
külgede alla.

ja eemaldage kang korpuse kronsteinilt
(
).


korpuse kronsteinile
.![]() |
Hädaoht | |


| Tähtis |
| Tähtis |
| Tähtis |
| Võimalik põhjus |
Parandusmeede |
|---|---|
| Õhufiltri paberelement
on ummistunud. |
|
| Võimalik põhjus |
Parandusmeede |
|---|---|
| Mootor on üle koormatud. |
|
| Õli tase karteris
on madal. |
|
| Jahutusribid ja õhutustorud
mootori korpuse all on ummistunud.
|
|
| Õhufilter on must. |
|
| Kütusesüsteemis
on mustus, vesi või liisunud kütus.
|
|
| Võimalik põhjus |
Parandusmeede |
|---|---|
| Terade juhtlüliti
on sisse lülitatud. |
|
| Juhthoovad ei ole seisuasendis.
|
|
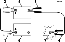
| Aku on tühi. |
|
| Elektriühendused on
roostetanud või lahti. |
|
| Kaitse on läbi põlenud. |
|
| Relee või lüliti
on kahjustada saanud. |
|
| Võimalik põhjus |
Parandusmeede |
|---|---|
| Kütusepaak on tühi. |
|
| Õhuklapp (kui saadaval)
pole sees. |
|
| Õhufilter on must. |
|
| Süüteküünla
juhtmed on lahtised või lahti ühendatud.
|
|
| Süüteküünal
on mõlkis, määrdunud või sädevahe on vale. |
|
| Kütusefiltris on mustus. |
|
| Kütusesüsteemis
on mustus, vesi või liisunud kütus.
|
|
| Kütusepaagis on vale
kütus. |
|
| Õli tase karteris
on madal. |
|
| Võimalik põhjus |
Parandusmeede |
|---|---|
| Mootor on üle koormatud. |
|
| Õhufilter on must. |
|
| Õli tase karteris
on madal. |
|
| Jahutusribid ja õhutustorud
mootori korpuse all on ummistunud.
|
|
| Süüteküünal
on mõlkis, määrdunud või sädevahe on vale. |
|
| Kütusepaagi ventilaator
on ummistunud. |
|
| Kütusefiltris on mustus. |
|
| Kütusesüsteemis
on mustus, vesi või liisunud kütus.
|
|
| Kütusepaagis on vale
kütus. |
|
| Võimalik põhjus |
Parandusmeede |
|---|---|
| Möödaviiguklapid
on lahti. |
|
| Veorihmad on kulunud, lõdvad
või katki. |
|
| Veorihmad on rihmaratastelt
maha tulnud. |
|
| Käigukast ei tööta. |
|
| Võimalik põhjus |
Parandusmeede |
|---|---|
| Lõiketera(d) on kõver(ad) või tasakaalustamata. |
|
| Tera kinnituspolt on lahti. |
|
| Mootori kinnitusmutrid
logisevad. |
|
| Mootori rihmaratas, tühikäigu
rihmaratas või tera rihmaratas on lõtv.
|
|
| Mootori rihmaratas on kahjustada
saanud. |
|
| Teravõll on kõver.
|
|
| Mootori kinnitus on lahti
või kulunud.
|
|
| Võimalik põhjus |
Parandusmeede |
|---|---|
| Tera on nüri. |
|
| Lõiketera(d) on kõver(ad).
|
|
| Niiduk ei ole loodis. |
|
| Lõikekorpuse ratas
(kui saadaval) paikneb valesti.
|
|
| Niiduki korpuse alumine
külg on määrdunud.
|
|
| Rehvirõhk on vale.
|
|
| Teravõll on kõver.
|
|
| Võimalik põhjus |
Parandusmeede |
|---|---|
| Veorihm on kulunud, lõtv
või katki. |
|
| Veorihm on rihmarattalt
maha tulnud. |
|
| Terade juhtlüliti
(PTO) või -sidur on vigane.
|
|
| Niiduki rihm on kulunud,
lõtv või katki. |
|
