
. Kirjoita numerot annettuun tilaan.| Tärkeää |
| Mallinumero: |
Sarjanumero: |

![]() |
Hengenvaara | |
![]() |
Vaara | |
![]() |
Varoitus | |























| Malli 76420
|
Malli 76425
|
Malli 76530
|
Malli 76635
|
|
|---|---|---|---|---|
| Leikkuuleveys
|
123 cm
|
123 cm
|
137 cm
|
152 cm
|
| Leveys suuntaimen ollessa ala-asennossa |
163 cm
|
163 cm
|
178 cm
|
192 cm
|
| Leveys suuntaimen ollessa yläasennossa |
138 cm
|
138 cm
|
152 cm
|
166 cm
|
| Pituus
|
208 cm
|
208 cm
|
208 cm
|
208 cm
|
| Korkeus
|
124 cm
|
127 cm
|
127 cm
|
127 cm
|
| Paino
|
338 kg
|
354 kg
|
354 kg
|
371 kg
|
![]() |
Vaara | |
| Tilavuus
|
19 litraa |
| Tyyppi
|
Lyijytön bensiini |
| Vähimmäisoktaaniluku |
87 (USA) tai 91 (tutkimusoktaani
[RON]; Yhdysvaltojen ulkopuolella)
|
| Etanoli
|
Enintään 10 % tilavuudesta |
| Metanoli
|
–
|
| MTBE (metyylitertiääributyylieetteri) |
Alle 15 % tilavuudesta |
| Öljy
|
Älä lisää
polttoaineeseen |
| Tärkeää |
| Tärkeää |

![]() |
Vaara | |







.
.
, ja kiristä nuppi
.![]() |
Vaara | |




![]() |
Vaara | |





![]() |
Vaara | |






| Tärkeää |


![]() |
Varoitus | |
![]() |
Varoitus | |


![]() |
Hengenvaara | |
![]() |
Hengenvaara | |


![]() |
Hengenvaara | |

jalalla.
leikkuukorkeuden kannattimesta.
.
täysin eteen, jotta leikkuupöytä
lukittuu Kuljetus-asentoon.
eteenpäin Lukitsematon-asentoon, ja laske leikkuupöytä
sen jälkeen hitaasti haluttuun leikkuukorkeuteen.
| Tärkeää |
![]() |
Vaara | |
![]() |
Vaara | |

![]() |
Vaara | |



![]() |
Vaara | |
| Huoltoväli |
Huoltotoimenpide
|
|---|---|
| 50 ensimmäisen käyttötunnin
jälkeen
|
Tarkista pyöränmutterien kireys.
|
| Aina ennen käyttöä
tai päivittäin
|
Tarkista turvajärjestelmän toiminta. |
| Moottoriöljyn määrän tarkistus. |
|
| Tarkasta terät. |
|
| Tarkasta, ettei suuntaimessa ole vaurioita.
|
|
| Aina käytön jälkeen |
Puhdista kone ruohosta ja roskista.
|
| Puhdista leikkuupöydän kotelo.
|
|
| 25 käyttötunnin
välein |
Rasvaa kääntöpyörien laakerit (useammin, jos
maaperä on hiekkainen).
|
| Puhdista ilmanpuhdistimen vaahtomuovipanos (useammin pölyisissä
ja likaisissa olosuhteissa).
|
|
| Tarkista rengaspaine.
|
|
| Tarkista, ettei hihnassa ole kulumia tai murtumia. |
|
| 50 käyttötunnin välein |
Vaihda ilmanpuhdistimen vaahtomuovipanos (useammin likaisissa tai
pölyisissä olosuhteissa).
|
| 100 käyttötunnin
välein |
Irrota ja puhdista puhallinkotelo ja muut mahdolliset jäähdytyssuojukset
(useammin likaisissa tai pölyisissä olosuhteissa). |
| Vaihda polttoaineputken suodatin.
|
|
| 100 käyttötunnin
välein tai kerran vuodessa
sen mukaan, kumpi saavutetaan ensin
|
Vaihda ilmanpuhdistimen paperipanos (useammin likaisissa tai pölyisissä
olosuhteissa). |
| Vaihda moottoriöljy ja öljynsuodatin (useammin likaisissa
tai pölyisissä olosuhteissa).
|
|
| Tarkista sytytystulpat.
|
|
| 500 käyttötunnin välein |
Vaihda sytytystulpat.
|
| Vuosittain |
Tarkista pyöränmutterien kireys.
|
| Ennen varastointia |
Lataa akku ja irrota akun kaapelit.
|
| Tee kaikki yllä mainitut huoltotoimenpiteet ennen varastointia. |
|
| Maalaa kuluneet pinnat.
|
| Tärkeää |
rungossa moottorin molemmilla
puolilla.
.![]() |
Vaara | |
![]() |
Vaara | |
| Tärkeää |
.| Tärkeää |


ympäristö, jotta
likaa ei pääse moottoriin aiheuttamaan vahinkoa.
ulospäin ja irrota suojus.
.
| Tärkeää |
| Tärkeää |


ilmanpuhdistimen kantaan.
paikalleen ja kiinnitä se
salvoilla
.| Öljylaatu |
Puhdistava öljy (myös
synteettinen), API-huoltoluokitus SJ tai korkeampi
|
| Kampikammion tilavuus |
1,9 l ljynsuodattimen
kanssa |
| Viskositeetti |
Katso alla oleva taulukko |
![]() |
|

| Tärkeää |




| Tärkeää |


| Tärkeää |
![]() |
Hengenvaara | |
| Tärkeää |

![]() |
Vaara | |
![]() |
Vaara | |

![]() |
Vaara | |
| Tärkeää |
| Tärkeää |


![]() |
Vaara | |
![]() |
Hengenvaara | |
![]() |
Varoitus | |
![]() |
Vaara | |






![]() |
Vaara | |








säilyy.
tasapaino asettamalla se terän
tasaimeen
.![]() |
Vaara | |


ja
vaakatasossa olevasta pinnasta
teränkärkien leikkuusärmään
.
ja
vaakatasossa olevasta pinnasta
teränkärkien leikkuusärmään
.
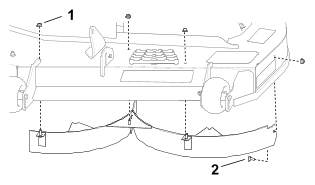
leikkuupöydän etureunan
molempien puolien alle.| Tärkeää |
leikkuupöydän takareunan
molempien puolien alle.

ja irrota tanko leikkuupöydän
kannattimesta
.


leikkuupöydän kannattimeen
sokalla ja aluslaatalla.![]() |
Hengenvaara | |


| Tärkeää |
| Tärkeää |
| Tärkeää |
| Mahdollinen syy |
Korjaustoimenpiteet |
|---|---|
| Ilmanpuhdistimen paperipanos
on tukkeutunut. |
|
| Mahdollinen syy |
Korjaustoimenpiteet |
|---|---|
| Moottori on ylikuormitettu. |
|
| Kampikammiossa on liian
vähän öljyä.
|
|
| Moottorin puhallinkotelon
alla olevat jäähdytysrivat ja ilmakanavat ovat tukossa. |
|
| Ilmanpuhdistin on likainen. |
|
| Polttoainejärjestelmässä
on likaa, vettä tai vanhentunutta polttoainetta. |
|
| Mahdollinen syy |
Korjaustoimenpiteet |
|---|---|
| Teräkytkin on kytkettynä. |
|
| Liikkeenohjausvivut eivät
ole Pysäköinti-asennossa.
|
|
| Akussa ei ole latausta. |
|
| Sähköliitännät
ovat ruostuneet tai löystyneet.
|
|
| Sulake on palanut. |
|
| Rele tai kytkin on vaurioitunut. |
|
| Mahdollinen syy |
Korjaustoimenpiteet |
|---|---|
| Polttoainesäiliö
on tyhjä. |
|
| Rikastin (jos on) ei ole
käytössä. |
|
| Ilmanpuhdistin on likainen. |
|
| Sytytystulpan johdot ovat
löysällä tai irronneet.
|
|
| Sytytystulppa on syöpynyt
tai likainen, tai sen kärkiväli on väärä. |
|
| Polttoainesuodattimessa
on likaa. |
|
| Polttoainejärjestelmässä
on likaa, vettä tai vanhentunutta polttoainetta. |
|
| Polttoainesäiliössä
on vääränlaista polttoainetta.
|
|
| Kampikammiossa on liian
vähän öljyä.
|
|
| Mahdollinen syy |
Korjaustoimenpiteet |
|---|---|
| Moottori on ylikuormitettu. |
|
| Ilmanpuhdistin on likainen. |
|
| Kampikammiossa on liian
vähän öljyä.
|
|
| Moottorin puhallinkotelon
alla olevat jäähdytysrivat ja ilmakanavat ovat tukossa. |
|
| Sytytystulppa on syöpynyt
tai likainen, tai sen kärkiväli on väärä. |
|
| Polttoainesäiliön
ilmareikä on tukossa. |
|
| Polttoainesuodattimessa
on likaa. |
|
| Polttoainejärjestelmässä
on likaa, vettä tai vanhentunutta polttoainetta. |
|
| Polttoainesäiliössä
on vääränlaista polttoainetta.
|
|
| Mahdollinen syy |
Korjaustoimenpiteet |
|---|---|
| Ohitusventtiilit ovat auki. |
|
| Vetohihnat ovat kuluneet,
löysällä tai rikkinäiset.
|
|
| Vetohihnat ovat irti hihnapyöriltä. |
|
| Vaihteisto ei toimi. |
|
| Mahdollinen syy |
Korjaustoimenpiteet |
|---|---|
| Leikkuuterä(t) on
taipunut / ovat taipuneet tai epätasapainossa. |
|
| Terän kiinnityspultti
on löysällä. |
|
| Moottorin kiinnityspultit
ovat löysällä.
|
|
| Moottorin hihnapyörä,
kiristinpyörä tai terän hihnapyörä on löysällä. |
|
| Moottorin hihnapyörä
on vaurioitunut. |
|
| Terän kara on taipunut. |
|
| Moottorin pidin löysällä
tai kulunut. |
|
| Mahdollinen syy |
Korjaustoimenpiteet |
|---|---|
| Terät ovat tylsiä. |
|
| Leikkuuterät ovat
taipuneet. |
|
| Leikkuri ei ole tasassa. |
|
| Nurmisuojarullaa (jos on)
ei ole asetettu oikein. |
|
| Leikkuupöydän
alapuoli on likainen. |
|
| Väärä rengaspaine. |
|
| Terän kara on taipunut. |
|
| Mahdollinen syy |
Korjaustoimenpiteet |
|---|---|
| Käyttöhihna on
kulunut, löysällä tai rikkinäinen. |
|
| Käyttöhihna on
irti hihnapyörältä.
|
|
| Voimanulosoton (PTO) kytkin
tai PTO-kytkin on viallinen. |
|
| Leikkurin hihna on kulunut,
löysällä tai rikkinäinen.
|
|
