The safety-alert symbol (Figure 1) shown in this manual and on the machine identifies important safety messages that you must follow to prevent accidents.

The safety-alert symbol appears above information that alerts you to unsafe actions or situations and is followed by the word DANGER, WARNING, or CAUTION.
DANGER indicates an imminently hazardous situation which, if not avoided, will result in death or serious injury.
WARNING indicates a potentially hazardous situation which, if not avoided, could result in death or serious injury.
CAUTION indicates a potentially hazardous situation which, if not avoided, may result in minor or moderate injury.
This manual uses two other words to highlight information. Important calls attention to special mechanical information and Note emphasizes general information worthy of special attention.
![]() |
Safety decals and instructions are easily visible to the operator and are located near any area of potential danger. Replace any decal that is damaged or missing. |

Note: Determine the left and right sides of the machine from the normal operating position.
Park the machine on a level surface.
Disengage the blade-control switch.
Move the motion-control levers to the NEUTRAL-LOCK position.
Engage the parking brake.
Shut off the machine and remove the key.
Wait for all moving parts to stop.
Parts needed for this procedure:
| Receiver assembly | 1 |
| Leg assembly | 1 |
| Gusset plate | 2 |
| Attach pin | 1 |
| Hitch pin | 1 |
| Cotter pin | 1 |
| Hair pin (1/2 inch shaft) | 1 |
| Bolt (1/2 x 3-1/2 inches) | 4 |
| Washer | 4 |
| Nut | 4 |
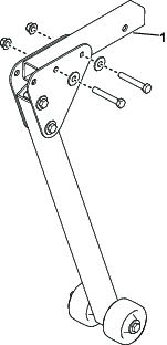
Install the 2 gusset plates to the leg assembly by loosely installing the bolts (1/2 x 3-1/2 inches), washers, and nuts.

Install the receiver to the gusset plates by loosely installing the bolts, washers, and nuts.

Torque the fasteners to 91 to 112.5 N∙m (67 to 83 ft-lb).
Install the hitch pin to the gusset plates and secure it with a hair pin (1/2 inch shaft).

Install the attach pin to the receiver assembly and secure it with a cotter pin.

Lift the A-frame and insert the service stand into the frame. Secure the kit with the attach and cotter pins.

The machine could fall onto someone and cause serious injury or death.
Do not keep the machine raised on the service stand for extended periods of time.
Always use the service stand on a level surface.
Ensure that the service stand is secured properly to the mount using the pins.
Do not rely solely on the service stand for support. Use adequate jack stands or equivalent support.
Do not mount or dismount the mower while the service stand is raised.
Before each use, ensure that the service stand works properly and that there are no signs of damage.
Raising the machine could cause a fuel leak. Fuel is extremely flammable and highly explosive.
Check for any fuel leaks before performing maintenance.
If you see a fuel leak, immediately lower the machine, drain the fuel, and wipe up the spill.
Park the machine on a level surface, disengage the blade-control switch, move the operator platform to the storage position, and engage the parking brake.
Raise the mower deck to the TRANSPORT position.
Attach the service stand to the A-frame using the attach and cotter pins.

Lower the A-frame until the machine is raised. Insert the hitch pin into the frame lock and through the service stand to lock the stand in place. Install the hair pin (1/2 inch shaft) into hitch pin.

Shut off the engine, remove the key, and wait for all moving parts to stop.
Support the machine with jack stands; refer to the machine Operator’s Manual for jack stand placement.
When finished, raise the A-frame and remove the service stand.
Note: Do not operate the machine with the service stand attached except to raise or lower the A-frame.