| Cadenza di manutenzione | Procedura di manutenzione |
|---|---|
| Prima di ogni utilizzo o quotidianamente |
|
Questo è un tosaerba con lama a trincia dotato di postazione per l'operatore, destinato all'uso da parte di professionisti e operatori del verde in applicazioni commerciali. Il suo scopo è quello di tagliare l'erba di tappeti erbosi ben tenuti. L'utilizzo di questo prodotto per scopi non conformi alle funzioni per cui è stato concepito può essere pericoloso per voi e gli astanti.
Leggete attentamente il presente manuale al fine di utilizzare e mantenere correttamente il prodotto ed evitare infortuni e danni. Siete responsabili dell'utilizzo del prodotto in maniera corretta e sicura.
Visitate il sito www.toro.com/it-it per maggiori informazioni, compresi suggerimenti sulla sicurezza, materiali di formazione, informazioni sugli accessori, assistenza nella localizzazione di un rivenditore o per registrare il vostro prodotto.
Per assistenza, ricambi originali Toro o ulteriori informazioni, rivolgetevi a un Distributore Toro autorizzato o ad un Centro Assistenza Toro ed abbiate sempre a portata di mano il numero del modello ed il numero di serie del prodotto. La Figura 1 indica la posizione del numero del modello e del numero di serie sul prodotto. Scrivete i numeri negli spazi previsti.
Important: Con il vostro dispositivo mobile, potete scansionare il codice QR sull'adesivo del numero di serie (se presente) per accedere a informazioni su garanzia, ricambi e altre informazioni sui prodotti.

Questo prodotto è conforme a tutte le direttive europee pertinenti. Per informazioni dettagliate, consultate la Dichiarazione di Conformità (DICO) specifica del prodotto, fornita a parte.
Questo prodotto è in grado di amputare mani e piedi, e di scagliare oggetti.
Leggete e comprendete il contenuto di questo Manuale dell'operatore prima di avviare il motore.
Prestate la massima attenzione mentre utilizzate la macchina. Non svolgete nessuna attività che vi possa distrarre; in caso contrario potrebbero verificarsi infortuni o danni.
Non infilate le mani o i piedi accanto alle parti in movimento della macchina.
Non utilizzate la macchina senza che tutti gli schermi e gli altri dispositivi di protezione siano montati e funzionanti.
Tenete lontani gli astanti e i bambini dall'area operativa. Non consentite mai che l'uso della macchina a ragazzi e bambini.
Spegnete il motore, togliete la chiave e attendete che tutte le parti in movimento si arrestino prima di abbandonare la posizione dell'operatore. Lasciate raffreddare la macchina prima di eseguire interventi di regolazione, manutenzione, pulizia o prima del rimessaggio.
Il simbolo di avviso di sicurezza (Figura 2) che compare sia in questo manuale sia sulla macchina richiama la vostra attenzione su importanti messaggi di sicurezza di cui dovrete seguire le indicazioni per evitare incidenti.

Il simbolo di avvertimento compare sopra l'informazione che vi avverte di azioni o situazioni non sicure ed è seguito dalla parola PERICOLO, AVVERTENZA o ATTENZIONE.
PERICOLO indica una situazione di pericolo imminente che, se non evitata, determina la morte o gravi infortuni.
AVVERTENZA indica una situazione di pericolo potenziale che, se non evitata, potrebbe determinare la morte o gravi infortuni.
ATTENZIONE indica una situazione di pericolo potenziale che, se non evitata, potrebbe determinare la morte o lievi infortuni.
Per evidenziare le informazioni vengono utilizzate anche altre due parole. Importante indica informazioni meccaniche di particolare importanza e Nota evidenzia informazioni generali di particolare rilevanza.
![]() |
Gli adesivi di sicurezza e quelli con le istruzioni sono chiaramente visibili e sono affissi accanto a zone particolarmente pericolose. Sostituite eventuali adesivi danneggiati o mancanti. |























Conservate tutta la documentazione in un luogo sicuro per utilizzarla in futuro.
Note: Stabilite i lati sinistro e destro della macchina rispetto alla normale posizione di guida.


Utilizzate l’interruttore a chiave per controllare il motore e fornire alimentazione a determinati componenti elettrici.

Utilizzate l’interruttore della trasmissione degli apparati di taglio per far funzionare o spegnere gli apparati di taglio (Figura 4).
Note: Quando guidate la macchina da un sito di lavoro ad un altro, mettete sempre l’interruttore della trasmissione degli apparati di taglio in posizione OFF.
Utilizzate gli interruttori di comando di sollevamento per sollevare e abbassare gli apparati di taglio (Figura 4).
Utilizzate l’interruttore del regime del motore per controllare il regime del motore.
L’interruttore di regime del motore (Figura 4) ha 2 modalità che consentono di modificare il regime del motore stesso.
Premete per poco tempo l’interruttore per modificare il regime del motore con incrementi di 100 giri/min.
Premete e tenete premuto l’interruttore in avanti per modificare il regime del motore al MINIMO ACCELERATO.
Premete e tenete premuto l’interruttore indietro per modificare il regime del motore al MINIMO.
Il freno di stazionamento agisce solo sulle ruote anteriori, e potrebbe non impedire alla macchina di scivolare giù da un terreno in pendenza. La macchina potrebbe muoversi accidentalmente.
Non parcheggiate la macchina in pendenza.

Per inserire il freno di stazionamento, fate scorrere il pulsante di blocco piccolo posto nella parte superiore dell’interruttore verso dietro e premete l’interruttore in avanti (Figura 6).
Note: L’icona del freno di stazionamento viene visualizzata nell’InfoCenter.
Per disinserire il freno di stazionamento, premete l’interruttore verso dietro.
La trasmissione idraulica fornisce alla macchina un effetto di frenatura di servizio. Quando vengono rilasciati i pedali di trazione di avanzamento o retromarcia o viene ridotto il regime del motore, la trasmissione produce un effetto di frenatura di servizio e la velocità al suolo diminuisce, o la macchina si arresta. Per aumentare l’effetto frenante della trasmissione, portate il pedale della trasmissione in posizione FOLLE. Solo le ruote anteriori forniscono un effetto di frenatura di servizio.
Il sistema di frenatura di servizio non impedisce alla macchina di muoversi quando è parcheggiata. La macchina potrebbe muoversi accidentalmente.
Inserite il freno di stazionamento quando parcheggiate la macchina.
Se il freno di servizio è danneggiato o non funzionante, spegnete il motore, inserite il freno di stazionamento, rimuovete la chiave e fate riparare la macchina.
Trazione di avanzamento: Premete il pedale di trazione di avanzamento per guidare la macchina in avanti e aumentare la velocità al suolo. Lasciate andare il pedale per ridurre la velocità al suolo (Figura 7).
Trazione di retromarcia: Premete il pedale di trazione di retromarcia per guidare la macchina verso dietro e aumentare la velocità al suolo. Lasciate andare il pedale per ridurre la velocità al suolo (Figura 7).
Arresto (folle): Per arrestare la macchina, utilizzate una delle seguenti procedure:
Riducete la pressione sul pedale di trazione e lasciate che torni in posizione di folle. La macchina frenerà dinamicamente fino ad arrestarsi in modo fluido.
Premete o tenete premuto brevemente il pedale di retromarcia. In questo modo la macchina si arresterà in modo più rapido rispetto alla frenata dinamica.

Regolate il volante e il piantone solo quando la macchina è parcheggiata su una superficie pianeggiante.
Per inclinare il volante, premete il pedale.
Posizionate la colonna dello sterzo nella posizione più comoda, quindi lasciate andare il pedale (Figura 8).

Spostate la leva verso l’alto per regolare la posizione del sedile in avanti o indietro. Lasciate andare la leva per bloccare il sedile in posizione (Figura 9).

Ruotate la maniglia in senso orario per aumentare la resistenza della sospensione e in senso antiorario per diminuirla. Il quadrante indica quando la sospensione del sedile è regolata per il peso dell’operatore (kg); fate riferimento a Figura 10.

Per regolare l’altezza del sedile in modo incrementale, sollevate manualmente il sedile. Per abbassare il sedile, sollevatelo oltre la posizione più alta, fatelo scendere fino alla posizione più bassa, e se necessario sollevate manualmente il sedile fino a raggiungere l’altezza desiderata (Figura 11).

Tirate la maniglia verso l’esterno per regolare l’angolo dello schienale del sedile. Lasciate andare la leva per bloccare lo schienale del sedile in posizione (Figura 12).

L'indicatore di livello del carburante mostra la quantità di carburante nel serbatoio (Figura 13).

Sollevate gli apparati di taglio nella posizione TRASPORTO e fissate i perni dei fermi dei bracci ai fermi con delle fascette (Figura 14).

Sollevate gli apparati di taglio nella posizione TRASPORTO, sollevate il braccio del fermo per il braccio dell’apparato di taglio posteriore, e posizionate il braccio all’interno (Figura 15).

Note: Specifiche e disegno sono soggetti a variazione senza preavviso.
| Specifica | LT-F3000 |
| Larghezza di trasferimento | 157,5 cm |
| Larghezza di taglio | Da 76 cm a 212 cm |
| Altezza di taglio | Da 20 mm a 75 mm |
| Lunghezza | 300 cm |
| Altezza | 168 cm con il ROPS giù |
| 216 cm con roll-bar di protezione (ROPS) alzato | |
| 209 cm con cabina | |
| Peso (senza carburante o accessori) | 1436 kg con ROPS |
| 1636 kg con cabina | |
| Motore | Yanmar 3TNV86CT 32,4 kW (43,4 cv) a 3000 giri/min |
| Capacità del serbatoio del carburante | 60 litri |
| Velocità di trasferimento | 25 km/h |
| Velocità di lavoro | 11 km/h |
| Capacità del circuito idraulico | 32 litri |
| Regime del motore | 3000 giri/min |
| Velocità del rotore | 3000 giri/min |
Per ottimizzare e ampliare le applicazioni della macchina, è disponibile una gamma di attrezzi e accessori approvati da Toro per l'uso con la macchina. Contattate il vostro Centro assistenza autorizzato o distributore Toro autorizzato o consultate il sito www.toro.com/it-it per un elenco di tutti gli attrezzi e accessori approvati.
Per garantire prestazioni ottimali e mantenere sempre la macchina in conformità alle norme di sicurezza, utilizzate esclusivamente ricambi e accessori originali Toro. Ricambi e accessori di altri produttori potrebbero risultare pericolosi e il loro impiego potrebbe far decadere la garanzia del prodotto.
Non consentite l'uso e la manutenzione della macchina a ragazzi, bambini o adulti senza adeguata formazione. Le normative locali possono imporre limiti all'età dell'operatore. Il proprietario è responsabile della formazione di tutti gli operatori e i meccanici.
Familiarizzate con il funzionamento sicuro dell'apparecchiatura, dei comandi dell'operatore e degli adesivi di sicurezza.
Prima di abbandonare la posizione dell'operatore, effettuate quanto segue:
Parcheggiate la macchina su un terreno pianeggiante.
Sganciate le unità di taglio e abbassatele.
Inserite il freno di stazionamento.
Spegnete il motore e togliete la chiave.
Attendete che tutte le parti in movimento si arrestino.
Lasciate raffreddare la macchina prima di eseguire interventi di regolazione, manutenzione, pulizia o prima del rimessaggio.
Imparate come arrestare la macchina e spegnere rapidamente il motore.
Non utilizzate la macchina senza che tutti gli schermi e gli altri dispositivi di protezione siano montati e funzionanti.
Prima della tosatura, ispezionate sempre la macchina per garantire che gli apparati di taglio siano in buone condizioni operative.
Ispezionate l'area dove utilizzerete la macchina e rimuovete tutti gli oggetti che potrebbero essere scagliati via dalla macchina.
Questo prodotto genera un campo elettromagnetico. Se indossate un dispositivo medico elettronico impiantabile, consultate il vostro medico prima di utilizzare il prodotto.
Prestate estrema cautela quando maneggiate il carburante. È infiammabile e produce vapori esplosivi.
Spegnete sigarette, sigari, pipe e altre fonti di ignizione.
Utilizzate soltanto taniche per carburanti approvate.
Non rimuovete il tappo del carburante e non rabboccate il serbatoio del carburante mentre il motore è in funzione o è caldo.
Non rabboccate e non spurgate il carburante in uno spazio chiuso.
Non rimessate la macchina o la tanica del carburante in luoghi con presenza di fiamme libere, scintille o fiamme pilota, ad es. scaldabagni o altri apparecchi.
I casi di fuoriuscite di carburante, non tentate di avviare il motore ed evitate di creare fonti di ignizione fino a quando i vapori di carburante non si siano dissipati.
Ogni giorno, prima di avviare la macchina, effettuate le procedure Ogni utilizzo/Giornaliere elencate in .
60 litri
Important: Utilizzate solamente gasolio con un contenuto di zolfo molto bassa. Il carburante con valori superiori di zolfo degrada il catalizzatore dell'ossidazione del diesel (DOC), causando problemi operativi e abbreviando la durata operativa dei componenti del motore.La mancata osservanza delle seguenti precauzioni può danneggiare il motore.
Non utilizzate mai cherosene o benzina al posto di carburante diesel.
Non miscelate mai cherosene o olio motore già usato con il gasolio.
Non conservate mail il carburante in contenitori con rivestimento interno in zinco.
Non utilizzate additivi per il carburante.
Valore nominale di cetano: 45 o superiore
Contenuto di zolfo: zolfo ultra basso (<15 ppm)
| Specifiche del carburante diesel | Posizione |
| ASTM D975 | USA |
| N. 1-D S15 | |
| N. 2-D S15 | |
| EN 590 | Unione europea |
| ISO 8217 DMX | Internazionale |
| JIS K2204 grado n. 2 | Giappone |
| KSM-2610 | Corea |
Utilizzate solo carburante diesel o carburanti biodiesel freschi e puliti.
Acquistate il carburante in quantità tali che ne consentano il consumo entro 180 giorni in modo da garantirne la freschezza.
Utilizzate gasolio per uso estivo (n. 2-D) a temperature superiori a -7 °C e gasolio per uso invernale (n. 1-D o miscela n. 1-D/2-D) a temperature inferiori a -7 °C.
Note: L'uso di carburante per uso invernale a basse temperature assicura un punto di infiammabilità inferiore e caratteristiche di flusso a freddo che agevolano l'avvio e riducono la chiusura del filtro del carburante.L'uso del carburante per uso estivo a temperature superiori a -7 °C contribuisce a una più lunga durata della pompa del carburante e a una maggiore potenza rispetto al carburante per uso invernale.
Questa macchina può anche funzionare con una miscela di biodiesel fino a B20 (20% biodiesel, 80% gasolio).
Contenuto di zolfo: zolfo ultra basso (<15 ppm)
Specifiche del carburante biodiesel: ASTM D6751 o EN 14214
Specifiche della miscela di carburante: ASTM D975, EN 590 o JIS K2204
Important: La porzione di diesel deve avere un contenuto ultra basso di zolfo.
Prendete le seguenti precauzioni:
Le miscele di biodiesel possono danneggiare le superfici verniciate.
In caso di condizioni atmosferiche fredde utilizzate miscele B5 (contenuto di biodiesel pari al 5%) o inferiori.
Monitorate le guarnizioni di tenuta, i flessibili e le guarnizioni a contatto con il carburante, poiché con il tempo potrebbero degradarsi.
Dopo la conversione a miscele di biodiesel può verificarsi una chiusura del filtro del carburante.
Contattate il vostro distributore Toro autorizzato per ulteriori informazioni sul biodiesel.
Parcheggiate la macchina su una superficie pianeggiante, abbassate gli apparati di taglio, spegnete il motore, inserite il freno di stazionamento e togliete la chiave.
Utilizzando un panno pulito, pulite attorno al tappo del serbatoio del carburante.
Togliete il tappo dal serbatoio carburante (Figura 16).

Riempite il serbatoio fino a quando il livello non è 25 mm sotto la base del collo del bocchettone.
Dopo aver riempito il serbatoio, serrate a fondo il tappo.
Note: Se possibile, riempite il serbatoio del carburante ogni volta che utilizzate la macchina. In tal modo ridurrete al minimo l'accumulo di condensa all'interno del serbatoio.
| Cadenza di manutenzione | Procedura di manutenzione |
|---|---|
| Prima di ogni utilizzo o quotidianamente |
|
A motore spento, azionate i pedali della trazione avanti e indietro spostandoli fino al finecorsa e verificate che il meccanismo torni liberamente in posizione di FOLLE.
| Cadenza di manutenzione | Procedura di manutenzione |
|---|---|
| Prima di ogni utilizzo o quotidianamente |
|
Sedetevi sul sedile dell'operatore e avviate il motore.
Abbassate al suolo gli apparati di taglio.
Impostate l’interruttore della trasmissione dell’apparato di taglio in posizione di taglio.
Alzatevi dal sedile dell’operatore e verificate che gli apparati di taglio si arrestino dopo un ritardo iniziale di 0,5–1 secondo.
Spegnete il motore.
Spostate l’interruttore della trasmissione degli
apparati di taglio in posizione OFF e ruotate
la chiave di accensione in posizione START
. Il motore
si deve avviare.
Spostate l’interruttore della trasmissione degli
apparati di taglio in posizione di taglio e ruotate la chiave di accensione
in posizione START
. Il motore non dovrebbe
avviarsi.
Spegnete il motore.
Inserite il freno di stazionamento.
Ruotate la chiave di accensione in posizione di funzionamento-preriscaldamento
. L’interruttore del
freno di stazionamento si illumina e l’icona del freno di stazionamento
viene visualizzata nell’InfoCenter.
Disinserite il freno di stazionamento; la spia e l’icona
del freno di stazionamento si spengono. Il motore non dovrebbe avviarsi
quando viene ruotata la chiave di accensione in posizione START
.
Inserite il freno di stazionamento, sedetevi sul sedile dell'operatore e avviate il motore.
Disinserite il freno di stazionamento.
Alzatevi dal sedile dell'operatore e verificate che il motore si spenga.
Important: Accertatevi con estrema attenzione che l’area attorno alla macchina sia sgombra prima di controllare che il motore non si avvii quando si controlla il microinterruttore di sicurezza della folle.
Spegnete il motore.
Togliete il piede dai pedali di trazione avanti/indietro.
Ruotate la chiave di accensione in posizione di funzionamento-preriscaldamento
. L’icona della folle
della trasmissione
viene visualizzata nell’InfoCenter.
Applicate una leggera pressione ai pedali di trazione in direzione di avanzamento e di retromarcia per verificare che l’icona della folle della trasmissione non sia visualizzata nell’InfoCenter.
Il display mostra i dati relativi alla macchina, come lo stato operativo, le varie diagnostiche e altre informazioni sulla macchina stessa. Sul display sono presenti varie schermate. Potete passare da una schermata all'altra in qualsiasi momento premendo il pulsante Indietro e utilizzando i pulsanti di navigazione su e giù.

Note: Lo scopo di ogni pulsante può variare a seconda della necessità del momento. Ogni pulsante è contrassegnato con un'icona che ne visualizza la funzione corrente.
![]() | Contaore |
![]() | È necessario effettuare la revisione |
![]() | Le candele sono attive |
![]() | L'operatore deve essere seduto alla guida |
![]() | Il freno di stazionamento è inserito |
![]() | Temperatura del refrigerante motore (°C o °F) |
![]() | Avviate il motore |
![]() | Motore |
![]() | È necessario eseguire una rigenerazione parcheggiata o di recupero. |
| Eseguite immediatamente la rigenerazione. | |
![]() | La rigenerazione è stata riconosciuta e la richiesta è in elaborazione. |
![]() | La rigenerazione è in corso e la temperatura di scarico è elevata. |
![]() | Avaria del sistema di controllo NOx; la macchina necessita di manutenzione. |
![]() | La presa di forza è disabilitata |
![]() | La PDF è innestata. |
![]() | Tensione batteria |
![]() | Avvertenza |
![]() | Attivo |
![]() | Inattivo |
![]() | Precedente |
![]() | Successiva |
![]() | Aumento |
![]() | Riduzione |
![]() | Schermata precedente |
![]() | Schermata successiva |
![]() | Aumenta valore |
![]() | Riduci valore |
![]() | Menu |
![]() | Scorri in su/giù |
![]() | Scorri a sinistra/destra |
![]() | Bloccato |
Per accedere al sistema di menu del display dell’InfoCenter, premete il pulsante Indietro dalla schermata principale. Si passa così al Menu principale. Consultate le seguenti tabelle per un riepilogo delle opzioni disponibili nei menu.
Impostazioni
protette nei Menu Protected – accessibili solo inserendo il
PIN
| Voce del menu | Descrizione |
| Faults | Il menu Faults (Guasti) contiene un elenco dei guasti recenti della macchina. Consultate il Manuale di manutenzione o contattate il distributore Toro autorizzato per maggiori informazioni sul menu Faults (Guasti) e sulle informazioni in esso contenute. |
| Service | Il menu Service (Manutenzione) contiene dati sulla macchina, come il contatore delle ore di utilizzo e altri valori analoghi. |
| Diagnostics | Il menu Diagnostics (Diagnostica) mostra lo stato di ogni interruttore, sensore e uscita di controllo della macchina. Si può utilizzare per risolvere determinate problematiche in quanto indica rapidamente i comandi della macchina attivati e disattivati. |
| Settings | Il menu Settings (Impostazioni) consente di personalizzare e modificare le opzioni di configurazione sul display. |
| Machine Settings | Il menu Machine Settings (Impostazioni macchina) consente di regolare le impostazioni del sollevamento limitato quando si procede in retromarcia e le impostazioni della funzionalità turnaround. |
| About | Il menu About (Informazioni) elenca il numero del modello, il numero di serie e la versione software della macchina. |
| Voce del menu | Descrizione |
| Hours | Riporta il numero totale di ore di funzionamento di macchina, motore e PDF, nonché il numero di ore di trasporto della macchina e la manutenzione prevista. |
| Counts | Riporta i vari conteggi a cui è stata sottoposta la macchina. |
| DPF Regeneration | Opzione di rigenerazione del filtro antiparticolato diesel e sottomenu FAP |
| Voce del menu | Descrizione |
| Traction (Trazione) | Indica entrate e uscite del pedale di comando della trazione. |
| Raise (Sollevamento) | Indica entrate, qualificatori e uscite per sollevare gli apparati di taglio. |
| Lower (Abbassamento) | Indica entrate, qualificatori e uscite per abbassare gli apparati di taglio. |
| PTO | Indica entrate, qualificatori e uscite per abilitare il circuito PDF. |
| Engine (Motore) | Indica entrate, qualificatori e uscite per avviare il motore. |
| Voce del menu | Descrizione |
| Enter PIN (inserire PIN) | Consente a una persona autorizzata dalla vostra azienda (sovrintendente/meccanico) e in possesso del codice PIN di accedere ai menu protetti. |
| Backlight (Retroilluminazione) | Imposta la luminosità del display LCD. |
| Language (Lingua) | Controlla la lingua usata sul display. |
| Units (Unità) | Imposta le unità di misura usate nell'InfoCenter (sistema metrico o anglosassone). |
Protected Menus (Menu protetti) ![]() | Consente a una persona autorizzata dalla vostra azienda e in possesso del codice PIN di accedere ai menu protetti |
Protezione delle impostazioni ![]() | Consente di modificare le impostazioni protette. |
| Voce del menu | Descrizione |
| Limited Lift Reverse (Retromarcia a sollevamento limitato) | Attiva o disattiva il sollevamento limitato quando si procede in retromarcia. |
| Turnaround | Attiva o disattiva la modalità di turnaround. |
| Slope Sensor Installed (Sensore di pendenza installato) | Indica il rilevamento di un sensore di pendenza sulla macchina. |
Impostazioni
protette nei Menu Protected – accessibili solo inserendo il
PIN
| Voce del menu | Descrizione |
| Model (Modello) | Elenca il numero di modello della macchina. |
| SN (Numero di serie) | Elenca il numero di serie della macchina. |
| Machine Controller Revision (Revisione del controller della macchina) | Elenca la revisione software del controller master. |
| S/W Revision (Revisione software) | Elenca la versione software del controller principale. |
InfoCenter Revision (Revisione dell’InfoCenter) ![]() | Riporta la versione software dell'InfoCenter. |
CAN Statistics (Statistiche CAN) ![]() | Indica entrate e uscite del CAN. |
Dal MAIN MENU (MENU PRINCIPALE), premete il pulsante di navigazione sinistra per accedere alla MAIN RUN SCREEN (SCHERMATA DI FUNZIONAMENTO PRINCIPALE), che mostra la temperatura del refrigerante, lo stato dell'interblocco e la posizione degli apparati di taglio.
Premete il pulsante di navigazione destra per passare alla SECONDARY RUN SCREEN (SCHERMATA DI FUNZIONAMENTO SECONDARIA), che mostra le ore di funzionamento, la tensione della batteria e i giri/min.
Ci sono impostazioni di configurazione operative che sono regolabili all’interno del menu SETTINGS (IMPOSTAZIONI) del display. Per bloccare queste impostazioni, utilizzate il PROTECTED MENU (MENU PROTETTO).
Note: Al momento della consegna, la password iniziale è programmata dal distributore.
Note: Il codice PIN predefinito per la vostra macchina è 0000 o 1234.Se avete modificato il codice PIN e lo avete dimenticato, contattate il vostro distributore Toro autorizzato per assistenza.
Dal MAIN MENU (MENU PRINCIPALE), scorrete verso il basso fino alla voce SETTINGS (IMPOSTAZIONI) e premete il pulsante Seleziona (Figura 18).

Nel menu SETTINGS (IMPOSTAZIONI), scorrete fino alla voce ENTER PIN (INSERISCI PIN) e premete il pulsante Seleziona (Figura 19A).

Per inserire il codice PIN, premete i pulsanti di navigazione su/giù finché non compare la prima cifra del numero corretto, quindi premete il pulsante di navigazione destro per passare alla cifra successiva (Figura 19B e Figura 19C). Ripetete questo passaggio fino all'inserimento dell'ultima cifra.
Premete il pulsante seleziona.
Note: Se il sistema ha accettato il codice PIN e il menu protetto è stato sbloccato, viene visualizzata la parola “PIN” nell'angolo in alto a destra della schermata.
Per bloccare il menu protetto, girate l'interruttore a chiave in posizione di SPEGNIMENTO e poi in posizione di ACCENSIONE.
Nel menu SETTINGS (IMPOSTAZIONI), scorrete in basso fino alla voce PROTECT SETTINGS (PROTEZIONE IMPOSTAZIONI).
Per visualizzare e modificare le impostazioni senza
inserire un codice PIN, utilizzate il pulsante seleziona per impostare PROTECT SETTINGS (PROTEZIONE IMPOSTAZIONI) su
(disattiva).
Per visualizzare e modificare le impostazioni con
un codice PIN, utilizzate il pulsante seleziona per impostare PROTECT SETTINGS (PROTEZIONE IMPOSTAZIONI) su
(attiva), impostate il codice
PIN e girate la chiave nell'interruttore di accensione in posizione
di SPEGNIMENTO e poi in posizione di ACCENSIONE.
Il timer della revisione azzera le ore mancanti per la revisione dopo che è stata effettuata una procedura di manutenzione programmata.
Nel menu SETTINGS (IMPOSTAZIONI), scorrete fino alla voce ENTER PIN (INSERISCI PIN) e premete il pulsante Seleziona.
Enter PIN (inserire PIN); fate riferimento a Accesso ai menu protetti.
Nel menu SERVICE (REVISIONE), scorrete fino alla voce HOURS (ORE) e premete il pulsante Seleziona.
Scorrete in basso fino alla voce SERVICE DUE (REVISIONE).
Note: Se è tempo della revisione, accanto a SERVICE DUE (REVISIONE) comparirà il termine NOW (ORA).
Selezionate l’intervallo di revisione e premete il pulsante seleziona.
Note: L'intervallo di revisione (250 ore, 500 ore, ecc.) è riportato accanto alla voce SERVICE DUE (REVISIONE). L’intervallo di revisione è una voce del menu protetto.
Quando viene visualizzata la schermata RESET SERVICE TIMER? (REIMPOSTARE TIMER DELLA REVISIONE?), premete il pulsante seleziona per CONFERMARE o il pulsante indietro per ANNULLARE.
Dopo aver CONFERMATO, la schermata dell’intervallo scompare e si ritorna alle selezioni delle ore prima della manutenzione.

Rossa lampeggiante: guasto presente
Rossa fissa: avviso presente
Blu fissa: messaggi di taratura/dialogo
Luce spenta: normale funzionamento
Il proprietario/operatore è tenuto a evitare incidenti che possano causare lesioni personali o danni materiali.
Indossate un abbigliamento idoneo, comprendente occhiali di protezione, pantaloni lunghi, scarpe robuste e antiscivolo e protezioni auricolari. Legate i capelli lunghi e non indossate indumenti larghi o gioielli pendenti.
Non utilizzate la macchina se siete malati, stanchi o sotto l'effetto di alcol o droghe.
Prestate la massima attenzione mentre utilizzate la macchina. Per evitare il rischio di lesioni personali o danni materiali, non impegnatevi in attività che possano causare distrazioni.
Prima di avviare il motore, accertatevi che tutte le trasmissioni siano in posizione di folle, che il freno di stazionamento sia innestato e che vi troviate nella posizione operativa.
Non trasportate passeggeri sulla macchina e tenete lontane le persone presenti e i bambini dall'area operativa.
Utilizzate la macchina solo in buone condizioni di visibilità, in modo tale da poter evitare buche o pericoli nascosti.
Evitate la tosatura sull'erba bagnata. La trazione ridotta può causare lo slittamento della macchina.
Tenete mani e piedi a distanza dagli apparati di taglio.
Prima di fare marcia indietro, guardate indietro e in basso, assicurandovi che il percorso sia libero.
Prestate attenzione quando vi avvicinate ad angoli ciechi, cespugli, alberi o altri oggetti che possano ostacolare la visuale.
Fermate gli apparati di taglio ogni volta che non state effettuando la tosatura.
Rallentate e fate attenzione quando eseguite curve o attraversate strade e marciapiedi con la macchina. Date sempre la precedenza.
Azionate il motore solo in aree ben ventilate. I gas di scarico possono contenere monossido di carbonio, che è letale se inalato.
Non lasciate in funzione la macchina incustodita.
Prima di abbandonare la posizione dell'operatore, effettuate quanto segue:
Parcheggiate la macchina su un terreno pianeggiante.
Sganciate le unità di taglio e abbassatele.
Inserite il freno di stazionamento.
Spegnete il motore e togliete la chiave.
Attendete che tutte le parti in movimento si arrestino.
Lasciate raffreddare la macchina prima di eseguire interventi di regolazione, manutenzione, pulizia o di rimessarla.
Utilizzate la macchina solo in condizioni di buona visibilità e meteo idoneo. Non utilizzate la macchina se c'è rischio di fulmini.
Utilizzate la trazione elettronica (se presente) solo quando potete utilizzare la macchina in un'area aperta e pianeggiante, priva di ostacoli e dove la macchina possa procedere a velocità costante, senza interruzioni.
Non rimuovete alcuno dei componenti del ROPS dalla macchina.
Verificate che la cintura di sicurezza sia allacciata e che possa essere slacciata rapidamente in caso di emergenza.
Mettete sempre la cintura di sicurezza.
Verificate con attenzione l'eventuale presenza di ostacoli al di sopra della macchina e non entrate a contatto con tali ostacoli.
Mantenete il sistema di protezione antiribaltamento (ROPS) in condizioni operative sicure effettuando periodicamente ispezioni accurate e accertandovi che i fermi di montaggio siano stretti.
Sostituite tutti i componenti del ROPS danneggiati. Non effettuate riparazioni o modifiche.
Allacciate sempre la cintura di sicurezza quando il roll bar è alzato.
Il ROPS è un dispositivo di sicurezza fondamentale. Mantenete un roll bar pieghevole in posizione sollevata e bloccata e utilizzate la cintura di sicurezza quando utilizzate la macchina con il roll bar in posizione sollevata.
Abbassate un roll bar pieghevole temporaneamente solo quando necessario. Non indossate la cintura di sicurezza quando il roll bar ripiegato.
Siate consapevoli che quando il roll bar ripiegato è in posizione abbassata, non siete protetti dal ribaltamento.
Controllate l'area di tosatura e non ripiegate mai un roll bar pieghevole in aree in cui siano presenti discese, scarpate o corsi d'acqua.
Le pendenze sono un importante fattore che influisce su incidenti causati da perdita di controllo e ribaltamento che possono provocare lesioni personali gravi o fatali. Siete responsabili del funzionamento sicuro in pendenza. L'utilizzo della macchina in pendenza richiede un livello di attenzione superiore.
Valutate le condizioni del sito per determinare se la pendenza è sicura per l'utilizzo della macchina, effettuando anche un sopralluogo del sito. Basatevi sempre su buon senso e giudizio quando effettuate questa ricognizione.
Rivedete le istruzioni relative alle pendenze, elencate sotto, per l'utilizzo della macchina in pendenza. Prima di azionare la macchina, osservate le condizioni del sito per stabilire se potete utilizzare la macchina nelle condizioni di quel particolare giorno e su quel particolare sito. I cambiamenti del terreno possono determinare un cambiamento del funzionamento in pendenza della macchina.
Evitate di avviare, arrestare o sterzare quando la macchina procede in pendenza. Evitate repentini cambiamenti di velocità o direzione. Svoltate lentamente e in maniera graduale.
Non azionate la macchina in condizioni in cui la trazione, la sterzata o la stabilità possono essere compromessi.
Rimuovete o segnalate le ostruzioni, come fossati, buche, solchi, dossi, rocce o altri pericoli nascosti. L'erba alta può nascondere ostacoli. Su terreni accidentati la macchina potrebbe ribaltarsi.
Siate consapevoli del fatto che l'utilizzo della macchina su erba bagnata, trasversalmente su pendenze o in discesa può causare una perdita di trazione della macchina.
Prestate estrema cautela durante l'utilizzo della macchina in prossimità di scarpate, fossati, terrapieni, zone d'acqua pericolose o altri pericoli. La macchina potrebbe ribaltarsi improvvisamente nel caso in cui una ruota supera il ciglio o se il ciglio cede. Individuate un margine di sicurezza tra la macchina ed eventuali pericoli.
Individuate i pericoli alla base della pendenza. In presenza di pericoli, tosate il terreno in pendenza con una macchina a spinta.
Se possibile, tenete gli apparati di taglio abbassati a terra durante l’utilizzo in pendenza. Il sollevamento degli apparati di taglio durante l'utilizzo in pendenza può causare l'instabilità della macchina.
Se i microinterruttori di sicurezza sono scollegati o guasti, la macchina può muoversi improvvisamente e causare incidenti.
Non manomettete gli interruttori di interblocco.
Il funzionamento degli interruttori di interblocco deve essere controllato ogni giorno; prima di azionare la macchina, sostituite eventuali interruttori guasti.
Important: Non azionate la macchina se i comandi presenza operatore sono danneggiati o usurati. Sostituite sempre i componenti danneggiati o usurati e controllate che i comandi di presenza operatore funzionino correttamente prima di azionare la macchina.
Potete avviare il motore soltanto quando il pedale di trazione avanti/indietro è in posizione di FOLLE, l’interruttore della trasmissione dell’apparato di taglio è in posizione OFF e il freno di stazionamento è inserito.
Note: Potete avviare il motore solo quando l’interruttore della trasmissione dell’Apparato di taglio è in posizione OFF.
Dopo aver avviato il motore, dovete essere seduti nella postazione dell'operatore per mettere in funzione il motore mentre il freno di stazionamento è disinserito.
Il motore si spegne se abbandonate la postazione dell'operatore senza prima inserire il freno di stazionamento.
Dovete essere seduti nella postazione dell'operatore per mettere in funzione gli apparati di taglio. Se vi sollevate dal sedile per oltre un secondo, si attiva un microinterruttore e la trasmissione agli apparati di taglio viene disinserita.
Per ripristinare gli apparati di taglio, sedetevi sul sedile, spostate l'interruttore della trasmissione degli apparati di taglio in posizione di SPEGNIMENTO e spostate l'interruttore in posizione di ACCENSIONE.
Note: Se vi alzate brevemente dal sedile durante il lavoro, la trasmissione degli apparati di taglio non ne risente.
Per evitare lesioni personali anche fatali dovute al ribaltamento, tenete il roll bar sollevato e allacciate la cintura di sicurezza.
Accertatevi che il sedile sia fissato mediante l'apposito fermo.
Quando il roll bar è abbassato, non esistono altre protezioni antiribaltamento.
Non utilizzate la macchina su terreni dissestati o in pendenza con il roll bar in posizione abbassata.
Abbassate il roll bar solo se è assolutamente necessario.
Non allacciate la cintura di sicurezza quando il roll bar è abbassato.
Guidate lentamente e con prudenza.
Alzate il roll bar appena l'altezza lo consente.
Controllate attentamente lo spazio libero superiore prima di passare con la macchina sotto qualsiasi oggetto (rami, varchi, fili elettrici) ed evitate urti.
Important: Tenete sempre la cintura di sicurezza allacciata quando il roll bar è alzato e bloccato. Non allacciate la cintura di sicurezza se il roll bar è abbassato.
Parcheggiate la macchina su una superficie pianeggiante, abbassate gli apparati di taglio, inserite il freno di stazionamento, spegnete il motore e togliete la chiave.
Togliete le coppiglie dai perni del roll bar nelle staffe orientabili del telaio del roll bar inferiore (Figura 21).

Mentre sostenete il peso della parte superiore del roll bar, togliete i relativi perni dalle staffe orientabili (Figura 21).
Abbassate con attenzione il roll bar superiore sinché non poggia sui fermi del telaio del roll bar inferiore.
Inserite i perni del roll bar nei fori inferiori delle staffe orientabili (Figura 22).

Fissate i perni del roll bar alle staffe orientabili con le coppiglie.
Togliete le coppiglie che fissano i perni del roll bar alle staffe orientabili del telaio inferiore del roll bar.
Rimuovete i perni del roll bar dalle staffe orientabili (Figura 23).

Sollevate il roll bar superiore sinché i suoi fori non sono allineati con le staffe orientabili (Figura 24).

Inserite i perni del roll bar nei fori superiori delle staffe orientabili e nel roll bar superiore (Figura 24).
Fissate i perni del roll bar alle staffe orientabili con le coppiglie (Figura 24).
Important: Se state avviando il motore per la prima volta, il motore si è arrestato per mancanza di carburante, o avete effettuato una manutenzione dell’impianto del carburante, spurgate l’impianto del carburante prima di avviare il motore; fate riferimento a Innesco dell'impianto del carburante.
Important: Questa macchina è dotata di un dispositivo di blocco dell'avviamento del motore; fate riferimento a Descrizione dei Comandi di Presenza dell'Operatore.
Inserite il freno di stazionamento, spostate il pedale di trazione in posizione di FOLLE, e accertatevi che l’interruttore della trasmissione degli apparati di taglio sia in posizione OFF.
Ruotate la chiave nella posizione di POSIZIONE DI FUNZIONAMENTO/RISCALDATORE DELLA PRESA D’ARIA.
Note: L’icona dell’indicatore del preriscaldamento
viene visualizzata nell’InfoCenter.
Attendente fino a quando l’icona dell’indicatore del preriscaldamento
non viene più visualizzata.

Ruotate la chiave in posizione di avviamento.
Quando viene avviato il motore, rilasciate la chiave in posizione di funzionamento/riscaldatore della presa d’aria.
Important: Cercate di avviare il motore per un massimo di 15 secondi.
Fate girare il motore al minimo finché non si sarà riscaldato.
Important: Al termine di un'operazione a pieno carico, lasciate girare il motore al minimo per cinque minuti prima di spegnerlo. Ciò consente al turbocompressore di raffreddarsi prima di spegnere il motore. Non portare il motore al minimo può causare danni al turbocompressore.
Spostate il pedale di trazione in posizione di FOLLE, spegnete l’interruttore della trasmissione degli apparati di taglio, inserite il freno di stazionamento e abbassate gli apparati di taglio.
Premete l’interruttore del regime del motore fino a quando il regime del motore non è al minimo.
Lasciate girare il motore per almeno 5 minuti.
Ruotate la chiave in posizione di spegnimento (Stop) (Figura 26).

Rimuovete la chiave prima di abbandonare il sedile dell’operatore.
È importante mantenere affilate e in buone condizioni le lame trincianti per garantire buone prestazioni di taglio, minimo consumo energetico e una buona qualità di taglio.
La testa trinciante è una trincia per il taglio fine e deve essere utilizzata solo per la manutenzione dell'erba. Si raccomanda di rimuovere un massimo di un terzo della lunghezza totale dell'erba durante il taglio.
I fili del raschiarulli sono disposti in modo da rimuovere i detriti dal rullo, in condizioni asciutte questi potrebbero non essere necessari e si raccomanda di rimuoverli. In condizioni umide, assicuratevi che i fili del raschiarulli non vengano ostruiti dai detriti.
L'apparato di taglio è flottante e può ruotare lateralmente per seguire il profilo del terreno.
Gli apparati di taglio sono progettati per funzionare a pieno regime del motore. La velocità di avanzamento deve essere regolata a seconda delle condizioni dell'erba e in modo da non sovraccaricare le unità di alimentazione delle teste. Più bassa è la velocità di avanzamento e maggiore saranno la qualità di taglio e l'aspetto finale.
Note: L'altezza di taglio si misura sul rullo posteriore. L'usura delle lame, supporti girevoli degli apparati di taglio usurati, perni degli apparati di taglio piegati/danneggiati e bracci piegati/danneggiati possono influire negativamente sull'impostazione dell'altezza di taglio.
Girate il gruppo dado di regolazione su entrambe le estremità in senso orario per diminuire l'altezza di taglio, o in senso antiorario per aumentare l'altezza di taglio (Figura 27).

Important: Non tentate di svitare i gruppi dei dadi.
Assicuratevi che tutti gli apparati di taglio siano impostati alla stessa altezza di taglio, facendo riferimento agli anelli indicatori (Figura 28).

Note: Fate riferimento a Figura 29 per le impostazioni dell'altezza di taglio.

Utilizzate i 3 interruttori di comando del sollevamento per alzare o abbassare gli apparati di taglio in modo indipendente.
Premete l’interruttore della trasmissione dell’apparato di taglio in posizione di taglio.
Premete l’interruttore di comando del sollevamento in avanti e rilasciatelo.
Note: L’apparato di taglio ingrana quando si trova approssimativamente a 150 mm dal livello del terreno. L’apparato di taglio è in modalità “flottante” e segue il profilo del terreno.
Note: L’interruttore di comando del sollevamento ritorna automaticamente in posizione di (FOLLE) quando viene rilasciato.

Tirate e mantenete l’interruttore di comando del sollevamento.
Quando l’apparato di taglio si trova all’altezza necessaria, rilasciate gli interruttori di comando del sollevamento.
Note: Gli interruttori di comando del sollevamento ritornano automaticamente in posizione di (FOLLE) quando vengono rilasciati, e i bracci degli apparati di taglio vengono bloccati in posizione in modo idraulico.
Note: La funzione di sollevamento limitato per la guida in avanti è attivata per impostazione predefinita.
Mentre si guida in avanti, tirate per poco tempo il/gli interruttore/i di comando del sollevamento.
Note: L’apparato/Gli apparati di taglio si spegne/spengono e si solleva/sollevano approssimativamente a 150 mm dal livello del terreno.
La funzione di sollevamento limitato si spegne quando l’apparato di taglio viene abbassato ed è in funzione.
Note: È necessario attivare la funzione di sollevamento limitato nell’InfoCenter per sollevare automaticamente gli apparati di taglio quando si guida verso dietro.
Quando la funzione di sollevamento limitato è attivata, guidare la macchina verso dietro provoca il sollevamento di tutti gli apparati di taglio in posizione di sollevamento limitato.
Note: L’apparato/Gli apparati di taglio si solleva/sollevano approssimativamente a 150 mm dal livello del terreno.
Important: Gli apparati di taglio continuano a funzionare mentre viene utilizzato il sollevamento limitato e la guida della macchina verso dietro.
Guidare la macchina in avanti provoca l’abbassamento dell’apparato di taglio in posizione flottante.
Note: È necessario attivare la funzionalità di turnaround per l’interruttore di comando del sollevamento centrale nel menu impostazioni dell’InfoCenter.
Tirate per poco tempo l’interruttore di comando del sollevamento per l’apparato di taglio centrale per sollevare tutti gli apparati di taglio in posizione di sollevamento limitato.
Premete per poco tempo l’interruttore di comando del sollevamento verso il basso per l’apparato di taglio centrale per abbassare tutti gli apparati di taglio in posizione flottante.
Note: La funzionalità di sollevamento automatico limitato degli apparati di taglio può essere attivata nel menu impostazioni nell’InfoCenter.
Il sollevamento limitato manuale utilizza i 3 interruttori di comando del sollevamento, ed è sempre disponibile indipendentemente dalle impostazioni di sollevamento automatico limitato nell’InfoCenter.
Quando viene attivato il sollevamento automatico limitato degli apparati di taglio, guidare la macchina in retromarcia provoca il sollevamento automatico degli apparati di taglio in posizione di sollevamento limitato.
Gli apparati di taglio ritornano in posizione flottante quando si guida la macchina in avanti.
Per sollevare gli apparati di taglio nella posizione di sollevamento limitato, tirate per poco tempo gli interruttori di controllo del sollevamento.
Note: Le trasmissioni degli apparati di taglio si disinnestano immediatamente e gli apparati di taglio si sollevano a circa 150 mm dal livello del terreno.
Il sollevamento automatico limitato funziona quando gli apparati di taglio sono abbassati e in funzione.
La trasmissione degli apparati di taglio si innesta solo quando siete seduti sul sedile dell’operatore; fate riferimento a Controllo dell'interruttore di presenza operatore.

Premete la parte superiore dell’interruttore della trasmissione degli apparati di taglio in posizione di ACCENSIONE (Figura 31).
Premete l’interruttore della trasmissione degli apparati di taglio in posizione di SPEGNIMENTO (Figura 31).
L'interruttore della trasmissione degli apparati di taglio deve essere impostato in posizione di ACCENSIONE (Figura 31). Spostate verso il basso l'interruttore (o gli interruttori) di comando del sollevamento. Gli apparati di taglio funzionano quando si trovano approssimativamente a 150 mm dal livello del terreno.
È presente un sistema idraulico variabile di trasferimento del peso che migliora la tenuta degli pneumatici sulla superficie erbosa e fornisce un ausilio alla trazione.
La pressione idraulica dall’impianto di sollevamento degli apparati di taglio fornisce una forza di sollevamento che riduce il peso degli apparati di taglio sul terreno e lo trasferisce verso il basso sugli pneumatici. Questa azione è nota come trasferimento del peso.
Note: Regolate la quantità di trasferimento del peso per adattarsi alle condizioni di funzionamento.
Apertura del cofano.


Sul lato destro della macchina, allentate la rotella di bloccaggio del collettore di trasferimento del peso ruotandola di mezzo giro in senso antiorario, tenendo ferma la rotella (Figura 32).
Ruotate la rotella di trasferimento del peso (Figura 32) come indicato di seguito:
in senso antiorario per ridurre il trasferimento di peso.
In senso orario per aumentare il trasferimento di peso.
Note: L’impostazione consigliata per il sistema di trasferimento del peso/trazione assistita è di aumentare il trasferimento del peso fino a quando gli apparati di taglio non iniziano a sollevarsi, quindi ruotare la rotella di mezzo giro in senso antiorario.
Serrate la rotella di bloccaggio (Figura 32).
Non tentate mai di ruotare manualmente gli apparati di taglio. La pressione residua nel sistema idraulico potrebbe far sì che l’apparato/gli apparati di taglio ruoti/ruotino improvvisamente quando viene rilasciato il blocco, il che potrebbe provocare serie lesioni.
Indossate sempre guanti di protezione e utilizzate attrezzi di legno idonei e robusti.
Assicuratevi che lo strumento di legno si inserisca nel rotore della trincia e sia abbastanza lungo da creare una leva sufficiente a rilasciare l’ostruzione.
Parcheggiate la macchina su un terreno pianeggiante.
Spostate il pedale di trazione in posizione di FOLLE, inserite il freno di stazionamento e spegnete gli apparati di taglio.
Abbassate gli apparati di taglio a terra o bloccateli in modo sicuro nelle posizioni di trasferimento.
Spegnete il motore, togliete la chiave e attendete che si fermino tutte le parti in movimento.
Scaricate la pressione dai dispositivi che hanno accumulato energia.
Verificate che tutte le parti soggette a movimento siano ferme.
Eliminate l'intasamento servendovi di un attrezzo in legno idoneo e robusto. Assicuratevi che lo strumento in legno sia adeguatamente supportato nell'apparato di taglio ed evitate l'uso di eccessiva forza per evitare danni.
Togliete lo strumento di legno dall'apparato di taglio prima di avviare il motore.
Riparate o regolate l'apparato di taglio se necessario.
Prima di tosare esercitatevi con la macchina in uno spazio aperto. Avviate e spegnete il motore. Guidate la macchina in marcia avanti e retromarcia. Abbassate e alzate gli apparati di taglio, innestateli e disinnestateli. Quando vi sarete familiarizzati con la macchina, esercitatevi a lavorare in salita e discesa.
Se sull'InfoCenter viene visualizzata un'icona di avvertenza mentre utilizzate la macchina, arrestate immediatamente la macchina e risolvete il problema. Nella seguente tabella sono riportati alcuni esempi delle icone che potrebbero essere visualizzate:
|
Icona |
Condizione |
|---|---|
![]() |
È necessario eseguire una rigenerazione parcheggiata o di recupero. |
![]() |
La presa di forza è disabilitata |
![]() |
Avaria del sistema di controllo NOx |
Per mantenere una qualità di taglio elevata, mantenete la velocità di rotazione degli apparati di taglio il più alta possibile. Ciò richiede un regime motore elevato.
La resa del taglio è migliore quando si falcia in direzione opposta all'inclinazione dell'erba. Per beneficiare di questo effetto, alternate le direzioni di lavoro tra le passate di taglio.
Evitando di eseguire curve strette non lascerete strisce di erba non tagliate nei punti di sovrapposizione tra due apparati di taglio vicini.
La qualità del taglio peggiora se la velocità di avanzamento è eccessiva. Valutate sempre la qualità del taglio in base al ritmo di taglio richiesto e impostate la velocità di avanzamento di conseguenza.
Non lasciate affaticare il motore. Qualora notaste che il motore inizia ad affaticarsi, riducete la velocità di avanzamento o aumentate l'altezza di taglio. Accertatevi che le lame degli apparati di taglio siano affilate.
Important: Fate attenzione quando guidate la macchina su ostacoli come cordoli stradali.Scavalcate gli ostacoli sempre a bassa velocità per evitare danni agli pneumatici, alle ruote e allo sterzo della macchina. Accertatevi che gli pneumatici siano gonfiati ai valori di pressione raccomandati.
Disinnestate sempre la trasmissione degli apparati di taglio quando guidate la macchina su aree prive di erba. Prestate la massima attenzione quando guidate fra corpi estranei, al fine di non danneggiare accidentalmente la macchina o gli apparati di taglio.
Per uno scarico ottimale dell'erba, togliete i raschiarulli posteriori quando possibile.
Se sui rulli cominciano ad accumularsi fango ed erba, montate i raschiarulli. Quando montate i cavi dei raschiarulli, fate attenzione a tenderli in modo appropriato.
Parcheggiate la macchina su un terreno pianeggiante.
Sganciate le unità di taglio e abbassatele.
Inserite il freno di stazionamento.
Spegnete il motore e togliete la chiave.
Attendete che tutte le parti in movimento si arrestino.
Lasciate raffreddare la macchina prima di eseguire interventi di regolazione, manutenzione, pulizia o prima del rimessaggio.
Per contribuire a ridurre il rischio di incendi, accertatevi che gli apparati di taglio, gli scarichi, le griglie di raffreddamento e il vano motore non presentino accumuli di erba o detriti. Tergete l'olio o il carburante versati.
Disinnestate la trasmissione all'accessorio ogni volta che trasportate o non utilizzate la macchina.
Effettuate la manutenzione e la pulizia della/e cintura/e di sicurezza, se necessario.
Non depositate la macchina o la tanica del carburante in presenza di fiamme libere, scintille o spie, come vicino a uno scaldabagno o altre apparecchiature.

Utilizzate rampe di larghezza massima per caricare la macchina su un rimorchio o un autocarro.
Fissate la macchina in sicurezza.
Accertatevi che il veicolo trainante sia in grado di controllare il peso di entrambi i veicoli; fate riferimento a Specifiche.
Quando possibile, sollevate e bloccate gli apparati di taglio prima di trainare la macchina.
Inserite il freno di stazionamento e bloccate le ruote del veicolo trainante con zeppe.
Bloccate le ruote anteriori della macchina con zeppe.
Sollevate la pedana; fate riferimento a Sollevamento della pedana.
Rimuovete i 2 bulloni da 12 x 40 mm e le 2 rondelle da 12 mm che si trovano nelle guide di sostegno della pedana (Figura 34).

Collegate una barra di traino rigida all’anello di traino sulla parte anteriore della macchina e al veicolo di traino (Figura 35).
Note: Se necessario, utilizzate l’anello di traino sulla parte posteriore della macchina per posizionare la macchina in modo da lasciare spazio, e utilizzate l’anello di traino sulla parte anteriore per trainare la macchina.

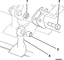
Rimuovete il tappo esagonale dal gruppo del freno del motore della ruota anteriore destra (Figura 36).

Inserite un bullone (12 x 40 mm) e una rondella (12 mm) nel foro al centro della piastra terminale del motore (Figura 37).

Serrate il bullone nel foro filettato del pistone del freno fino a sbloccare il freno(Figura 37).
Ripetete i passaggi da 6 a 8 per il freno sul lato sinistro della macchina.
Utilizzate una chiave esagonale da 8 mm per ruotare di 3 giri completi in senso antiorario i 2 tappi a testa incassata per le valvole di sfogo della pompa della trasmissione (Figura 38).
Important: Dovete sterzare manualmente la macchina quando è trainata. A motore spento manca il servosterzo e la macchina sarà pesante.

Abbassate e bloccate la pedana; fate riferimento a Abbassamento della pedana.
Rimuovete le zeppe da sotto le ruote
Important: Non trainate la macchina ad una velocità superiore a 3–5 km/h e per non più di 3 minuti; in caso contrario, la trasmissione potrebbe subire danni interni.
Utilizzate l’anello di traino sulla parte anteriore per trainare la macchina.
Trainate la macchina per una breve distanza, a bassa velocità, per non più di 3 minuti.
Immobilizzate le ruote anteriori per mezzo di zeppe.
Sollevate la pedana; fate riferimento a Sollevamento della pedana.
Utilizzate una chiave esagonale da 8 mm per ruotare di 3 giri in senso orario i 2 tappi a testa incassata per le valvole di sfogo della pompa della trasmissione (Figura 39).

Serrate i 2 tappi a testa incassata a 81 N∙m.
Rimuovete il bullone (12 x 40 mm) e la rondella (12 mm) dal foro al centro della piastra terminale del motore (Figura 40).

Montate il tappo esagonale sulla piastra terminale del motore (Figura 41).

Ripetete i passaggi da 1 a 2 per il freno sull'altro lato della macchina.
Rimuovete le zeppe da sotto le ruote anteriori.
Scollegate la barra di traino.
Note: La trasmissione e i freni sono pronti per entrare in funzione.
Riponete i 2 bulloni 12 x 40 mm e le 2 rondelle da 12 mm che si trovano nelle guide di sostegno della pedana (Figura 41).

Abbassate la pedana; fate riferimento a Abbassamento della pedana.
Scollegate il veicolo di traino.
Controllate il funzionamento dei freni della macchina.
Utilizzare la macchina con un sistema frenante che non funziona correttamente potrebbe farvi perdere il controllo della macchina, provocando lesioni gravi a voi e alle persone circostanti.
Prima di utilizzare la macchina, accertatevi che il sistema frenante funzioni correttamente. Eseguite i controlli iniziali con la macchina che si sposta lentamente. Non utilizzate la macchina se il sistema frenante è danneggiato o scollegato.
Per scaricare una copia gratuita dello schema elettrico o idraulico visitate il sito www.toro.com/it-it e cercate la vostra macchina al link Manuali sulla home page.
Note: Stabilite i lati sinistro e destro della macchina rispetto alla normale posizione di guida.
Prima di abbandonare la posizione dell'operatore, effettuate le seguenti operazioni:
Parcheggiate la macchina su un terreno pianeggiante.
Sganciate le unità di taglio e abbassatele.
Inserite il freno di stazionamento.
Spegnete il motore e togliete la chiave.
Attendete che tutte le parti in movimento si arrestino.
Lasciate raffreddare la macchina prima di eseguire interventi di regolazione, manutenzione, pulizia o di rimessarla.
Indossate indumenti appropriati, inclusi protezioni per gli occhi, pantaloni lunghi e scarpe robuste e antiscivolo. Tenete mani, piedi, abbigliamento, gioielli e capelli lunghi a distanza dalle parti in movimento.
Lasciate che i componenti della macchina si raffreddino prima di effettuare la manutenzione.
Se possibile, non effettuate la manutenzione mentre il motore è in funzione. Tenetevi a distanza dalle parti in movimento.
Azionate il motore solo in aree ben ventilate. I gas di scarico possono contenere monossido di carbonio, che è letale se inalato.
Sostenete la macchina con cavalletti metallici ogni qualvolta lavorate sotto la macchina.
Scaricate con cautela la pressione dai componenti che hanno accumulato energia.
Mantenete tutte le parti della macchina in buone condizioni operative e la bulloneria ben serrata.
Sostituite tutti gli adesivi consumati o danneggiati.
Per garantire prestazioni sicure e ottimali della macchina, adoperate solo ricambi Toro originali. L'uso di ricambi di altri costruttori può essere pericoloso e può annullare la garanzia del prodotto.
| Cadenza di manutenzione | Procedura di manutenzione |
|---|---|
| Dopo la prima ora |
|
| Dopo le prime 10 ore |
|
| Dopo le prime 50 ore |
|
| Prima di ogni utilizzo o quotidianamente |
|
| Ogni 50 ore |
|
| Ogni 250 ore |
|
| Ogni 500 ore |
|
| Ogni 1000 ore |
|
| Ogni 1500 ore |
|
| Ogni 3000 ore |
|
| Ogni anno |
|
| Ogni 2 anni |
|
Fotocopiate questa pagina e utilizzatela quando opportuno.
| Punto di verifica per la manutenzione | Per la settimana di: | ||||||
|---|---|---|---|---|---|---|---|
| Lun | Mar | Mer | Gio | Ven | Sab | Dom | |
| Controllo del livello dell'olio motore. | |||||||
| Controllate la spia di ostruzione del filtro dell’aria. | |||||||
| Spurgate l’acqua dal separatore carburante/acqua. | |||||||
| Verificate che non ci siano perdite di liquido. | |||||||
| Verifica dell'impianto di raffreddamento. | |||||||
| Togliete i detriti dalla griglia e dal radiatore/refrigeratore dell'olio.. | |||||||
| Lubrificate i cuscinetti, le boccole e le articolazioni2 | |||||||
| Controllate la pressione dell'aria degli pneumatici. | |||||||
| Controllate il livello del fluido idraulico. | |||||||
| Controllate i flessibili e i tubi idraulici. | |||||||
| Controllate gli elementi di fissaggio della macchina. | |||||||
| Controllate gli apparati di taglio. | |||||||
| Controllate la regolazione dell'altezza di taglio. | |||||||
| Ispezionate la cintura di sicurezza. | |||||||
| Controllate il funzionamento del pedale della trazione. | |||||||
| Controllate il funzionamento degli strumenti. | |||||||
| Controllate i rumori insoliti del motore.1 | |||||||
| Controllate il funzionamento dei microinterruttori di sicurezza. | |||||||
| Controllate il funzionamento dei freni. | |||||||
| Controllate eventuali rumori insoliti di funzionamento. | |||||||
| Lavate la macchina.2 | |||||||
| Ritoccate la vernice danneggiata. | |||||||
|
1. Controllate la candela a incandescenza e gli ugelli dell’iniettore in caso di avviamento difficile, fumo eccessivo o funzionamento non fluido del motore. |
|||||||
|
2. Lubrificate la macchina immediatamente dopo ogni lavaggio, indipendentemente dall’intervallo indicato |
|||||||
| Ispezione eseguita da: | ||
| Art. | Data | Informazioni |
| 1 | ||
| 2 | ||
| 3 | ||
| 4 | ||
| 5 | ||
| 6 | ||
Utilizzare la macchina con una pedana non bloccata potrebbe farvi perdere il controllo della macchina, provocando lesioni gravi a voi e alle persone circostanti.
Non utilizzate mai la macchina senza avere prima verificato che il meccanismo di fermo della piattaforma dell'operatore sia ben innestato e funzioni correttamente.
Abbassate la piattaforma con cautela (Figura 45).
Note: Il cilindro a gas contribuisce a sostenere la piattaforma.

Quando la piattaforma si è abbassata quasi completamente, spostate la maniglia di fermo della piattaforma (Figura 46) verso la parte anteriore della macchina.
Note: In questo modo il dispositivo di bloccaggio si sgancia dalla barra di bloccaggio.

Abbassate completamente la piattaforma e spostate la maniglia di fermo verso la parte posteriore della macchina fino a quando il fermo non si innesta completamente sulla barra di bloccaggio (Figura 47).

Allineate i fori sul fondo del vano portaoggetti con i fori nelle staffe dello chassis.
Montate il vano portaoggetti alla macchina con le 3 manopole e le 3 rondelle (Figura 49).

Chiudete lo sportello del vano portaoggetti.
Note: Utilizzate cavalletti metallici per sostenere la macchina quando la sollevate.
I martinetti meccanici o idraulici non sono adatti a sostenere la macchina e possono causare gravi infortuni.
Usate cavalletti metallici per sostenere la macchina.
Anteriore – sotto il sostegno del braccio anteriore
Posteriore – tubo dell'assale, sul ponte posteriore

| Cadenza di manutenzione | Procedura di manutenzione |
|---|---|
| Prima di ogni utilizzo o quotidianamente |
|
| Ogni 50 ore |
|
Important: Lubrificate i cuscinetti, le boccole e le articolazioni immediatamente dopo ogni lavaggio, indipendentemente dall’intervallo di manutenzione indicato.
Specifiche del grasso: grasso n. 2 al litio.
Utilizzate una pompata di grasso sui regolatori dell’altezza di taglio e 3 pompate di grasso su tutti gli altri raccordi di ingrassaggio
Fate riferimento a Figura 51 per la posizione dei raccordi di ingrassaggio.
Sostituite i raccordi di ingrassaggio danneggiati.

Prima di controllare l'olio o di rabboccare la coppa, spegnete il motore.
Non cambiate la velocità del regolatore o utilizzate una velocità eccessiva del motore.
| Cadenza di manutenzione | Procedura di manutenzione |
|---|---|
| Prima di ogni utilizzo o quotidianamente |
|
Aprite il cofano.
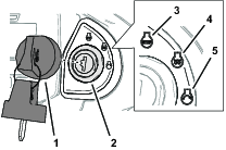
Controllate la spia di ostruzione del filtro dell’aria (Figura 52).
Important: Se l’indicatore è rosso, ispezionate il filtro primario dell’aria e sostituitelo se è sporco o danneggiato; fate riferimento a Sostituzione del filtro primario dell’aria.

Se la spia di ostruzione del filtro non è rossa, chiudete il cofano.
| Cadenza di manutenzione | Procedura di manutenzione |
|---|---|
| Ogni 500 ore |
|
Verificate che il corpo del filtro dell'aria sia privo di danni che possano causare una fuoriuscita d'aria. Se l’elemento del corpo del filtro dell’aria è danneggiato, sostituitelo. Verificate che l’intero sistema di presa d’aria non sia danneggiato, non presenti perdite e che le fascette stringitubo non siano allentate.
Note: Revisionate il filtro primario dell’aria quando la spia di ostruzione del filtro (Figura 52) è rossa. La sostituzione del filtro dell’aria con frequenza aumenta la possibilità di ingresso di sporcizia nel motore quando il filtro viene rimosso.
Important: Verificate che il coperchio si chiuda correttamente ed ermeticamente intorno al corpo del filtro.
Prima di rimuovere il coperchio del filtro dell’aria, utilizzate aria compressa a bassa pressione (2,76 bar, pulita e asciutta) per agevolare la rimozione di grossi detriti depositati all’esterno della scatola del filtro.
Note: Questa operazione di pulizia impedisce che la rimozione del filtro causi lo spostamento dei detriti nella zona di aspirazione.
Important: Evitate di usare aria ad alta pressione, che potrebbe spingere la morchia attraverso il filtro nella zona di aspirazione.

Togliete il coperchio dal corpo del filtro dell'aria.
Togliete il filtro primario dell’aria (Figura 53).
Important: Non pulite e riutilizzate un elemento usato per evitare possibili danni all’elemento filtrante.
Controllate il filtro nuovo e accertatevi che non sia stato danneggiato durante la spedizione, in particolare l'estremità di tenuta del filtro ed il corpo.
Important: Non usate l'elemento se è avariato.
Montate il filtro nuovo premendo sul bordo esterno dell'elemento per inserirlo nella scatola.
Important: Non premete sulla parte centrale flessibile del filtro.
Pulite il foro di espulsione della morchia, situato nel coperchio del filtro dell’aria. Togliete la valvola di uscita in gomma dal coperchio, pulite la cavità nella valvola e installate la valvola di uscita nel coperchio del filtro dell’aria.
Allineate il coperchio del filtro dell’aria e il foro di espulsione della morchia tra le ore 5 e le ore 7 con vista dall’estremità finale, assemblate il coperchio alla scatola, e fissate il coperchio.
Controllate le condizioni dei flessibili del filtro dell'aria.
All’interno del filtro primario dell’aria è presente un elemento filtrante di sicurezza, secondario, che impedisce alla polvere staccatasi dal filtro e ad altri elementi di entrare nel motore durante la sostituzione dell’elemento principale.
Il filtro di sicurezza va sostituito, mai pulito.
Important: Non cercate mai di pulire il filtro di sicurezza. Se il filtro di sicurezza è sporco, il filtro primario è senz’altro danneggiato. Sostituite entrambi i filtri.

Utilizzate olio motore di alta qualità e basso contenuto di cenere che soddisfi o superi le seguenti specifiche:
Categoria API Service CJ-4 o superiori
Categoria ACEA Service E6
Categoria JASO Service DH-2
Important: L'utilizzo di olio motore diverso da API CJ-4 o superiori, ACEA E6 o JASO DH-2 può causare l'otturazione del filtro antiparticolato o danni al motore.
Utilizzate il seguente grado di viscosità dell'olio motore:
Olio di preferenza: SAE 15W-40 (sopra -18 ° F)
Olio alternativo: SAE 10W-30 o 5W-30 (tutte le temperature)
L'olio motore premium Toro è disponibile presso il vostro distributore Toro autorizzato nei gradi di viscosità 15W-40 o 10W-30. Vedere i numeri delle parti nel catalogo ricambi.
| Cadenza di manutenzione | Procedura di manutenzione |
|---|---|
| Prima di ogni utilizzo o quotidianamente |
|
Important: Controllate l'olio motore quotidianamente. Se il livello dell’olio motore è superiore alla tacca di pieno sull'asta di livello, l'olio motore potrebbe essere diluito con carburante.Se il livello dell'olio motore è superiore alla tacca di pieno, occorre cambiare l'olio motore.
Il momento migliore per controllare l'olio del motore è a motore freddo prima che venga avviato per la giornata. Se è già stato avviato, lasciate che l'olio ritorni nel pozzetto per almeno 10 minuti prima di controllarlo. Se il livello dell'olio è pari o sotto la tacca di aggiunta sull'asta, aggiungere olio fino a portarne il livello alla tacca di pieno. Non riempite eccessivamente il motore d'olio
Important: Mantenete il livello dell'olio motore tra i limiti superiore e inferiore sull'indicatore: se l'olio è troppo o troppo poco, il motore potrebbe subire un guasto.
Parcheggiate la macchina su una superficie pianeggiante, abbassate gli apparati di taglio, spegnete il motore, inserite il freno di stazionamento e togliete la chiave.
Sbloccate i fermi del coperchio del motore ed aprite il coperchio.
Togliete l'asta di livello, pulitela strofinandola, rimettetela nel tubo ed estraetela di nuovo. Il livello dell'olio deve essere tra la tacca PIENO e quella AGGIUNTA (Figura 55).

Se il livello dell'olio è basso, rimuovete il tappo di riempimento e aggiungete olio fino a quando il livello non è compreso tra la tacca di PIENO e quella di AGGIUNTA (Figura 55).
Note: Non riempite troppo il motore.
Montate il tappo dell'olio e l'asta di livello.
Chiudete il coperchio del motore e fissatelo con i fermi.
5,5 litri con il filtro
| Cadenza di manutenzione | Procedura di manutenzione |
|---|---|
| Ogni 500 ore |
|
Togliete il tappo di spurgo e lasciate defluire l'olio in una bacinella (Figura 56).

Quando tutto l’olio è stato spurgato, installate il tappo di spurgo e serrate a 54–63 N∙m.
Togliete il filtro dell'olio.
Spalmate un leggero strato di olio pulito sulla guarnizione del filtro dell’olio.
Inserite il filtro dell’olio nel motore fino a quando non entra a contatto con la superficie di montaggio, e serrate il filtro di un giro supplementare.
Important: Non serrate eccessivamente il filtro.
Aggiungete olio nella coppa; fate riferimento alla sezione Specifiche dell'olio e Controllo del livello dell'olio motore.
| Cadenza di manutenzione | Procedura di manutenzione |
|---|---|
| Ogni 3000 ore |
|
Se i guasti motore , , o vengono visualizzati nell’InfoCenter (Figura 57), pulite il filtro antifuliggine come descritto di seguito:



Fate riferimento alla sezione Motore nel Manuale di manutenzione per le informazioni su smontaggio e montaggio del catalizzatore di ossidazione diesel e del filtro antifuliggine del FAP.
Fate riferimento al vostro Centro assistenza autorizzato Toro per i ricambi o la manutenzione per il catalizzatore di ossidazione diesel e il filtro antifuliggine.
Contattate il vostro distributore Toro autorizzato per resettare l'ECU del motore dopo l'installazione di un FAP pulito.
| Cadenza di manutenzione | Procedura di manutenzione |
|---|---|
| Ogni 1000 ore |
|
| Ogni 1500 ore |
|
| Ogni 3000 ore |
|
In determinate condizioni, la benzina e i relativi vapori sono estremamente infiammabili ed esplosivi. Un incendio o un'esplosione causati dal carburante possono ustionare voi o altre persone e causare danni.
Fate il pieno di carburante all'aria aperta, a motore spento e freddo e tergete il carburante versato.
Non riempite completamente il serbatoio. Rabboccate il serbatoio del carburante fino a portare il livello del carburante a 25 mm dall’estremità superiore del serbatoio, non dalla base del collo del bocchettone. Questo spazio consentirà l'espansione del carburante.
Non fumate mai quando maneggiate il carburante e state lontani da fiamme vive o da luoghi in cui una scintilla potrebbe accendere i fumi di carburante.
Conservate il carburante in una tanica pulita ed omologata ai fini di sicurezza, con il tappo chiuso.
Il presente Manuale dell'operatore contiene informazioni più dettagliate relative alla manutenzione del carburante e dell'impianto del carburante rispetto al Manuale del proprietario del motore Yanmar®, contenente solo informazioni generali relative al carburante e alla manutenzione del carburante.
È importante comprendere l'importanza della manutenzione dell'impianto del carburante, della conservazione del carburante e della qualità del carburante per evitare tempi di inattività e interventi importanti di riparazione del motore.
L'impianto del carburante presenta tolleranze estremamente ridotte per via dei requisiti relativi alle emissioni e ai controlli. La qualità e la pulizia del gasolio sono più importanti per la longevità dei moderni sistemi di iniezione di carburante common rail ad alta pressione (HPCR) per i motori a gasolio.
Important: Acqua o aria nell'impianto del carburante danneggiano il motore! Non date per scontato che il carburante nuovo sia pulito. Accertatevi che il vostro carburante provenga da un fornitore di qualità, conservate il carburante in modo corretto e utilizzatelo entro 180 giorni.
Important: Nel caso in cui non seguiate le procedure per la sostituzione del filtro carburante, la manutenzione dell'impianto del carburante e la conservazione del carburante, l'impianto del carburante potrebbe guastarsi prematuramente. Effettuate tutte le operazioni di manutenzione dell'impianto del carburante secondo gli intervalli specificati o qualora il carburante sia contaminato o di bassa qualità.
Una corretta conservazione del carburante è fondamentale per mantenere il motore in buono stato. Una corretta manutenzione dei serbatoi di stoccaggio del carburante spesso è sottovalutata e causa la contaminazione del carburante erogato alla macchina.
Acquisite solo il carburante sufficiente per il consumo entro 180 giorni. Non utilizzate carburante stoccato per oltre 180 giorni. Ciò aiuta a ridurre la presenza di acqua e altri agenti contaminanti all'interno del carburante.
Se non rimuovete l'acqua dal serbatoio di stoccaggio o dal serbatoio del carburante della macchina, potrebbe prodursi ruggine o contaminazione nel serbatoio di stoccaggio e nei componenti dell'impianto del carburante. La fanghiglia nel serbatoio formatasi a causa di muffa, batteri o funghi restringe il flusso e ostruisce il filtro e gli iniettori del carburante.
Ispezionate regolarmente il serbatoio di stoccaggio del carburante e il serbatoio del carburante della macchina per monitorare la qualità del carburante nel serbatoio.
Accertatevi che il carburante provenga da un fornitore di qualità.
Se individuate dell'acqua o degli agenti contaminanti all'interno del serbatoio di stoccaggio del carburante o del serbatoio della macchina, risolvete il problema assieme al vostro fornitore di carburante ed effettuate tutte le operazioni di manutenzione dell'impianto del carburante.
Non conservate carburante diesel in taniche o contenitori con componenti placcati in zinco.
| Cadenza di manutenzione | Procedura di manutenzione |
|---|---|
| Prima di ogni utilizzo o quotidianamente |
|
Parcheggiate la macchina su una superficie pianeggiante, abbassate gli apparati di taglio, inserite il freno di stazionamento, spegnete il motore e togliete la chiave.
Mettete un contenitore pulito sotto il filtro del carburante.
Allentate la valvola di spurgo sul fondo della scatola del filtro e aprite la vite dello sfiato sulla parte superiore del supporto della scatola.

Serrate la valvola di spurgo sul fondo della scatola del filtro e chiudete la vite dello sfiato sulla parte superiore del supporto della scatola.
Innescate l’impianto del carburante; fate riferimento a Innesco dell'impianto del carburante.
Innescate l’impianto del carburante nelle seguenti condizioni:
Prima di avviare il motore per la prima volta.
Se rimanete a corto di carburante e aggiungete nuovo carburante all’impianto.
Dopo aver eseguito la manutenzione dell’impianto del carburante, per esempio il cambio del filtro del carburante, lo spurgo del separatore dell’acqua o la sostituzione di un componente dell’impianto del carburante.
Per innescare l’impianto del carburante, ruotate l’interruttore a chiave in posizione ON per 10-15 secondi, per consentire alla pompa del carburante elettrica di innescare l'impianto del carburante.
Important: Non utilizzate il motorino di avviamento per avviare il motore e innescare l'impianto del carburante. Questo danneggerà il motorino di avviamento.
| Cadenza di manutenzione | Procedura di manutenzione |
|---|---|
| Ogni 500 ore |
|
Important: Sostituite periodicamente la scatola del filtro del carburante per prevenire l'usura dello stantuffo della pompa di iniezione carburante o dell'iniettore, dovuta alla sporcizia presente nel carburante.
Mettete un contenitore pulito sotto la scatola del filtro del carburante (Figura 59).
Spurgate la scatola del filtro del carburante; fate riferimento a Manutenzione del separatore di condensa.
Pulite l’area circostante la testa del filtro e il filtro del carburante (Figura 59).

Togliete la scatola del filtro e pulite la testa del filtro (Figura 59).
Lubrificate la guarnizione sulla scatola del filtro con carburante diesel pulito.
Montate a mano la scatola del filtro nuova fino a portare la guarnizione a contatto con la superficie di appoggio.
Innescate l’impianto del carburante; fate riferimento a Innesco dell'impianto del carburante.
| Cadenza di manutenzione | Procedura di manutenzione |
|---|---|
| Ogni 500 ore |
|
Note: Per ulteriori informazioni si rimanda al Manuale d’uso del motore fornito con la macchina.
Pulite le superfici circostanti la testa del filtro del carburante (Figura 60).

Togliete il filtro e pulite la superficie di montaggio della testa del filtro (Figura 60).
Lubrificate la guarnizione del filtro con carburante diesel pulito.
Montate a mano la scatola del filtro asciutto finché la guarnizione non tocca la testa del filtro, poi ruotatela per un altro mezzo giro.
Avviate il motore e verificate che non ci siano fuoriuscite di carburante attorno alla testa del filtro.
| Cadenza di manutenzione | Procedura di manutenzione |
|---|---|
| Ogni 500 ore |
|
Controllate i tubi di alimentazione e i raccordi per verificare l'assenza di deterioramenti, danni o allentamento dei raccordi.
Il tubo di adduzione del carburante è posto all’interno del serbatoio del carburante. Il tubo di adduzione del carburante è provvisto di una griglia che contribuisce ad impedire a corpi estranei di entrare nell’impianto del carburante. Togliete il tubo di adduzione del carburante e pulite la griglia come opportuno.
Important: Prima di effettuare saldature sulla macchina, scollegate entrambi i cavi dalla batteria, entrambe le spine del cablaggio preassemblato dalle unità di controllo elettronico e il connettore terminale dall'alternatore, per non danneggiare l'impianto elettrico.
Scollegate la batteria prima di riparare la macchina. Scollegate prima il morsetto negativo, poi quello positivo. Collegate prima il morsetto positivo, poi quello negativo.
Caricate la batteria in un'area aperta e ben ventilata, lontano da fiamme e scintille. Togliete la spina del caricabatterie prima di collegare o scollegare la batteria. Indossate indumenti di protezione e adoperare utensili isolati.
L'elettrolito della batteria contiene acido solforico, che è fatale se consumato e causa gravi ustioni.
Non bevete l’elettrolito, e non lasciate che venga a contatto con la pelle, gli occhi o gli indumenti. Indossate occhiali di protezione per proteggere gli occhi, e guanti di gomma per proteggere le mani.
Riempite la batteria nelle vicinanze di acqua pulita, per lavare la pelle.
Durante la ricarica della batteria si sviluppano gas esplosivi.
Non fumate mai nelle adiacenze della batteria e tenetela lontano da scintille e fiamme.
Mantenete puliti i morsetti e la scatola della batteria, poiché le batterie sporche si scaricano lentamente. Per pulire la batteria, lavate la scatola completa con una soluzione di bicarbonato di sodio e acqua. Risciacquate con acqua pulita.
| Cadenza di manutenzione | Procedura di manutenzione |
|---|---|
| Ogni 50 ore |
|
Important: Quando rimuovete la batteria, scollegate sempre il cavo negativo (-) per primo.
Important: Quando montate la batteria, collegate sempre il cavo negativo (-) per ultimo.
In condizioni di funzionamento della macchina normali, la batteria non richiede altre attenzioni. Se la macchina è stata soggetta a un utilizzo prolungato a temperature ambientali alte, potrebbe essere necessario aggiungere acqua all'elettrolito della batteria.
Rimuovete il vano portaoggetti; fate riferimento a Rimozione del vano portaoggetti.
Eliminate qualsiasi traccia di corrosione dai poli della batteria con una spazzola di metallo e per prevenirne l'ulteriore corrosione.
Note: Controllate le condizioni dei fili della batteria. Montate fili nuovi quando quelli presenti presentano tracce di usura o danni, e stringete i collegamenti allentati se necessario.
Applicate grasso di rivestimento Grafo 112X (n. Cat. Toro 505-47) o vaselina ai terminali.
Pulite il vano batteria.
Rimuovete i coperchi degli elementi e aggiungete acqua distillata se necessario fino a portare il livello del liquido 15 mm sotto la parte superiore della batteria. Montate i coperchi degli elementi.
Installate il vano portaoggetti; fate riferimento a Montaggio del vano portaoggetti.
| Cadenza di manutenzione | Procedura di manutenzione |
|---|---|
| Ogni 500 ore |
|
Ispezionate tutti i collegamenti elettrici e i fili, e sostituite tutti gli elementi danneggiati o corrosi. Spruzzate un repellente per acqua di buona qualità sui collegamenti scoperti per prevenire l'ingresso di condensa.
Rimuovete il vano portaoggetti; fate riferimento a Rimozione del vano portaoggetti.
Togliete il coperchio del portafusibili (Figura 61).
Note: Il portafusibili è posto accanto alla batteria.

Verificate la presenza di fusibili aperti.
Note: Nell’impianto elettrico vi sono dieci fusibili.
Sostituite qualsiasi fusibile aperto con un fusibile di uguale amperaggio.

Montate il coperchio del portafusibili (Figura 61).
Montate il vano portaoggetti; fate riferimento a Montaggio del vano portaoggetti.
| Cadenza di manutenzione | Procedura di manutenzione |
|---|---|
| Prima di ogni utilizzo o quotidianamente |
|
Important: Per garantire un contatto corretto con il tappeto erboso, mantenete una pressione corretta in tutti gli pneumatici.
La pressione degli pneumatici raccomandata è di 1 bar per l'utilizzo generico complessivo. Regolate le pressioni dell'aria degli pneumatici attenendovi alla tabella che segue, a seconda delle condizioni di funzionamento.
| Pneumatici | Tipo pneumatico | Pressioni consigliate | ||
| Su tappeto erboso | Su strada | Pressione massima | ||
| Assale anteriore | BKT per schema tappeto erboso 26 x 12,0 - 12 | 0,7 bar | 1,4 bar | 1,4 bar |
| Assale posteriore | BKT per schema tappeto erboso 20 x 10,0 - 8 | 0,7 bar | 1,4 bar | 1,5 bar |
| Cadenza di manutenzione | Procedura di manutenzione |
|---|---|
| Dopo la prima ora |
|
| Dopo le prime 10 ore |
|
| Ogni 250 ore |
|
Specifiche della coppia di serraggio dei dadi delle ruoteanteriori: 200 N∙m
Specifiche della coppia di serraggio dei dadi delle ruoteposteriori: 100 N∙m
Il serraggio dei dadi delle ruote a una coppia errata può causare infortuni.
Mantenete una coppia adeguata dei dadi delle ruote.
| Cadenza di manutenzione | Procedura di manutenzione |
|---|---|
| Ogni 250 ore |
|
Controllate le condizioni e la sicurezza del cavo e del meccanismo dei pedali di comando della velocità e delle estremità della pompa della trasmissione.
Rimuovete i residui di sporco, sabbia e di altro tipo.
Accertatevi che i giunti sferici siano correttamente ancorati e verificate che le staffe di montaggio e gli ancoraggi dei cavi siano ben serrati e non presentino crepe.
Verificate l'eventuale presenza di tracce di usura, corrosione, di molle rotte sui raccordi terminali e, se necessario, sostituiteli.
Accertatevi che le guarnizioni di gomma siano posizionate correttamente e siano in buono stato.
Accertatevi che i manicotti che proteggono il cavo interno siano in buone condizioni e ben attaccati al gruppo del cavo esterno a livello dei collegamenti crimpati. In presenza di tracce di incrinature o di distacco, montate immediatamente un cavo nuovo.
Verificate che i manicotti, le aste e il cavo interno non presentino pieghe, attorcigliamenti o altri danni. Altrimenti, montate immediatamente un cavo nuovo.
A motore spento azionate i comandi a pedale, spostandoli su tutte le posizioni, e accertatevi che il meccanismo vada in posizione folle con un movimento fluido, libero, senza grippaggi o arresti.

| Cadenza di manutenzione | Procedura di manutenzione |
|---|---|
| Ogni 500 ore |
|
Per impedire l’eccessiva usura degli pneumatici e garantire un funzionamento sicuro della macchina, la parte anteriore e posteriore delle ruote posteriori devono essere allineate entro uno spazio pari o inferiore a 5 mm.
Girate il volante in modo che le ruote posteriori siano diritte.
All’altezza dell’asse, misurate la distanza tra la parte anteriore delle ruote posteriori e tra la parte posteriore delle ruote posteriori.
Note: Le ruote sono allineate se la differenza tra la misurazione anteriore e quella posteriore è pari o inferiore a 5 mm.

Se la differenza tra la misurazione anteriore e quella posteriore è superiore a 5 mm, allineate le ruote posteriori; fate riferimento a Regolazione della convergenza delle ruote posteriori.
Nella parte anteriore della ruota posteriore, allentate i 2 controdadi che fissano il gruppo asta di accoppiamento alle estremità dell’asta (Figura 65).

Allineate le ruote ruotando l’asta di accoppiamento (Figura 65).
Note: Utilizzate le spianature dell’asta di accoppiamento per ruotarla.
All’altezza dell’asse, misurate la distanza tra la parte anteriore delle ruote posteriori e tra la parte posteriore delle ruote posteriori.
Note: Le ruote sono allineate se la differenza tra la misurazione anteriore e quella posteriore è pari o inferiore a 5 mm.

Ripetete i passaggi 2 e 3 fino a quando le ruote non sono allineate.
Serrate i 2 controdadi per fissare il gruppo asta di accoppiamento e le estremità dell’asta (Figura 65).
L'ingestione di refrigerante del motore può causare avvelenamento, per cui tenetelo fuori dalla portata di bambini e animali domestici.
Se viene scaricato refrigerante caldo sotto pressione o si tocca il radiatore o le parti adiacenti calde, possono verificarsi gravi ustioni.
Lasciate sempre raffreddare il motore per almeno 15 minuti prima di rimuovere il tappo del radiatore.
Aprite il tappo del radiatore con uno straccio, agendo lentamente per lasciare fuoriuscire il vapore.
Il serbatoio del refrigerante è riempito in fabbrica con una soluzione al 50/50 di acqua e refrigerante a lunga durata a base di glicole etilenico.
Important: Utilizzate solo refrigeranti disponibili in commercio conformi alle specifiche elencate nella tabella Standard per refrigeranti a lunga durata.Non utilizzate refrigerante tradizionale (verde) con tecnologia ad acidi inorganici (IAT) nella vostra macchina. Non miscelate refrigerante tradizionale con refrigerante a lunga durata.
|
Tipologia di refrigerante con glicole etilenico |
Tipologia con inibitore della corrosione |
|
Antigelo a lunga durata |
Tecnologia con acidi organici (OAT) |
|
Important: Non basatevi sul colore del refrigerante per individuare la differenza tra refrigerante tradizionale (verde) con tecnologia agli acidi inorganici (IAT) e refrigerante a lunga durata.I produttori di refrigerante possono colorare il refrigerante a lunga durata in una delle seguenti tinte: rosso, rosa, arancione, giallo, blu, verde acqua, viola e verde. Utilizzate refrigeranti conformi alle specifiche elencate nella tabella Standard per refrigeranti a lunga durata. |
|
|
ATSM Internazionale |
SAE internazionale |
|
D3306 e D4985 |
J1034, J814 e 1941 |
Important: La concentrazione di refrigerante dovrebbe corrispondere a una miscela 50/50 di refrigerante e acqua.
Consiglio: Quando miscelate il refrigerante da un concentrato, utilizzate acqua distillata
Scelta consigliata: Se non disponete di acqua distillata, utilizzate un refrigerante premiscelato invece di un concentrato.
Requisito minimo: Se non disponete di acqua distillata e di refrigerante premiscelato, miscelate refrigerante concentrato con acqua potabile pulita.
| Cadenza di manutenzione | Procedura di manutenzione |
|---|---|
| Prima di ogni utilizzo o quotidianamente |
|
Se il motore è rimasto in funzione, il refrigerante nel radiatore sarà caldo e sotto pressione e può fuoriuscire provocando ustioni.
Non aprite il tappo del radiatore quando il motore gira.
Aprite il tappo del radiatore con un cencio, agendo lentamente per lasciare fuoriuscire il vapore.
Controllate il livello di refrigerante nel serbatoio di espansione (Figura 67).
Il livello di refrigerante deve essere compreso tra i segni previsti sul lato del serbatoio.

Se il livello del refrigerante è basso, togliete il tappo dal serbatoio di espansione e rabboccate. Non riempite troppo.
Montate il tappo del serbatoio di espansione.
| Cadenza di manutenzione | Procedura di manutenzione |
|---|---|
| Prima di ogni utilizzo o quotidianamente |
|
Parcheggiate la macchina su una superficie pianeggiante, abbassate gli apparati di taglio, spegnete il motore, inserite il freno di stazionamento e togliete la chiave.
Rimuovete il perno a sfera dal fermo della griglia (Figura 68).

Sbloccate la griglia del motore, apritela e sollevatela dalla macchina (Figura 69).

Pulite le griglie.
Sbloccate e aprite il cofano (Figura 70).

Pulite accuratamente tutti i detriti attorno al motore.
Pulite accuratamente entrambi i lati del radiatore e del refrigeratore dell’olio utilizzando aria compressa (Figura 71).

Chiudete e bloccate il cofano.
Assemblate la grigia nei perni orientabili, chiudete la griglia e fissatela con il fermo e il perno a sfera.
| Cadenza di manutenzione | Procedura di manutenzione |
|---|---|
| Dopo le prime 50 ore |
|
| Ogni 250 ore |
|
Applicate una forza di 10 kg sulla cinghia dell’alternatore (Figura 72), al centro tra le pulegge.
Note: La cinghia deve flettersi di 10 mm.

Se la tensione della cinghia è anomala, eseguite le operazioni descritte di seguito:
Se l’inflessione della cinghia è minore di 10 mm, allentate il bullone orientabile dell’alternatore e il bullone della tensione (Figura 72), e riducete la tensione della cinghia.
Se l’inflessione della cinghia è maggiore di 10 mm, allentate il bullone orientabile dell’alternatore e il bullone della tensione (Figura 72), e aumentate la tensione della cinghia.
Note: Se necessario, allentate il bullone della staffa della tensione (Figura 72).
Serrate i bulloni (Figura 72).
Controllate di nuovo l’inflessione della cinghia per accertarvi che la tensione della cinghia sia corretta.
Se il fluido penetra nella pelle, rivolgetevi immediatamente a un medico. Il fluido idraulico penetrato sotto la pelle deve essere asportato da un medico entro poche ore.
Prima di mettere l'impianto sotto pressione, accertatevi che tutti i circuiti e i tubi dell'olio idraulico siano in buone condizioni e che tutte le connessioni e i raccordi idraulici siano serrati saldamente.
Tenete corpo e mani lontano da perdite filiformi o da ugelli che emettono fluido idraulico pressurizzato.
Usate carta o cartone per individuare eventuali perdite di fluido idraulico.
Rilasciate in maniera sicura la pressione dall'impianto idraulico prima di eseguire qualunque intervento sull'impianto.
| Cadenza di manutenzione | Procedura di manutenzione |
|---|---|
| Prima di ogni utilizzo o quotidianamente |
|
Controllate i tubi idraulici e i flessibili per rilevare fuoriuscite, tubi attorcigliati, attacchi allentati, usura, raccordi allentati e deterioramento causato dalle condizioni atmosferiche e da agenti chimici. Riattate completamente prima di usare la macchina.
Il serbatoio viene rifornito in fabbrica con liquido idraulico di qualità elevata. Controllate il livello del fluido idraulico prima di avviare il motore per la prima volta e in seguito ogni giorno; fate riferimento a Controllo del livello del fluido idraulico.
Fluido idraulico consigliato: Toro PX Extended Life Hydraulic Fluid (fluido idraulico per prolungare la durata); disponibile in fustini da 19 litri o in contenitori da 208 litri.
Note: Una macchina che utilizza il fluido di ricambio raccomandato richiede cambi meno frequenti di fluido e filtro.
Fluidi idraulici alternativi: qualora il fluido Toro PX Extended Life non fosse disponibile, si potranno utilizzare altri fluidi idraulici di tipo tradizionale a base di petrolio con specifiche che rientrino nell'intervallo indicato per tutte le seguenti proprietà materiali e siano conformi agli standard di settore. Non usate fluidi sintetici. Il distributore di lubrificanti vi consiglierà sulla scelta di un prodotto soddisfacente.
Note: Toro non si assume alcuna responsabilità per danni causati da sostituzioni non idonee, pertanto si raccomanda di utilizzare solo prodotti di costruttori di buona reputazione, che rispondano delle proprie raccomandazioni.
| Proprietà materiali: | ||
| Viscosità, ASTM D445 | cSt a 40 °C da 44 a 48 | |
| Indice di viscosità ASTM D2270 | 140 o superiore | |
| Punto di scorrimento, ASTM D97 | da -37 °C a -45 °C | |
| Caratteristiche industriali: | Eaton Vickers 694 (I-286-S, M-2950-S/35VQ25 o M-2952-S) | |
Note: Molti fluidi idraulici sono praticamente incolori, e rendono difficile il rilevamento di fuoriuscite. Un additivo con colorante rosso per il fluido idraulico è disponibile in flaconi da 20 ml. Una confezione è sufficiente per 15–22 litri di fluido idraulico. Per ottenerlo, ordinate il n. cat. 44-2500 presso il Distributore Toro autorizzato di zona.
Important: Toro Premium Synthetic Biodegradable Hydraulic Fluid è l'unico fluido biodegradabile sintetico approvato da Toro. Questo fluido è compatibile con gli elastomeri utilizzati negli impianti idraulici Toro ed è adatto ad una vasta gamma di temperature. Questo fluido è compatibile con oli minerali tradizionali; tuttavia, per ottenere la massima biodegradabilità e i migliori risultati, occorre lavare accuratamente l’impianto idraulico eliminando il fluido tradizionale. L'olio è disponibile in fustini da 19 litri o in contenitori da 208 litri del vostro distributore Toro autorizzato.
| Cadenza di manutenzione | Procedura di manutenzione |
|---|---|
| Prima di ogni utilizzo o quotidianamente |
|
Il serbatoio viene rifornito in fabbrica con liquido idraulico di qualità elevata. Il momento più opportuno per controllare il filtro idraulico è quando è freddo.
Parcheggiate la macchina su una superficie pianeggiante, abbassate gli apparati di taglio, inserite il freno di stazionamento, spegnete il motore e togliete la chiave.
Controllate l’indicatore di livello sulla parte laterale del serbatoio.
Note: Il livello del fluido idraulico deve essere allineato al segno superiore.
Se è necessario aggiungere fluido idraulico, rimuovete il vano portaoggetti; fate riferimento a Rimozione del vano portaoggetti.
Pulite attorno al collo del bocchettone e del tappo del serbatoio idraulico (Figura 73).


Togliete il tappo e riempite il serbatoio con il fluido idraulico specificato fino a portare il livello dell’olio al segno superiore sull’indicatore di livello.
Important: Non riempite eccessivamente il serbatoio di fluido idraulico.
Montate il tappo sul serbatoio.
Montate il vano portaoggetti; fate riferimento a Montaggio del vano portaoggetti.
| Cadenza di manutenzione | Procedura di manutenzione |
|---|---|
| Ogni 500 ore |
|
| Ogni 1000 ore |
|
Parcheggiate la macchina su una superficie pianeggiante, abbassate gli apparati di taglio, spegnete il motore, inserite il freno di stazionamento e togliete la chiave.
Apertura del cofano.
Sul lato sinistro della macchina, pulite l’area attorno alla testa del filtro e ponete una bacinella di spurgo sotto il filtro (Figura 74).

Rimuovete il filtro di ritorno (Figura 74).
Lubrificate la guarnizione del nuovo filtro di ritorno con fluido idraulico pulito.
Assemblate il filtro alla testa del filtro, e serrate il filtro a mano fino a quando la guarnizione non entra a contatto con la superficie di montaggio, quindi ruotatelo di un altro mezzo giro (Figura 74).
Avviate il motore e lasciatelo funzionare per 2 minuti, per spurgare l’aria dall’impianto.
Spegnete il motore, togliete la chiave e controllate l'eventuale presenza di fuoriuscite.
Chiudete e bloccate il cofano.
| Cadenza di manutenzione | Procedura di manutenzione |
|---|---|
| Ogni 500 ore |
|
| Ogni 1000 ore |
|
In caso di contaminazione del fluido, contattate il vostro distributore Toro autorizzato per il lavaggio dell'impianto. Il fluido contaminato ha un aspetto lattiginoso o nero rispetto al fluido pulito.
Parcheggiate la macchina su una superficie pianeggiante, abbassate gli apparati di taglio, spegnete il motore, inserite il freno di stazionamento e togliete la chiave.
Rimuovete il vano portaoggetti; fate riferimento a Rimozione del vano portaoggetti.
Allineate una bacinella di spurgo sotto il serbatoio idraulico, rimuovete il tappo di spurgo del serbatoio, e spurgate completamente il fluido idraulico (Figura 75).

Montate il tappo di spurgo con una nuova guarnizione.
32 litri; fate riferimento a Specifiche del fluido idraulico
Riempite il serbatoio idraulico con il fluido idraulico specificato; fate riferimento a Specifiche del fluido idraulico e Controllo del livello del fluido idraulico.
Important: Utilizzate solo i fluidi idraulici specificati; altri fluidi idraulici potrebbero danneggiare l’impianto.
Mettete in funzione la macchina e azionate tutti i circuiti idraulici fino a quando il fluido idraulico non è caldo.
Controllate il livello del fluido e rabboccatelo, all'occorrenza, per portarlo al segno superiore sull'indicatore di livello.
Montate il vano portaoggetti; fate riferimento a Montaggio del vano portaoggetti.
Una lama o controlama usurata o danneggiata può rompersi e un pezzo può essere scagliato verso di voi o gli astanti, determinando gravi lesioni personali o la morte.
Ispezionate periodicamente le lame e le controlame per escludere usura o danni eccessivi.
Prestate la massima attenzione quando controllate le lame. Indossate i guanti e prestate attenzione durante il controllo. Effettuate solo operazioni di sostituzione o lappatura di lame e controlame; non raddrizzatele né saldatele.
Sulle macchine con più apparati di taglio, prestate attenzione alla rotazione di un apparato di taglio: può causare la rotazione dei cilindri negli altri apparati di taglio.
| Cadenza di manutenzione | Procedura di manutenzione |
|---|---|
| Ogni anno |
|
Per mantenere l'equilibrio, sostituite le lame solo a coppie opposte o un intero rotore per volta. Quando sostituite una lama, sostituite anche la boccola, il bullone e il dado di bloccaggio. Sono disponibili 2 kit di assistenza per la sostituzione delle lame; fate riferimento al Catalogo ricambi.
Sollevate gli apparati di taglio e fissateli con i fermi di trasferimento.
Innestate il freno di stazionamento, spegnete il motore e togliete la chiave.
Se sostituite le lame sull'apparato di taglio centrale, rimuovete l'intero apparato di taglio a meno che non sia disponibile un mezzo di sollevamento dall'alto.
Girate lentamente il rotore manualmente, in modo che ciascuna fila di trince si trovi nella posizione desiderata e sia possibile accedervi facilmente.
Utilizzate lo strumento di bloccaggio del rotore (in dotazione con il kit di affilatura delle lame) per bloccare il rotore.
Rimuovete eventuali detriti dalla testa del bullone e dal dado e pulite i filetti sporgenti con una spazzola metallica.
Contrassegnate la posizione della testa del bullone, in modo da poter riposizionare i bulloni dallo stesso lato.
Afferrando la lama con un panno o un guanto imbottito, rimuovete il dado, il bullone, la boccola e la lama (Figura 77).
Note: Se necessario, applicate olio penetrante sui filetti per facilitare la rimozione del dado.

Eliminate la lama, la boccola, il dado e il bullone.
Montate una nuova lama e boccola con un nuovo dado e bullone della lama (Figura 77).
Note: Prestate attenzione ai segni della posizione della testa del bullone, in modo da poter riposizionare il bullone nella stessa direzione.
Serrate i dispositivi di fissaggio a 45 N∙m.
| Cadenza di manutenzione | Procedura di manutenzione |
|---|---|
| Ogni 50 ore |
|
Assicuratevi che tutti i bulloni della lama siano serrati a 45 N∙m.
| Cadenza di manutenzione | Procedura di manutenzione |
|---|---|
| Prima di ogni utilizzo o quotidianamente |
|
| Ogni 50 ore |
|
Important: Le lame devono essere sempre sostituite contemporaneamente alla lama opposta/a coppie per mantenere il bilanciamento.
Parcheggiate la macchina su terreno pianeggiante.
Sollevate e supportate l'apparato di taglio con i fermi di trasferimento.
Spegnete il motore, inserite il freno di stazionamento e togliete la chiave.
Controllate ogni lama per escludere danni, con particolare attenzione a dispositivi di fissaggio, taglienti e fori di montaggio (Figura 78). Sostituite tutte le lame e i dispositivi di fissaggio danneggiati.

Controllate ogni lama per escludere usura eccessiva utilizzando la linea di usura (Figura 79). Quando una lama è usurata fino alla linea di usura, sostituitela.

Assicuratevi che ciascun bullone della lama sia serrato a 45 N∙m.
Bloccate ogni lama e assicuratevi che non vi sia un movimento libero totale superiore a 3 mm in ciascuna direzione dal rotore. Se il movimento libero totale è superiore a 3 mm, sostituite la lama.
Controllate che non vi siano differenze di peso tra ciascuna coppia di lame opposte.
Note: Ogni coppia di lame opposte deve avere una differenza di peso non superiore a 10 grammi.
Le lame consumate o danneggiate possono spezzarsi e scagliare frammenti verso di voi o gli astanti, causando gravi ferite o anche la morte.
Controllate le lame ad intervalli regolari, per accertare che non siano consumate o danneggiate.
Se la lama è consumata o danneggiata, sostituitela.
| Cadenza di manutenzione | Procedura di manutenzione |
|---|---|
| Prima di ogni utilizzo o quotidianamente |
|
Controllate la protezione posteriore per accertare che non sia consumata o danneggiata (Figura 80). Sostituite la protezione posteriore se danneggiata, per prevenire il lancio di oggetti nell'area dell'operatore.

La pressione residua nell'impianto idraulico può causare infortuni a causa di un movimento improvviso del rotore (o dei rotori) della trincia quando il blocco viene rilasciato.
Non tentate mai di ruotare o eliminare un'ostruzione dai rotori della trincia manualmente.
Indossate sempre abbigliamento protettivo e utilizzate un'asta in legno.
Assicuratevi che l'asta di legno si inserisca nel rotore della trincia e sia abbastanza lunga da creare una leva sufficiente a rilasciare l’ostruzione.
Spostate l'interruttore di trasmissione dell'apparato di taglio in posizione SPEGNIMENTO.
Parcheggiate la macchina su terreno piano, rilasciate i pedali di trazione avanti o indietro, portate il comando dell'acceleratore sulla posizione di minimo e inserite il freno di stazionamento.
Abbassate gli apparati di taglio a terra o bloccateli in modo sicuro nella posizione di trasferimento designata.
Spegnete il motore, rimuovete la chiave e attendete che tutti i rotori della trincia si arrestino.
Utilizzate un'asta di legno per rimuovere l'ostruzione.
Important: Il rotore della trincia potrebbe ruotare quando rilasciate l'ostruzione.
Important: Supportate l'asta di legno nell'apparato di taglio in modo da evitare di utilizzare una forza eccessiva quando rimuovete l'ostruzione.
Togliete l'asta di legno dall'apparato di taglio prima di avviare il motore.
Riparate o regolate l'apparato di taglio se necessario.
| Cadenza di manutenzione | Procedura di manutenzione |
|---|---|
| Prima di ogni utilizzo o quotidianamente |
|
Ispezionate le protezioni anteriori per accertare l'assenza di usura o di danni (Figura 81). Sostituite le protezioni se danneggiate, per evitare che gli oggetti vengano scagliati verso di voi.

| Cadenza di manutenzione | Procedura di manutenzione |
|---|---|
| Prima di ogni utilizzo o quotidianamente |
|
| Ogni 50 ore |
|
Sollevate e supportate l'apparato di taglio.
Afferrate ciascun apparato di taglio e verificate che non vi sia un gioco eccessivo in senso laterale o longitudinale.
| Cadenza di manutenzione | Procedura di manutenzione |
|---|---|
| Prima di ogni utilizzo o quotidianamente |
|
| Ogni 50 ore |
|
Per verificare eventuali vibrazioni anomale del rotore, mettete in funzione un apparato di taglio alla volta a pieno regime del motore.
Note: In caso di vibrazioni anomale, verificate che non vi siano danni o usura eccessiva del rotore o delle lame. Tutte le lame devono avere un livello simile di usura, dal momento che il loro peso influisce sul bilanciamento del rotore.
Note: Se non siete in grado di risolvere il problema di vibrazione, contattate il vostro distributore Toro autorizzato.
Sollevate e supportate l'apparato di taglio.
Afferrate il rotore da ciascun'estremità e verificate che non vi sia un gioco eccessivo all'estremità.
Note: Se rilevate un gioco eccessivo all'estremità del rotore, contattate il vostro distributore Toro autorizzato.
Note: Se è necessario sostituire o bilanciare il rotore, contattate il vostro distributore Toro autorizzato.
| Cadenza di manutenzione | Procedura di manutenzione |
|---|---|
| Ogni 50 ore |
|
Important: Mantenete i cuscinetti dei rulli sugli apparati di taglio ben regolati, per garantire la massima durata operativa. Un gioco eccessivo all'estremità del rullo può causare danni prematuri ai cuscinetti.
Afferrate il rullo e muovetelo su e giù, e da lato a lato.
In caso di movimento eccessivo, serrate attentamente i dadi a ciascun'estremità del rullo con la chiave, quanto basta per rimuovere qualsiasi gioco all'estremità (Figura 82).
Note: Dopo la regolazione il rullo dovrebbe continuare a ruotare liberamente. Il serraggio eccessivo dei dadi potrebbe danneggiare prematuramente il cuscinetto.
Note: Regolate i dadi della stessa quantità ad entrambe le estremità del rullo.

| Cadenza di manutenzione | Procedura di manutenzione |
|---|---|
| Ogni 50 ore |
|
Verificate che i fili del raschiarullo abbiano una tensione corretta per la massima durata operativa.
Serrate attentamente i dadi di fissaggio dei fili del raschiarullo per rimuovere eventuali allentamenti dai fili.
Serrate i dadi con 4 giri completi per sottoporre a una corretta tensione i fili (Figura 83).

Note: Non tendete i fili del raschiarullo in modo eccessivo.
| Cadenza di manutenzione | Procedura di manutenzione |
|---|---|
| Prima di ogni utilizzo o quotidianamente |
|
Ispezionate la cintura di sicurezza verificando che non presenti segni di usura o tagli o danni di altra natura. Sostituite la/e cintura/e di sicurezza se qualsiasi componente non funziona correttamente.
Pulite la cintura di sicurezza secondo necessità.
| Cadenza di manutenzione | Procedura di manutenzione |
|---|---|
| Prima di ogni utilizzo o quotidianamente |
|
Controllate la macchina per controllare l'eventuale allentamento o l'assenza di dispositivi di fissaggio.
Note: Serrate i dispositivi di fissaggio eventualmente allentati e sostituite quelli mancanti.
| Cadenza di manutenzione | Procedura di manutenzione |
|---|---|
| Ogni 250 ore |
|
| Ogni 1500 ore |
|
| Ogni 2 anni |
|
Lavate la macchina all'occorrenza con acqua soltanto oppure acqua con l'aggiunta di un detergente neutro. Potete usare uno straccio per il lavaggio.
Important: Non utilizzate acqua salmastra o rigenerata per pulire la macchina.
Important: Non lavate la macchina con attrezzature per l'idrolavaggio. Le attrezzature per l'idrolavaggio potrebbero danneggiare l'impianto elettrico, staccare adesivi importanti ed eliminare il grasso necessario nei punti di attrito. Non usate una quantità eccessiva d’acqua in prossimità della plancia, del motore e della batteria.
Important: Non lavate la macchina mentre il motore è in funzione. Farlo potrebbe provocare danni interni al motore.
Prima di abbandonare la posizione dell'operatore, effettuate quanto segue:
Parcheggiate la macchina su un terreno pianeggiante.
Sganciate le unità di taglio e abbassatele.
Inserite il freno di stazionamento.
Spegnete il motore e togliete la chiave.
Attendete che tutte le parti in movimento si arrestino.
Lasciate raffreddare la macchina prima di eseguire interventi di regolazione, manutenzione, pulizia o prima del rimessaggio.
Non rimessate la macchina o la tanica del carburante in luoghi con presenza di fiamme libere, scintille o spie, ad es. scaldabagni o altri apparecchi.
Parcheggiate la macchina su una superficie pianeggiante, abbassate gli apparati di taglio, inserite il freno di stazionamento, spegnete il motore e togliete la chiave.
Pulite accuratamente il trattore, gli apparati di taglio e il motore.
Controllate la pressione degli pneumatici; vedere Controllo della pressione dell'aria degli pneumatici.
Controllate tutti gli elementi di fissaggio per verificare che non siano allentati; all'occorrenza serrateli.
Lubrificate con grasso od olio tutti i raccordi di ingrassaggio e i punti di articolazione. Tergete il lubrificante superfluo.
Carteggiate leggermente e ritoccate le aree verniciate graffiate, scheggiate o arrugginite. Riparate ogni intaccatura nel metallo.
Spurgate l’olio dal motore e montate il tappo di spurgo.
Togliete il filtro dell'olio e scartatelo. Montate un nuovo filtro dell'olio.
Riempite il motore con l'olio indicato.
Avviate il motore e lasciatelo funzionare alla velocità minima per circa 2 minuti.
Spegnete il motore e togliete la chiave.
Lavate il serbatoio con carburante nuovo e pulito.
Fissate tutti i raccordi dell'impianto di carburante.
Pulite accuratamente il gruppo filtro dell'aria e revisionatelo.
Sigillate l'entrata del filtro dell'aria e l'uscita di scarico con un nastro resistente agli agenti atmosferici.
Controllate la protezione antigelo ed aggiungete una soluzione di 50% anticongelante glicol etilico e 50% acqua, come opportuno, in base alle temperature minime previste nella vostra zona.
Revisionate la batteria e i cavi come segue; fate riferimento a Sicurezza dell'impianto elettrico.
Togliete i morsetti della batteria dai poli.
Pulite la batteria, i morsetti e i poli con una spazzola metallica e una soluzione di bicarbonato di sodio.
Per evitare la corrosione, ricoprite i morsetti e i poli della batteria con grasso di rivestimento Grafo 112X (codice prodotto Toro 505-47) o vaselina.
Per impedire la solfatazione di piombo della batteria, caricatela lentamente ogni 60 giorni per 24 ore.
| Problem | Possible Cause | Corrective Action |
|---|---|---|
| Sono presenti aree di erba non tagliata nella sovrapposizione tra gli apparati di taglio. |
|
|
| Sono presenti creste su tutta l'ampiezza del taglio lungo la direzione di avanzamento. |
|
|
| Sono presenti creste sull'erba tagliata, lungo la direzione di avanzamento, su tutta la larghezza di taglio di un apparato di taglio. |
|
|
| È presente un gradino nell'altezza dell'erba tagliata nel punto di sovrapposizione tra gli apparati di taglio. |
|
|
| Sono presenti ciuffi d'erba non tagliati o tagliati male. |
|
|
| Sono presenti strisce di erba non tagliata o tagliata male lungo la direzione di avanzamento. |
|
|
| Il tappeto erboso presenta strappi. |
|
|
| La lama è eccessivamente usurata. |
|
|
| Il motore non si avvia con la chiave di accensione. |
|
|
| La batteria non viene alimentata. |
|
|
| Il fluido idraulico è surriscaldato. |
|
|
| L'impianto frenante non funziona correttamente. |
|
|
| La sterzata risulta scarsa. |
|
|
| La macchina non si muove né in avanti né indietro. |
|
|
| La macchina si sposta in avanti o indietro in folle. |
|
|
| Il sistema idraulico è eccessivamente rumoroso. |
|
|
| Dopo un periodo iniziale di funzionamento soddisfacente, la macchina perde potenza. |
|
|
| I rotori vibrano eccessivamente. |
|
|
| 1 rotore ruota lentamente. |
|
|
| Un apparato di taglio non si solleva. |
|
|
| Gli apparati di taglio non seguono il profilo del suolo. |
|
|
| Gli apparati di taglio non si avviano quando abbassati per il funzionamento. |
|
|
| Il rotore ruota nella direzione errata. |
|
|