| Périodicité d'entretien | Procédure d'entretien |
|---|---|
| À chaque utilisation ou une fois par jour |
|
Cette machine est une tondeuse autoportée à fléaux prévue pour les utilisateurs professionnels employés à des applications professionnelles. Elle est principalement conçue pour tondre les pelouses régulièrement entretenues. L'utilisation de ce produit à d'autres fins que celle prévue peut être dangereuse pour vous-même et toute personne à proximité.
Lisez attentivement cette notice pour apprendre comment utiliser et entretenir correctement votre produit, et éviter ainsi de l'endommager ou de vous blesser. Vous êtes responsable de l'utilisation sûre et correcte du produit.
Pour plus d'informations, y compris des conseils de sécurité, des documents de formation, des renseignements concernant un accessoire, pour obtenir l'adresse d'un concessionnaire ou pour enregistrer votre produit, rendez-vous sur www.toro.com/fr-fr.
Pour obtenir des prestations de service, des pièces d'origine Toro ou des renseignements complémentaires, munissez-vous des numéros de modèle et de série du produit et contactez un concessionnaire-réparateur agréé ou le service client Toro. La Figure 1 indique l'emplacement des numéros de modèle et de série sur le produit. Inscrivez les numéros dans l'espace réservé à cet effet.
Important: Avec votre appareil mobile, vous pouvez scanner le QR code sur l'autocollant du numéro de série (le cas échéant) afin d'accéder aux informations sur la garantie, les pièces détachées et autres renseignements concernant le produit.

Ce produit est conforme à toutes les directives européennes pertinentes. Pour plus de renseignements, reportez-vous à la Déclaration de conformité spécifique du produit fournie séparément.
Ce produit peut sectionner les mains ou les pieds et projeter des objets.
Vous devez lire et comprendre le contenu de ce Manuel de l'utilisateur avant de démarrer le moteur.
Accordez toute votre attention à l'utilisation de la machine. Ne faites rien d’autre qui puisse vous distraire, au risque de causer des dommages corporels ou matériels.
N'approchez pas les mains ou les pieds des composants mobiles de la machine.
N'utilisez pas la machine s'il manque des capots ou d'autres dispositifs de protection, ou s'ils sont défectueux.
N'admettez personne, notamment les enfants, dans le périmètre de travail. N'autorisez jamais les enfants à utiliser la machine.
Avant de quitter la position d'utilisation, coupez le moteur, enlevez la clé et attendez l'arrêt complet de tout mouvement. Laissez refroidir la machine avant de la régler, d'en faire l'entretien, de la nettoyer ou de la remiser.
Le symbole de sécurité (Figure 2) utilisé dans ce manuel et sur la machine identifie d'importants messages de sécurité dont vous devez tenir compte pour éviter des accidents.

Le symbole de sécurité apparaît au-dessus de toute information signalant des actions ou des situations dangereuses. Il est suivi de la mention DANGER, ATTENTION ou PRUDENCE.
DANGER signale un danger immédiat qui, s'il n'est pas évité, entraînera obligatoirement des blessures graves ou mortelles.
ATTENTION signale un danger potentiel qui, s'il n'est pas évité, risque d'entraîner des blessures graves ou mortelles.
PRUDENCE signale un danger potentiel qui, s'il n'est pas évité, peut éventuellement entraîner des blessures légères ou modérées.
Ce manuel utilise également deux autres termes pour faire passer des informations essentielles : Important pour attirer l'attention sur des informations d'ordre mécanique spécifiques et Remarque pour souligner des informations d'ordre général méritant une attention particulière.
![]() |
Des autocollants de sécurité et des instructions bien visibles par l'utilisateur sont placés près de tous les endroits potentiellement dangereux. Remplacez tout autocollant endommagé ou manquant. |























Rangez toute la documentation en lieu sûr afin de pouvoir vous y reporter au besoin.
Note: Les côtés gauche et droit de la machine sont déterminés d'après la position d'utilisation normale.


Utilisez le commutateur d'allumage pour contrôler le moteur et l'alimentation vers certains composants électriques.

La commande des unités de coupe permet d'engager et d'arrêter les unités de coupe (Figure 4).
Note: Placez toujours la commande des unités de coupe en position ARRêT lorsque vous conduisez la machine entre les surfaces de travail.
Utilisez les commandes de position pour élever et abaisser les unités de coupe (Figure 4).
Utilisez la commande de régime moteur réguler le régime moteur.
La commande de régime moteur (Figure 4) a 2 positions permettant de modifier le régime moteur.
Appuyez brièvement sur la commande pour modifier le régime moteur par paliers de 100 tr/min.
Appuyez de manière prolongée sur l'avant de la commande pour faire tourner le moteur au régime de RALENTI ACCéLéRé.
Appuyez de manière prolongée sur l'arrière de la commande pour faire tourner le moteur au RALENTI.
Le frein de stationnement n'agit que sur les roues avant et peut ne pas suffire à empêcher la machine de rouler en bas d'une pente. La machine pourrait se déplacer inopinément.
Ne garez pas la machine sur une pente.

Pour serrer le frein de stationnement, poussez en arrière le petit bouton de verrouillage au sommet de la commande et appuyez sur l'avant de la commande (Figure 6).
Note: L'icône du frein de stationnement s'affiche dans l'InfoCenter.
Pour desserrer le frein de stationnement, appuyez sur l'arrière de la commande.
La transmission hydraulique procure à la machine un effet de frein de service. Lorsque vous relâchez les pédales de déplacement en marche avant ou arrière, ou que vous réduisez le régime moteur, la transmission produit un effet de frein de service qui fait baisser la vitesse de déplacement ou arrête la machine. Pour augmenter l'effet de freinage de la transmission, amenez la pédale de transmission en position NEUTRE. Seules les roues avant produisent un effet de frein de service.
Le système de freinage de service n'empêche pas la machine de rouler quand elle est garée. La machine pourrait se déplacer inopinément.
Serrez le frein de stationnement avant de garer la machine.
Si le frein de service est endommagé ou inefficace, coupez le moteur, serrez le frein principal, enlevez la clé et faites réparer la machine.
Déplacement avant : appuyez sur la pédale de marche avant pour faire avancer la machine et augmenter la vitesse de déplacement. Relâchez la pédale pour ralentir (Figure 7).
Déplacement arrière : appuyez sur la pédale de marche arrière pour faire reculer la machine et augmenter la vitesse de déplacement. Relâchez la pédale pour ralentir (Figure 7).
Arrêt (point mort) : pour arrêter la machine, utilisez l'une des procédures ci-après :
Relâchez la pédale de déplacement et laissez-la revenir à la position neutre. Le freinage dynamique arrête alors la machine en douceur.
Appuyez brièvement sur la pédale de marche arrière. Cela permet d'arrêter la machine plus rapidement qu'avec le freinage dynamique.

Réglez le volant et la colonne de direction uniquement lorsque la machine est garée sur une surface plane et horizontale.
Pour incliner le volant, appuyez sur la pédale.
Positionnez la colonne de direction à la position la plus confortable et relâchez la pédale (Figure 8).

Déplacez le levier vers le haut pour régler la position avant/arrière du siège. Relâchez le levier pour bloquer le siège en position (Figure 9).

Tournez la poignée dans le sens horaire pour augmenter la rigidité de la suspension et dans le sens antihoraire pour la réduire. Le cadran indique quand la suspension du siège est réglée pour le poids de l'utilisateur (kg) ; voir Figure 10.

Pour régler progressivement la hauteur du siège, levez manuellement le siège. Pour baisser le siège, levez-le au-delà du réglage le plus élevé, laissez-le redescendre au réglage le plus bas, puis levez-le manuellement à la hauteur voulue si nécessaire (Figure 11).

Tirez la poignée vers l'extérieur pour régler l'angle du dossier du siège. Relâchez la poignée pour bloquer le dossier en position (Figure 12).

La jauge de carburant indique la quantité de carburant dans le réservoir (Figure 13).

Levez les unités de coupe en position TRANSPORT et bloquez les goupilles de verrouillage des bras sur les verrous avec les barres (Figure 14).

Levez les unités de coupe en position TRANSPORT, levez le bras de verrouillage du bras de l'unité de coupe arrière et positionnez le bras à l'intérieur (Figure 15).

Note: Les spécifications et la conception peuvent faire l'objet de modifications sans préavis.
| Spécifications | LT-F3000 |
| Largeur de transport | 157,5 cm |
| Largeur de coupe | 76 à 212 cm |
| Hauteur de coupe | 20 à 75 mm |
| Longueur | 300 cm |
| Hauteur | 168 cm avec ROPS baissé |
| 216 cm avec ROPS levé | |
| 209 cm avec cabine | |
| Poids(sans carburant ou accessoires) | 1 436 kg avec ROPS |
| 1 636 kg avec cabine | |
| Moteur | Yanmar 3TNV86CT 32,4 kw (43,4 ch) à 3 000 tr/min |
| Capacité du réservoir de carburant | 60 litres |
| Vitesse de transport | 25 km/h |
| Vitesse de tonte | 11 km/h |
| Capacité du système hydraulique | 32 litres |
| Régime moteur | 3 000 tr/min |
| Vitesse de rotor | 3 000 tr/min |
Une sélection d'outils et d'accessoires agréés par Toro est disponible pour augmenter et améliorer les capacités de la machine. Pour obtenir la liste de tous les accessoires et outils agréés, contactez votre concessionnaire-réparateur ou votre distributeur Toro agréé, ou rendez-vous sur www.toro.com/fr-fr.
Pour garantir un rendement optimal et conserver la certification de sécurité de la machine, utilisez uniquement des pièces de rechange et accessoires d'origine Toro. Les pièces de rechange et outils provenant d'autres constructeurs peuvent être dangereux, et leur utilisation risque d'annuler la garantie de la machine.
Ne confiez jamais l'utilisation ou l'entretien de la machine à des enfants ou à des personnes non qualifiées. La réglementation locale peut imposer un âge minimum pour les utilisateurs. Le propriétaire de la machine doit assurer la formation de tous les utilisateurs et mécaniciens.
Familiarisez-vous avec le maniement correct du matériel, les commandes et les symboles de sécurité.
Avant de quitter la position d'utilisation, effectuez la procédure suivante :
Garez la machine sur une surface plane et horizontale.
Débrayez et abaissez les unités de coupe.
Serrez le frein de stationnement.
Coupez le moteur et retirez la clé.
Attendez l'arrêt complet de tout mouvement.
Laissez refroidir la machine avant de la régler, d'en faire l'entretien, de la nettoyer ou de la remiser.
Apprenez à arrêter la machine et le moteur rapidement.
N'utilisez pas la machine s'il manque des capots ou d'autres dispositifs de protection, ou s'ils sont défectueux.
Avant de tondre, vérifiez toujours que les unités de coupe sont en bon état de marche.
Inspectez la zone de travail et débarrassez-la de tout objet pouvant être projeté par la machine.
Ce produit génère un champ électromagnétique. Si vous portez un dispositif médical électronique implantable, consultez votre professionnel de santé avant d'utiliser ce produit.
Faites preuve de la plus grande prudence quand vous manipulez du carburant, en raison de son inflammabilité et du risque d'explosion des vapeurs qu'il dégage.
Éteignez cigarettes, cigares, pipes et autres sources d'étincelles.
Utilisez exclusivement un bidon à carburant homologué.
N'enlevez pas le bouchon du réservoir de carburant et n'ajoutez pas de carburant pendant que le moteur tourne ou est encore chaud.
N'ajoutez pas de carburant et ne vidangez pas le réservoir dans un local fermé.
Ne rangez pas la machine ni les bidons de carburant à proximité d'une flamme nue, d'une source d'étincelles ou d'une veilleuse, telle celle d'un chauffe-eau ou autre appareil.
Si vous renversez du carburant, ne mettez pas le moteur en marche. Évitez toute source possible d'inflammation jusqu'à dissipation complète des vapeurs de carburant.
Avant de démarrer la machine chaque jour, effectuez les procédures décrites à la section .
60 litres
Important: Utilisez uniquement du gazole à ultra-faible teneur en soufre. Le carburant à teneur en soufre plus élevée dégrade le catalyseur d'oxydation diesel (DOC), ce qui engendre des problèmes de fonctionnement et raccourcit la vie utile des composants du moteur.Le moteur peut être endommagé si vous ne respectez pas les consignes qui suivent.
N'utilisez jamais de kérosène ou d'essence à la place du gazole,
Ne mélangez jamais de kérosène ou d'huile moteur usagée au gazole.
Ne conservez jamais le carburant dans des récipients dont l'intérieur est galvanisé.
N'utilisez pas d'additifs pour carburant.
Indice de cétane : 45 ou plus
Teneur en soufre : ultra-faible (<15 ppm)
| Spécifications du gazole | Lieu d'utilisation |
| ASTM D975 | États-Unis |
| Nº 1-D S15 | |
| Nº 2-D S15 | |
| EN 590 | Union européenne |
| ISO 8217 DMX | International |
| JIS K2204 Grade nº 2 | Japon |
| KSM-2610 | Corée |
Utilisez uniquement du gazole propre et frais ou des carburants au biodiesel.
Pour garantir la fraîcheur du carburant, n'achetez pas plus que la quantité normalement consommée en 6 mois.
Utilisez du gazole de qualité été (nº 2-D) si la température ambiante est supérieure à -7 °C et du gazole de qualité hiver (nº 1-D ou mélange nº 1-D/2-D) si la température ambiante est inférieure à -7 °C.
Note: L'usage de carburant de qualité hiver à basses températures réduit le point d'éclair et les caractéristiques d'écoulement à froid, ce qui facilite le démarrage et réduit le colmatage du filtre à carburant.L'usage de carburant de qualité été au-dessus de -7 °C contribue à prolonger la vie de la pompe à carburant et augmente la puissance comparé au carburant de qualité hiver.
Cette machine peut aussi utiliser un mélange carburant et biodiesel jusqu'à B20 (20 % biodiesel, 80 % pétrodiesel).
Teneur en soufre : ultra-faible (<15 ppm)
Spécifications du carburant au biodiesel : ASTM D6751 ou EN 14214
Spécifications du carburant mélangé : ASTM D975, EN 590 ou JIS K2204
Important: La partie pétrodiesel doit être à ultra-faible teneur en soufre.
Prenez les précautions suivantes :
Les mélanges au biodiesel peuvent endommager les surfaces peintes.
Utilisez du B5 (teneur en biodiesel de 5 %) ou un mélange de plus faible teneur par temps froid.
Examinez régulièrement les joints et flexibles en contact avec le carburant, car ils peuvent se détériorer avec le temps.
Le filtre à carburant peut se colmater pendant quelque temps après l'adoption de mélanges au biodiesel.
Pour plus de renseignements sur le biodiesel, contactez votre distributeur Toro agréé.
Garez la machine sur une surface plane et horizontale, abaissez les unités de coupe, coupez le moteur, serrez le frein de stationnement et enlevez la clé.
Nettoyez la surface autour du bouchon du réservoir de carburant avec un chiffon propre.
Retirez le bouchon du réservoir de carburant (Figure 16).

Remplissez le réservoir jusqu'à 25 mm au-dessous de la base du goulot de remplissage.
Revissez solidement le bouchon du réservoir après avoir fait le plein.
Note: Dans la mesure du possible, faites le plein de carburant après chaque utilisation. Cela minimise la formation éventuelle de condensation à l'intérieur du réservoir.
| Périodicité d'entretien | Procédure d'entretien |
|---|---|
| À chaque utilisation ou une fois par jour |
|
Le moteur étant arrêté, actionnez les pédales de marche avant et arrière selon toutes les possibilités et assurez-vous que le mécanisme revient librement à la position NEUTRE.
| Périodicité d'entretien | Procédure d'entretien |
|---|---|
| À chaque utilisation ou une fois par jour |
|
Asseyez-vous sur le siège et mettez le moteur en marche.
Abaissez les unités de coupe au sol.
Placez la commande des unités de coupe en position de coupe.
Soulevez-vous du siège et vérifiez que les unités de coupe s'arrêtent après un délai initial de 0,5 à 1 seconde.
Coupez le moteur.
Tournez la commande des unités de coupe en
position ARRêT et tournez la clé
de contact en position DéMARRAGE
. Le moteur
doit démarrer.
Tournez la commande des unités de coupe en
position de coupe et tournez la clé de contact en position DéMARRAGE
. Le moteur ne doit pas démarrer.
Coupez le moteur.
Serrez le frein de stationnement.
Tournez la clé de contact à la position
Préchauffage/Contact
. Le voyant s'allume sur la commande du frein
de stationnement et l'icône du frein de stationnement
apparaît sur l'InfoCenter.
Desserrez le frein de stationnement ; le voyant
et l'icône s'éteignent. Le moteur ne doit pas
démarrer quand vous tournez la clé de contact à
la position DéMARRAGE
.
Serrez le frein de stationnement, asseyez-vous sur le siège et mettez le moteur en marche.
Desserrez le frein de stationnement.
Soulevez-vous du siège et vérifiez que le moteur s'arrête.
Important: Vérifiez attentivement que la zone autour de la machine est dégagée avant de s'assurer que le moteur ne démarre pas quand vous vérifiez le contacteur de sécurité du point mort.
Coupez le moteur.
Enlevez votre pied des pédales de marche avant/arrière.
Tournez la clé de contact à la position
préchauffage/contact
. L'icône du point mort de la transmission
s'affiche sur l'InfoCenter.
Appuyez légèrement sur les pédales de déplacement en marche avant et arrière pour vérifier que l'icône du point mort de la transmission n'apparaît pas sur l'InfoCenter.
L'écran affiche des informations concernant la machine, comme l'état de fonctionnement, ainsi que divers diagnostics et autres renseignements la concernant. Plusieurs écrans s'affichent sur l'InfoCenter. Vous pouvez alterner entre les écrans à tout moment en appuyant sur le bouton de retour arrière, puis en utilisant les boutons de navigation vers le haut et le bas.

Note: Chaque bouton peut changer de fonction selon les besoins du moment. Chaque bouton est repéré par une icône illustrant sa fonction actuelle.
![]() | Compteur horaire |
![]() | Entretien requis. |
![]() | Les bougies de préchauffage sont actives. |
![]() | L'utilisateur doit s'asseoir sur le siège. |
![]() | Le frein de stationnement est serré. |
![]() | Température du liquide de refroidissement moteur (°C) |
![]() | Démarrez le moteur. |
![]() | Moteur |
![]() | Une régénération en stationnement ou d'urgence est demandée. |
| Effectuer immédiatement la régénération. | |
![]() | Une régénération est confirmée et la demande est en cours de traitement. |
![]() | Une régénération est en cours et la température des gaz d'échappement est élevée. |
![]() | Défaillance du système de contrôle des NOx ; un entretien de la machine est nécessaire. |
![]() | La prise de force est désactivée. |
![]() | La PDF est engagée. |
![]() | Tension batterie |
![]() | Attention |
![]() | Actif |
![]() | Inactif |
![]() | Précédent |
![]() | Suivant |
![]() | Augmenter |
![]() | Diminuer |
![]() | Écran précédent |
![]() | Écran suivant |
![]() | Augmenter la valeur |
![]() | Réduire la valeur |
![]() | Menu |
![]() | Défilement vers le haut/bas |
![]() | Défilement vers la gauche/droite |
![]() | Verrouillé |
Pour accéder au système de menus de l'InfoCenter, appuyez sur le bouton d'accès au menu depuis l'écran principal. Cela vous amène au menu principal. Voir dans les tableaux suivants la description des options disponibles dans les différents menus :
Protégés
sous Menus protégés – accessibles uniquement en
saisissant un code PIN
| Option de menu | Description |
| Anomalies | Le menu Anomalies contient la liste des anomalies récentes de la machine. Reportez-vous au Manuel d'entretien ou adressez-vous à votre distributeur Toro agréé pour plus de renseignements sur le menu Anomalies et sur les données qu'il contient. |
| Entretien | Le menu Entretien contient des données relatives à la machine telles que les heures de fonctionnement, les compteurs et d'autres données de ce type. |
| Diagnostics | Le menu Diagnostics indique l'état de chaque contacteur, capteur et sortie de commande de la machine. Il peut servir à détecter certains problèmes, car il indique rapidement quelles commandes de la machine sont activées ou désactivées. |
| Réglages | Le menu Réglages vous permet de personnaliser et modifier les variables de configuration sur l'écran. |
| Réglages machine | Le menu Réglages machine permet de régler les paramètres de levage limité en marche arrière et de manÅ“uvre. |
| À propos | Le menu À propos indique le numéro de modèle, le numéro de série et la version logicielle de votre machine. |
| Option de menu | Description |
| Hours | Indique le nombre d'heures de fonctionnement de la machine, du moteur et de la PDF, ainsi que le nombre d'heures de transport et restant avant le prochain entretien. |
| Counts | Indique les différents décomptes de la machine. |
| DPF Regeneration | Options de régénération du filtre à particules diesel et sous-menus DPF (FAP) |
| Option de menu | Description |
| Traction | Indique les entrées et les sorties de la pédale de déplacement. |
| Élever | Indique les entrées, qualificateurs et sorties pour lever les unités de coupe. |
| Abaisser | Indique les entrées, qualificateurs et sorties pour abaisser les unités de coupe. |
| PTO | Indique les entrées, qualificateurs et sorties pour l'activation du circuit de PDF. |
| Engine | Indique les entrées, qualificateurs et sorties pour le démarrage du moteur. |
| Option de menu | Description |
| Saisie du code PIN | Permet à une personne (surintendant/mécanicien) autorisée par votre entreprise et détenant le code PIN d'accéder aux menus protégés. |
| Rétroéclairage | Permet de régler la luminosité de l'affichage LCD. |
| Langue | Permet de choisir la langue utilisée dans l'affichage. |
| Unités | Permet de choisir les unités utilisées sur l'InfoCenter (métriques ou impériales). |
Menus protégés ![]() | Permet à une personne autorisée par votre entreprise et détenant le code PIN d'accéder aux menus protégés |
Protection des réglages ![]() | Cette option permet de modifier les réglages dans les réglages protégés. |
| Option de menu | Description |
| Levage limité en marche arrière | Cette option permet d'activer ou de désactiver le levage limité arrière. |
| ManÅ“uvres | Cette option permet d'activer ou de désactiver le mode ManÅ“uvres. |
| Capteur d'inclinaison installé | Indique que la présence d'un capteur d'inclinaison est détectée sur la machine. |
Protégés
sous Menus protégés – accessibles uniquement en
saisissant un code PIN
| Option de menu | Description |
| Modèle | Indique le numéro de modèle de la machine. |
| Nº de série | Indique le numéro de série de la machine. |
| Version du contrôleur machine | Indique la version du logiciel du contrôleur principal. |
| Rév logiciel | Indique la version du logiciel du contrôleur principal. |
Version de l'InfoCenter ![]() | Indique la version du logiciel de l'InfoCenter |
CAN Statistics ![]() | Indique les entrées et les sorties du CAN. |
Dans le MENU PRINCIPAL, appuyez sur le bouton de navigation gauche pour accéder à l'éCRAN D'EXéCUTION PRINCIPAL qui indique la température du liquide de refroidissement, l'état du système de sécurité et la position des unités de coupe.
Appuyez sur le bouton de navigation droit pour parcourir l'éCRAN D'EXéCUTION SECONDAIRE qui affiche les heures, la tension batterie et le régime moteur.
Plusieurs paramètres de configuration du fonctionnement peuvent être sélectionnés dans le menu RéGLAGES de l'affichage. Bloquez ces paramètres à partir du MENU PROTéGé.
Note: À la livraison de la machine, le code d'accès initial est programmé par votre distributeur.
Note: Le code PIN par défaut de la machine est 0000 ou 1234.Si vous changez de code PIN et que vous l'oubliez, adressez-vous à votre distributeur Toro agréé.
Dans le MENU PRINCIPAL, naviguez jusqu'à l'option RéGLAGES et appuyez sur le bouton de sélection (Figure 18).

Sous RéGLAGES, naviguez jusqu'à SAISIR PIN et appuyez sur le bouton de sélection (Figure 19A).

Pour saisir le code PIN, appuyez sur les boutons de navigation vers le haut/bas jusqu'à ce que le premier chiffre correct s'affiche, puis appuyez sur le bouton de navigation droit pour passer au chiffre suivant (Figure 19B et Figure 19C). Répétez cette procédure jusqu'à ce que le dernier chiffre soit saisi.
Appuyez sur le bouton de sélection.
Note: Si l'affichage accepte le code PIN et que le menu protégé est déverrouillé, « PIN » s'affiche dans le coin supérieur droit de l'écran.
Pour verrouiller le menu protégé, tournez le commutateur d'allumage à la position ARRêT puis à la position CONTACT.
Sous RéGLAGES, naviguez jusqu'à l'option PROTECTION DES RéGLAGES.
Pour afficher et modifier les réglages sans
saisir de code PIN, utilisez le bouton de sélection pour changer
l'option PROTECTION DES RéGLAGES à
(désactivée).
Pour afficher et modifier les réglages en saisissant
un code PIN, utilisez le bouton de sélection pour changer l'option PROTECTION DES RéGLAGES à
(activée), saisissez
le code PIN et tournez le commutateur d'allumage à la
position ARRêT, puis ramenez-la à
la position CONTACT.
L'indicateur d'entretien réinitialise le nombre d'heures restant jusqu'au prochain entretien après avoir effectué un entretien programmé.
Sous RéGLAGES, naviguez jusqu'à SAISIR PIN et appuyez sur le bouton de sélection.
Saisissez le code PIN ; voir Accès aux menus protégés.
Sous ENTRETIEN, naviguez jusqu'à HOURS et appuyez sur le bouton de sélection.
Naviguez jusqu'à l'option ENTRETIEN REQUIS.
Note: Si un entretien est actuellement nécessaire, NOW (maintenant) apparaît près de ENTRETIEN REQUIS.
Mettez l'intervalle d'entretien en surbrillance et appuyez sur le bouton de sélection.
Note: L’intervalle d’entretien (250 h, 500 h, etc.) est affiché près de ENTRETIEN. L'intervalle d'entretien est une option des Menus protégés.
Lorsque l'écran RESET SERVICE TIMER? (réinitialiser indicateur d'entretien ?) s'affiche, appuyez sur le bouton de sélection pour oui (YESi) ou sur le bouton de retour en arrière pour non (NO).
Lorsque vous sélectionnez YES, l'écran d'intervalle est effacé et revient aux sélections Service Hours (heures d'entretien).

Clignotement rouge – anomalie active
Rouge continu – avis actif
Bleu continu – étalonnage/messages de dialogue
Éteint – fonctionnement normal
Le propriétaire/l'utilisateur est responsable des accidents pouvant entraîner des dommages corporels ou matériels et peut les prévenir.
Portez une tenue adéquate, y compris une protection oculaire, un pantalon, des chaussures solides à semelle antidérapante et des protecteurs d'oreilles. Si vos cheveux sont longs, attachez-les et ne portez pas de vêtements amples ni de bijoux pendants.
N'utilisez pas la machine si vous êtes fatigué(e), malade ou sous l'emprise de l'alcool, de médicaments ou de drogues.
Accordez toute votre attention à l'utilisation de la machine. Ne faites rien d’autre qui puisse vous distraire, au risque de causer des dommages corporels ou matériels.
Avant de mettre le moteur en marche, assurez-vous que tous les embrayages sont au point mort, que le frein de stationnement est serré et que vous êtes au poste d'utilisation.
Ne transportez pas de passagers sur la machine et tenez tout le monde, y compris les enfants, à l'écart de la zone de travail.
N'utilisez la machine que si la visibilité est bonne pour éviter les trous ou autres dangers cachés.
Ne tondez pas l'herbe humide. La perte de motricité peut faire déraper la machine.
N'approchez pas les pieds ni les mains des unités de coupe.
Avant de faire marche arrière, vérifiez que la voie est libre juste derrière la machine et sur sa trajectoire.
Soyez prudent à l'approche de tournants sans visibilité, de buissons, d'arbres ou d'autres objets susceptibles de vous masquer la vue.
Arrêtez les unités de coupe quand vous ne tondez pas.
Ralentissez et faites preuve de prudence quand vous changez de direction, ainsi que pour traverser des routes et des trottoirs avec la machine. Cédez toujours le passage.
Ne faites tourner le moteur que dans des lieux bien aérés. Les gaz d'échappement contiennent du monoxyde de carbone, qui est mortel en cas d'inhalation.
Ne laissez pas la machine en marche sans surveillance.
Avant de quitter la position d'utilisation, effectuez la procédure suivante :
Garez la machine sur une surface plane et horizontale.
Débrayez et abaissez les unités de coupe.
Serrez le frein de stationnement.
Coupez le moteur et retirez la clé.
Attendez l'arrêt complet de tout mouvement.
Laissez refroidir la machine avant de la régler, d'en faire l'entretien, de la nettoyer ou de la remiser.
N'utilisez la machine que si la visibilité est suffisante et les conditions météorologiques favorables. N'utilisez pas la machine s'il y a risque d'orage.
Utilisez le régulateur de vitesse (selon l'équipement) uniquement sur les surfaces dégagées, planes et sans obstacles où la machine peut rouler à vitesse constante sans interruption.
Ne retirez aucun des composants du système ROPS de la machine.
Attachez bien la ceinture de sécurité et apprenez à la détacher rapidement en cas d'urgence.
Attachez toujours la ceinture de sécurité.
Vérifiez soigneusement où se trouvent les obstacles en hauteur et ne les touchez pas.
Maintenez le système ROPS en bon état en vérifiant minutieusement et régulièrement s'il est endommagé et en maintenant toutes les fixations bien serrées.
Remplacez tous les composants du ROPS qui sont endommagés. Ne les réparez pas et ne les modifiez pas.
Attachez toujours la ceinture de sécurité quand l'arceau de sécurité est déployé.
Le système ROPS est un dispositif de sécurité intégré. Maintenez l'arceau de sécurité déployé et bloqué dans cette position, et attachez la ceinture de sécurité quand vous conduisez la machine avec l'arceau de sécurité déployé.
N'abaissez l'arceau de sécurité que momentanément et seulement en cas d'absolue nécessité. N'attachez pas la ceinture de sécurité lorsque l'arceau de sécurité est abaissé.
N'oubliez pas que la protection antiretournement est inexistante lorsque l'arceau de sécurité est abaissé.
Examinez la zone de travail à l'avance et n'abaissez jamais l'arceau de sécurité repliable lorsque vous vous trouvez sur une pente, près de fortes dénivellations ou d'étendues d'eau.
Les pentes augmentent significativement les risques de perte de contrôle et de retournement de la machine pouvant entraîner des accidents graves, voire mortels. Vous êtes responsable de la sécurité d'utilisation de la machine sur les pentes. L'utilisation de la machine sur une pente, quelle qu'elle soit, demande une attention particulière.
Vous devez évaluer l'état du terrain, l'étudier et le baliser pour déterminer si la pente permet d'utiliser la machine sans risque. Faites toujours preuve de bon sens et de discernement quand vous réalisez cette étude.
Lisez les instructions relatives à l'utilisation sur les pentes ci-dessous avant d'utiliser la machine sur une pente. Avant d'utiliser la machine, examinez l'état actuel du terrain pour déterminer s'il se prête à l'utilisation de la machine. Les variations de terrain peuvent modifier le fonctionnement de la machine sur les pentes.
Évitez de démarrer, de vous arrêter ou de tourner sur les pentes. Évitez de changer soudainement de vitesse ou de direction. Tournez lentement et graduellement.
N'utilisez pas la machine si l'adhérence, la direction ou la stabilité peuvent être compromises.
Enlevez ou balisez les obstacles tels que fossés, trous, ornières, bosses, rochers ou autres dangers cachés. L'herbe haute peut masquer les accidents du terrain. Les irrégularités du terrain peuvent provoquer le retournement de la machine.
Tenez compte du fait qu'une perte de l'adhérence peut se produire sur l'herbe humide, en travers des pentes ou dans les descentes.
Faites preuve de la plus grande prudence lorsque vous utilisez la machine près de fortes dénivellations, de fossés, de berges, d'étendues d'eau ou autres dangers. La machine pourrait se retourner brusquement si une roue passe par-dessus une dénivellation quelconque et se retrouve dans le vide, ou si un bord s'effondre. Établissez une zone de sécurité entre la machine et tout danger potentiel.
Identifiez les dangers potentiels depuis le bas de la pente. Si vous constatez la présence de dangers, tondez la pente avec une machine à conducteur marchant.
Dans la mesure du possible, gardez les unités de coupe abaissées au sol quand vous utilisez la machine sur des pentes. La machine peut devenir instable si vous levez les unités de coupe alors qu'elle se déplace sur une pente.
Si les contacteurs de sécurité sont déconnectés ou endommagés, la machine peut se mettre en marche inopinément et causer des blessures.
Ne modifiez pas abusivement les contacteurs de sécurité.
Vérifiez chaque jour le fonctionnement des contacteurs de sécurité et remplacez ceux qui sont endommagés avant d'utiliser la machine.
Important: N'utilisez pas la machine si les commandes de présence de l'utilisateur sont endommagées ou usées. Remplacez toujours les pièces endommagées ou usées et vérifiez le bon fonctionnement des commandes de présence de l'utilisateur avant d'utiliser la machine.
Le moteur ne peut démarrer que si la pédale de marche avant/arrière est en position NEUTRE, la commande des unités de coupe est en position ARRêT et le frein de stationnement est serré.
Note: Vous ne pouvez démarrer le moteur que lorsque la commande des unités de coupe est en position ARRêT.
Lorsque vous démarrez le moteur, vous devez vous asseoir sur le siège de l'utilisateur pour faire tourner le moteur quand le frein de stationnement est desserré.
Le moteur s'arrête si vous quittez le siège sans serrer le frein de stationnement.
Vous devez vous asseoir sur le siège de l'utilisateur pour que les unités de coupe fonctionnent. Si vous vous soulevez du siège pendant plus d'une seconde, un contacteur est activé et les unités de coupe sont débrayées.
Pour réinitialiser les unités de coupe, asseyez-vous sur le siège, placez la commande des unités de coupe à la position ARRêT puis à la position MARCHE.
Note: Si vous vous soulevez du siège brièvement pendant le travail normal, l'entraînement des unités de coupe n'est pas affecté.
Pour éviter de vous blesser, parfois mortellement, en vous retournant, gardez l'arceau de sécurité déployé et bloqué en position, et attachez votre ceinture de sécurité.
Vérifiez que le siège est bien fixé avec le verrou de siège.
La protection antiretournement est inexistante lorsque l'arceau de sécurité est abaissé.
N'utilisez pas la machine sur un terrain irrégulier ou sur une pente quand l'arceau de sécurité est abaissé.
N'abaissez l'arceau de sécurité qu'en cas d'absolue nécessité.
N'attachez pas la ceinture de sécurité lorsque l'arceau de sécurité est abaissé.
Conduisez lentement et prudemment.
Déployez l'arceau de sécurité dès que possible.
Vérifiez précisément la hauteur libre avant de passer sous un obstacle (par ex. branches, portes, câbles électriques, etc.) et évitez de le toucher.
Important: Attachez toujours la ceinture de sécurité quand l'arceau de sécurité est déployé et verrouillé. N'utilisez pas la ceinture de sécurité quand l'arceau de sécurité est abaissé.
Garez la machine sur une surface plane et horizontale, abaissez les unités de coupe, serrez le frein de stationnement, coupez le moteur et enlevez la clé.
Retirez les goupilles fendues des axes de l'arceau de sécurité dans les supports de pivot du cadre (Figure 21).

Soutenez le poids de la partie supérieure de l'arceau de sécurité pendant que vous retirez les axes des supports de pivot (Figure 21).
Abaissez l'arceau de sécurité avec précaution jusqu'à ce qu'il repose sur les butées du cadre.
Insérez les axes dans les trous inférieurs des supports de pivot de l'arceau de sécurité (Figure 22).

Fixez les axes de l'arceau de sécurité dans les supports de pivot avec les goupilles fendues.
Retirez les goupilles fendues qui fixent les axes de l'arceau de sécurité dans les supports de pivot du cadre.
Retirez les axes des supports de pivot de l'arceau de sécurité (Figure 23).

Tirez la partie supérieure de l'arceau de sécurité vers le haut jusqu'à ce que les trous de l'arceau de sécurité soient en face des supports de pivot (Figure 24).

Insérez les axes dans les trous supérieurs des supports de pivot et dans l'arceau de sécurité (Figure 24).
Fixez les axes de l'arceau de sécurité dans les supports de pivot avec les goupilles fendues (Figure 24).
Important: Lors du tout premier démarrage du moteur, si le moteur s'est arrêté suite à une panne de carburant ou après avoir effectué l'entretien du système d'alimentation, purgez le système d'alimentation avant de démarrer le moteur ; voir Amorçage du circuit d'alimentation.
Important: Cette machine est équipée d'une protection antidémarrage du moteur ; voir Comprendre les commandes de présence de l'utilisateur.
Serrez le frein de stationnement, amenez la pédale de déplacement en position NEUTRE, et vérifiez que la commande des unités de coupe est à la position ARRêT.
Tournez la clé en position PRéCHAUFFAGE D'ADMISSION/CONTACT.
Note: L'icône de préchauffage
s'affiche sur l'InfoCenter.
Attendez que l'icône de préchauffage disparaisse.

Tournez la clé de contact à la position démarrage.
Lorsque le moteur démarre, laissez revenir la clé à la position chauffage d'admission/contact.
Important: Actionnez le démarreur pendant 15 secondes au maximum.
Laissez tourner le moteur au ralenti jusqu'à ce qu'il soit chaud.
Important: Laissez tourner le moteur au ralenti pendant 5 minutes avant de l'arrêter s'il vient de fonctionner à pleine charge. Cela permet au turbocompresseur de refroidir avant l'arrêt du moteur. Le turbocompresseur peut être endommagé si vous ne faites pas tourner le moteur au ralenti.
Amenez la pédale de déplacement à la position NEUTRE, placez la commande des unités de coupe en position d'arrêt, serrez le frein de stationnement et abaissez les unités de coupe.
Appuyez sur la commande de régime moteur jusqu'à ce que le moteur tourne au ralenti.
Laissez tourner le moteur pendant au moins 5 minutes.
Tournez la clé à la position arrêt (Figure 26).

Retirez la clé si vous quittez le siège de l'utilisateur.
Il est important de maintenir les lames des fléaux bien aiguisées et en bon état pour assurer de bonnes performances de coupe, une consommation d'énergie minimum et une bonne qualité de coupe.
La tête porte-fléau est un fléau à coupe fine qui ne doit être utilisé que pour l'entretien des pelouses. Il est conseillé de ne pas tondre plus du tiers de la hauteur de l'herbe.
Les câbles racloirs ont pour fonction d'éliminer les débris sur le rouleau. Ils ne sont pas nécessairement utiles par temps sec et doivent alors être enlevés. Lorsque les conditions sont humides, vérifiez que les câbles racloirs ne sont pas bloqués par des débris.
L'unité de coupe flotte et peut pivoter latéralement pour suivre le relief du terrain.
Les unités de coupe sont conçues pour fonctionner à plein régime. Vous pouvez régler la vitesse en marche avant en fonction de l'état de l'herbe et pour ne pas surcharger les groupes moteurs ou les têtes. Plus la vitesse de marche avant est réduite, plus la qualité de coupe et la finition seront bonnes.
Note: La hauteur de coupe est déterminée par le rouleau arrière. L'usure des lames, les pivots des unités de coupe usés, les goupilles des unités de coupe faussées/endommagées et les bras faussés/endommagés peuvent affecter le réglage de la hauteur de coupe.
Tournez l'écrou de réglage aux deux extrémités dans le sens horaire pour réduire la hauteur de coupe ou dans le sens antihoraire pour augmenter la hauteur de coupe (Figure 27).

Important: N'essayez pas de débloquer les écrous.
Veillez à régler toutes les unités de coupe à la même hauteur en vous aidant des anneaux indicateurs (Figure 28).

Note: Reportez-vous à la Figure 29 pour les réglages de hauteur de coupe.

Utilisez les 3 commandes de position pour élever et abaisser chaque unité de coupe indépendamment.
Placez la commande des unités de coupe en position de coupe.
Appuyez brièvement sur le haut de la commande.
Note: L'unité de coupe s'engage quand elle est à peu près à 150 mm au-dessus du sol. L'unité de coupe est maintenant en mode « flottant » et suit le relief du terrain.
Note: La commande de position revient automatiquement à la position (NEUTRE) quand vous la relâchez.

Tirez et maintenez la commande de position.
Relâchez les commandes de position lorsque les unités de coupe sont à la hauteur voulue.
Note: Les commandes de position retournent automatiquement à la position (NEUTRE) quand vous les relâchez et les bras des unités de coupe se bloquent hydrauliquement en position.
Note: La fonction de levage limité en marche avant est activée par défaut.
Pendant que vous roulez en marche avant, tirez brièvement sur la ou les commandes de position des unités de coupe.
Note: La ou les unités de coupe s'arrêtent et s'élèvent à environ 150 mm au-dessus du sol.
La fonction de levage limité est désactivée lorsque l'unité de coupe est abaissée et en marche.
Note: Vous devez activer la fonction de levage limité dans l'InfoCenter pour que les unités de coupe s'élèvent automatiquement pendant la marche arrière.
Lorsque la fonction de levage limité est activée, toutes les unités de coupe s'élèvent à la position de levage limité quand la machine recule.
Note: La ou les unités de coupe s'élèvent à environ 150 mm au-dessus du sol.
Important: Les unités de coupe continuent de fonctionner pendant l'utilisation du levage limité et la marche arrière.
Lorsque vous repartez en marche avant, l'unité de coupe s'abaisse en position de flottement.
Note: Vous devez activer la fonction ManÅ“uvres pour la commande de position de l'unité de coupe centrale dans le menu Réglages de l'InfoCenter.
Tirez brièvement sur la commande de position de l'unité de coupe centrale pour élever toutes les unités de coupe en position de levage limité.
Poussez brièvement sur la commande de position de l'unité de coupe centrale pour abaisser toutes les unités de coupe en position de flottement.
Note: Vous devez activer la fonction Levage limité automatique dans le menu Réglages de l'InfoCenter.
Le levage limité manuel utilise les 3 commandes de position des unités de coupe, et reste disponible quel que soit le réglage de levage limité automatique dans l'InfoCenter.
Lorsque la fonction de levage limité automatique est activée, les unités de coupe s'élèvent automatiquement en position de levage limité quand la machine fait marche arrière.
Les unités de coupe reviennent à la position de flottement quand la machine roule en marche avant.
Pour lever les unités de coupe à la position de levage limité, tirez brièvement sur les commandes de position.
Note: Les unités de coupe sont alors immédiatement débrayées et s'élèvent à environ 150 mm au-dessus du sol.
La fonction de levage limité est disponible lorsque les unités de coupe sont baissées et tournent.
L'unité de coupe ne s'engage que lorsque vous êtes sur le siège ; voir Contrôle du contacteur de présence de l'utilisateur du siège.

Appuyez sur le haut de la commande des unités de coupe pour sélectionner la position MARCHE (Figure 31).
Placez la commande des unités de coupe en position ARRêT (Figure 31).
La commande des unités de coupe doit être placée à la position MARCHE (Figure 31). Poussez la ou les commandes de position vers le bas. Les unités de coupe fonctionnent lorsqu'elles sont à environ 150 mm au-dessus du sol.
Un système hydraulique de transfert de poids variable permet d'améliorer l'adhérence des pneus sur l'herbe et la motricité.
La pression hydraulique dans le système de levage des unités de coupe fournit une force de levage qui réduit le poids des unités sur le sol et le transfère sur les roues de la machine. Cette action est appelée transfert de poids.
Note: Réglez le transfert de poids en fonction des conditions existantes.
Ouvrez le capot.


Sur le côté droit de la machine, desserrez la molette de verrouillage du collecteur de transfert de poids d'un demi tour dans le sens antihoraire, tout en immobilisant le volant (Figure 32).
Tournez le volant de réglage du transfert de poids (Figure 32) comme suit :
dans le sens antihoraire pour réduire le transfert de poids
dans le sens horaire pour augmenter le transfert de poids
Note: Le réglage recommandé pour le transfert de poids/aide à la motricité est d'augmenter le transfert de poids jusqu'à ce que les unités de coupe commencent à s'élever, puis de tourner le volant d'un demi-tour dans le sens antihoraire.
Serrez la molette de verrouillage (Figure 32).
N'essayez jamais de faire tourner les unités de coupe à la main. La pression résiduelle dans le système hydraulique peut provoquer la rotation subite d'une ou de plusieurs unités de coupe quand vous dégagez le blocage, ce qui peut entraîner de graves blessures.
Portez toujours des gants de protection et utilisez un outil en bois résistant adapté.
Assurez-vous que l'outil en bois peut passer dans le rotor à fléaux et qu'il est assez long pour vous permettre de faire levier et débloquer le cylindre.
Garez la machine sur une surface plane et horizontale.
Amenez la pédale de déplacement en position NEUTRE, serrez le frein de stationnement et arrêtez les unités de coupe.
Abaissez les unités de coupe au sol ou verrouillez-les en position de transport.
Coupez le moteur, enlevez la clé et attendez l'arrêt complet de toutes les pièces mobiles.
Libérez tous les dispositifs d'accumulation d'énergie.
Assurez-vous de l'arrêt de toutes les pièces mobiles.
Retirez l'obstruction en utilisant un outil de bois solide adapté. Assurez-vous que l'outil de bois est correctement soutenu dans l'unité de coupe et évitez d'employer une force excessive pour éviter d'éventuels dommages.
Retirez l'outil en bois de l'unité de coupe avant de démarrer le moteur.
Réparez ou réglez l'unité de coupe si nécessaire.
Avant de commencer à tondre, entraînez-vous à utiliser la machine dans un endroit dégagé. Démarrez et arrêtez le moteur. Conduisez la machine en marche avant et en marche arrière. Abaissez et levez les unités de coupe, puis engagez et désengagez-les. Après vous être familiarisé avec la machine, entraînez-vous à travailler en montée et en descente.
Si une icône d'avertissement s'affiche sur l'InfoCenter pendant l'utilisation de la machine, arrêtez immédiatement la machine et corrigez le problème. Quelques exemples d'icônes pouvant s'afficher sont donnés dans le tableau suivant :
|
Icône |
Anomalie |
|---|---|
![]() |
Une régénération en stationnement ou d'urgence est demandée. |
![]() |
La prise de force est désactivée. |
![]() |
Défaillance du système de contrôle des NOx |
Pour conserver une bonne qualité de coupe, maintenez la vitesse de rotation des unités de coupe aussi élevée que possible. Le moteur doit tourner à un régime élevé pour cela.
Les performances de coupe sont optimales lorsque vous tondez contre le sens de l'herbe. Pour tirer parti de cela, alternez le sens de la tonte une fois sur l'autre.
Veillez à ne pas laisser de bandes d'herbe non coupée aux points de chevauchement entre unités de coupe adjacentes en évitant les virages serrés.
La qualité de coupe diminue quand la vitesse de marche avant est trop élevée. Équilibrez toujours la qualité de coupe avec la vitesse de travail exigée et adaptez la vitesse de déplacement en marche avant en conséquence.
Ne faites pas peiner le moteur. Si vous constatez que le moteur peine, réduisez la vitesse en marche avant ou augmentez la hauteur de coupe. Vérifiez que les lames des unités de coupe sont bien affûtées.
Important: Faites attention lorsque la machine passe sur des obstacles tels que des bordures de chaussée.Ralentissez toujours pour passer sur des obstacles afin d'éviter d'endommager les pneus, les roues et la direction. Assurez-vous que les pneus sont gonflés à la pression recommandée.
Débrayez toujours les unités de coupe lorsque vous traversez des zones non recouvertes d'herbe. Lorsque vous passez entre deux obstacles, veillez à ne pas endommager la machine ou les unités de coupe accidentellement.
Pour que l'éjection de l'herbe soit optimale, déposez les racloirs de rouleau arrière lorsque les conditions le permettent.
Si de la boue et de l'herbe commencent à s'accumuler sur les rouleaux, installez les racloirs. Tendez correctement les fils racleurs quand vous les installez.
Garez la machine sur une surface plane et horizontale.
Débrayez et abaissez les unités de coupe.
Serrez le frein de stationnement.
Coupez le moteur et retirez la clé.
Attendez l'arrêt complet de tout mouvement.
Laissez refroidir la machine avant de la régler, d'en faire l'entretien, de la nettoyer ou de la remiser.
Pour éviter les risques d'incendie, enlevez les débris d'herbe coupée et autres agglomérés sur les unités de coupe, les dispositifs d'entraînement, les silencieux, les grilles de refroidissement et le compartiment moteur. Nettoyez les coulées éventuelles d'huile ou de carburant.
Désengagez l'entraînement de l'outil quand vous transportez la machine ou qu'elle ne sert pas.
Faites l'entretien de la ou des ceintures de sécurité, et nettoyez-les au besoin.
Ne rangez pas la machine ni les bidons de carburant à proximité d'une flamme nue, d'une source d'étincelles ou d'une veilleuse, telle celle d'un chauffe-eau ou d'autres appareils.

Utilisez des rampes d'une seule pièce pour charger la machine sur une remorque ou un camion.
Arrimez solidement la machine.
Assurez-vous que le véhicule de remorquage peut supporter le poids combiné des deux véhicules ; voir Caractéristiques techniques.
Chaque fois que possible, levez et verrouillez les unités de coupe avant de remorquer la machine.
Serrez le frein de stationnement et calez les roues du véhicule de remorquage.
Calez les roues avant de la machine.
Levez la plate-forme ; voir Levage de la plate-forme.
Retirez les 2 boulons (12 x 40 mm) et les 2 rondelles (12 mm) qui sont rangés dans les longerons de support de la plate-forme (Figure 34).

Accouplez une barre de remorquage rigide entre l'anneau de remorquage avant de la machine et le véhicule de remorquage (Figure 35).
Note: Si nécessaire, utilisez l'anneau de remorquage arrière de la machine pour positionner la machine de manière à obtenir un dégagement, puis remorquez la machine par l'anneau de remorquage avant.

Sur le frein de moteur de la roue avant droite, enlevez le bouchon hexagonal (Figure 36).

Placez un boulon (12 x 40 mm) et une rondelle (12 mm) dans le trou au centre de la plaque d'extrémité du moteur (Figure 37).

Serrez le boulon dans le trou fileté du piston de frein jusqu'à ce que le frein soit desserré(Figure 37).
Répétez les opérations 6 à 8 pour le frein sur le côté gauche de la machine.
Avec une clé hexagonale de 8 mm, tournez les 2 bouchons à tête creuse des clapets de décharge de pompe de la transmission de 3 tours complets dans le sens antihoraire (Figure 38).
Important: Vous devez diriger la machine manuellement pendant son remorquage. Lorsque le moteur est coupé, la direction assistée hydraulique disparaît et la machine est lourde à manÅ“uvrer.

Abaissez et verrouillez la plate-forme ; voir Abaissement de la plate-forme.
Enlevez les cales des roues.
Important: Ne remorquez pas la machine à plus de 3 à 5 km/h pendant plus de 3 minutes, au risque de causer des dommages internes à la transmission.
Utilisez l'anneau de remorquage avant pour remorquer la machine.
Remorquez la machine à petit vitesse sur une courte distance, pendant un maximum de 3 minutes.
Placez des cales sous les roues avant.
Levez la plate-forme ; voir Levage de la plate-forme.
Avec une clé hexagonale de 8 mm, tournez les 2 bouchons à tête creuse des clapets de décharge de pompe de la transmission dans le sens horaire (Figure 39).

Serrez les 2 bouchons à tête creuse à 81 N·m.
Retirez le boulon (12 x 40 mm) et la rondelle (12 mm) du trou au centre de la plaque d'extrémité du moteur (Figure 40).

Remettez en place le bouchon hexagonal dans la plaque d'extrémité du moteur (Figure 41).

Répétez les opérations 1 à 2 pour le frein de l'autre côté de la machine.
Enlevez les cales des roues.
Détachez la barre d'attelage.
Note: La transmission et les freins sont prêts à fonctionner.
Rangez les 2 boulons (12 x 40 mm) et les 2 rondelles (12 mm) dans les longerons de support de la plate-forme (Figure 41).

Abaissez la plate-forme ; voir Abaissement de la plate-forme.
Détachez le véhicule de remorquage.
Vérifiez le fonctionnement des freins de la machine.
N'utilisez pas la machine si le système de freinage ne fonctionne pas correctement car vous pourriez perdre le contrôle de la machine, et vous blesser gravement ou blesser d'autres personnes.
Avant d'utiliser la machine, vérifiez que le système de freinage fonctionne correctement. Effectuez les contrôles initiaux en conduisant la machine à vitesse réduite. N'utilisez pas la machine si le système de freinage est endommagé ou débranché.
Vous pouvez télécharger un exemplaire gratuit des schémas électriques ou hydrauliques en vous rendant sur www.toro.com/fr-fr et en recherchant votre machine sous le lien Manuels sur la page d'accueil.
Note: Les côtés gauche et droit de la machine sont déterminés d'après la position d'utilisation normale.
Avant de quitter la position d'utilisation, effectuez la procédure suivante :
Garez la machine sur une surface plane et horizontale.
Débrayez et abaissez les unités de coupe.
Serrez le frein de stationnement.
Coupez le moteur et retirez la clé.
Attendez l'arrêt complet de tout mouvement.
Laissez refroidir la machine avant de la régler, d'en faire l'entretien, de la nettoyer ou de la remiser.
Portez une tenue adaptée, notamment une protection oculaire, un pantalon et des chaussures solides à semelle antidérapante. Gardez mains, pieds, vêtements, bijoux et cheveux longs à l'écart des pièces mobiles.
Laissez refroidir les composants de la machine avant d'effectuer toute opération d'entretien.
Si possible, n'effectuez aucun entretien quand le moteur est en marche. Ne vous approchez pas des pièces mobiles.
Ne faites tourner le moteur que dans des lieux bien aérés. Les gaz d'échappement contiennent du monoxyde de carbone, qui est mortel en cas d'inhalation.
Soutenez la machine avec des chandelles chaque fois que vous devez travailler dessous.
Libérez la pression emmagasinée dans les composants avec précaution.
Maintenez toutes les pièces de la machine en bon état de marche et toutes les fixations bien serrées.
Remplacez tous les autocollants usés ou endommagés.
Pour garantir le fonctionnement sûr et optimal de la machine, utilisez exclusivement des pièces de rechange d'origine Toro. Les pièces de rechange provenant d'autres constructeurs peuvent être dangereuses, et leur utilisation risque d'annuler la garantie de la machine.
| Périodicité d'entretien | Procédure d'entretien |
|---|---|
| Après la 1ère heure de fonctionnement |
|
| Après les 10 premières heures de fonctionnement |
|
| Après les 50 premières heures de fonctionnement |
|
| À chaque utilisation ou une fois par jour |
|
| Toutes les 50 heures |
|
| Toutes les 250 heures |
|
| Toutes les 500 heures |
|
| Toutes les 1000 heures |
|
| Toutes les 1500 heures |
|
| Toutes les 3000 heures |
|
| Une fois par an |
|
| Tous les 2 ans |
|
Copiez cette page pour pouvoir vous en servir régulièrement.
| Entretiens à effectuer | Pour la semaine du : | ||||||
|---|---|---|---|---|---|---|---|
| Lun. | Mar. | Mer. | Jeu. | Ven. | Sam. | Dim. | |
| Contrôlez le niveau d'huile moteur. | |||||||
| Contrôlez l'indicateur de colmatage du filtre à air. | |||||||
| Vidangez l'eau du séparateur carburant-eau. | |||||||
| Recherchez des fuites éventuelles. | |||||||
| Contrôlez le circuit de refroidissement. | |||||||
| Enlevez chaque jour les débris présents sur la grille et le radiateur/refroidisseur d'huile. | |||||||
| Graissez les roulements, bagues et pivots2 | |||||||
| Contrôlez la pression des pneus. | |||||||
| Contrôlez le niveau de liquide hydraulique. | |||||||
| Contrôlez les flexibles et conduits hydrauliques. | |||||||
| Contrôlez les fixations de la machine. | |||||||
| Contrôlez les unités de coupe. | |||||||
| Vérifiez le réglage de la hauteur de coupe. | |||||||
| Contrôlez la ceinture de sécurité. | |||||||
| Contrôlez le fonctionnement de la pédale de déplacement. | |||||||
| Vérifiez le fonctionnement des instruments. | |||||||
| Vérifiez les bruits anormaux en provenance du moteur.1 | |||||||
| Contrôlez le fonctionnement des contacteurs de sécurité. | |||||||
| Vérifiez le fonctionnement des freins. | |||||||
| Vérifiez les bruits de fonctionnement anormaux. | |||||||
| Lavez la machine.2 | |||||||
| Retouchez les peintures endommagées. | |||||||
|
1. Contrôlez la bougie de préchauffage et les injecteurs si le moteur a du mal à démarrer, ne tourne pas régulièrement ou produit une fumée excessive. |
|||||||
|
2. Graissez la machine immédiatement après chaque lavage, quelle que soit la fréquence d'entretien indiquée |
|||||||
| Contrôle effectué par : | ||
| Point contrôlé | Date | Information |
| 1 | ||
| 2 | ||
| 3 | ||
| 4 | ||
| 5 | ||
| 6 | ||
N'utilisez pas la machine avec la plate-forme déverrouillée car vous pourriez perdre le contrôle de la machine, et vous blesser gravement ou blesser d'autres personnes.
N'utilisez jamais la machine sans vérifier au préalable que le mécanisme de blocage de la plateforme de l'utilisateur est complètement engagé et fonctionne correctement.
Abaissez doucement la plateforme (Figure 45).
Note: Le vérin à gaz de levage contribue à soutenir la plate-forme.

Lorsque la plate-forme approche de la position complètement baissée, déplacez la poignée de verrouillage (Figure 46) vers l'avant de la machine.
Note: Cela permet aux crochets du verrou de passer la barre de verrouillage.

Abaissez complètement la plate-forme et déplacez la poignée de verrouillage vers l'arrière de la machine jusqu'à ce que les crochets du verrou s'engagent complètement sur la barre de verrouillage (Figure 47).

Alignez les trous au bas du compartiment de rangement et les trous dans les supports du châssis.
Montez le compartiment de rangement sur la machine avec les 3 boutons et les 3 rondelles (Figure 49)

Fermez la porte du compartiment de rangement.
Note: Utilisez des chandelles pour soutenir la machine après l'avoir levée.
Les crics mécaniques ou hydrauliques peuvent céder sous le poids de la machine et causer des blessures graves.
Utilisez des chandelles pour soutenir la machine.
Avant – sous le support du bras avant
Arrière – tube sur l'essieu arrière

| Périodicité d'entretien | Procédure d'entretien |
|---|---|
| À chaque utilisation ou une fois par jour |
|
| Toutes les 50 heures |
|
Important: Lubrifiez les roulements, les bagues et les pivots immédiatement après chaque lavage, quelle que soit la fréquence d'entretien indiquée.
Type de graisse : graisse au lithium nº 2
Injectez 1 jet de graisse dans les dispositifs de réglage de hauteur de coupe et 3 jets de graisse dans tous les autres graisseurs.
Voir l'emplacement des graisseurs à la Figure 51.
Remplacez les graisseurs endommagés.

Coupez le moteur avant de contrôler le niveau d'huile ou d'ajouter de l'huile dans le carter.
Ne modifiez pas le réglage du régulateur et ne faites pas tourner le moteur à un régime excessif.
| Périodicité d'entretien | Procédure d'entretien |
|---|---|
| À chaque utilisation ou une fois par jour |
|
Ouvrez le capot.
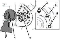
Contrôlez l'indicateur de colmatage du filtre (Figure 52).
Important: Si l'indicateur est rouge, examinez le préfiltre et remplacez-le s'il est encrassé ou endommagé ; voir Remplacement du préfiltre du filtre à air.

Si l'indicateur de colmatage n'est pas rouge, refermez le capot.
| Périodicité d'entretien | Procédure d'entretien |
|---|---|
| Toutes les 500 heures |
|
Vérifiez si le boîtier du filtre à air présente des dommages susceptibles d'occasionner des fuites d'air. Remplacez le boîtier du filtre à air s'il est endommagé. Vérifiez que le système d'admission ne présente pas de fuites, de dommages ou de colliers de flexible desserrés.
Note: Faites l'entretien du préfiltre si l'indicateur de colmatage (Figure 52) est rouge. Le remplacement fréquent du filtre à air accroît le risque de contamination du moteur par des impuretés quand le filtre est déposé.
Important: Le couvercle doit être parfaitement ajusté sur le boîtier du filtre à air.
Avant de déposer le couvercle du filtre à air, utilisez de l'air comprimé basse pression (2,76 bar) propre et sec pour éliminer toute accumulation importante de débris à l'extérieur de la cartouche filtrante.
Note: Cette procédure de nettoyage évite de déplacer des débris dans l'admission lors de la dépose du filtre.
Important: N'utilisez pas d'air sous haute pression car il pourrait forcer les impuretés à travers le filtre et dans le canal d'admission.

Déposez le couvercle du boîtier du filtre à air.
Déposez le préfiltre (Figure 53).
Important: Ne nettoyez pas et n'utilisez pas un élément filtrant usagé car il pourrait être endommagé.
Vérifiez que l'élément de rechange n'a pas été endommagé pendant le transport. Vérifiez l'extrémité d'étanchéité du filtre et du boîtier.
Important: N'utilisez pas l'élément s'il est endommagé.
Insérez l'élément de rechange en appuyant sur le bord extérieur pour l'engager dans la cartouche.
Important: N'appuyez pas sur la partie centrale flexible de l'élément.
Nettoyez l'orifice d'éjection d'impuretés situé dans le couvercle du filtre à air. Retirez la valve de sortie en caoutchouc du couvercle du filtre à air, nettoyez la cavité à l'intérieur de la valve et replacez la valve dans le couvercle.
Orientez l'orifice d'éjection du couvercle du filtre à air entre les positions 5 heures et 7 heures, vu depuis l'extrémité, puis remettez le couvercle sur la cartouche filtrante et fixez-le en place.
Contrôlez l'état des flexibles du filtre à air.
Le filtre à air comporte un deuxième élément filtrant de sécurité à l'intérieur du préfiltre pour éviter que la poussière et les autres saletés délogées pendant le remplacement du préfiltre, ne pénètrent dans le moteur.
Remplacez toujours l'élément de sécurité ; ne le nettoyez jamais.
Important: N'essayez jamais de nettoyer l'élément de sécurité. Si l'élément de sécurité est encrassé, cela signifie que le préfiltre est endommagé. Remplacez alors les deux éléments.

Utilisez une huile moteur de qualité à basse teneur en cendre conforme ou supérieure aux spécifications suivantes :
Catégorie de service API CJ-4 ou mieux
Catégorie de service ACEA E6
Catégorie de service JASO DH-2
Important: L'utilisation d'une huile moteur d'une catégorie autre que la catégorie API CJ-4 ou mieux, ACEA E6 ou JASO DH-2, peut causer le colmatage du filtre à particules diesel ou endommager le moteur.
Utilisez une huile moteur ayant l'indice de viscosité suivant :
Huile préférée : SAE 15W-40 (au-dessus de -18 °C)
Autre huile possible : SAE 10W-30 ou 5W-30 (toutes températures)
L'huile moteur Toro Premium est en vente chez votre distributeur Toro agréé avec l'indice de viscosité 15W-40 ou 10W-30. Consultez le catalogue de pièces pour les numéros de référence.
| Périodicité d'entretien | Procédure d'entretien |
|---|---|
| À chaque utilisation ou une fois par jour |
|
Important: Contrôlez l'huile moteur chaque jour. Si le niveau d'huile moteur dépasse le repère maximum sur la jauge, il se peut que l'huile soit diluée avec du carburant.Si le niveau d'huile moteur est au-dessus du repère maximum, vidangez l'huile.
Le meilleur moment pour vérifier le niveau d'huile moteur est en début de journée, quand le moteur est froid avant sa mise en marche. Si le moteur a déjà tourné, attendez au moins 10 minutes que l'huile retourne dans le carter avant de contrôler le niveau. Si le niveau d'huile est à la même hauteur ou en dessous du repère minimum sur la jauge, faites l'appoint pour l'amener au repère maximum. Ne remplissez pas excessivement le carter moteur.
Important: Maintenez le niveau d'huile moteur entre les repères maximum et minimum sur la jauge ; une panne de moteur peut se produire si le carter contient trop ou pas assez d'huile.
Garez la machine sur une surface plane et horizontale, abaissez les unités de coupe, coupez le moteur, serrez le frein de stationnement et enlevez la clé.
Déverrouillez et ouvrez le capot du compartiment moteur.
Sortez la jauge, essuyez-la sur un chiffon propre, replacez-la dans le goulot de remplissage, puis ressortez-la. Le niveau d'huile doit se situer entre les repères MINIMUM et MAXIMUM (Figure 55).

Si le niveau d'huile est trop bas, retirez le bouchon de remplissage et faites l'appoint d'huile jusqu'à ce que le niveau se situe entre les repères MINIMUM et MAXIMUM (Figure 55).
Note: Ne remplissez pas excessivement le carter moteur.
Remettez le bouchon de remplissage et la jauge en place.
Refermez et verrouillez le capot.
5,5 litres avec le filtre
| Périodicité d'entretien | Procédure d'entretien |
|---|---|
| Toutes les 500 heures |
|
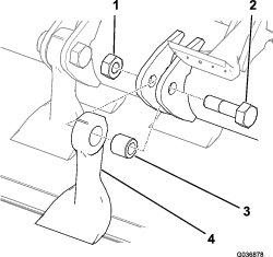
Enlevez le bouchon de vidange et laissez couler l'huile dans un bac de vidange (Figure 56).

Une fois la vidange d'huile terminée, remettez-le bouchon de vidange en place et serrez-le à un couple de 54 à 63 N·m.
Déposez le filtre à huile.
Appliquez une fine couche d'huile propre sur le joint du filtre à huile.
Vissez le filtre à huile sur le moteur jusqu'à ce qu'il touche la surface de montage, puis serrez-le encore d'un tour.
Important: Ne serrez pas le filtre excessivement.
Rajoutez de l'huile dans le carter moteur ; voir Spécifications de l'huile et Contrôle du niveau d'huile moteur.
| Périodicité d'entretien | Procédure d'entretien |
|---|---|
| Toutes les 3000 heures |
|
Si le code d'anomalie moteur , ou s'affiche sur l'InfoCenter (Figure 57), nettoyez le filtre à suie en procédant comme suit :



Consultez la section Moteur du Manuel d'entretien pour savoir comment démonter et remonter le catalyseur d'oxydation diesel et le filtre à suie du FAP.
Consultez votre concessionnaire Toro agréé pour vous procurer des pièces de rechange ou faire l'entretien du catalyseur d'oxydation diesel et du filtre à suie.
Demandez à votre concessionnaire Toro agréé de réinitialiser l'ECU du moteur après la pose d'un FAP propre.
| Périodicité d'entretien | Procédure d'entretien |
|---|---|
| Toutes les 1000 heures |
|
| Toutes les 1500 heures |
|
| Toutes les 3000 heures |
|
Dans certaines conditions, le carburant et les vapeurs qu'il dégage sont extrêmement inflammables et explosifs. Un incendie ou une explosion causé(e) par du carburant peut vous brûler, ainsi que d'autres personnes, et causer des dommages matériels.
Faites le plein du réservoir à l'extérieur, dans un endroit bien dégagé, moteur arrêté et froid. Essuyez tout carburant répandu.
Ne remplissez pas complètement le réservoir de carburant. Remplissez le réservoir de carburant jusqu'à 25 mm au-dessous du haut du réservoir, pas du goulot de remplissage. L'espace au-dessus doit rester vide pour permettre au carburant de se dilater.
Ne fumez jamais quand vous manipulez du carburant, et tenez-vous à l'écart des flammes nues et étincelles qui pourraient enflammer les vapeurs de carburant.
Stockez le carburant dans un bidon de sécurité propre et homologué qui doit être maintenu bouché.
Ce Manuel de l'utilisateur contient plus de précisions sur le carburant et le système de carburant que le Manuel du propriétaire du moteur Yanmar®, qui sert de référence générale pour tout ce qui concerne le carburant et l'entretien du système de carburant.
Il est indispensable de bien comprendre que l'entretien du circuit d'alimentation, le stockage du carburant et la qualité du carburant exigent votre attention afin d'éviter les temps d'arrêt et des réparations importantes du moteur.
Le système de carburant présente des tolérances extrêmement serrées en raison des exigences en matière d'émissions et de contrôle. La qualité et la propreté du gazole sont plus importantes pour assurer la longévité du système d'injection à rampe commune haute pression (HPCR) utilisée sur les moteurs diesel.
Important: La présence d'eau ou de carburant dans le système de carburant endommagera le moteur ! Ne partez pas du principe que le nouveau carburant est propre. Assurez-vous que le carburant provient d'un fournisseur réputé, stockez le carburant correctement et utilisez votre stocke de carburant dans une délai de 180 jours.
Important: Si vous ne suivez pas les procédures de remplacement du filtre à carburant, d'entretien du système de carburant et de stockage du carburant, le système de carburant risque de tomber en panne prématurément. Effectuez tous les entretiens du système de carburant aux intervalles spécifiés ou chaque fois que le carburant est contaminé ou de mauvaise qualité.
Un stockage approprié du carburant est essentiel pour le moteur. L'entretien correct des réservoirs de stockage du carburant est souvent négligé et cela peut entraîner la contamination du carburant fourni à la machine.
Achetez uniquement la quantité de carburant que vous comptez utiliser dans un délai de 6 mois. N'utilisez pas de carburant stocké depuis plus de 6 mois. Cela contribue à éliminer l'eau et autres contaminants présents dans le carburant.
Si vous n'éliminez pas l'eau dans le réservoir de stockage ou le réservoir de carburant de la machine, cela peut entraîner la formation de rouille ou la contamination du réservoir de stockage et des composants du système de carburant. La boue dans le réservoir causée par la moisissure, les bactéries ou les champignons restreint le débris et colmate le filtre et les injecteurs de carburant.
Inspectez le réservoir de stockage de carburant et le réservoir de carburant de la machine régulièrement pour contrôler la qualité du carburant dans le réservoir.
Assurez-vous que le carburant provient d'un fournisseur réputé.
Si vous trouvez de l'eau ou des contaminants dans le réservoir de stockage ou le réservoir de carburant de la machine, travaillez avec votre fournisseur de carburant pour remédier au problème et effectuer toutes les opérations d'entretien du système de carburant.
Ne stockez pas le gazole dans des réservoirs ou des bidons fabriqués avec des composants zingués.
| Périodicité d'entretien | Procédure d'entretien |
|---|---|
| À chaque utilisation ou une fois par jour |
|
Garez la machine sur une surface plane et horizontale, abaissez les unités de coupe, serrez le frein de stationnement, coupez le moteur et enlevez la clé.
Placez un bac de vidange propre sous le filtre à carburant.
Dévissez la vanne de vidange au bas de la cartouche filtrante et ouvrez la vis de purge au sommet du support de la cartouche.

Serrez la vanne de vidange au bas de la cartouche filtrante et fermez la vis de purge au sommet du support de la cartouche.
Amorcez le circuit d'alimentation ; voir Amorçage du circuit d'alimentation.
Amorcez le circuit d'alimentation dans les cas suivants :
Avant le premier démarrage du moteur.
Si vous tombez en panne de carburant et que vous faites le plein de carburant neuf.
Après l'entretien du circuit d'alimentation, tel que remplacement du filtre à carburant, purge du séparateur d'eau ou remplacement d'un composant du circuit d'alimentation.
Pour amorcer le circuit d'alimentation, tournez la clé à la position CONTACT pendant 10 à 15 secondes pour permettre à la pompe à carburant d'amorcer le circuit.
Important: N'utilisez pas le démarreur pour lancer le moteur afin d'amorcer le circuit d'alimentation. Cela endommagera le démarreur.
| Périodicité d'entretien | Procédure d'entretien |
|---|---|
| Toutes les 500 heures |
|
Important: Remplacez régulièrement la cartouche du filtre à carburant pour prévenir l'usure du plongeur de la pompe d'injection ou de l'injecteur causée par la présence de saletés dans le carburant.
Placez un bac de vidange propre sous la cartouche du filtre à carburant (Figure 59).
Vidangez la cartouche du filtre à carburant ; voir Entretien du séparateur d'eau.
Nettoyez la surface autour du filtre à carburant et de la tête du filtre (Figure 59).

Déposez la cartouche et nettoyez la tête du filtre (Figure 59).
Lubrifiez le joint de la cartouche avec du gazole propre.
Vissez une cartouche de filtre neuve à la main jusqu'à ce que le joint rencontre la surface de montage.
Amorcez le circuit d'alimentation ; voir Amorçage du circuit d'alimentation.
| Périodicité d'entretien | Procédure d'entretien |
|---|---|
| Toutes les 500 heures |
|
Note: Reportez-vous au manuel du propriétaire du moteur fourni avec la machine pour tout renseignement complémentaire.
Nettoyez la surface autour de la tête du filtre à carburant (Figure 60).

Déposez le filtre et nettoyez la surface de montage de la tête du filtre (Figure 60).
Lubrifiez le joint du filtre avec du gazole propre.
Montez la cartouche sèche à la main jusqu'à ce que le joint rejoigne la tête du filtre, puis serrez la cartouche d'un demi tour supplémentaire.
Démarrez le moteur et vérifiez qu'il n'y a pas de fuite d'huile autour de la tête du filtre.
| Périodicité d'entretien | Procédure d'entretien |
|---|---|
| Toutes les 500 heures |
|
Vérifiez que les conduites et les raccords ne sont pas détériorés, endommagés ou desserrés.
Le tube d'aspiration de carburant est situé à l'intérieur du réservoir de carburant. Le tube d'aspiration est muni d'une crépine qui empêche les débris de pénétrer dans le circuit d'alimentation. Retirez le tube et nettoyez la crépine selon les besoins.
Important: Avant d'effectuer des soudures sur la machine, débranchez les deux câbles de la batterie, les connecteurs des faisceaux des modules de commande électroniques et la cosse de l'alternateur pour éviter d'endommager le système électrique.
Débranchez la batterie avant de réparer la machine. Débranchez toujours la borne négative avant la borne positive. Rebranchez la borne positive avant la borne négative.
Chargez la batterie dans un endroit dégagé et bien aéré, à l'écart des flammes ou sources d'étincelles. Débranchez le chargeur du secteur avant de brancher ou de débrancher la batterie. Portez des vêtements de protection et utilisez des outils isolés.
L'électrolyte contient de l'acide sulfurique, dont l'ingestion est mortelle et qui cause de graves brûlures.
Ne buvez jamais l'électrolyte et évitez tout contact avec les yeux, la peau ou les vêtements. Portez des lunettes de protection et des gants en caoutchouc.
Faites le plein d'électrolyte à proximité d'une arrivée d'eau propre, de manière à pouvoir rincer abondamment la peau en cas d'accident.
La batterie en charge produit des gaz qui peuvent exploser.
Ne fumez jamais près de la batterie et gardez-la à l'écart des flammes et sources d'étincelles.
Les bornes et le bac doivent être propres, car une batterie encrassée se décharge lentement. Pour nettoyer la batterie, lavez le bac avec un mélange d'eau et de bicarbonate de soude. Rincez-le à l'eau claire.
| Périodicité d'entretien | Procédure d'entretien |
|---|---|
| Toutes les 50 heures |
|
Important: Lorsque vous enlevez la batterie, débranchez toujours le câble négatif (-) en premier.
Important: Lorsque vous installez la batterie, branchez toujours le câble négatif (-) en dernier.
Dans des conditions de fonctionnement normales, la batterie ne nécessite aucun autre entretien. Si la machine a été utilisée de manière continue à des températures ambiantes élevées, il peut être nécessaire d'ajouter de l'eau à l'électrolyte.
Déposez le bac de rangement ; voir Dépose du bac de rangement.
Enlevez toute corrosion sur les bornes de la batterie en utilisant une brosse métallique, et pour empêcher une corrosion future.
Note: Contrôlez l'état des câbles de la batterie. Remplacez les câbles s'ils semblent usés ou endommagés et resserrez les connexions lâches au besoin.
Appliquez de la graisse Grafo 112X (Skin-over) (réf. Toro 505-47) ou de la vaseline sur les bornes.
Nettoyez le compartiment de la batterie.
Retirez les couvercles des éléments et ajoutez de l'eau distillée jusqu'à 15 mm en-dessous du haut de la batterie si nécessaire. Retirez les couvercles des éléments et versez de l'eau distillée jusqu'à 15 mm en-dessous du haut de la batterie.
Installez le bac de rangement ; voir Montage du bac de rangement .
| Périodicité d'entretien | Procédure d'entretien |
|---|---|
| Toutes les 500 heures |
|
Inspectez toutes les connexions et câbles électriques et remplacez ceux qui sont endommagés ou corrodés. Vaporisez un inhibiteur d'eau sur les connexions exposées afin d'empêcher la pénétration d'humidité.
Déposez le bac de rangement ; voir Dépose du bac de rangement.
Enlevez le couvercle du porte-fusibles (Figure 61).
Note: Le porte-fusibles est situé près de la batterie.

Vérifiez si des fusibles sont ouverts
Note: Le système électrique est protégé par 10 fusibles.
Remplacez tout fusible ouvert par un fusible de même intensité.

Reposez le couvercle du porte-fusibles (Figure 61).
Installez le bac de rangement ; voir Montage du bac de rangement .
| Périodicité d'entretien | Procédure d'entretien |
|---|---|
| À chaque utilisation ou une fois par jour |
|
Important: Les pneus doivent tous être gonflés à la pression correcte pour assurer un contact correct avec l'herbe.
La pression recommandée des pneus est de 1 bar pour l'usage général. Ajustez la pression des pneus en fonction des conditions d'utilisation en vous reportant au tableau ci-après.
| Pneus | Type de pneu | Pressions de gonflage recommandées | ||
| Sur herbe | Sur route | Pression maximale | ||
| Essieu avant | 26 x 12.0 - 12 BKT profil herbe | 0,7 bar | 1,4 bar | 1,4 bar |
| Essieu arrière | 20 x 10.0 - 8 BKT profil herbe | 0,7 bar | 1,4 bar | 1,5 bar |
| Périodicité d'entretien | Procédure d'entretien |
|---|---|
| Après la 1ère heure de fonctionnement |
|
| Après les 10 premières heures de fonctionnement |
|
| Toutes les 250 heures |
|
Couple de serrage des écrous des roues avant : 200 N·m
Couple de serrage des écrous des roues arrière : 100 N·m
Un mauvais serrage des écrous de roues peut occasionner des blessures.
Maintenez les écrous de roue serrés au couple correct.
| Périodicité d'entretien | Procédure d'entretien |
|---|---|
| Toutes les 250 heures |
|
Contrôlez l'état et la sécurité du câble et du mécanisme de commande au niveau des pédales de commande de la vitesse et des extrémités de la pompe de transmission.
Enlevez la saleté, les gravillons et autres débris.
Vérifiez que les rotules sont solidement fixées et que les supports de montage et les ancrages de câble sont bien serrés et non fissurés.
Examinez les raccords d'extrémité à la recherche d'usure, de corrosion ou de ressorts cassés, et remplacez-les si nécessaire.
Vérifiez que les joints en caoutchouc sont bien placés et en bon état.
Assurez-vous que les gaines articulées du câble intérieur sont en bon état et bien fixées au câble extérieur au niveau des connexions serties. Remplacez immédiatement le câble s'il y a le moindre signe de fissure ou de détachement.
Vérifiez que les gaines, les tiges et le câble intérieur ne sont pas tordus, pliés ou autrement endommagés. Remplacez le câble dans le cas contraire.
Le moteur étant arrêté, actionnez toutes les pédales de commande et vérifiez que le mécanisme fonctionne sans à-coup et librement vers la position neutre, sans grippage ni accrochage.

| Périodicité d'entretien | Procédure d'entretien |
|---|---|
| Toutes les 500 heures |
|
Pour éviter l'usure excessive des pneus et assurer le fonctionnement sûr de la machine, l'avant et l'arrière des roues arrière doit être aligné à 5 mm près.
Tournez le volant pour placer les roues arrière en position ligne droite.
Mesurez la distance entre l'avant des roues arrière et l'arrière des roues arrière, à hauteur d'essieu.
Note: Les roues sont parallèles si la différence entre l'avant et l'arrière est 5 mm ou moins.

Si la mesure à l'avant et à l'arrière des roues diffère de plus de 5 mm, réglez le parallélisme des roues arrière ; voir Réglage du pincement des roues arrière
À l'avant des roues arrière, desserrez les 2 contre-écrous qui fixent la barre d'accouplement aux embouts (Figure 65).

Alignez les roues en tournant la barre d'accouplement (Figure 65).
Note: Tournez la barre d'accouplement avec une clé placée sur les méplats.
Mesurez la distance entre l'avant des roues arrière et l'arrière des roues arrière, à hauteur d'essieu.
Note: Les roues sont parallèles si la différence entre l'avant et l'arrière est 5 mm ou moins.

Répétez les opérations 2 et 3 jusqu'à ce que les roues soient alignées.
Serrez les 2 contre-écrous pour fixer la barre d'accouplement et les embouts (Figure 65).
L'ingestion de liquide de refroidissement peut être toxique ; rangez-le hors de la portée des enfants et des animaux domestiques.
Les projections de liquide de refroidissement brûlant sous pression ou le contact avec le radiateur brûlant et les pièces qui l'entourent peuvent causer des brûlures graves.
Laissez toujours refroidir le moteur pendant au moins 15 minutes avant d'enlever le bouchon du radiateur.
Servez-vous d'un chiffon pour ouvrir le bouchon du radiateur et desserrez-le lentement pour laisser la vapeur s'échapper.
Le réservoir de liquide de refroidissement est rempli à l'usine d'un mélange 50/50 d'eau et de liquide de refroidissement longue durée à base d'éthylène glycol.
Important: Utilisez uniquement des liquides de refroidissement en vente dans le commerce et répondant aux spécifications énoncées dans le Tableau des normes des liquides de refroidissement longue durée.N'utilisez pas de liquide de refroidissement ordinaire (vert) issu de la technologie des acides inorganiques (IAT) dans la machine. Ne mélangez pas les liquides de refroidissement ordinaires et longue durée.
|
Type à l'éthylène-glycol |
Type avec inhibiteur de corrosion |
|
Antigel longue durée |
Technologie des acides organiques (OAT) |
|
Important: Ne vous fiez pas à la couleur du liquide de refroidissement pour différencier les types de liquides de refroidissement ordinaire (IAT) et longue durée.Les fabricants de liquides de refroidissement peuvent teinter les liquides de refroidissement longue durée dans les couleurs suivantes : rouge, rose, orange, jaune, bleu, vert-bleu, violet et vert. Utilisez un liquide de refroidissement répondant aux spécifications énoncées dans le Tableau des normes des liquides de refroidissement longue durée. |
|
|
ATSM International |
SAE International |
|
D3306 et D4985 |
J1034, J814 et 1941 |
Important: Le mélange concentré doit être constitué à part égale de liquide de refroidissement et d'eau.
De préférence : si le liquide de refroidissement est mélangé à partir de concentré, le mélanger avec de l'eau distillée.
Option privilégiée : en l'absence d'eau distillée, utiliser un liquide de refroidissement prémélangé au lieu de concentré.
Minimum requis : en l'absence d'eau distillée et de liquide de refroidissement prémélangé, mélanger du liquide concentré avec de l'eau potable propre.
| Périodicité d'entretien | Procédure d'entretien |
|---|---|
| À chaque utilisation ou une fois par jour |
|
Si le moteur vient de tourner, le liquide de refroidissement sous pression peut s'échapper et vous brûler.
N'enlevez pas le bouchon du radiateur si le moteur tourne.
Servez-vous d'un chiffon pour ouvrir le bouchon du radiateur et desserrez-le lentement pour laisser la vapeur s'échapper.
Vérifiez le niveau du liquide de refroidissement dans le vase d'expansion (Figure 67).
Il doit se situer entre les repères qui figurent sur le côté du réservoir.

Si le niveau du liquide de refroidissement est trop bas, enlevez le bouchon du vase d'expansion et faites l'appoint. Ne remplissez pas excessivement.
Revissez le bouchon du vase d'expansion.
| Périodicité d'entretien | Procédure d'entretien |
|---|---|
| À chaque utilisation ou une fois par jour |
|
Garez la machine sur une surface plane et horizontale, abaissez les unités de coupe, coupez le moteur, serrez le frein de stationnement et enlevez la clé.
Retirez la goupille sphérique du verrou de la grille (Figure 68).

Déverrouillez la grille du moteur, ouvrez-la et soulevez-la hors de la machine (Figure 69).

Nettoyez les grilles.
Déverrouillez et soulevez le capot (Figure 70).

Nettoyez méticuleusement la zone du moteur.
Nettoyez soigneusement les deux côtés du radiateur et du refroidisseur d'huile à l'air comprimé (Figure 71).

Fermez et verrouillez le capot.
Placez la grille sur les axes d'articulation, refermez la grille et fixez-la en position avec le verrou et la goupille sphérique.
| Périodicité d'entretien | Procédure d'entretien |
|---|---|
| Après les 50 premières heures de fonctionnement |
|
| Toutes les 250 heures |
|
Exercez une force de 10 kgf sur la courroie d'alternateur (Figure 72) à mi-chemin entre les poulies.
Note: La courroie doit présenter une flèche de 10 mm.

Si la courroie n'est pas tendue correctement, effectuez la procédure suivante :
Si la courroie présente une flèche de moins de 10 mm, desserrez le boulon de pivot de l'alternateur et le boulon de tension (Figure 72), et réduisez la tension de la courroie.
Si la courroie présente une flèche de plus de 10 mm, desserrez le boulon de pivot de l'alternateur et le boulon de tension (Figure 72), et augmentez la tension de la courroie.
Note: Au besoin, desserrez le boulon du support de tension (Figure 72).
Serrez les boulons (Figure 72).
Contrôlez de nouveau la flèche de la courroie pour vérifier que la tension est correcte.
Consultez immédiatement un médecin si du liquide est injecté sous la peau. Toute injection de liquide hydraulique sous la peau doit être éliminée dans les quelques heures qui suivent par une intervention chirurgicale réalisée par un médecin.
Vérifiez l'état de tous les flexibles et conduits de liquide hydraulique, ainsi que le serrage de tous les branchements et raccords avant de mettre le système hydraulique sous pression.
N'approchez pas les mains ni aucune autre partie du corps des fuites en trou d'épingle ou des gicleurs d'où sort du liquide hydraulique sous haute pression.
Utilisez un morceau de papier ou de carton pour détecter les fuites.
Évacuez avec précaution toute la pression du système hydraulique avant toute intervention sur le système.
| Périodicité d'entretien | Procédure d'entretien |
|---|---|
| À chaque utilisation ou une fois par jour |
|
Vérifiez que les conduites et flexibles hydrauliques ne présentent pas de fuites, ne sont pas pliés, usés, détériorés par les conditions atmosphériques ou les produits chimiques, et que les supports de montage et les raccords ne sont pas desserrés. Effectuez les réparations nécessaires avant d'utiliser la machine.
Le réservoir est rempli en usine de liquide hydraulique de haute qualité. Contrôlez néanmoins le niveau du liquide hydraulique avant le tout premier démarrage du moteur, puis tous les jours ; voir Contrôle du niveau de liquide hydraulique.
Liquide hydraulique recommandé : liquide hydraulique longue durée « Toro PX Extended Life » ; disponible en bidons de 19 litres ou barils de 208 litres.
Note: Si vous utilisez le liquide de remplacement recommandé dans la machine vous n'aurez pas besoin de vidanger le liquide et de remplacer le filtre aussi souvent.
Autres liquides hydrauliques possibles : si vous ne disposez pas de liquide hydraulique longue durée Toro PX, vous pouvez utiliser d'autres liquides hydrauliques classiques à base de pétrole à condition qu'ils soient conformes aux caractéristiques physiques et aux spécifications de l'industrie suivantes. N'utilisez pas de liquide synthétique. Consultez votre distributeur de lubrifiants pour identifier un produit qui convient.
Note: Toro décline toute responsabilité en cas de dommage causé par l'utilisation d'huiles de remplacement inadéquates. Utilisez uniquement des produits provenant de fabricants réputés qui répondent de leur recommandation.
| Propriétés physiques : | ||
| Viscosité, ASTM D445 | 44 à 48 cSt à 40 °C | |
| Indice de viscosité, ASTM D2270 | 140 ou plus | |
| Point d'écoulement, ASTM D97 | -37 à -45 °C | |
| Spécifications de l'industrie : | Eaton Vickers 694 (I-286-S, M-2950-S/35VQ25 ou M-2952-S) | |
Note: De nombreuses huiles hydrauliques sont presque incolores, ce qui rend difficile la détection des fuites. Un additif colorant rouge pour liquide hydraulique est disponible en bouteilles de 20 ml. Une bouteille suffit pour 15 à 22 litres de liquide hydraulique. Vous pouvez commander ces bouteilles chez les concessionnaires Toro agréés (réf. 44-2500).
Important: Le liquide hydraulique biodégradable synthétique « Toro Premium Synthetic Bio Hyd Fluid » est le seul liquide biodégradable synthétique agréé par Toro. Il est compatible avec les élastomères utilisés dans les systèmes hydrauliques Toro et convient pour de larges plages de températures. Ce liquide est compatible avec les huiles minérales traditionnelles ; toutefois vous devez rincer soigneusement le système hydraulique pour le débarrasser de l'ancien liquide afin d'optimiser la biodégradabilité et les performances. Cette huile est disponible en bidons de 19 litres ou en barils de 208 litres chez votre distributeur Toro agréé.
| Périodicité d'entretien | Procédure d'entretien |
|---|---|
| À chaque utilisation ou une fois par jour |
|
Le réservoir est rempli en usine de liquide hydraulique de haute qualité. Le moment le plus propice pour contrôler le niveau de liquide hydraulique est quand il est froid.
Garez la machine sur une surface plane et horizontale, abaissez les unités de coupe, serrez le frein de stationnement, coupez le moteur et enlevez la clé.
Contrôlez le niveau par le regard sur le côté du réservoir.
Note: Le niveau de liquide hydraulique doit atteindre le repère supérieur.
S'il est nécessaire de faire l'appoint de liquide hydraulique, déposez le bac de rangement ; voir Dépose du bac de rangement.
Nettoyez la surface autour du goulot et du bouchon de remplissage du réservoir hydraulique (Figure 73).


Retirez le bouchon et versez le liquide hydraulique spécifié dans le réservoir jusqu'à ce qu'il atteigne le repère supérieur sur le regard de niveau.
Important: Ne remplissez pas le carter moteur excessivement.
Replacez le bouchon sur le réservoir.
Installez le bac de rangement ; voir Montage du bac de rangement .
| Périodicité d'entretien | Procédure d'entretien |
|---|---|
| Toutes les 500 heures |
|
| Toutes les 1000 heures |
|
Garez la machine sur une surface plane et horizontale, abaissez les unités de coupe, coupez le moteur, serrez le frein de stationnement et enlevez la clé.
Ouvrez le capot.
Sur le côté gauche de la machine, nettoyez la surface autour de la tête du filtre et placez un bac de vidange sous le filtre (Figure 74).

Déposez le filtre de retour (Figure 74).
Lubrifiez le joint du filtre de retour neuf avec du liquide hydraulique propre.
Montez le filtre sur la tête de filtre et serrez-le à la main jusqu'à ce que le joint touche la surface de montage, puis serrez-le encore d'un demi-tour (Figure 74).
Mettez le moteur en marche et laissez-le tourner environ 2 minutes pour purger l'air du circuit.
Coupez le moteur, enlevez la clé et recherchez d'éventuelles fuites.
Fermez et verrouillez le capot.
| Périodicité d'entretien | Procédure d'entretien |
|---|---|
| Toutes les 500 heures |
|
| Toutes les 1000 heures |
|
Si le liquide est contaminé, faites rincer le système par un concessionnaire Toro agréé. Le liquide contaminé a un aspect laiteux ou noir comparé à de l'huile propre.
Garez la machine sur une surface plane et horizontale, abaissez les unités de coupe, coupez le moteur, serrez le frein de stationnement et enlevez la clé.
Déposez le bac de rangement ; voir Dépose du bac de rangement.
Placez un bac de vidange sous le réservoir hydraulique, retirez le bouchon de vidange du réservoir et vidangez tout le liquide hydraulique (Figure 75).

Remettez le bouchon de vidange assorti d'un joint neuf.
32 litres ; voir Liquides hydrauliques spécifiés.
Remplissez le réservoir hydraulique avec le liquide hydraulique spécifié ; voir Liquides hydrauliques spécifiés et Contrôle du niveau de liquide hydraulique.
Important: Utilisez uniquement les liquides hydrauliques spécifiés ; tout autre liquide hydraulique pourrait endommager le circuit.
Mettez la machine en marche et faites fonctionner tous les systèmes hydrauliques jusqu'à ce que le liquide hydraulique soit chaud.
Contrôlez le niveau d'huile et faites l'appoint au besoin jusqu'au repère supérieur sur le regard de niveau.
Installez le bac de rangement ; voir Montage du bac de rangement .
Une lame ou contre-lame usée ou endommagée peut se briser et projeter le morceau cassé dans votre direction ou celle d'autres personnes, et infliger des blessures graves ou mortelles.
Vérifiez périodiquement que les lames et les contre-lames ne sont pas excessivement usées ou endommagées.
Examinez toujours les lames avec prudence. Portez des gants et procédez toujours avec précaution pendant leur entretien. Limitez-vous à remplacer ou aiguiser les lames et contre-lames ; n'essayez jamais de les redresser ou de les souder.
Sur les machines à plusieurs unités de coupe, faites attention quand vous tournez une unité de coupe, car sa rotation peut entraîner celle des cylindres des autres unités de coupe.
| Périodicité d'entretien | Procédure d'entretien |
|---|---|
| Une fois par an |
|
Pour conserver un bon équilibrage, remplacez toujours les lames par paire opposée ou par rotor complet. Remplacez aussi la bague, le boulon et le contre-écrou quand vous remplacez une lame. Deux kits d'entretien proposés pour le remplacement des lames ; consultez le Catalogue de pièces de la machine.
Levez les plateaux de coupe et bloquez-les en position de transport.
Serrez le frein de stationnement, coupez le moteur et enlevez la clé de contact.
Si vous remplacez les lames du plateau de coupe central, déposez le plateau au complet à moins de disposer d'un pont élévateur.
Tournez le rotor lentement à la main de manière à ce que chaque rangée de fléaux soit à la position voulue et facile d'accès.
Utilisez l'outil de blocage du rotor (fourni avec le kit d'affûtage des lames) pour bloquer le rotor.
Enlevez les débris présents sur la tête de boulon et l'écrou, et nettoyez le filetage qui dépasse avec une brosse métallique.
Repérez la position de la tête de boulon afin de pouvoir remettre le boulon en place par le même côté.
Tenez la lame avec un chiffon ou un gant épais et retirez l'écrou, le boulon, la bague et la lame (Figure 77).
Note: Au besoin, appliquez du dégrippant sur le filetage pour faciliter le retrait de l'écrou.

Mettez au rebut la lame, la bague, l'écrou et le boulon.
Fixez une lame et une bague neuves avec un écrou et un boulon neufs (Figure 77).
Note: Tenez compte des repères de position de la tête du boulon de manière à replacer le boulon dans la même direction.
Serrez les fixations à 45 N·m.
| Périodicité d'entretien | Procédure d'entretien |
|---|---|
| Toutes les 50 heures |
|
Serrez tous les boulons de lame à 45 N·m.
| Périodicité d'entretien | Procédure d'entretien |
|---|---|
| À chaque utilisation ou une fois par jour |
|
| Toutes les 50 heures |
|
Important: Remplacez toujours en même temps par paires (une lame + la lame opposée) pour maintenir un bon équilibre.
Garez la machine sur une surface plane et horizontale.
Élevez et soutenez le plateau de coupe avec les verrous de transport.
Coupez le moteur, serrez le frein de stationnement et enlevez la clé.
Contrôlez l'état de chaque lame, en particulier les fixations, le tranchant et le trou de fixation (Figure 78). Remplacez toutes les lames et fixations endommagées

Vérifiez qu'aucune lame n'est excessivement usée en vous aidant de la ligne d'usure (Figure 79). Remplacez les lames qui sont usées jusqu'à la ligne d'usure.

Serrez le boulon de chaque lame à 45 N·m.
Tenez chaque lame et vérifiez que le jeu ne dépasse pas 3 mm de chaque côté du rotor. Si le jeu est supérieur à 3 mm, remplacez la lame.
Vérifiez la différence de poids entre chaque paire de lames opposées.
Note: La différence de poids de chaque paire de lames opposées ne doit pas dépasser 10 grammes.
Une lame usée ou endommagée peut se briser et projeter le morceau cassé dans votre direction ou celle d'autres personnes, et infliger des blessures graves ou mortelles.
Contrôlez l'état et l'usure des lames périodiquement.
Remplacez les lames usées ou endommagées.
| Périodicité d'entretien | Procédure d'entretien |
|---|---|
| À chaque utilisation ou une fois par jour |
|
Vérifiez l'état et l'usure de la protection arrière (Figure 80). Remplacez la protection arrière si elle est endommagée pour éviter que des objets ne soient projetés en direction de l'utilisateur.

La pression résiduelle présente dans le système hydraulique peut provoquer un mouvement brusque du ou des rotors à fléaux une fois l'obstruction supprimée et entraîner des blessures.
N'essayez jamais de faire tourner les rotors à fléaux ou de les déboucher à la main.
Portez toujours des gants de protection et utilisez un manche en bois.
Assurez-vous que le manche en bois peut passer dans le rotor à fléaux et qu'il est assez long pour vous permettre de faire levier et débloquer le cylindre.
Placez la commande des unités de coupe en position ARRêT.
Garez la machine sur une surface plane et horizontale, relâchez les pédales de déplacement en marche avant ou arrière, réglez la commande d'accélérateur en position de ralenti et serrez le frein de stationnement.
Abaissez les unités de coupe au sol ou verrouillez-les de manière sécurisée à la position de transport spécifiée.
Coupez le moteur, enlevez la clé et attendez l'arrêt complet des rotors à fléaux.
Utilisez un manche en bois pour enlever les obstructions.
Important: Le rotor à fléaux peut tourner pendant que vous dégagez l'obstruction.
Important: Soutenez le manche en bois dans l'unité de coupe pour ne pas avoir à utiliser une force excessive pour éliminer l'obstruction.
Retirez le manche en bois de l'unité de coupe avant de démarrer le moteur.
Réparez ou réglez l'unité de coupe si nécessaire.
| Périodicité d'entretien | Procédure d'entretien |
|---|---|
| À chaque utilisation ou une fois par jour |
|
Vérifiez l'état et l'usure des protections avant (Figure 81). Remplacez les protections avant si elles sont endommagées pour éviter que des objets ne soient projetés dans votre direction.

| Périodicité d'entretien | Procédure d'entretien |
|---|---|
| À chaque utilisation ou une fois par jour |
|
| Toutes les 50 heures |
|
Élevez et soutenez le groupe de déplacement.
Saisissez chaque unité de coupe et vérifiez qu'elle ne présente pas un jeu excessif d'un côté à l'autre et de haut en bas.
| Périodicité d'entretien | Procédure d'entretien |
|---|---|
| À chaque utilisation ou une fois par jour |
|
| Toutes les 50 heures |
|
Pour contrôler les vibrations du rotor, faites tourner successivement chaque plateau de coupe à plein régime.
Note: Si des vibrations anormales sont produites, recherchez des dommages ou une usure excessive du rotor ou des lames. Les lames doivent toutes être usées au même point car leur poids a un impact sur l'équilibre du rotor.
Note: Si vous ne pouvez pas remédier aux vibrations, contactez votre distributeur Toro agréé.
Élevez et soutenez le groupe de déplacement.
Tenez le rotor à chaque extrémité et vérifiez s'il présente un jeu axial excessif.
Note: En cas de jeu axial excessif du rotor, contactez votre distributeur Toro agréé.
Note: S'il est nécessaire de remplacer ou d'équilibrer le rotor, contactez votre distributeur Toro agréé.
| Périodicité d'entretien | Procédure d'entretien |
|---|---|
| Toutes les 50 heures |
|
Important: Maintenez les roulements des rouleaux des unités de coupe bien réglés pour assurer une durée de service maximale. Si le jeu axial des rouleaux est excessif, les roulements seront endommagés prématurément.
Saisissez le rouleau et déplacez-le d'un côté à l'autre et de haut en bas.
En cas de jeu axial excessif, utilisez la clé fournie pour serrer avec précaution les écrous à chaque bout du rouleau jusqu'à la suppression du jeu (Figure 82).
Note: Le rouleau doit encore pouvoir tourner librement après le réglage. Le serrage excessif des écrous peut endommager les roulements prématurément.
Note: Réglez les écrous uniformément aux deux extrémités du rouleau.

| Périodicité d'entretien | Procédure d'entretien |
|---|---|
| Toutes les 50 heures |
|
Vérifiez que les câbles racloirs sont correctement tendus pour assurer une durée de vie maximale.
Serrez avec précaution les écrous de maintien des câbles racloirs pour bien tendre les câbles.
Serrez les écrous de 4 tours complets pour tendre correctement le fil (Figure 83).

Note: Ne tendez pas les fils racleurs excessivement.
| Périodicité d'entretien | Procédure d'entretien |
|---|---|
| À chaque utilisation ou une fois par jour |
|
Vérifiez que la ceinture de sécurité n'est pas usée, coupée ou autrement endommagée. Remplacez la ou les ceintures de sécurité en cas de mauvais fonctionnement d'un composant.
Nettoyez la ceinture de sécurité au besoin.
| Périodicité d'entretien | Procédure d'entretien |
|---|---|
| À chaque utilisation ou une fois par jour |
|
Vérifiez qu'aucune fixation n'est desserrée ou manquante.
Note: Resserrez toutes les fixations desserrées et remplacez celles qui manquent.
| Périodicité d'entretien | Procédure d'entretien |
|---|---|
| Toutes les 250 heures |
|
| Toutes les 1500 heures |
|
| Tous les 2 ans |
|
Au besoin, lavez la machine seulement avec de l'eau ou en y ajoutant un détergent doux. Vous pouvez laver la machine à l'aide d'un chiffon.
Important: Ne nettoyez pas la machine avec de l'eau saumâtre ou recyclée.
Important: Ne lavez pas la machine au jet haute pression. Cela pourrait endommager le système électrique, décoller des autocollants importants ou enlever la graisse nécessaire aux points de frottement. N'utilisez pas trop d'eau près du panneau de commande, du moteur et de la batterie.
Important: Ne lavez pas la machine pendant que le moteur tourne. Cela pourrait causer des dommages internes au moteur.
Avant de quitter la position d'utilisation, effectuez la procédure suivante :
Garez la machine sur une surface plane et horizontale.
Débrayez et abaissez les unités de coupe.
Serrez le frein de stationnement.
Coupez le moteur et retirez la clé.
Attendez l'arrêt complet de tout mouvement.
Laissez refroidir la machine avant de la régler, d'en faire l'entretien, de la nettoyer ou de la remiser.
Ne rangez pas la machine ni les bidons de carburant à proximité d'une flamme nue, d'une source d'étincelles ou d'une veilleuse, telle celle d'un chauffe-eau ou autre appareil.
Garez la machine sur une surface plane et horizontale, abaissez les unités de coupe, serrez le frein de stationnement, coupez le moteur et enlevez la clé.
Nettoyez soigneusement le groupe de déplacement, les unités de coupe et le moteur.
Contrôlez la pression des pneus ; voir Contrôle de la pression des pneus.
Vérifiez le serrage de toutes les fixations et resserrez-les au besoin.
Lubrifiez tous les graisseurs et points de pivot. Essuyez tout excès de lubrifiant.
Poncez légèrement et retouchez la peinture rayée, écaillée ou rouillée. Réparez les déformations de la carrosserie.
Vidangez l'huile moteur et remettez le bouchon de vidange en place.
Déposez le filtre à huile et mettez-le au rebut. Posez un filtre neuf.
Remplissez le moteur d'huile moteur recommandée.
Démarrez le moteur et faites-le tourner au ralenti pendant environ 2 minutes.
Coupez le moteur et retirez la clé.
Rincez le réservoir avec du carburant frais et propre.
Branchez tous les raccords du circuit d'alimentation.
Effectuez un nettoyage et un entretien minutieux du filtre à air.
Bouchez l'entrée et l'orifice de sortie du filtre à air avec du ruban imperméable.
Vérifiez la protection antigel et ajoutez un mélange 50/50 d'eau et d'antigel à l'éthylène glycol en fonction de la température minimale anticipée dans votre région.
Procédez à l'entretien de la batterie et des câbles ; voir Consignes de sécurité relatives au système électrique.
Débranchez les câbles des bornes de la batterie.
Nettoyez la batterie, les cosses des câbles et les bornes de la batterie avec une brosse métallique et un mélange de bicarbonate de soude.
Pour prévenir la corrosion, enduisez les bornes de la batterie et les cosses des câbles de graisse Grafo 112X (Skin-Over) (réf. Toro 505-47) ou de vaseline.
Rechargez lentement la batterie tous les deux mois pendant 24 heures pour prévenir la sulfatation.
| Problem | Possible Cause | Corrective Action |
|---|---|---|
| Il reste des zones d'herbe non coupée au point de chevauchement entre les unités de coupe. |
|
|
| Il y a des stries sur toute la largeur de coupe dans le sens de la marche |
|
|
| Des stries sont visibles sur la pelouse tondue, dans le sens de la marche, sur toute la largeur de coupe d'une unité de coupe. |
|
|
| L'herbe n'est pas coupée à la même hauteur au point de chevauchement entre les unités de coupe. |
|
|
| Il reste des brins d'herbe non coupés ou mal coupés. |
|
|
| Il reste des lignes d'herbe non coupée ou mal coupée dans le sens de la marche. |
|
|
| La pelouse est scalpée. |
|
|
| La lame est excessivement usée. |
|
|
| Le moteur ne démarre pas avec la clé de contact. |
|
|
| La batterie est déchargée. |
|
|
| Le liquide hydraulique surchauffe. |
|
|
| Le système de freinage ne fonctionne pas correctement. |
|
|
| La direction est défectueuse. |
|
|
| La machine ne se déplace pas en marche avant ou en marche arrière. |
|
|
| La machine roule en avant ou en arrière lorsqu'elle est au point mort. |
|
|
| Le système hydraulique est trop bruyant. |
|
|
| Après un fonctionnement initial satisfaisant, la machine perd de la puissance. |
|
|
| Les rotors vibrent excessivement. |
|
|
| Un rotor tourne lentement. |
|
|
| Une unité de coupe ne se lève pas après l'utilisation. |
|
|
| Les unités de coupe ne suivent pas le relief du terrain. |
|
|
| Les unités de coupe ne démarrent pas quand elles sont abaissées en position de travail. |
|
|
| Le rotor ne tourne pas dans le bon sens. |
|
|