| Wartungsintervall | Wartungsmaßnahmen |
|---|---|
| Bei jeder Verwendung oder täglich |
|
Dieser Aufsitzrasenmäher mit Schlegelmesser sollte nur von geschulten Lohnarbeitern in gewerblichen Anwendungen eingesetzt werden. Er ist hauptsächlich für das Mähen von Gras auf gepflegten Grünflächen gedacht. Wenn diese Maschine für einen anderen Zweck als vorgesehen eingesetzt wird, kann das für Sie und andere Personen gefährlich sein.
Lesen Sie diese Informationen sorgfältig durch, um sich mit dem ordnungsgemäßen Einsatz und der Wartung des Geräts vertraut zu machen und Verletzungen und eine Beschädigung des Geräts zu vermeiden. Sie tragen die Verantwortung für einen ordnungsgemäßen und sicheren Einsatz des Geräts.
Besuchen Sie www.Toro.com/de-de für weitere Informationen, einschließlich Sicherheitstipps, Schulungsunterlagen, Zubehörinformationen, Standort eines Händlers oder Registrierung des Produkts.
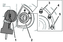
Wenden Sie sich an Ihren autorisierten Service-Vertragshändler oder Kundendienst, wenn Sie eine Serviceleistung, Toro Originalersatzteile oder zusätzliche Informationen benötigen. Halten Sie hierfür die Modell- und Seriennummern Ihres Produkts griffbereit. In Bild 1 ist angegeben, wo an dem Produkt die Modell- und die Seriennummer angebracht sind. Tragen Sie hier die Modell- und Seriennummern des Geräts ein.
Important: Scannen Sie mit Ihrem Mobilgerät den QR-Code auf dem Seriennummernaufkleber (falls vorhanden), um auf Garantie-, Ersatzteil- oder andere Produktinformationen zuzugreifen.

Dieses Produkt erfüllt alle relevanten europäischen Richtlinien; weitere Details finden Sie in der produktspezifischen Konformitätserklärung (DOC).
Dieses Produkt kann Hände und Füße amputieren und Gegenstände aufschleudern.
Lesen und verstehen Sie vor dem Anlassen des Motors den Inhalt dieser Bedienungsanleitung.
Konzentrieren Sie sich immer bei der Verwendung der Maschine. Tun Sie nichts, was Sie ablenken könnte, sonst können Verletzungen oder Sachschäden auftreten.
Halten Sie Hände und Füße von beweglichen Teilen fern.
Bedienen Sie die Maschine niemals, wenn nicht alle Schutzvorrichtungen und Abdeckungen angebracht und funktionstüchtig sind.
Halten Sie Unbeteiligte und Kinder vom Arbeitsbereich fern. Die Maschine darf niemals von Kindern betrieben werden.
Stellen Sie vor dem Verlassen des Fahrersitzes den Motor ab, ziehen Sie den Schlüssel ab und warten Sie, bis alle beweglichen Teile zum Stillstand gekommen sind. Lassen Sie die Maschine abkühlen, bevor Sie diese einstellen, warten, reinigen oder einlagern.
Dieses Sicherheitswarnsymbol (Bild 2) in diesem Handbuch und an der Maschine weißt auf wichtige Sicherheitshinweise hin, die Sie beachten müssen, um Unfälle zu vermeiden.

Das Sicherheitswarnsymbol wird über Information dargestellt, die Sie vor unsicheren Handlungen oder Situationen warnen, gefolgt von dem Wort GEFAHR, WARNUNG oder VORSICHT.
GEFAHR bezeichnet eine unmittelbar drohende Gefahr. Wenn sie nicht gemieden wird, sind Tod oder schwerste Verletzungen die Folge.
WARNUNG bezeichnet eine möglicherweise drohende Gefahr. Wenn sie nicht gemieden wird, können Tod oder schwerste Verletzungen die Folge sein.
VORSICHT bezeichnet eine möglicherweise drohende Gefahr. Wenn sie nicht gemieden wird, können leichte oder geringfügige Verletzungen die Folge sein.
In dieser Anleitung werden zwei weitere Begriffe zur Hervorhebung von Informationen verwendet. Wichtig weist auf spezielle mechanische Informationen hin, und Hinweis hebt allgemeine Informationen hervor, die Ihre besondere Beachtung verdienen.
![]() |
Die Sicherheits- und Bedienungsaufkleber sind für den Bediener gut sichtbar und befinden sich in der Nähe der möglichen Gefahrenbereiche. Tauschen Sie beschädigte oder verloren gegangene Aufkleber aus. |























Bewahren Sie alle Unterlagen an einem sicheren Ort auf.
Note: Bestimmen Sie die linke und rechte Seite der Maschine anhand der üblichen Einsatzposition.


Verwenden Sie den Schlüsselschalter, um den Motor und die Leistung bestimmter elektrischer Komponenten zu steuern.

Verwenden Sie den Mähwerksantriebsschalter, um die Mähwerke zu starten oder abzuschalten (Bild 4).
Note: Stellen Sie den Mähwerksantriebsschalter in die AUS-Stellung, wenn Sie mit der Maschine zwischen den Einsatzorten fahren.
Mit dem Hubsteuerschalter können Sie die Mähwerke anheben und absenken (Bild 4).
Mit dem Motordrehzahlschalter steuern Sie die Motordrehzahl.
Der Schalter für die Motordrehzahl (Bild 4) hat zwei Betriebsarten zum Ändern der Motordrehzahl.
Tippen Sie kurz auf den Schalter, um die Motordrehzahl in Schritten von 100 U/min zu ändern.
Drücken Sie den Schalter nach vorne und halten Sie ihn gedrückt, um den Motor auf HIGH-IDLE (hohe Leerlaufdrehzahl) zu schalten.
Drücken und halten Sie den Schalter nach hinten, um den Motor auf LOW-IDLE (niedrige Leerlaufdrehzahl) zu schalten.
Die Feststellbremse wirkt nur auf die Vorderräder und verhindert möglicherweise nicht das Herunterrollen der Maschine an einem Hang. Die Maschine könnte sich unbeabsichtigt bewegen.
Parken Sie die Maschine nicht an Hanglagen.

Um die Feststellbremse zu aktivieren, schieben Sie die kleine Arretiertaste auf der Oberseite des Schalters zurück und drücken Sie den Schalter nach vorne (Bild 6).
Note: Das Symbol für die Feststellbremse wird im InfoCenter angezeigt.
Um die Feststellbremse zu lösen, drücken Sie die Arretiertaste nach hinten.
Das hydraulische Getriebe verleiht der Maschine eine Betriebsbremswirkung. Wenn Sie das Vorwärts- oder Rückwärtsfahrpedal loslassen oder die Motordrehzahl reduzieren, erzeugt das Getriebe eine Betriebsbremswirkung und die Fahrgeschwindigkeit verlangsamt oder stoppt die Maschine. Drücken Sie das Getriebepedal in die NEUTRAL-Stellung, um die Betriebsbremswirkung des Getriebes zu erhöhen. Nur die Vorderräder bieten eine Betriebsbremswirkung.
Das Betriebsbremssystem verhindert nicht, dass die abgestellte Maschine selbstständig wegrollen kann. Die Maschine könnte sich unbeabsichtigt bewegen.
Aktivieren Sie die Feststellbremse, wenn Sie die Maschine abstellen/parken.
Wenn die Betriebsbremse beschädigt oder unwirksam ist, den Motor abstellen, die Feststellbremse anziehen, den Schlüssel abziehen und die Maschine reparieren lassen.
Vorwärts fahren: Betätigen Sie das Vorwärtsfahrpedal, um die Maschine in Vorwärtsrichtung zu fahren und die Fahrgeschwindigkeit zu erhöhen. Nehmen Sie den Fuß vom Pedal, um die Fahrgeschwindigkeit zu verringern (Bild 7).
Rückwärts fahren: Betätigen Sie das Rückwärtsfahrpedal, um die Maschine in Rückwärtsrichtung zu fahren und die Fahrgeschwindigkeit zu erhöhen. Nehmen Sie den Fuß vom Pedal, um die Fahrgeschwindigkeit zu verringern (Bild 7).
Stopp (Leerlauf): Halten Sie die Maschine mit einem der folgenden Schritte an:
Verringern Sie den Fußdruck auf das Fahrpedal und lassen Sie es in die Neutral-Stellung zurückgehen. Die Maschine bremst dynamisch und kommt zu einem gleichmäßigen Stopp.
Tippen Sie kurz auf das Rückwärtspedal (oder halten Sie es). Die Maschine kommt schneller als mit den dynamischen Bremsen zum Stillstand.

Das Lenkrad und die Lenksäule nur einstellen, wenn die Maschine auf ebenem Boden abgestellt ist.
Treten Sie auf das Fußpedal, um das Lenkrad zu kippen.
Stellen Sie die Lenksäule in die bequemste Stellung und nehmen Sie den Fuß vom Pedal (Bild 8).

Schieben Sie den Hebel nach oben, um den Sitz nach vorne oder hinten zu verstellen. Wenn Sie den Hebel wieder loslassen, rastet der Sitz in der gewünschten Stellung ein (Bild 9).

Drehen Sie den Griff im Uhrzeigersinn, um die Festigkeit der Federung zu erhöhen und gegen den Uhrzeigersinn, um die Festigkeit zu verringern. Die Skala zeigt an, wann die Sitzfederung auf das Gewicht des Fahrers (kg) eingestellt ist; siehe Bild 10.

Um die Sitzhöhe inkremental einzustellen, heben Sie den Sitz manuell an. Um den Sitz abzusenken, heben Sie ihn über die höchste Einstellung hinaus an, lassen Sie ihn auf die niedrigste Einstellung absinken und heben Sie den Sitz bei Bedarf manuell auf die gewünschte Höhe an (Bild 11).

Ziehen Sie den Griff nach außen, um den Winkel der Rückenlehne anzupassen. Lassen Sie den Griff los, damit die Rückenlehne in der gewünschten Stellung einrastet (Bild 12).

Die Benzinuhr zeigt die Kraftstoffmenge im Tank an (Bild 13).

Heben Sie die Mähwerke in die TRANSPORTstellung an und sichern Sie die Armverriegelungsstifte mit den Bügeln an den Riegeln (Bild 14).

Heben Sie die Mähwerke in die TRANSPORTstellung, heben Sie dien Verriegelungsarm für den hinteren Mähwerksarm an und positionieren Sie den Arm nach innen (Bild 15).

Note: Änderungen der technischen Daten und des Designs sind vorbehalten.
| Technische Daten | LT-F3000 |
| Transportbreite | 157,5 cm |
| Schnittbreite | 76 cm bis 212 cm |
| Schnitthöhe | 20 mm bis 75 mm |
| Länge | 300 cm |
| Höhe | 168 cm mit heruntergeklappten Überrollschutz |
| 216 cm mit hochgeklappten Überrollschutz | |
| 209 cm mit Kabine | |
| Gewicht(ohne Kraftstoff und Zubehör) | 1436 kg mit Überrollschutz |
| 1636 kg mit Kabine | |
| Motor | Yanmar 3TNV86CT 32,4 kW (43,4 PS) bei 3.000 U/min |
| Kraftstofftank-Füllmenge | 60 Liter |
| Transportgeschwindigkeit | 25 km/h |
| Mähgeschwindigkeit | 11 km/h |
| Fassungsvermögen der Hydraulikanlage | 32 l |
| Motordrehzahl | 3.000 U/Min |
| Drehzylindergeschwindigkeit | 3.000 U/Min |
Ein Sortiment an Originalanbaugeräten und -zubehör von Toro wird für diese Maschine angeboten, um den Funktionsumfang des Geräts zu erhöhen und zu erweitern. Wenden Sie sich an einen offiziellen Toro-Vertragshändler oder navigieren Sie auf www.toro.com/de-de für eine Liste der zugelassenen Anbaugeräte und des Zubehörs.
Verwenden Sie, um die optimale Leistung und Sicherheit zu gewährleisten, nur Originalersatzteile und -zubehörteile von Toro. Ersatzteile und Zubehör anderer Hersteller können gefährlich sein und eine Verwendung könnte die Garantie ungültig machen.
Kinder oder nicht geschulte Personen dürfen die Maschine weder verwenden noch warten. Örtliche Vorschriften bestimmen u. U. das Mindestalter von Benutzern. Der Besitzer ist für die Schulung aller Bediener und Mechaniker verantwortlich.
Machen Sie sich mit dem sicheren Betrieb der Maschine sowie den Bedienelementen und Sicherheitssymbolen vertraut.
Bevor Sie den Fahrerstand verlassen, gehen Sie wie folgt vor:
Stellen Sie die Maschine auf einer ebenen Fläche ab.
Entriegeln und senken Sie die Mähwerke auf den Boden ab.
Aktivieren Sie die Feststellbremse.
Stellen Sie den Motor ab und ziehen Sie den Schlüssel ab.
Warten Sie, bis alle beweglichen Teile zum Stillstand gekommen sind.
Lassen Sie die Maschine abkühlen, bevor Sie diese einstellen, warten, reinigen oder einlagern.
Sie müssen wissen, wie Sie die Maschine schnell anhalten und den Motor abstellen können.
Bedienen Sie die Maschine niemals, wenn nicht alle Schutzvorrichtungen und Abdeckungen angebracht und funktionstüchtig sind.
Überprüfen Sie vor jedem Mähen die Maschine und stellen Sie sicher, dass die Mähwerke funktionsfähig sind.
Prüfen Sie den Arbeitsbereich gründlich und entfernen Sie alle Objekte, die von der Maschine aufgeschleudert werden könnten.
Diese Maschine erzeugt ein elektromagnetisches Feld. Wenn Sie ein implantierbares elektronisches medizinisches Gerät tragen, konsultieren Sie Ihren Arzt, bevor Sie diese Maschine verwenden.
Seien Sie besonders vorsichtig beim Umgang mit Kraftstoff. Kraftstoff ist brennbar und die Dämpfe sind explosiv.
Machen Sie alle Zigaretten, Zigarren, Pfeifen und andere Zündquellen aus.
Verwenden Sie nur einen vorschriftsmäßigen Benzinkanister.
Entfernen Sie nie den Tankdeckel oder füllen den Kraftstofftank, wenn der Motor läuft oder heiß ist.
Füllen Sie Kraftstoff nicht in einem geschlossenen Raum auf oder lassen ihn ab.
Lagern Sie die Maschine oder den Benzinkanister nie an Orten mit offener Flamme, Funken oder Zündflamme, z. B. Warmwasserbereiter, oder anderen Geräten.
Versuchen Sie niemals, bei Kraftstoffverschüttungen den Motor anzulassen. Vermeiden Sie Zündquellen, bis die Verschüttung verdunstet ist.
Täglich vor dem Start der Maschine die folgende tägliche Prüfroutine gemäß durchführen:
60 Liter
Important: Verwenden Sie nur Diesel mit extrem niedrigem Schwefelgehalt. Kraftstoff mit höherem Schwefelgehalt verunreinigt den Dieseloxidationskatalysator; dies führt zu Betriebsproblemen und verkürzt die Nutzungsdauer der Motorteile.Das Nichtbefolgen dieser Vorsichtsmaßnahmen zu Motorschäden führen.
Verwenden Sie nie Kerosin oder Benzin statt Dieselkraftstoff.
Mischen Sie nie Kerosin oder altes Motoröl mit Dieselkraftstoff.
Bewahren Sie Kraftstoff nie in Behältern auf, die innen verzinkt sind.
Verwenden Sie keine Kraftstoffzusätze.
Cetanwert: 45 oder höher
Schwefelgehalt: Extrem niedriger Schwefelgehalt (<15 ppm)
| Technische Angaben für Dieselkraftstoff | Ort |
| ASTM D975 | USA |
| Nr. 1-D S15 | |
| Nr. 2-D S15 | |
| EN 590 | Europäische Union |
| ISO 8217 DMX | International |
| JIS K2204 Grad Nr. 2 | Japan |
| KSM-2610 | Korea |
Verwenden Sie nur sauberen, frischen Dieselkraftstoff oder Biodieselkraftstoff
Kaufen Sie den Kraftstoff in Mengen ein, die innerhalb von 180 Tagen verbraucht werden können; damit stellen Sie sicher, dass der Kraftstoff frisch ist.
Verwenden Sie bei Temperaturen über -7 °C Sommerdiesel (Nr. 2-D) und bei niedrigeren Temperaturen Winterdiesel (Nr. 1-D oder Nr. 1-D/2-D-Mischung).
Note: Bei Verwendung von Winterdiesel bei niedrigeren Temperaturen besteht ein niedrigerer Flammpunkt und Kaltflussmerkmale, die das Anlassen vereinfachen und ein Verstopfen des Kraftstofffilters vermeiden.Die Verwendung von Sommerkraftstoff über -7 °C erhöht die Lebensdauer der Kraftstoffpumpe und steigert im Vergleich zum Winterkraftstoff die Kraft.
Diese Maschine kann auch mit einem Kraftstoff eingesetzt werden, der bis zu B20 mit Biodiesel vermischt ist (20 % Biodiesel, 80 % Erdöldiesel).
Schwefelgehalt: Extrem niedriger Schwefelgehalt (<15 ppm)
Technische Daten für Biodiesel-Kraftstoff:ASTM D6751 oder EN 14214
Technische Angaben für Mischkraftstoff: ASTM D975, EN 590 oder JIS K2204
Important: Der Erdöldieselanteil muss einen extrem niedrigen Schwefelgehalt haben.
Befolgen Sie die nachstehenden Sicherheitsvorkehrungen:
Biodieselmischungen können lackierte Oberflächen beschädigen.
Verwenden Sie B5 (Biodiesel-Inhalt von 5 %) oder geringere Mischungen in kaltem Wetter.
Prüfen Sie Dichtungen und Schläuche, die mit Kraftstoff in Kontakt kommen, da sie sich nach längerer Zeit abnutzen können.
Nach der Umstellung auf Biodieselmischungen wird der Kraftstofffilter für einige Zeit verstopfen.
Wenden Sie sich an den offiziellen Toro-Vertragshändler für weitere Informationen zu Biodiesel.
Parken Sie die Maschine auf einer ebenen Fläche, senken Sie die Mähwerke ab, stellen den Motor ab, aktivieren die Feststellbremse und ziehen den Schlüssel ab.
Reinigen Sie den Bereich um den Tankdeckel mit einem sauberen Lappen.
Nehmen Sie den Deckel vom Kraftstofftank ab (Bild 16).

Füllen Sie den Kraftstofftank bis 25 mm unterhalb der Unterseite des Füllstutzens.
Schrauben Sie den Tankdeckel nach dem Auffüllen des Tanks sorgfältig fest.
Note: Betanken Sie die Maschine wenn möglich nach jedem Einsatz. Dadurch minimiert sich die Betauung der Innenseite des Kraftstofftanks.
| Wartungsintervall | Wartungsmaßnahmen |
|---|---|
| Bei jeder Verwendung oder täglich |
|
Bewegen Sie bei abgeschaltetem Motor die Vorwärts- und Rückwärtspedale durch den ganzen Bewegungsbereich und stellen Sie sicher, dass der Mechanismus ungehindert in die NEUTRAL-Stellung zurückkehrt.
| Wartungsintervall | Wartungsmaßnahmen |
|---|---|
| Bei jeder Verwendung oder täglich |
|
Setzen Sie sich auf den Sitz und lassen den Motor an.
Senken Sie die Mähwerke auf den Boden ab.
Stellen Sie den Mähwerkantriebsschalter in die Schneidstellung.
Stehen Sie vom Sitz auf und prüfen Sie, ob die Mähwerke nach einer anfänglichen Verzögerung von einer halben bis einer Sekunde anhalten.
Stellen Sie den Motor ab.
Stellen Sie den Mähwerksantriebsschalter auf
die AUS-Stellung und den Zündschlüssel
in die START-Stellung
. Der Motor sollte anspringen.
Stellen Sie den Mähwerksantriebsschalter auf
die Mäh-Stellung und den Zündschlüssel in die START-Stellung
. Der Motor sollte nicht starten.
Stellen Sie den Motor ab.
Aktivieren Sie die Feststellbremse.
Drehen Sie den Zündschlüssel in die Vorglüh-Stellung
. Der Schalter für
die Feststellbremse leuchtet auf und das Symbol für die Feststellbremse
wird im InfoCenter angezeigt.
Lösen Sie die Feststellbremse; die Feststellbremsleuchte
und das Symbol erlischt. Der Motor darf nicht starten, wenn Sie den
Zündschlüssel in die STARTstellung
drehen
.
Aktivieren Sie die Feststellbremse, setzen Sie sich auf den Bedienersitz und starten Sie den Motor.
Lösen Sie die Feststellbremse.
Stehen Sie vom Sitz auf und prüfen Sie, ob der Motor abgestellt wird.
Important: Achten Sie besonders darauf, dass der Bereich um die Maschine frei ist, bevor Sie bei der Überprüfung des Sicherheitsschalters der Neutral-Stellung der Motor nicht startet.
Stellen Sie den Motor ab.
Nehmen Sie den Fuß vom Vorwärts-/Rückwärtsgangpedal.
Stellen Sie den Zündschlüssel in die Vorglüh-Stellung
. Das Symbol Neutral-Stellung
des Getriebes
wird im InfoCenter angezeigt.
Üben Sie leichten Druck nach vorne und nach hinten auf die Fahrpedale aus, um zu überprüfen, ob das Symbol Neutral-Stellung des Getriebes im InfoCenter erlischt/nicht angezeigt wird.
Das Display zeigt Informationen über Ihr Fahrzeug an, zum Beispiel Betriebszustand, unterschiedliche Diagnose- und andere Fahrzeuginformationen. Es gibt mehrere Bildschirme auf dem Display. Sie können jederzeit zwischen den Bildschirmen wechseln, indem Sie die Zurück-Taste drücken und dann die Richtungstasten nach oben und unten verwenden.

Note: Der Zweck jeder Taste hängt von den aktuellen Erfordernissen ab. Jede Taste ist mit einem Symbol beschriftet, das die aktuelle Funktion anzeigt.
![]() | Betriebsstundenzähler |
![]() | Service ist fällig. |
![]() | Die Glühkerzen sind aktiviert. |
![]() | Der Bediener muss auf dem Sitz sitzen. |
![]() | Die Feststellbremse ist aktiviert. |
![]() | Kühlmitteltemperatur (°C oder °F) |
![]() | Anlassen des Motors. |
![]() | Motor |
![]() | Eine geparkte oder Wiederherstellungsregeneration wird angefordert. |
| Führen Sie die Regeneration sofort durch. | |
![]() | Eine Regeneration wird quittiert und die Anfrage wird bearbeitet. |
![]() | Eine Regeneration wird ausgeführt und die Abgastemperatur ist erhöht. |
![]() | Fehlfunktion des NOx-Steuerungssystems: die Maschine muss gewartet werden. |
![]() | Die Zapfwelle ist deaktiviert. |
![]() | Die Zapfwelle ist eingekuppelt. |
![]() | Akkuspannung |
![]() | Warnung |
![]() | Aktiv |
![]() | Inaktiv |
![]() | Zurück |
![]() | Weiter |
![]() | Erhöhen |
![]() | Verringern |
![]() | Vorheriger Bildschirm |
![]() | Nächster Bildschirm |
![]() | Wert erhöhen |
![]() | Wert verringern |
![]() | Menü |
![]() | Hoch/runter scrollen |
![]() | Links/rechts scrollen |
![]() | Verriegelt |
Um das Menüsystem des InfoCenter Displays aufzurufen, drücken Sie auf dem Hauptbildschirm die Zurück-Taste. Das Hauptmenü wird angezeigt. In den folgenden Tabellen finden Sie eine Zusammenfassung der Optionen, die in den Menüs verfügbar sind.
Geschützt
unter den geschützten Menüs – Nur durch die Eingabe
der PIN zugänglich
| Menüelement | Beschreibung |
| Fehler | Das Fehler-Menü enthält eine Liste der letzten Maschinendefekte. Weitere Informationen zum Fehler-Menü und den im Menü enthaltenen Angaben finden Sie in der Wartungsbedienungsanleitung oder wenden Sie sich an den offiziellen Toro Vertragshändlers. |
| Wartung | Das Menü Wartung enthält Informationen zur Maschine, u. a. Betriebsstundenzähler und ähnliche Angaben. |
| Diagnostik | Im Menü Diagnostics wird der Zustand der Maschinenschalter, Sensoren sowie der Steuerausgabe angezeigt. Diese Angaben sind bei der Problembehebung nützlich, da Sie sofort sehen, welche Bedienelemente der Maschinen ein- oder ausgeschaltet sind. |
| Einstellungen | Im Einstellungen-Menü können Sie Konfigurationsvariablen auf der Anzeige anpassen und ändern. |
| Maschineneinstellungen | Im Menü "Machine Settings“ [Maschineneinstellungen] können Sie die Einstellungen für den begrenzten Hub im Rückwärtsgang und das Wenden anpassen. |
| Info | Im Info-Menü wird die Modellnummer, Seriennummer und Softwareversion der Maschine aufgelistet. |
| Menüelement | Beschreibung |
| Hours | Listet die Gesamtbetriebsstunden der Maschine, des Motors und der Zapfwelle auf, sowie die Transportstunden der Maschine und fälligen Kundendienst. |
| Counts | Listet zahlreiche Ereignisse für die Maschine auf. |
| DPF Regeneration | Die Option für die Regeneration des Dieselpartikelfilters und die Untermenüs für den Dieselpartikelfilter |
| Menüelement | Beschreibung |
| Antrieb | Zeigt die Ein- und Ausgänge für das Antriebspedal an. |
| Anheben | Zeigt die Eingänge, Qualifizierer und Ausgänge für das Anheben der Schneideinheiten an. |
| Absenken | Zeigt die Eingänge, Qualifizierer und Ausgänge für das Absenken der Schneideinheiten an. |
| PTO | Gibt die Eingaben, Qualifizierer und Ausgaben für das Aktivieren der Zapfwelle an. |
| Motor | Gibt die Eingaben, Qualifizierer und Ausgaben für das Anlassen des Motors an. |
| Menüelement | Beschreibung |
| PIN eingeben | Ermöglicht einer Person (Vorarbeiter/Mechaniker), die von Ihrer Firma dazu berechtigt ist, mit dem PIN-Code auf die geschützten Menüs zuzugreifen |
| Backlight [Hintergrundbeleuchtung] | Steuert die Helligkeit des LCD-Displays. |
| Sprache | Ändert die für die Anzeige verwendete Sprache. |
| Maßeinheiten | Steuert die auf dem InfoCenter verwendeten Maßeinheiten (englische oder metrisch). |
Geschützte Menüs![]() | Ermöglicht einer Person, die von Ihrer Firma dazu berechtigt ist, mit dem PIN-Code auf die geschützten Menüs zuzugreifen |
Protect Settings [Geschützte Einstellungen] ![]() | Ermöglicht das Ändern der Einstellungen in den geschützten Einstellungen. |
| Menüelement | Beschreibung |
| Limited Lift Reverse [Eingeschränkter Hub im Rückwärtsgang] | Schaltet die Hubbegrenzung beim Rückwärtsfahren ein oder aus. |
| Turnaround [Wendefunktion] | Schaltet die Wendefunktion ein oder aus. |
| Neigungssensor installiert | Zeigt an, dass ein Neigungssensor an der Maschine erkannt wurde. |
Geschützt
unter den geschützten Menüs – Nur durch die Eingabe
der PIN zugänglich
| Menüelement | Beschreibung |
| Modell | Listet die Modellnummer der Maschine auf. |
| Seriennummer | Listet die Seriennummer der Maschine auf. |
| Maschinensteuerung Revision | Listet die Softwarerevision des Hauptsteuergeräts auf. |
| S/W Überprüfung | Listet die Softwarerevision des Hauptsteuergeräts auf. |
InfoCenter Revision ![]() | Listet die Softwarerevision des InfoCenter auf |
CAN-Statistiken ![]() | Zeigt die Ein- und Ausgänge des CAN an. |
Drücken Sie im HAUPTMENü die linke Navigationstaste, um den HAUPTBETRIEBSBILDSCHIRM aufzurufen, der die Kühlmitteltemperatur, den Verriegelungsstatus und die Position der Schneideinheit anzeigt.
Drücken Sie die rechte Navigationstaste, um zum SEKUNDäREN BETRIEBSBILDSCHIRM zu wechseln, der die Betriebsstunden, Batteriespannung und Drehzahl anzeigt.
Es gibt Betriebskonfigurationseinstellungen, die in den EINSTELLUNGEN des Displays angepasst werden können. Um diese Einstellungen zu sperren, benutzen Sie das GESCHüTZTE MENü.
Note: Bei der Auslieferung programmiert der Händler den anfänglichen Passcode.
Note: Der werksseitige Standard für den PIN-Code für Ihre Maschine ist entweder 0000 oder 1234.Wenn Sie den PIN-Code geändert und vergessen haben, wenden Sie sich an den offiziellen Toro-Vertragshändler.
Blättern Sie vom HAUPTMENü zu SETTINGS [Einstellungen] und drücken Sie die Auswahltaste (Bild 18).

In SETTINGS [Einstellungen], scrollen bis ENTER PIN [PIN eingeben] und drücken Sie die Auswahltaste (Bild 19A).

Drücken Sie für die Eingabe des PIN-Codes die auf/ab Navigationstasten Bild 19, bis die erste korrekte Ziffer angezeigt wird; drücken Sie dann die rechte Navigationstaste Bild 19, um auf die nächste Ziffer (B und C) zu gehen. Wiederholen Sie diesen Schritt, bis Sie die letzte Ziffer eingegeben haben.
Drücken Sie die Auswahltaste.
Note: Wenn der PIN-Code im Display akzeptiert wird und das geschützte Menü entsperrt ist, wird oben rechts auf dem Bildschirm PIN angezeigt.
Drehen Sie den Schlüsselschalter in die AUS-Stellung und dann in die EIN-Stellung, um das geschützte Menü zu sperren.
In EINSTELLUNGEN, scrollen Sie runter auf EINSTELLUNGEN SCHüTZEN.
Um die Einstellungen zu sehen und zu ändern,
ohne einen PIN-Code einzugeben, verwenden Sie die Auswahltaste, um
die EINSTELLUNGEN SCHüTZEN auf
(Aus) zu schalten.
Um die Einstellungen mit einem PIN-Code zu sehen und
zu ändern, verwenden Sie die Auswahltaste um die EINSTELLUNGEN SCHüTZEN auf
(Ein) zu schalten. Stellen
Sie den PIN-Code ein und stellen den Schlüssel im Zündschloss
in die AUS-Stellung und dann in die EIN-Stellung.
Der Timer für Service fällig wird nach Durchführung einer planmäßigen Wartungsmaßnahme zurückgesetzt.
In EINSTELLUNGEN, scrollen bis PIN EINGEBEN und die Auswahltaste drücken.
PIN eingeben; siehe Zugreifen auf die geschützten Menüs.
In WARTUNG, zu STUNDEN navigieren und die Auswahltaste drücken.
Nach unten scrollen bis zum SERVICE FäLLIG.
Note: Wenn der Service gerade fällig ist,JETZT erscheint neben SERVICE FäLLIG.
Markieren Sie das Serviceintervall und drücken Sie die Auswahltaste.
Note: Das Wartungsintervall (250 Stunden, 500 Stunden, usw.) befindet sich neben SERVICE DUE [Wartung fällig]. Das Serviceintervall ist ein geschützter Menüpunkt.
Wann der SERVICE-TIMER ZURüCKSETZEN? Bildschirm erscheint, drücken sie die Auswahltaste für YES [Ja] oder die Taste Zurück für NO [Nein].
Nachdem Sie YES [Ja] gewählt haben, wird der Intervall-Bildschirm ausgeblendet und kehrt zur Auswahl Service Hours [Betriebsstunden] zurück.

Blinkt rot - aktiver Fehler
Durchgehend rot - aktiver Hinweis
Durchgehend blau - Kalibrierung/Dialogmeldungen
Lichter aus - Normalbetrieb
Der Besitzer bzw. Bediener ist für Unfälle oder Verletzungen von Dritten sowie Sachschäden verantwortlich und kann diese verhindern.
Tragen Sie geeignete Kleidung, u. a. eine Schutzbrille, lange Hosen, rutschfeste Arbeitsschuhe und einen Gehörschutz. Binden Sie lange Haare hinten zusammen und tragen Sie keinen Schmuck oder weite Kleidung.
Setzen Sie die Maschine nicht ein, wenn Sie müde oder krank sind oder unter Alkohol- oder Drogeneinfluss stehen.
Konzentrieren Sie sich immer bei der Verwendung der Maschine. Tun Sie nichts, was Sie ablenken könnte, sonst können Verletzungen oder Sachschäden auftreten.
Stellen Sie vor dem Anlassen des Motors sicher, dass alle Antriebe in der Neutralstellung sind, dass die Feststellbremse aktiviert ist und Sie in der Bedienungsposition sind.
Nehmen Sie nie Passagiere auf der Maschine mit und halten Sie alle unbeteiligten Personen und Haustiere aus dem Betriebsbereich der Maschine fern.
Setzen Sie die Maschine nur bei guten Sichtverhältnissen ein, um Löcher sowie andere verborgene Gefahren zu vermeiden.
Vermeiden Sie ein Mähen auf nassem Gras. Bei reduzierter Bodenhaftung kann die Maschine ins Rutschen geraten.
Halten Sie Ihre Hände und Füße von den Schneideinheiten fern.
Schauen Sie hinter sich und nach unten, um vor dem Rückwärtsfahren sicherzustellen, dass der Weg frei ist.
Seien Sie vorsichtig, wenn Sie sich unübersichtlichen Kurven, Sträuchern, Bäumen und anderen Objekten nähern, die Ihre Sicht behindern können.
Stellen Sie die Schneideinheiten ab, wenn Sie nicht mähen.
Fahren Sie beim Wenden und beim Überqueren von Straßen und Gehsteigen mit der Maschine langsam und vorsichtig. Geben Sie immer Vorfahrt.
Betreiben Sie den Motor nur in gut belüfteten Bereichen. Die Abgase enthalten Kohlenmonoxid, das beim Einatmen tödlich ist.
Lassen Sie niemals eine laufende Maschine unbeaufsichtigt zurück.
Bevor Sie den Fahrerstand verlassen, gehen Sie wie folgt vor:
Stellen Sie die Maschine auf einer ebenen Fläche ab.
Entriegeln und senken Sie die Mähwerke auf den Boden ab.
Aktivieren Sie die Feststellbremse.
Stellen Sie den Motor ab und ziehen Sie den Schlüssel ab.
Warten Sie, bis alle beweglichen Teile zum Stillstand gekommen sind.
Lassen Sie die Maschine abkühlen, bevor Sie diese einstellen, warten, reinigen oder einlagern.
Setzen Sie die Maschine nur bei guten Sichtverhältnissen und geeigneten Witterungsbedingungen ein. Verwenden Sie die Maschine nie bei möglichen Gewittern.
Verwenden Sie den Tempomat (falls vorhanden) nur, wenn Sie die Maschine in einem offenen, ebenen Bereich ohne Hindernisse betreiben können, in dem die Maschine ohne Unterbrechung mit konstanter Geschwindigkeit fahren kann.
Entfernen Sie die Komponenten des Überrollschutzes nicht von der Maschine.
Stellen Sie sicher, dass Sie Ihren Sicherheitsgurt angelegt haben und ihn in einem Notfall schnell lösen können.
Legen Sie immer den Sicherheitsgurt an.
Achten Sie immer auf hängende Objekte und berühren Sie sie nicht.
Halten Sie den Überrollschutz in einem sicheren Betriebszustand, überprüfen Sie ihn regelmäßig auf Beschädigungen und halten Sie alle Befestigungen angezogen.
Tauschen Sie alle beschädigten Teile des Überrollschutzes aus. Führen Sie keine Reparaturen oder Modifikationen daran aus.
Legen Sie immer den Sicherheitsgurt an, wenn der Überrollbügel aufgeklappt ist.
Der Überrollschutz ist eine integrierte Sicherheitseinrichtung. Beim Einsatz der Maschine mit aufgeklapptem Überrollbügel sollten Sie den Überrollbügel hochklappen und arretieren sowie den Sicherheitsgurt anlegen.
Senken Sie den Überrollbügel nur vorübergehend ab, wenn es wirklich erforderlich ist. Legen Sie keinen Sicherheitsgurt an, wenn der Überrollbügel abgesenkt ist.
Es besteht kein Überrollschutz, wenn der klappbare Überrollbügel abgesenkt ist.
Prüfen Sie den Mähbereich und senken Sie den klappbaren Überrollbügel nie in Bereichen mit Gefällen, Abhängen oder Gewässern ab.
Hanglagen sind eine wesentliche Ursache für den Verlust der Kontrolle und Umkippunfälle, die zu schweren ggf. tödlichen Verletzungen führen können. Sie sind für den sicheren Einsatz an Hanglagen verantwortlich. Das Einsetzen der Maschine an jeder Hanglage erfordert große Vorsicht.
Evaluieren Sie das Gelände, einschließlich einer Ortsbegehung, um zu ermitteln, ob die Maschine sicher auf der Hanglage eingesetzt werden kann. Setzen Sie immer gesunden Menschenverstand ein, wenn Sie diese Ortsbegehung durchführen.
Lesen Sie die unten aufgeführten Anweisungen für Hanglagen, wenn Sie die Maschine an Hanglagen einsetzen. Prüfen Sie vor dem Einsatz der Maschine die Bedingungen an der Arbeitsstelle, um zu ermitteln, ob Sie die Maschine in diesen Bedingungen an diesem Tag und an diesem Ort verwenden können. Veränderungen im Gelände können zu einer Veränderung in der Neigung für den Betrieb der Maschine führen.
Vermeiden Sie das Anfahren, Anhalten oder Wenden der Maschine an Hanglagen. Vermeiden Sie plötzliche Geschwindigkeits- oder Richtungsänderungen. Wenden Sie möglichst langsam und vorsichtig.
Benutzern Sie die Maschine niemals unter Bedingungen, bei der die Bodenhaftung, das Lenkverhalten oder die Stabilität des Fahrzeugs gefährdet werden.
Entfernen oder markieren Sie Hindernisse, u. a. Gräben, Löcher, Rillen, Bodenwellen, Steine oder andere verborgene Gefahren. Hohes Gras kann Hindernisse verdecken. Die Maschine könnte sich in unebenem Terrain überschlagen.
Beim Arbeiten auf nassem Gras, Überqueren von steilen Hanglagen oder beim Fahren hangabwärts kann die Maschine die Bodenhaftung verlieren.
Gehen Sie beim Einsatz der Maschine in der Nähe von Abhängen, Gräben, Böschungen, Gewässern oder anderen Gefahrenstellen besonders vorsichtig vor. Die Maschine kann sich plötzlich überschlagen, wenn ein Rad über den Rand fährt oder die Böschung nachgibt. Halten Sie stets einen Sicherheitsabstand von der Maschine zur Gefahrenstelle ein.
Achten Sie auf Gefahren unten am Hang. Mähen Sie die Hanglage mit einer handgeführten Maschine, wenn Gefahren vorhanden sind.
Halten Sie die Schneideinheiten, sofern möglich, beim Einsatz der Maschine an Hanglagen abgesenkt. Das Anheben der Schneideinheiten bei Mäharbeiten an Hanglagen kann zu einer Instabilität der Maschine führen.
Wenn die Sicherheitsschalter abgeklemmt oder beschädigt werden, setzt sich die Maschine möglicherweise von alleine in Bewegung, was Verletzungen verursachen kann.
An den Sicherheitsschaltern dürfen keine Veränderungen vorgenommen werden.
Prüfen Sie deren Funktion täglich und tauschen Sie alle defekten Schalter vor der Inbetriebnahme der Maschine aus.
Important: Setzen Sie die Maschine nicht ein, wenn die Sitzkontaktschalter beschädigt oder verschlissen sind. Wechseln Sie defekte oder abgenutzte Teile immer aus und überprüfen Sie, ob die Sitzkontaktschalter richtig funktionieren, bevor Sie die Maschine verwenden.
Sie können den Motor nur anlassen, wenn das Pedal für die Vorwärts- bzw. Rückwärtsfahrt in der NEUTRAL-Stellung, der Mähwerksantriebsschalter in der AUS-Stellung und die Feststellbremse aktiviert ist.
Note: Sie können den Motor nur anlassen, wenn der Mähwerksantriebsschalter in der AUS-Stellung ist.
Sobald Sie die Maschine anlassen, müssen Sie auf dem Fahrersitz sitzen, um die Maschine bei deaktivierter Feststellbremse laufen zu lassen.
Der Motor wird abgeschaltet, wenn Sie den Fahrersitz verlassen, ohne zuerst die Feststellbremse zu aktivieren.
Um die Schneideinheiten laufen zu lassen, müssen Sie auf dem Fahrersitz sitzen. Wenn Sie den Fahrersitz für mehr als eine Sekunde verlassen, wird ein Schalter aktiviert und der Mähwerksantrieb wird ausgekuppelt.
Zum Zurückstellen der Schneideinheiten im Sitz sitzen, den Schneideinheitsschalter in die Stellung AUS bringen und dann den Schalter in die Stellung EIN bringen.
Note: Wenn Sie sich während der normalen Arbeit kurz aus dem Sitz erheben, hat dies keine Auswirkungen auf die Schneideinheiten.
Lassen Sie den Überrollbügel aufgestellt und arretiert und legen Sie den Sicherheitsgurt an, um schwere oder tödliche Verletzungen aufgrund eines Überschlagens zu vermeiden.
Stellen Sie sicher, dass der Sitz durch den Sitzriegel gesichert ist.
Es besteht kein Überrollschutz, wenn der Überrollbügel abgesenkt ist.
Setzen Sie die Maschine nicht auf unebenem Terrain oder an einer Hanglage ein, wenn der Überrollschutz abgesenkt ist.
Senken Sie den Überrollbügel nur dann ab, wenn es wirklich erforderlich ist.
Legen Sie bei abgesenktem Überrollbügel keinen Sicherheitsgurt an.
Fahren Sie langsam und vorsichtig.
Richten Sie den Überrollbügel sofort wieder auf, wenn die Höhe es zulässt.
Achten Sie sorgfältig auf die lichte Höhe (wie z. B. zu Ästen, Pforten, Stromkabeln), bevor Sie unter irgendeinem Hindernis durchfahren, damit Sie diese nicht berühren.
Important: Legen Sie immer den Sicherheitsgurt an, wenn der Überrollbügel aufgestellt und arretiert ist. Legen Sie keinen Sicherheitsgurt an, wenn der Überrollbügel abgesenkt ist.
Parken Sie die Maschine auf einer ebenen Fläche, senken Sie die Schneideinheiten ab, aktivieren Sie die Feststellbremse, stellen Sie den Motor ab und ziehen Sie den Zündschlüssel ab.
Entfernen Sie die Splinte aus den Überrollbügelstiften in den Schwenkhalterungen des unteren Überrollbügelrahmens (Bild 21).

Halten Sie das Gewicht des oberen Überrollbügels und entfernen Sie die Überrollbügelstifte aus den Schwenkhalterungen (Bild 21).
Senken Sie den oberen Überrollbügel vorsichtig ab, bis er auf den Anschlägen des unteren Überrollbügelrahmens aufliegt.
Führen Sie die Überrollbügelstifte in die unteren Löcher der Schwenkhalterungen (Bild 22).

Sichern Sie die Überrollbügelstifte mit den Splinten an den Schwenkhalterungen.
Entfernen Sie die Splinte, die die Überrollbügelstiften in den Schwenkhalterungen des unteren Überrollbügelrahmens befestigen.
Entfernen Sie die Überrollbügelstifte aus den Schwenkhalterungen (Bild 23).

Heben Sie den oberen Überrollbügel an, bis die Löcher im Überrollbügel auf die Schwenkhalterungen ausgerichtet sind (Bild 24).

Führen Sie die Überrollbügelstifte durch die oberen Löcher der Schwenkhalterungen und des oberen Überrollbügels (Bild 24).
Sichern Sie die Überrollbügelstifte mit den Splinten an den Schwenkhalterungen (Bild 24).
Important: Wenn Sie den Motor zum ersten Mal starten, der Motor wegen Kraftstoffmangels stehen geblieben ist oder Sie Wartungsarbeiten am Kraftstoffsystem durchgeführt haben, entlüften Sie das Kraftstoffsystem vor dem Starten des Motors; siehe Vorfüllen der Kraftstoffanlage.
Important: Diese Maschine ist mit einer Motoranlasssperre ausgestattet, siehe Verstehen der Sitzkontaktschalter.
Aktivieren Sie die Feststellbremse, bewegen Sie das Fahrpedal in die NEUTRALstellung und stellen Sie sicher, dass sich der Mähwerksantriebsschalter in der AUS-Stellung befindet.
Drehen Sie den Schlüssel auf die Lufteinlassheizung/Betriebsposition-STELLUNG.
Note: Das Vorglühen-Symbol
wird im InfoCenter angezeigt. Warten Sie, bis
das Vorglüh-Symbol nicht mehr angezeigt wird.

Drehen Sie den Schlüssel in die Start-Stellung.
Wenn der Motor startet, lassen Sie den Schlüssel in die Lufteinlassheizung/Betriebsposition-Stellung rasten.
Important: Lassen Sie den Motor höchstens 15 Sekunden anspringen.
Lassen Sie den Motor in niedrigem Leerlauf warm laufen.
Important: Lassen Sie den Motor für 5 Minuten im Leerlauf laufen, bevor Sie ihn nach einem Einsatz unter voller Last ausschalten. Der Turbolader kann dann vor dem Abstellen des Motors abkühlen. Wenn der Motor nicht im Leerlauf läuft, kann der Turbolader beschädigt werden.
Bringen Sie das Fahrpedal in die NEUTRALstellung, schalten Sie den Mähwerkantriebsschalter aus, aktivieren Sie die Feststellbremse und senken Sie die Mähwerke ab.
Drücken Sie den Motordrehzahlschalter, bis die Motordrehzahl bei niedriger Leerlaufdrehzahl liegt.
Lassen Sie den Motor mindestens fünf Minuten lang laufen.
Drehen Sie den Schlüssel in die Abschalten-(Stopp)-Stellung (Bild 26).

Ziehen Sie den Schlüssel ab, bevor Sie den Fahrersitz verlassen.
Die Schlegelmesser müssen unbedingt scharf und in gutem Zustand gehalten werden, um eine gute Schnittleistung, einen minimalen Stromverbrauch und ein gutes Schnittbild zu garantieren.
Der Schlegelkopf ist ein Feinschnittschlegel, der nur für die Pflege von Gras verwendet werden sollte. Sie sollten höchstens ein Drittel der Grashalmlänge beim Mähen entfernen.
Die Abstreiferdrähte sollen Rückstände von der Rolle entfernen. In trockenen Bedingungen werden sie ggf. nicht benötigt und sollten entfernt werden. Achten Sie in nassen Bedingungen darauf, dass die Abstreiferdrähte nicht mit Rückständen verstopft werden.
Das Mähwerk schwebt jetzt und kann sich seitlich drehen, um der Bodenkontur zu folgen.
Die Mähwerke sollte bei Vollgas eingesetzt werden. Die Vorwärtsgeschwindigkeit sollte abhängig von den Rasenbedingungen angepasst werden, damit die Antriebe oder die Köpfe nicht überlastet werden. Je geringer die Vorwärtsgeschwindigkeit ist, desto besser ist die Schnittqualität und das Schnittbild.
Note: Die Schnitthöhe wird mit der Stellung der Heckrolle gemessen. Die Messerabnutzung, abgenutzte Drehzapfen des Mähwerks, verbogene bzw. beschädigte Stifte des Mähwerks und verbogene bzw. beschädigte Arme können sich auf die Schnitthöheneinstellung auswirken.
Drehen Sie die Stellmutter an beiden Enden nach rechts, um die Schnitthöhe zu verringern, oder nach links, um die Schnitthöhe zu erhöhen (Bild 27).

Important: Versuchen Sie nicht, die Mutter zu lösen.
Stellen Sie sicher, dass alle Mähwerke auf dieselbe Schnitthöhe eingestellt sind, und achten Sie auf die Anzeigeringe (Bild 28).

Note: Siehe Bild 29 für die Schnitthöheneinstellungen.

Mit dem drei Hubsteuerschalter heben Sie die Mähwerke an oder senken sie diese unabhängig voneinander ab.
Drücken Sie den Mähwerkantriebsschalter in die Schneidstellung.
Drücken Sie den Hubsteuerschalter nach vorne und lassen Sie ihn los.
Note: Das Mähwerk wird eingekuppelt, wenn es sich etwa 150 mm über dem Boden befindet. Das Mähwerk ist nun in der Schweben-Betriebsart und folgen der Bodenkontur.
Note: Der Hubsteuerschalter kehrt automatisch in die (NEUTRAL)-Stellung zurück, wenn Sie ihn loslassen.

Ziehen und halten Sie den Hubsteuerschalter.
Lassen Sie die Hubsteuerschalter los, wenn die Mähwerke die gewünschte Höhe erreicht haben.
Note: Die Hubsteuerschalter kehren automatisch in die (NEUTRAL-)-Stellung zurück, wenn Sie sie loslassen und die Mähwerksarme arretieren hydraulisch in dieser Stellung.
Note: Die Hubbegrenzungsfunktion beim Vorwärtsfahren ist standardmäßig aktiviert.
Ziehen Sie während der Vorwärtsfahrt den/die Hubsteuerschalter kurz nach hinten.
Note: Das/die Mähwerk(e) schaltet(n) ab und hebt sich etwa auf 150 mm über den Boden an.
Die Hubbegrenzungsfunktion schaltet sich ab, wenn das Mähwerk abgesenkt wird und läuft.
Note: Sie müssen die Hubbegrenzungsfunktion n im InfoCenter aktivieren, damit die Mähwerke beim Rückwärtsfahren automatisch angehoben werden.
Wenn die Hubbegrenzungsfunktion aktiviert ist, bewirkt das Rückwärtsfahren der Maschine, dass alle Mähwerke in die Hubbegrenzungsstellung angehoben werden.
Note: Das/die Mähwerk(e) hebt/heben sich etwa auf 150 mm über den Boden an.
Important: Die Mähwerke laufen weiter, während die Hubbegrenzung verwendet wird und die Maschine rückwärts gefahren wird.
Wenn die Maschine wieder vorwärts gefahren wird, senkt/senken sich das/die Mähwerk(e) in die Schwebestellung ab.
Note: Sie müssen die Wendefunktion für den mittleren Hubsteuerschalters im Menü Settings [Einstellungen] des InfoCenters aktivieren.
Ziehen Sie kurz am Hubsteuerschalter des mittleren Mähwerks, um alle Mähwerke in die Hubbegrenzungsstellung anzuheben.
Drücken Sie den Hubsteuerschalter des mittleren Mähwerks kurz nach unten, um alle Mähwerke in die Schwebestellung abzusenken.
Note: Aktivieren Sie im Menü Settings [Einstellungen] des InfoCenters die Funktion Auto Limited Lift [Automatische Hubbegrenzung] des Mähwerks.
Der manuelle Hubbegrenzung verwendet die drei Hubsteuerschalter und ist unabhängig von der Einstellung der automatischen Hubbegrenzung im InfoCenter immer verfügbar.
Wenn die automatische Hubbegrenzung des Mähwerks aktiviert ist, bewirkt das Rückwärtsfahren der Maschine, dass die Mähwerke automatisch in die eingeschränkte Hubstellung angehoben werden.
Die Mähwerke kehren beim Vorwärtsfahren der Maschine in die Schwebestellung zurück.
Drücken Sie die Hubsteuerschalter kurz nach vorne, um die Mähwerke in die eingeschränkte Hubstellung zu heben.
Note: Die Mähwerksantriebe werden sofort ausgekuppelt und die Mähwerke werden um ca. 150 mm über den Boden angehoben.
Auto Limited Lift [Automatische Hubbegrenzung] funktioniert bei abgesenkten und sich drehenden Mähwerken.
Der Mähwerksantrieb wird nur dann eingekuppelt, wenn Sie auf dem Fahrersitz der Maschine sitzen; siehe Prüfen des Sitzkontaktschalters.

Drücken Sie die Oberseite des Mähwerkantriebsschalters in die EIN-Stellung (Bild 31).
Drücken Sie den Mähwerkantriebsschalter in die AUS-Stellung (Bild 31).
Der Mähwerksantriebsschalter muss auf die EIN-Stellung gestellt werden (Bild 31). Stellen Sie die Hubsteuerschalter nach unten. Die Mähwerke beginnen zu laufen, wenn sie sich etwa 150 mm über dem Boden befinden.
Ein variables hydraulisches Gewichtsverlagerungssystem sorgt für eine verbesserte Reifenhaftung auf Grasoberflächen mit der Antischlupfregelung.
Der hydraulische Druck des Hubsystems der Mähwerke sorgt für eine Hubkraft, die das Gewicht der Mähwerke auf dem Boden verringert und das Gewicht nach unten auf die Reifen verlagert. Dies wird als Gewichtsverlagerung bezeichnet.
Note: Passen Sie die Stufe der Gewichtsverlagerung an die Betriebsbedingungen an.
Öffnen der Motorhaube.


Lösen Sie auf der rechten Seite der Maschine das Arretierrad des Gewichtsverlagerungsverteilers um eine 1/2-Umdrehung gegen den Uhrzeigersinn, während Sie das Handrad festhalten (Bild 32).
Drehen Sie das Handrad für die Gewichtverlagerung (Bild 32) wie folgt:
Nach links, um die Gewichtsverlagerung zu verringern
Nach rechts, um die Gewichtsverlagerung zu erhöhen
Note: Die empfohlene Einstellung für die Gewichtsverlagerung/Antischlupfregelung ist, die Gewichtsverlagerung zu erhöhen, bis die Mähwerke beginnen sich zu heben, und dann das Handrad um eine 1/2-Umdrehung gegen den Uhrzeigersinn zu drehen.
Ziehen Sie das Arretierrad wieder fest (Bild 32).
Versuchen Sie nie, die Mähwerke mit der Hand zu drehen. Der Restdruck im Hydrauliksystem kann dazu führen, dass sich das/die Mähwerk(e) beim Lösen einer Verstopfung plötzlich drehen, was zu schweren Verletzungen führen kann.
Tragen Sie immer Schutzhandschuhe und verwenden Sie ein geeignetes und starkes Holzstück.
Stellen Sie sicher, dass das Holzstück in den Schlegeldrehzylinder passt und lang genug ist, um die nötige Hebelwirkung zum Lösen der Verstopfung zu erbringen.
Stellen Sie die Maschine auf einer ebenen Fläche ab.
Stellen Sie das Fahrpedal in die NEUTRALSTELLUNG, aktivieren Sie die Feststellbremse und schalten Sie die Mähwerke ab.
Senken Sie die Mähwerke auf den Boden ab oder arretieren Sie sie in der Transportstellung.
Stellen Sie den Motor ab, ziehen Sie den Schlüssel ab und warten Sie, bis alle rotierenden Teile zum Stillstand gekommen sind.
Lösen Sie alle Vorrichtungen mit gespeicherter Energie.
Vergewissern Sie sich, dass alle beweglichen Teile stillstehen.
Entfernen Sie mittels eines geeigneten Holzwerkzeugs die Verstopfung. Stellen Sie sicher, dass das Holzwerkzeug richtig im Mähwerk abgestützt ist, und vermeiden Sie übermäßige Gewalt, um eine Beschädigung zu vermeiden.
Entfernen Sie das Holzwerkzeug aus dem Mähwerk, bevor Sie den Motor anlassen.
Reparieren Sie ggf. das Mähwerk oder stellen Sie diese ein.
Bevor Sie mit dem Mähen von Rasenflächen beginnen, sollten Sie mit der Maschine in einem offenen Bereich üben. Lassen Sie den Motor an und stellen ihn ab. Fahren Sie vorwärts und rückwärts. Senken Sie das Mähwerk ab, heben es an und kuppeln es ein und aus. Wenn Sie sich mit der Maschine vertraut gemacht haben, üben Sie das Fahren hangauf- und hangabwärts.
Wenn ein Warnsymbol auf dem InfoCenter angezeigt wird, während Sie die Maschine bedienen, halten Sie die Maschine sofort an und beheben Sie das Problem. In der folgenden Tabelle finden Sie Beispiele für die Symbole, die angezeigt werden können:
|
Symbol |
Kondition |
|---|---|
![]() |
Eine geparkte oder Wiederherstellungsregeneration wird angefordert. |
![]() |
Die Zapfwelle ist deaktiviert. |
![]() |
Fehlfunktion des NOx-Steuersystems |
Um das hochwertige Schnittbild zu erhalten, halten Sie die Drehzahl der Schneideinheiten so hoch wie möglich. Dafür ist eine hohe Motordrehzahl erforderlich.
Die Schnittleistung ist am besten, wenn Sie gegen die Grasnarbe schneiden. Um diesen Effekt voll zu nutzen, wechseln Sie die Mährichtung bei jedem neuen Schnitt.
Achten Sie darauf, dass keine ungeschnittenen Streifen an den Überschneidungsstellen zwischen Schneideinheiten zurückbleiben, indem Sie enges Wenden vermeiden.
Die Schnittqualität nimmt ab, wenn Sie zu schnell fahren. Halten Sie immer ein Gleichgewicht zwischen der Schnittqualität und der geforderten Schnittgeschwindigkeit und stellen Sie dementsprechend die Geschwindigkeit im Vorwärtsgang ein.
Belasten Sie den Motor nicht zu stark. Verringern Sie die Vorwärtsgeschwindigkeit oder erhöhen die Schnitthöhe, wenn Sie feststellen, dass der Motor zu stark belastet ist. Stellen Sie sicher, dass die Messer der Mähwerke scharf sind.
Important: Fahren Sie vorsichtig, wenn Sie die Maschine über Hindernisse wie Bordsteine am Straßenrand fahren.Fahren Sie immer langsam über Hindernisse, um eine Beschädigung der Reifen, Räder und der Lenkung zu vermeiden. Stellen Sie sicher, dass die Reifen den richtigen Druck haben.
Kuppeln Sie den Mähwerksantrieb immer aus, wenn Sie die Maschine über befestigte Bereiche fahren. Fahren Sie vorsichtig zwischen Objekten durch, damit Sie weder die Maschine noch die Mähwerke beschädigen.
Um das Gras bestmöglich auszuwerfen, entfernen Sie nach Möglichkeit die Heckrollenabstreifer.
Wenn sich Schmutz und Gras an den Rollen ansammeln, bauen Sie die Abstreifer ein. Beim Einbau der Abstreiferdrähte darauf achten, dass sie ordnungsgemäß angezogen sind.
Stellen Sie die Maschine auf einer ebenen Fläche ab.
Entriegeln und senken Sie die Mähwerke auf den Boden ab.
Aktivieren Sie die Feststellbremse.
Stellen Sie den Motor ab und ziehen Sie den Schlüssel ab.
Warten Sie, bis alle beweglichen Teile zum Stillstand gekommen sind.
Lassen Sie die Maschine abkühlen, bevor Sie diese einstellen, warten, reinigen oder einlagern.
Um Brände zu vermeiden, stellen Sie sicher, dass Mähwerke, Antriebe, Schalldämpfer, Kühlsiebe und der Motorraum frei von Gras und Schmutzablagerungen sind. Wischen Sie Öl- und Kraftstoffverschüttungen auf.
Kuppeln Sie den Antrieb des Anbaugerätes aus, wenn Sie die Maschine schleppen oder nicht verwenden.
Den/die Sicherheitsgurt(e) bei Bedarf warten und reinigen.
Lagern Sie weder die Maschine noch den Kraftstoffkanister in der Nähe von offenen Flammen, Funken oder Zündflammen wie z. B. bei einem Heizkessel oder sonstigen Geräten.

Verwenden Sie durchgehenden Rampen für das Verladen der Maschine auf einen Anhänger oder Pritschenwagen.
Vergurten Sie die Maschine.
Stellen Sie sicher, dass das Zugfahrzeug das kombinierte Gewicht beider Fahrzeuge ziehen kann, siehe Technische Daten.
Heben und arretieren Sie, wann immer möglich, die Mähwerke, bevor Sie die Maschine schleppen.
Aktivieren Sie die Feststellbremse und blockieren Sie die Räder des Zugfahrzeugs.
Blockieren Sie die Vorderräder der Maschine.
Heben Sie die Plattform nach vorne an; siehe Anheben der Plattform.
Entfernen Sie die beiden Schrauben 12 x 40 mm und die beiden Beilagscheiben 12 mm in den Stützschienen der Plattform (Bild 34).

Setzen Sie eine starre Abschleppstange zwischen der Abschleppöse vorne an der Maschine und dem Zugfahrzeug ein Bild 35.
Note: Verwenden Sie bei Bedarf die hintere Abschleppöse der Maschine, um die Maschine so zu positionieren, dass ausreichend Abstand entsteht, und verwenden Sie die vordere Abschleppöse zum Abschleppen der Maschine.

Entfernen Sie an der Scheibenbremse des rechten Vorderradmotors die Sechskantschraube (Bild 36).

Führen Sie eine Schraube (12 x 40 mm) und eine Unterlegscheibe (12 mm) durch das Loch in der Mitte der Motorendplatte (Bild 37).

Ziehen Sie die Schraube im Gewindeloch des Bremskolbens an, bis sich die Bremse löst (Bild 37).
Wiederholen Sie die Schritte 6 bis 8 für die Bremse auf der linken Seite der Maschine.
Verwenden Sie einen 8 mm Innensechskantschlüssel, um die beiden Innensechskantstopfen für die Entlastungsventile der Getriebepumpe um drei volle Umdrehungen gegen den Uhrzeigersinn zu drehen (Bild 38).
Important: Sie müssen die Maschine manuell lenken, wenn sie abgeschleppt wird. Wenn der Motor abgestellt ist, fehlt die hydraulische Lenkunterstützung: das Lenken fühlt sich schwergängig an.

Senken Sie die Plattform ab und verriegeln Sie diese; siehe Absenken der Plattform.
Entfernen Sie die Radklötze
Important: Schleppen Sie die Maschine nicht schneller als mit einer Geschwindigkeit von 3 bis 5 km/h und nicht länger als 3 Minuten ab, da sonst interne Schäden am Getriebe auftreten können.
Verwenden Sie die vordere Abschleppöse zum Abschleppen der Maschine.
Schleppen Sie die Maschine über eine kurze Strecke bei langsamer Geschwindigkeit nicht länger als 3 Minuten ab.
Blockieren Sie die Vorderräder.
Heben Sie die Plattform nach vorne an; siehe Anheben der Plattform.
Verwenden Sie einen 8 mm Innensechskantschlüssel, um die beiden Innensechskantstopfen für die Entlastungsventile der Getriebepumpe um drei Umdrehungen im Uhrzeigersinn zu drehen (Bild 39).

Ziehen Sie die beiden Innensechskantstopfen auf ein Drehmoment von 81 N·m an.
Entfernen Sie die Schraube (12 x 40 mm) und Unterlegscheibe (12 mm) aus dem Loch in der Mitte der Motorendplatte (Bild 40).

Montieren Sie die Sechskantschraube an die Motorendplatte (Bild 41).

Wiederholen Sie die Schritte 1 bis 2 für die Bremse auf der anderen Seite der Maschine.
Entfernen Sie die Radklötze.
Nehmen Sie die Abschleppstange ab.
Note: Das Getriebe und die Bremsen sind betriebsbereit.
Verstauen Sie die 2 Bolzen, 12 x 40 mm und 2 Beilagscheiben 12 mm in den Stützschienen der Plattform (Bild 41).

Senken Sie die Plattform ab; siehe Absenken der Plattform.
Nehmen Sie die Abschleppstange vom Abschleppfahrzeug ab.
Prüfen Sie die Bremsfunktion der Maschine.
Betrieb der Maschine ohne ordnungsgemäß funktionierendes Bremssystem kann zu einem Kontrollverlust über die Maschine führen und Sie und Unbeteiligte schwer verletzen.
Stellen Sie vor der Verwendung der Maschine sicher, dass die Bremsanlage richtig funktioniert. Fahren Sie langsam mit der Maschine, während Sie die anfänglichen Prüfungen ausführen. Benutzen Sie die Maschine nicht, wenn die Bremsanlage defekt ist.
Laden Sie ein kostenfreies Exemplar des elektrischen oder hydraulischen Schaltbilds von www.Toro.com/de-de herunter und suchen Sie Ihre Maschine vom Link für die Bedienungsanleitungen auf der Homepage.
Note: Bestimmen Sie die linke und rechte Seite der Maschine anhand der üblichen Einsatzposition.
Bevor Sie den Fahrerstand verlassen, gehen Sie wie folgt vor:
Stellen Sie die Maschine auf einer ebenen Fläche ab.
Entriegeln und senken Sie die Mähwerke auf den Boden ab.
Aktivieren Sie die Feststellbremse.
Stellen Sie den Motor ab und ziehen Sie den Schlüssel ab.
Warten Sie, bis alle beweglichen Teile zum Stillstand gekommen sind.
Lassen Sie die Maschine abkühlen, bevor Sie diese einstellen, warten, reinigen oder einlagern.
Tragen Sie geeignete Kleidung, u. a. eine Schutzbrille, lange Hosen und rutschfeste Arbeitsschuhe. Halten Sie Hände, Füße, Kleidung, Schmuck und langes Haar von beweglichen Teilen fern.
Lassen Sie alle Maschinenteile abkühlen, ehe Sie mit Wartungsarbeiten beginnen.
Führen Sie Wartungsarbeiten möglichst nicht bei laufendem Motor durch. Fassen Sie keine beweglichen Teile an.
Betreiben Sie den Motor nur in gut belüfteten Bereichen. Die Abgase enthalten Kohlenmonoxid, das beim Einatmen tödlich ist.
Stützen Sie die Maschine mit Achsständern ab, wenn Sie Arbeiten unter der Maschine ausführen.
Lassen Sie den Druck aus Maschinenteilen mit gespeicherter Energie vorsichtig ab.
Halten Sie alle Teile der Maschine in gutem Betriebszustand und alle Befestigungen angezogen.
Ersetzen Sie abgenutzte und beschädigte Aufkleber.
Verwenden Sie nur Originalersatzteile von Toro, um eine sichere und optimale Leistung zu gewährleisten. Ersatzteile anderer Hersteller können gefährlich sein und eine Verwendung könnte die Garantie ungültig machen.
| Wartungsintervall | Wartungsmaßnahmen |
|---|---|
| Nach der ersten Betriebsstunde |
|
| Nach 10 Betriebsstunden |
|
| Nach 50 Betriebsstunden |
|
| Bei jeder Verwendung oder täglich |
|
| Alle 50 Betriebsstunden |
|
| Alle 250 Betriebsstunden |
|
| Alle 500 Betriebsstunden |
|
| Alle 1000 Betriebsstunden |
|
| Alle 1500 Betriebsstunden |
|
| Alle 3000 Betriebsstunden |
|
| Jährlich |
|
| Alle 2 Jahre |
|
Kopieren Sie diese Seite für regelmäßige Verwendung.
| Wartungsprüfpunkt | Für KW: | ||||||
|---|---|---|---|---|---|---|---|
| Mo | Di | Mi | Do | Fr | Sa | So | |
| Prüfen Sie den Ölstand im Motor. | |||||||
| Prüfen Sie die Verstopfungsanzeige des Luftfilters. | |||||||
| Lassen Sie Wasser aus dem Kraftstofffilter/Wasserabscheider ab. | |||||||
| Prüfen Sie die Dichtheit. | |||||||
| Prüfen Sie das Kühlsystem. | |||||||
| Entfernen Sie den Schmutz vom Gitter sowie vom Öl- und Motorkühler. | |||||||
| Schmieren Sie die Lager, Büchsen und Drehzapfenpunkte.2 | |||||||
| Prüfen Sie den Reifendruck. | |||||||
| Prüfen Sie den Hydraulikölstand. | |||||||
| Prüfen Sie die Hydraulikleitungen und -schläuche. | |||||||
| Prüfen Sie die Befestigungen der Maschine. | |||||||
| Prüfen Sie die Mähwerke. | |||||||
| Prüfen Sie die Schnitthöheneinstellung. | |||||||
| Prüfen Sie den Sicherheitsgurt. | |||||||
| Prüfen Sie die Funktion des Fahrpedals. | |||||||
| Prüfen Sie die Funktion der Instrumente. | |||||||
| Achten Sie auf ungewöhnliche Motorgeräusche.1 | |||||||
| Prüfen Sie die Sicherheitsschalter. | |||||||
| Prüfen Sie die Funktion der Bremsen. | |||||||
| Achten Sie auf ungewöhnliche Betriebsgeräusche. | |||||||
| Waschen Sie die Maschine.2 | |||||||
| Bessern Sie alle Lackschäden aus. | |||||||
|
1. Prüfen Sie die Glühkerze und Einspritzdüsen, wenn der Motor schwer anspringt, stark qualmt oder unruhig läuft. |
|||||||
|
2. Fetten Sie die Maschine unmittelbar nach jeder Reinigung, ungeachtet des aufgeführten Intervalls. |
|||||||
| Inspiziert durch: | ||
| Punkt | Datum | Informationen |
| 1 | ||
| 2 | ||
| 3 | ||
| 4 | ||
| 5 | ||
| 6 | ||
Betrieb der Maschine bei unverriegelter Plattform kann zu einem Kontrollverlust über die Maschine führen und Sie und Unbeteiligte schwer verletzen.
Verwenden Sie die Maschine nie, ohne sich zu vergewissern, dass der Verriegelungsmechanismus der Bedienerplattform vollständig eingerastet und betriebsfähig ist.
Senken Sie die Plattform vorsichtig ab (Bild 45).
Note: Der pneumatische Hubzylinder stützt die Plattform.

Wenn die Plattform beinah in der vollständig abgesenkten Position ist, bewegen Sie den Sperrriegelgriff der Plattform (Bild 46) zur Vorderseite der Maschine.
Note: Dies stellt sicher, dass der Riegel die Sperrstange aushakt.

Senken Sie die Plattform vollständig ab und schieben Sie den Sperrriegelgriff der Plattform zum Heck der Maschine, bis der Riegel ganz in der Sperrstange einrastet (Bild 47).

Richten Sie die Löcher im Boden des Ablagefachs auf die Löcher in den Fahrgestellhaltern aus.
Bauen Sie das Ablagefach mit den drei Handrädern und den drei Unterlegscheiben in die Maschine ein (Bild 49).

Schließen Sie die Ablagefachklappe.
Note: Stützen Sie die Maschine nach dem Anheben mit Achsständern ab.
Mechanische oder hydraulische Wagenheber können u. U. ausfallen, was schwere Verletzungen zur Folge haben kann.
Benutzen Sie zum Abstützen der Maschine Achsständer.
Vorne: Unter der vorderen Armhalterung
Hinten: Achsenrohr an Hinterachse

| Wartungsintervall | Wartungsmaßnahmen |
|---|---|
| Bei jeder Verwendung oder täglich |
|
| Alle 50 Betriebsstunden |
|
Important: Schmieren Sie Lager, Büchsen und Drehlagerpunkte sofort nach jeder Reinigung ein, unabhängig von den aufgeführten Wartungsintervallen.
Schmierfettsorte: Nr. 2 Allzweckschmierfett auf Lithiumbasis.
Verwenden Sie einen Hub der Fettpresse an den Schnitthöheneinstellern und drei Hübe der Fettpresse an allen anderen Schmiernippeln.
Die Schmiernippelpositionen sind unter Bild 51 aufgeführt..
Austauschen beschädigter Schmiernippel

Stellen Sie den Motor grundsätzlich vor dem Prüfen des Ölstands oder Auffüllen des Kurbelgehäuses mit Öl ab.
Ändern Sie nicht die Geschwindigkeit des Drehzahlreglers oder überdrehen den Motor.
| Wartungsintervall | Wartungsmaßnahmen |
|---|---|
| Bei jeder Verwendung oder täglich |
|
Öffnen der Motorhaube.
Prüfen Sie die Verstopfungsanzeige des Luftfilters (Bild 52).
Important: Wenn die Verstopfungsanzeige rot ist, prüfen Sie den Hauptluftfilter und ersetzen Sie ihn, wenn er verschmutzt oder beschädigt ist, siehe Ersetzen des Hauptluftfilters.

Wenn die Verstopfungsanzeige des Luftfilters nicht rot ist, schließen Sie die Haube.
| Wartungsintervall | Wartungsmaßnahmen |
|---|---|
| Alle 500 Betriebsstunden |
|
Prüfen Sie das Gehäuse des Luftfilters auf Schäden, die eventuell zu einem Luftleck führen könnten. Ersetzen Sie ein beschädigtes Luftfiltergehäuse. Prüfen Sie die ganze Ansauganlage auf Lecks, Beschädigungen oder lose Schlauchklemmen.
Note: Warten Sie den Hauptluftfilter, wenn die Verstopfungsanzeige des Luftfilters (Bild 52) rot ist. Das häufige Auswechseln des Luftfilters erhöht die Gefahr, dass Schmutz in den Motor gelangt, wenn der Filter entnommen ist.
Important: Stellen Sie sicher, dass die Abdeckung richtig angebracht ist und das Luftfiltergehäuse abdichtet.
Blasen Sie vor dem Entfernen der Filterabdeckung grobe Schmutzablagerungen von der Außenseite des Filtergehäuses mit schwacher Druckluft (2,75 bar, sauber und trocken) ab.
Note: Diese Reinigung verhindert, dass Rückstände in den Einlass gelangen, wenn Sie den Filter entfernen.
Important: Verwenden Sie keine starke Druckluft, da Schmutz durch den Filter in den Einlass gedrückt werden könnte.

Nehmen Sie die Abdeckung vom Luftfiltergehäuse ab.
Entfernen Sie den Hauptluftfilter (Bild 53).
Important: Reinigen Sie ein bereits verwendetes Filterelement nicht und verwenden Sie es nicht wieder, da das Filterelement beschädigt werden könnte.
Prüfen Sie den neuen Filter auf Versandschäden, prüfen Sie das Dichtungsende des Filters und des Gehäuses.
Important: Verwenden Sie nie einen beschädigten Einsatz.
Setzen Sie den Filter ein. Drücken Sie auf den äußeren Rand des Einsatzes, um es in der Glocke zu platzieren.
Important: Drücken Sie nie auf die flexible Mitte des Filters.
Reinigen Sie die Schmutzauswurföffnung in der Luftfilterabdeckung. Entfernen Sie das Gummi-Auslassventil aus dem Deckel, reinigen Sie die Einbuchtung im Ventil und installieren Sie das Auslassventil wieder im Luftfilterdeckel.
Richten Sie den Luftfilterdeckel der Schmutzauswurföffnung vom Ende her gesehen zwischen 5 Uhr und 7 Uhr aus, montieren Sie den Deckel auf den Gehäuse und befestigen Sie den Deckel.
Prüfen Sie den Zustand der Luftfilterschläuche.
Der Luftfilter hat innerhalb des Hauptluftfilters zur Sicherheit einen zweiten Filtereinsatz, um aufgewirbelten Staub und andere Gegenstände daran zu hindern, in den Motor einzudringen, während das Hauptelement entfernt wird.
Wechseln Sie den Sicherheitsfilter aus, er sollte nicht gereinigt werden.
Important: Versuchen Sie nie, den Sicherheitsfilter zu reinigen. Wenn der Sicherheitsfilter verschmutzt ist, ist der Hauptfilter beschädigt. Wechseln Sie beide Filter aus.

Verwenden Sie qualitativ hochwertiges Öl mit niedrigem Aschengehalt, das die folgenden Spezifikationen erfüllt oder übersteigt:
API-Klassifikation CJ-4 oder höher
ACEA-Klassifikation E6
JASO-Klassifikation DH-2
Important: Wenn Sie Motoröl verwenden, das nicht die Klassifikation API CJ-4 oder höher, ACEA E6 oder JASO DH-2 erfüllt, kann der Dieselpartikelfilter verstopfen und den Motor beschädigen.
Verwenden Sie Motoröl mit der folgenden Motorölviskosität:
Bevorzugte Ölsorte: SAE 15W-40 (über -18 °C)
Ersatzöl: SAE 10W-30 oder 5W-30 (alle Temperaturen)
Premium Motoröl von Toro ist vom offiziellen Toro-Vertragshändler mit einer Viskosität von 15W-40 oder 10W-30 erhältlich. Die Bestellnummern finden Sie im Ersatzteilkatalog.
| Wartungsintervall | Wartungsmaßnahmen |
|---|---|
| Bei jeder Verwendung oder täglich |
|
Important: Prüfen Sie das Motoröl täglich. Wenn der Motorölstand über der Voll-Markierung am Peilstab liegt, ist das Motoröl ggf. mit Kraftstoff verdünnt.Wenn der Motorölstand über der Voll-Markierung liegt, wechseln Sie das Motoröl.
Der Stand des Motoröls sollte am besten bei kaltem Motor vor dem täglichen Anlassen geprüft werden. Wenn der Motor gelaufen ist, lassen Sie das Öl für 10 Minuten in die Wanne zurücklaufen, bevor Sie den Ölstand prüfen. Wenn der Ölstand an oder unter der Nachfüllen-Markierung am Peilstab liegt, gießen Sie Öl nach, bis der Ölstand die VOLL-Markierung erreicht.Füllen Sie nicht zu viel Motoröl ein.
Important: Halten Sie den Stand des Motoröls zwischen den unteren und oberen Markierungen an der Ölmessanzeige; der Motor kann ausfallen, wenn er mit zu wenig oder zu viel Öl verwendet wird.
Parken Sie die Maschine auf einer ebenen Fläche, senken Sie die Mähwerke ab, stellen den Motor ab, aktivieren die Feststellbremse und ziehen den Schlüssel ab.
Entriegeln Sie die Motorhaubenriegel und öffnen Sie die Motorraumabdeckung.
Entfernen Sie den Peilstab, wischen ihn ab und führen ihn wieder in das Rohr ein; ziehen Sie ihn dann wieder heraus. Der Ölstand sollte zwischen der NACHFüLL- und VOLL-Markierung sein (Bild 55).

Wenn der Ölstand niedrig ist, entfernen Sie den Einfülldeckel und füllen Sie Öl ein, bis der Stand zwischen der VOLL- und NACHFüLL-Markierung liegt (Bild 55).
Note: Überfüllen Sie den Motor nicht.
Setzen Sie den Ölfüllstutzendeckel und den Peilstab ein.
Schließen Sie die Motorhaube und befestigen Sie sie mit den Riegeln.
5,5 l mit Filter.
| Wartungsintervall | Wartungsmaßnahmen |
|---|---|
| Alle 500 Betriebsstunden |
|
Entfernen Sie die Ablassschraube und lassen Sie das Öl in die Auffangwanne ab (Bild 56).

Wenn das gesamte Öl abgelassen ist, setzen Sie die Ablassschraube ein und ziehen Sie sie auf ein Drehmoment von 54 bis 63 N·m fest.
Entfernen Sie den Ölfilter.
Tragen Sie eine leichte Schicht sauberen Öls auf die Ölfilterdichtung auf.
Schrauben Sie den Ölfilter auf den Motor auf, bis er die Montagefläche berührt, ziehen Sie dann den Ölfilter um eine weitere Umdrehung an.
Important: Ziehen Sie den Filter nicht zu fest.
Füllen Sie Öl in das Kurbelgehäuse, siehe Ölsorte und Überprüfen des Motorölstands.
| Wartungsintervall | Wartungsmaßnahmen |
|---|---|
| Alle 3000 Betriebsstunden |
|
Wenn die Motorstörungen , oder im InfoCenter (Bild 57) angezeigt wird, reinigen Sie den Rußfilter anhand den folgenden Schritten:



Informationen zum Entfernen und Montieren des Dieseloxidationskatalysators und des Rußfilters am Dieselpartikelfilter finden Sie in der Wartungsanleitung.
Wenden Sie sich an den offiziellen Toro-Vertragshändler für Ersatzteile für den Dieseloxidationskatalysator und den Rußfilter oder deren Wartung.
Wenden Sie sich nach dem Einsetzen eines sauberen Dieselpartikelfilters an den offiziellen Toro-Vertragshändler, um das elektronische Steuergerät des Motors zurückzusetzen.
| Wartungsintervall | Wartungsmaßnahmen |
|---|---|
| Alle 1000 Betriebsstunden |
|
| Alle 1500 Betriebsstunden |
|
| Alle 3000 Betriebsstunden |
|
Unter gewissen Bedingungen sind Kraftstoff und -dünste äußerst brennbar und explosiv. Feuer und Explosionen durch Kraftstoff können Sie und Unbeteiligte verletzen und Sachschäden verursachen.
Betanken Sie die Maschine nur im Freien, wenn der Motor abgeschaltet und kalt ist. Wischen Sie verschütteten Kraftstoff auf.
Füllen Sie den Kraftstofftank nicht ganz auf. Tanken Sie nur bis zu einer Höhe von 25 mm unterhalb der Unterseite des Füllstutzens. Der verbleibende Raum im Tank ist für die Ausdehnung des Kraftstoffes erforderlich.
Rauchen Sie nie beim Umgang mit Kraftstoff und halten einen Abstand zu offenen Flammen und Bereichen, in denen Kraftstoffdämpfe durch Funken entzündet werden könnten.
Lagern Sie Kraftstoff in einem sauberen, zulässigen Kanister und halten den Deckel aufgeschraubt.
Diese Bedienungsanleitung enthält detailliertere Informationen zum Kraftstoff und zur Wartung der Kraftstoffanlage als die Yanmar® Motor Bedienungsanleitung, die ein allgemeines Nachschlagewerk zum Thema Kraftstoff und Wartung der Kraftstoffanlage ist.
Sie müssen entsprechende Kenntnisse über die Wartung der Kraftstoffanlage, die Lagerung des Kraftstoffs und die Kraftstoffqualität besitzen, um Ausfallzeiten und umfangreiche Motorreparaturen zu vermeiden.
Für das Kraftstoffsystem gelten aufgrund der Emissions- und Kontrollanforderungen extrem enge Toleranzen. Die Qualität und Sauberkeit des Dieselkraftstoffs ist für die Langlebigkeit der heutigen Hochdruck-Common-Rail-Einspritzsysteme (HPCR) in Dieselmotoren von großer Bedeutung.
Important: Wasser oder Luft im Kraftstoffanlage beschädigt Ihren Motor! Gehen Sie nicht davon aus, dass neuer Kraftstoff sauber ist. Vergewissern Sie sich, dass Ihr Kraftstoff von einem Lieferanten stammt, der qualitativ hochwertigen Kraftstoff liefert. Lagern Sie den Kraftstoff korrekt und verbrauchen Sie Ihren Kraftstoffvorrat innerhalb von 180 Tagen.
Important: Die Nichtbeachtung der Anweisungen zum Austausch des Kraftstofffilters, zur Wartung des Kraftstoffsystems und zur Lagerung des Kraftstoffs kann zu einem vorzeitigen Ausfall des Kraftstoffsystems des Motors führen. Führen Sie alle Wartungsarbeiten am Kraftstoffsystem in den vorgeschriebenen Intervallen durch oder immer dann, wenn der Kraftstoff verunreinigt ist oder eine schlechte Qualität aufweist.
Die richtige Lagerung von Kraftstoff ist entscheidend für Ihren Motor. Die ordnungsgemäße Wartung von Kraftstofftanks wird oft vernachlässigt und führt zu einer Verunreinigung des an die Maschine gelieferten Kraftstoffs.
Beschaffen Sie nur so viel Kraftstoff, wie Sie innerhalb von 180 Tagen verbrauchen. Verwenden Sie keinen Kraftstoff, der länger als 180 Tage gelagert wurde. Dadurch werden Wasser und andere Verunreinigungen im Kraftstoff vermieden.
Wenn Sie das Wasser nicht aus dem Lagertank oder dem Kraftstofftank der Maschine entfernen, kann es zu Rost oder Verunreinigungen im Lagertank und in den Komponenten der Kraftstoffanlage führen. Durch Schimmel, Bakterien oder Pilze entstandener Tankschlamm behindert den Durchfluss und verstopft den Filter und die Kraftstoffeinspritzdüsen.
Überprüfen Sie Ihren Kraftstofftank und den Maschinentank regelmäßig zur Überwachung der Kraftstoffqualität im Tank.
Beziehen Sie ihren Kraftstoff von einem Qualitätsanbieter.
Wenn Sie Wasser oder Verunreinigungen in Ihrem Lagertank oder Maschinenkraftstofftank finden, arbeiten Sie mit Ihrem Kraftstoffanbieter zusammen, um das Problem zu beheben, und führen Sie alle Wartungsarbeiten am Kraftstoffsystem durch.
Lagern Sie Dieselkraftstoff nicht in Tanks oder Kanistern, die aus verzinkten Teilen bestehen.
| Wartungsintervall | Wartungsmaßnahmen |
|---|---|
| Bei jeder Verwendung oder täglich |
|
Parken Sie die Maschine auf einer ebenen Fläche, senken die Schneideinheiten ab, aktivieren die Feststellbremse, stellen den Motor ab und ziehen den Zündschlüssel ab.
Stellen Sie einen sauberen Behälter unter den Kraftstofffilter.
Lösen Sie das Ablassventil an der Unterseite der Filterglocke und öffnen Sie Entlüftungsschraube an der Oberseite der Filterglockenhalterung.

Ziehen Sie das Ablassventil an der Unterseite der Filterglocke fest und schließen Sie Entlüftungsschraube an der Oberseite der Filterglockenhalterung.
Füllen Sie die Kraftstoffanlage vor, siehe Vorfüllen der Kraftstoffanlage.
Führen Sie das Befüllen der Kraftstoffanlage unter den folgenden Bedingungen durch.
Vor dem erstmaligen Starten des Motors.
Wenn Ihnen der Kraftstoff ausgeht und Sie dann neuen Kraftstoff in das System einfüllen.
Nach der Durchführung von Wartungsarbeiten an der Kraftstoffanlage, wie z.B. dem Wechsel des Kraftstofffilters, dem Entleeren des Wasserabscheiders oder dem Austausch einer Komponente der Kraftstoffanlage.
Stellen Sie zum Befüllen der Kraftstoffanlage den Schlüsselschalter 10 Sekunden bis 15 Sekunden in die EIN-Stellung, damit die Kraftstoffpumpe die Kraftstoffanlage vorfüllen kann.
Important: Füllen Sie die Kraftstoffanlage nicht mit dem Anlassen des Motors vor. Dadurch könnte der Anlasser beschädigt werden.
| Wartungsintervall | Wartungsmaßnahmen |
|---|---|
| Alle 500 Betriebsstunden |
|
Important: Tauschen Sie die Kraftstofffilterglocke regelmäßig aus, um eine Abnutzung des Kraftstoffeinspritzpumpenkolbens oder der Einspritzdüse aufgrund von verschmutztem Kraftstoff zu vermeiden.
Stellen Sie einen sauberen Behälter unter die Kraftstofffilterglocke (Bild 59).
Entleeren Sie die Kraftstofffilterglocke, siehe Warten des Wasserabscheiders.
Reinigen Sie den Bereich um den Kraftstofffilter und den Kraftstofffilterkopf (Bild 59).

Entfernen Sie die Filterglocke und reinigen Sie den Filterkopf (Bild 59).
Schmieren Sie die Dichtung an der Filterglocke mit sauberem Dieselkraftstoff ein.
Drehen Sie die neue Filterglocke mit der Hand ein, bis die Dichtung die Kontaktfläche berührt.
Füllen Sie die Kraftstoffanlage vor, siehe Vorfüllen der Kraftstoffanlage.
| Wartungsintervall | Wartungsmaßnahmen |
|---|---|
| Alle 500 Betriebsstunden |
|
Note: Weitere Informationen finden Sie in der Bedienungsanleitung des Motors, die mit der Maschine ausgeliefert wurde.
Reinigen Sie den Bereich um den Kraftstofffilterkopf (Bild 60).

Entfernen Sie den Filter und reinigen Sie die Befestigungsoberfläche des Filterkopfes (Bild 60).
Schmieren Sie die Filterdichtung mit sauberem Dieselkraftstoff ein.
Setzen Sie die trockene Filterglocke mit der Hand ein, bis die Dichtung die Kontaktfläche berührt; drehen Sie sie dann um eine weitere 1/2 Umdrehung fest.
Lassen Sie den Motor an und achten Sie auf austretenden Kraftstoff am Filterkopf.
| Wartungsintervall | Wartungsmaßnahmen |
|---|---|
| Alle 500 Betriebsstunden |
|
Prüfen Sie die Leitungen und Anschlüsse auf Verschleiß, Beschädigungen oder lockere Anschlüsse.
Der Kraftstoffaufnahmeschlauch befindet sich im Inneren des Kraftstofftanks. Der Kraftstoffaufnahmeschlauch ist mit einem Sieb ausgestattet, um das Eindringen von Fremdkörpern und Schmutz in die Kraftstoffanlage zu verhindern. Nehmen Sie den Kraftstoffzulaufschlauch ab und reinigen das Gitter nach Bedarf.
Important: Bevor Sie Schweißarbeiten an der Maschine ausführen, sollten Sie beide Kabel von der Batterie, die beiden Kabelbaumstecker von der elektronischen Steuereinheiten und die Batteriepole von der Lichtmaschine abschließen, um eine Beschädigung der elektrischen Anlage zu vermeiden.
Klemmen Sie vor dem Durchführen von Reparaturen an der Maschine den Akku ab. Klemmen Sie immer zuerst die Minusklemme und dann die Plusklemme ab. Schließen Sie immer zuerst den Pluspol und dann den Minuspol an.
Laden Sie den Akku in offenen, gut gelüfteten Bereichen und nicht in der Nähe von Funken und offenem Feuer. Stecken Sie das Ladegerät aus, ehe Sie die Batterie anschließen oder abklemmen. Tragen Sie Schutzkleidung und verwenden Sie isoliertes Werkzeug.
Die Akkuflüssigkeit enthält Schwefelsäure, die ein tödliches Gift ist und starke chemische Verbrennungen verursacht.
Trinken Sie nie Akkusäure und vermeiden Sie den Kontakt mit Haut, Augen und Kleidungsstücken. Tragen Sie eine Schutzbrille, um Ihre Augen zu schützen, sowie Gummihandschuhe, um Ihre Hände zu schützen.
Füllen Sie den Akku an einem Ort, an dem immer klares Wasser zum Spülen der Haut verfügbar ist.
Beim Laden der Batterie werden Gase erzeugt, die explodieren können.
Rauchen Sie nie in der Nähe der Batterie und halten Sie Funken und offenes Feuer von der Batterie fern.
Halten Sie die Klemmen und das ganze Batteriegehäuse sauber, da sich eine schmutzige Batterie langsam entlädt. Reinigen Sie zum Reinigen der Batterie den ganzen Kasten mit Natronlauge. Spülen Sie mit klarem Wasser nach.
| Wartungsintervall | Wartungsmaßnahmen |
|---|---|
| Alle 50 Betriebsstunden |
|
Important: Ziehen Sie beim Ausbau der Batterie das Minuskabel (-) immer zuerst ab.
Important: Verbinden Sie beim Einsetzen der Batterie immer zuletzt das Minuskabel (-).
In normalen Betriebsbedingungen muss die Batterie nicht weiter gewartet werden. Wenn die Maschine anhaltend bei hohen Umgebungstemperaturen eingesetzt wurde, muss die Elektrolytflüssigkeit eventuell mit Wasser aufgefüllt werden.
Entfernen Sie das Ablagefach, siehe Entfernen des Ablagefachs.
Entfernen Sie Korrosion von den Akkupolen. Verwenden Sie eine Drahtbürste, um eine weitere Korrosion zu vermeiden.
Note: Prüfen Sie den Zustand der Batteriekabel. Installieren Sie neue Kabel, wenn die bestehenden Kabel Zeichen von Verschleiß oder Beschädigungen aufweisen, und ziehen Sie gegebenenfalls lose Anschlüsse fest.
Tragen Sie Grafo 112X Skin-Over-Fett (Toro Bestellnr. 505-47) oder Vaseline auf die Klemmen auf.
Reinigen Sie das Akkufach.
Entfernen Sie die Akkuzellenabdeckung und füllen Sie die Akkuzelle mit destilliertem Wasser auf eine Höhe von 15 mm unter dem Rand auf. Bringen Sie die Abdeckung wieder an.
Montieren Sie das Ablagefach, siehe Einbauen des Ablagefachs.
| Wartungsintervall | Wartungsmaßnahmen |
|---|---|
| Alle 500 Betriebsstunden |
|
Prüfen Sie alle elektrischen Verbindungen und Kabel und wechseln Sie beschädigte oder korrodierte Teile aus. Sprühen Sie einen qualitativ hochwertigen Feuchtigkeitsschutz auf die Anschlüsse, um das Eindringen von Feuchtigkeit zu verhindern.
Entfernen Sie das Ablagefach, siehe Entfernen des Ablagefachs.
Entfernen Sie die Sicherungskastenabdeckung (Bild 61)
Note: Der Sicherungskasten befindet sich neben dem Akku.

Prüfen Sie auf durchgebrannte Sicherungen.
Note: Die elektrische Anlage der Maschine wird durch 10 Sicherungen geschützt.
Ersetzen Sie jede durchgebrannte Sicherung durch eine Sicherung mit gleicher Stromkapazität.

Installieren Sie die Sicherungskastenabdeckung (Bild 61).
Montieren Sie das Ablagefach, siehe Einbauen des Ablagefachs.
| Wartungsintervall | Wartungsmaßnahmen |
|---|---|
| Bei jeder Verwendung oder täglich |
|
Important: Achten Sie bei allen Reifen immer auf den richtigen Druck, um den richtigen Kontakt mit der Grünfläche zu gewährleisten.
Der empfohlene Reifendruck ist 1 bar (14,5 psi) bei normaler Verwendung. Passen Sie den Reifendruck gemäß der folgenden Tabelle entsprechend der Betriebsbedingungen ein.
| Reifen | Reifensorte | Empfohlene Reifendruckwerte | ||
| Grünflächenzustände | Straßenzustände | Maximaler Druck | ||
| Vorderachse | 26 x 12,0 - 12, BKT-Rasenprofil | 0,69 bar | 1,4 bar | 1,4 bar |
| Hinterachse | 20 x 10.0 - 8 BKT Rasenprofil | 0,69 bar | 1,4 bar | 1,5 bar |
| Wartungsintervall | Wartungsmaßnahmen |
|---|---|
| Nach der ersten Betriebsstunde |
|
| Nach 10 Betriebsstunden |
|
| Alle 250 Betriebsstunden |
|
Drehmomentangaben der Muttern am Vorderrad: 200 N·m
Drehmomentangaben der Muttern am Hinterrad: 100 N·m
Wenn Sie die Radmuttern nicht fest genug ziehen, können Verletzungen daraus resultieren.
Prüfen Sie den Anzug der Radmuttern.
| Wartungsintervall | Wartungsmaßnahmen |
|---|---|
| Alle 250 Betriebsstunden |
|
Prüfen Sie den Zustand und die Sicherheit des Zugs und die Funktion an den Geschwindigkeitsregelungspedalen und der Getriebepumpe.
Entfernen Sie Schmutz, Staub und andere Ablagerungen.
Stellen Sie sicher, dass die Kugelgelenke fest verankert sind, und prüfen Sie, ob die Befestigungshalterungen und Kabelanker fest und nicht brüchig sind.
Überprüfen Sie die Endstücke auf Verschleiß, Rost und kaputte Federn und tauschen Sie diese ggf. aus.
Stellen Sie sicher, dass die Gummidichtungen richtig sitzen und im guten Zustand sind.
Stellen Sie sicher, dass die Stützmantel, die das innere Kabel stützen, in gutem Zustand sind und fest an den gefalzten Verbindungen des äußeren Kabels angeschlossen sind. Installieren Sie bei Anzeichen von Rissen oder Ablösungen sofort ein neues Kabel.
Überprüfen Sie, ob die Manschetten, Stangen und Innenkabel keine Krümmungen, Knicke oder andere Beschädigungen aufweisen. Falls sie beschädigt sind, installieren Sie sofort ein neues Kabel.
Betätigen Sie bei abgeschaltetem Motor die Pedalbedienelemente durch den gesamten Bereich und vergewissern Sie sich, dass der Mechanismus gleichmäßig und ungehindert ohne Hängenbleiben in die Neutral-Stellung geht.

| Wartungsintervall | Wartungsmaßnahmen |
|---|---|
| Alle 500 Betriebsstunden |
|
Um übermäßigen Reifenverschleiß zu vermeiden und einen sicheren Betrieb der Maschine zu gewährleisten, müssen die Vorder- und Hinterräder innerhalb von 5 mm oder weniger zueinander ausgerichtet sein.
Stellen Sie das Lenkrad so, dass die Hinterräder gerade nach vorne stehen.
Messen Sie in Achshöhe den Abstand zwischen der Vorderseite der Hinterräder und zwischen der Hinterseite der Hinterräder.
Note: Die Räder sind ausgerichtet, wenn der Unterschied zwischen den Messungen an der Vorder- und Hinterseite der Hinterräder 5 mm oder weniger beträgt.

Wenn der Unterschied zwischen den Messungen an der Vorder- und Hinterseite der Hinterräder größer als 5 mm ist, richten Sie die Hinterräder aus, siehe Einstellen der Vorspur der Hinterräder.
Lösen Sie an der Vorderseite des Hinterrads die beiden Sicherungsmuttern, mit denen die Spurstangenbaugruppe an den Stangenenden befestigt ist (Bild 65).

Richten Sie die Räder durch Drehen der Spurstange aus (Bild 65).
Note: Verwenden Sie die Schlüsselflächen der Spurstange, um sie zu drehen.
Messen Sie in Achshöhe den Abstand zwischen der Vorderseite der Hinterräder und zwischen der Hinterseite der Hinterräder.
Note: Die Räder sind ausgerichtet, wenn der Unterschied zwischen den Messungen an der Vorder- und Hinterseite der Hinterräder 5 mm oder weniger beträgt.

Wiederholen Sie die Schritte 2 und 3, bis die Räder ausgerichtet sind.
Ziehen Sie die beiden Sicherungsmuttern an, um die Spurstangenbaugruppe und die Stangenenden zu sichern (Bild 65).
Ein Verschlucken von Motorkühlmittel kann zu Vergiftungen führen; Kinder und Haustiere sollten keinen Zugang zum Kühlmittel haben.
Ablassen von heißem, unter Druck stehendem Kühlmittel bzw. eine Berührung des heißen Kühlers und benachbarter Teile kann zu schweren Verbrennungen führen.
Lassen Sie den Motor immer für mindestens 15 Minuten abkühlen, bevor Sie den Kühlerdeckel abnehmen.
Verwenden Sie beim Öffnen des Kühlerdeckels einen Lappen und öffnen den Kühler langsam, damit Dampf ohne Gefährdung austreten kann.
Der Kühlmittelbehälter ist werkseitig mit einer 50/50-Lösung aus Wasser und langlebigem Kühlmittel auf Ethylenglykolbasis gefüllt.
Important: Verwenden Sie nur handelsübliche Kühlmittel, die den in der Tabelle Kühlmittelprodukte mit verlängerter Lebensdauer aufgeführten Spezifikationen entsprechen.Verwenden Sie kein herkömmliches (grünes) Kühlmittel mit anorganischer Säuretechnologie (IAT) in Ihrer Maschine. Mischen Sie kein herkömmliches Kühlmittel mit Kühlmittel mit verlängerter Lebensdauer.
|
Ethylen-Glykol Kühlmittel |
Korrosionsinhibitor |
|
Frostschutzmittel mit verlängerter Lebensdauer |
Organische-Säure Technologie (OAT) |
|
Important: Verlassen Sie sich nicht auf die Farbe des Kühlmittels, um den Unterschied zwischen herkömmlichen (grün) Kühlmittel mit anorganischer Säuretechnologie (IAT) und Kühlmittel mit verlängerter Lebensdauer zu erkennen.Hersteller können Kühlmittel mit verlängerter Lebensdauer in einer der folgenden Farben einfärben: rot, rosa, orange, gelb, blau, türkis, violett und grün. Verwenden Sie Kühlmittel, die den in der Tabelle Kühlmittelprodukte mit verlängerter Lebensdauer Spezifikationen entsprechen. |
|
|
ATSM International |
SAE International |
|
D3306 und D4985 |
J1034, J814 und 1941 |
Important: Die Kühlmittelkonzentration sollte ein 50/50-Gemisch aus Kühlmittel und Wasser sein.
Bevorzugt: Wenn Sie Kühlmittel aus einem Konzentrat mischen, mischen Sie es mit destilliertem Wasser.
Bevorzugte Option: Wenn kein destilliertes Wasser verfügbar ist, verwenden Sie ein vorgemischtes Kühlmittel anstelle eines Konzentrats.
Mindestanforderung: Wenn destilliertes Wasser und vorgemischtes Kühlmittel nicht zur Verfügung stehen, mischen Sie konzentriertes Kühlmittel mit sauberem Trinkwasser.
| Wartungsintervall | Wartungsmaßnahmen |
|---|---|
| Bei jeder Verwendung oder täglich |
|
Wenn der Motor gelaufen ist, ist das Kühlmittel heiß und steht unter Druck, d. h., es kann ausströmen und Verbrühungen verursachen.
Entfernen Sie niemals den Kühlerdeckel, wenn der Motor noch läuft.
Verwenden Sie beim Öffnen des Kühlerdeckels einen Lappen und öffnen den Kühler langsam, damit Dampf ohne Gefährdung austreten kann.
Prüfen Sie den Kühlmittelstand im Ausdehnungsgefäß (Bild 67).
Er muss sich zwischen den Marken an der Seite des Gefäßes befinden.

Entfernen Sie bei niedrigem Stand des Kühlmittels den Deckel vom Ausdehnungsgefäß und füllen entsprechend nach. Füllen Sie nicht zu viel ein.
Setzen Sie den Deckel des Ausdehnungsgefäßes auf.
| Wartungsintervall | Wartungsmaßnahmen |
|---|---|
| Bei jeder Verwendung oder täglich |
|
Parken Sie die Maschine auf einer ebenen Fläche, senken Sie die Mähwerke ab, stellen den Motor ab, aktivieren die Feststellbremse und ziehen den Schlüssel ab.
Entfernen Sie den Kugelstift von der Gitterverriegelung (Bild 68)

Entriegeln Sie das Motorgitter, öffnen Sie es und heben Sie es von der Maschine ab (Bild 69).

Reinigen Sie die Gitter.
Entriegeln und öffnen Sie die Motorhaube (Bild 70).

Entfernen Sie alle Rückstände aus dem Motorbereich.
Reinigen Sie beide Seiten des Kühlers und des Ölkühlers gründlich mit Druckluft (Bild 71).

Schließen und verriegeln Sie die Haube.
Setzen Sie die Gitter auf die Drehzapfen, schließen Sie das Gitter und sichern Sie es mit dem Riegel und dem Kugelstift.
| Wartungsintervall | Wartungsmaßnahmen |
|---|---|
| Nach 50 Betriebsstunden |
|
| Alle 250 Betriebsstunden |
|
Üben Sie eine Kraft von 100 N (10 kg) auf den Lichtmaschinenriemen (Bild 72) in der Mitte zwischen den Riemenscheiben aus.
Note: Der Riemen sollte sich 10 mm durchbiegen.

Führen Sie die folgenden Schritte aus, wenn die Riemenspannung falsch ist:
Wenn der Riemen um weniger als 10 mm ausgelenkt werden kann, lösen Sie den Drehstift und die Spannschraube (Bild 72) der Lichtmaschine und verringern Sie die Riemenspannung.
Wenn der Riemen um mehr als 10 mm ausgelenkt werden kann, lösen Sie den Drehstift und die Spannschraube (Bild 72) der Lichtmaschine und erhöhen Sie die Riemenspannung.
Note: Lösen Sie bei Bedarf die Spannschraube der Halterung (Bild 72).
Ziehen Sie die Schrauben fest (Bild 72).
Prüfen Sie die Auslenkung des Riemens nochmals auf korrekte Riemenspannung.
Suchen Sie beim Einspritzen unter die Haut sofort einen Arzt auf. In die Haut eingedrungene Flüssigkeit muss sie innerhalb weniger Stunden von einem Arzt entfernt werden.
Stellen Sie sicher, dass alle Hydraulikschläuche und -leitungen in gutem Zustand und alle Hydraulikverbindungen und -anschlussstücke fest angezogen sind, bevor Sie die Hydraulikanlage unter Druck setzen.
Halten Sie Ihren Körper und Ihre Hände von Nadellöchern und Düsen fern, aus denen Hydrauliköl unter hohem Druck ausgestoßen wird.
Gehen Sie hydraulischen Undichtheiten nur mit Pappe oder Papier nach.
Lassen Sie den Druck in der Hydraulikanlage auf eine sichere Art und Weise ab, bevor Sie irgendwelche Arbeiten an der Hydraulikanlage durchführen.
| Wartungsintervall | Wartungsmaßnahmen |
|---|---|
| Bei jeder Verwendung oder täglich |
|
Prüfen Sie die hydraulischen Leitungen und Schläuche auf Dichtheit, Knicke, lockere Stützteile, Abnutzung, lockere Verbindungsteile, witterungsbedingte Minderung und chemischen Angriff. Führen Sie alle erforderlichen Reparaturen vor der Inbetriebnahme durch.
Der Behälter wird im Werk mit hochwertigem Hydrauliköl gefüllt. Prüfen Sie den Stand des Hydrauliköls vor dem ersten Anlassen des Motors und dann täglich; siehe Prüfen des Hydraulikölstands.
Empfohlenes Hydrauliköl: Toro PX Extended Life Hydraulic Fluid; erhältlich in 19-l-Eimern oder 208-l-Fässern.
Note: An einer Maschine, die mit dem empfohlenen Ersatzhydrauliköl befüllt wird, muss weniger häufig ein Öl- oder Filterwechsel durchgeführt werden.
Ersatzölsorten: Wenn das Toro PX Extended Life Hydraulic Fluid nicht erhältlich ist, können Sie andere handelsübliche, auf Erdöl basierende, Hydraulikflüssigkeiten verwenden, dessen Spezifikationen für alle folgenden Materialeigenschaften im aufgeführten Bereich liegen und die Industrienormen erfüllen. Kein synthetisches Öl verwenden. Wenden Sie sich an den Ölhändler, um einen entsprechenden Ersatz zu finden.
Note: Toro haftet nicht für Schäden, die aus einer unsachgemäßen Substitution entstehen. Verwenden Sie also nur Erzeugnisse namhafter Hersteller, die für die Qualität ihrer Produkte garantieren.
| Materialeigenschaften: | ||
| Viskosität, ASTM D445 | cSt @ 40 °C, 44 bis 48 | |
| Viskositätsindex ASTM D2270 | 140 oder höher | |
| Stockpunkt, ASTM D97 | -34 °C bis -45 °C | |
| Branchenspezifikationen: | Eaton Vickers 694 (I-286-S, M-2950-S/35VQ25 oder M-2952-S) | |
Note: Viele Hydraulikölsorten sind fast farblos, was das Erkennen von undichten Stellen erschwert. Als Beimischmittel für das Hydrauliköl können Sie ein rotes Färbmittel in 20 ml Flaschen kaufen. Eine Flasche reicht für 15-22 l Hydrauliköl. Sie können es unter der Teilenummer 44-2500 über Ihren Toro-Vertragshändler beziehen.
Important: Das synthetische und biologisch abbaubare Hydrauliköl Toro Premium ist das einzige von Toro zugelassene synthetische biologisch abbaubare Hydrauliköl. Dieses Öl ist mit den Elastomeren kompatibel, die in den Hydraulikanlagen von Toro verwendet werden, und eignet sich für viele Klimata. Dieses Öl ist mit konventionellen Mineralölen kompatibel. Sie sollten die Hydraulikanlage jedoch gründlich spülen, um das konventionelle Öl zu entfernen, um die beste biologische Abbaubarkeit und Leistung zu erhalten. Das Öl ist in Behältern mit 19 L oder Fässern mit 208 L bei Ihrem Toro-Vertragshändler erhältlich.
| Wartungsintervall | Wartungsmaßnahmen |
|---|---|
| Bei jeder Verwendung oder täglich |
|
Der Behälter wird im Werk mit hochwertigem Hydrauliköl gefüllt. Prüfen Sie den Stand des Hydrauliköls, wenn das Öl kalt ist.
Parken Sie die Maschine auf einer ebenen Fläche, senken Sie die Schneideinheiten ab, aktivieren Sie die Feststellbremse, stellen Sie den Motor ab und ziehen Sie den Zündschlüssel ab.
Überprüfen Sie das Schauglas an der Seite des Behälters.
Note: Der Hydraulikölstand muss an der oberen Markierung liegen.
Wenn zusätzliches Hydrauliköl erforderlich ist, entfernen Sie das Ablagefach; siehe Entfernen des Ablagefachs.
Reinigen Sie den Bereich um den Füllstutzen und den Deckel des Hydraulikölbehälters (Bild 73).


Entfernen Sie den Deckel und füllen Sie den Behälter mit der angegebenen Hydraulikölsorte bis zur oberen Markierung am Schauglas.
Important: Füllen Sie nicht zu viel Hydrauliköl in den Behälter.
Setzen Sie den Deckel auf den Behälter.
Montieren Sie das Ablagefach, siehe Einbauen des Ablagefachs.
| Wartungsintervall | Wartungsmaßnahmen |
|---|---|
| Alle 500 Betriebsstunden |
|
| Alle 1000 Betriebsstunden |
|
Parken Sie die Maschine auf einer ebenen Fläche, senken Sie die Mähwerke ab, stellen den Motor ab, aktivieren die Feststellbremse und ziehen den Schlüssel ab.
Öffnen der Motorhaube.
Reinigen Sie auf der linken Seite der Maschine den Bereich um den Filterkopf und stellen Sie eine Auffangwanne unter den Filter (Bild 74).

Entfernen Sie den Rücklauffilter (Bild 74).
Schmieren Sie die Dichtung des neuen Rücklauffilters mit sauberem Hydrauliköl ein.
Montieren Sie den Filter am Filterkopf und ziehen Sie den Filter von Hand fest, bis die Dichtung die Montagefläche berührt, und drehen Sie ihn dann um eine weitere 1/2-Umdrehung weiter (Bild 74).
Starten Sie den Motor und lassen ihn zwei Minuten lang laufen, um die Anlage zu entlüften.
Stellen Sie den Motor ab und ziehen Sie den Schlüssel ab und prüfen Sie die Maschine auf Undichtigkeiten.
Schließen und verriegeln Sie die Haube.
| Wartungsintervall | Wartungsmaßnahmen |
|---|---|
| Alle 500 Betriebsstunden |
|
| Alle 1000 Betriebsstunden |
|
Wenn das Öl verunreinigt ist, wenden Sie sich an den offiziellen Vertragshändler von Toro, um die Anlage zu spülen. Verunreinigtes Öl sieht im Vergleich zu sauberem Öl milchig oder schwarz aus.
Parken Sie die Maschine auf einer ebenen Fläche, senken Sie die Mähwerke ab, stellen den Motor ab, aktivieren die Feststellbremse und ziehen den Schlüssel ab.
Entfernen Sie das Ablagefach, siehe Entfernen des Ablagefachs.
Legen Sie eine Ablaufwanne unter den Hydraulikölbehälter, entfernen Sie die Ablassen des Hydraulikölbehälters und lassen Sie das Hydrauliköl vollständig ablaufen (Bild 75).

Installieren Sie die Ablassschraube mit einer neuen Dichtung.
32 Liter, siehe Hydrauliköl – technische Angaben
Füllen Sie den Hydraulikölbehälter mit dem vorgegebenen Hydrauliköl, siehe Hydrauliköl – technische Angaben und Prüfen des Hydraulikölstands.
Important: Verwenden Sie nur die angegebenen Hydrauliköle; andere Hydrauliköle könnten das System beschädigen.
Lassen Sie die Maschine laufen und bedienen Sie alle Hydraulikanlagen, bis das Hydrauliköl warm ist.
Prüfen Sie den Ölstand und füllen Sie ggf. Öl bis zur oberen Markierung am Schauglas ein.
Montieren Sie das Ablagefach, siehe Einbauen des Ablagefachs.
Ein abgenutztes oder beschädigtes Messer oder Untermesser kann zerbrechen und Teile davon herausgeschleudert werden, und Sie oder Unbeteiligte treffen und schwere oder tödliche Verletzungen verursachen.
Prüfen Sie die Messer und Untermesser regelmäßig auf Abnutzung oder Beschädigungen.
Kontrollieren Sie die Messer vorsichtig. Lassen Sie bei der Wartung dieser Teile große Vorsicht walten, und tragen Sie Handschuhe. Die Spindeln und Untermesser sollten nur ersetzt oder geläppt werden; sie dürfen keinesfalls geglättet oder geschweißt werden.
Achten Sie bei Maschinen mit mehreren Schneideinheiten darauf, wenn Sie eine Schneideinheit drehen, dass sich dadurch die anderen Spindeln in den anderen Schneideinheiten mitdrehen können.
| Wartungsintervall | Wartungsmaßnahmen |
|---|---|
| Jährlich |
|
Tauschen Sie stets gegenüberliegende Messerpaare oder den gesamten Schlegeldrehzylinder aus, um Unwuchten zu vermeiden. Ersetzen Sie ebenfalls die Lagerbuchse, die Schraube und die Sicherungsmutter, wenn Sie die Messer austauschen. Es werden zwei Messerwartungskits für den Messeraustausch angeboten, siehe Ersatzteilkatalog.
Heben Sie die Mähwerke an und befestigen Sie sie mit den Transportriegeln.
Aktivieren Sie die Feststellbremse, stellen den Motor ab und ziehen den Zündschlüssel ab.
Wenn Sie Messer am mittleren Mähwerk austauschen, sollten Sie das ganze Mähwerk abnehmen, wenn keine Hebevorrichtung zur Verfügung steht.
Drehen Sie den Drehzylinder langsam mit der Hand, sodass jede Reihe der Schlegel in der gewünschten Stellung und leicht zugänglich ist.
Arretieren Sie den Drehzylinder mit dem Arretierwerkzeug für den Drehzylinder (liegt dem Messerschärfungskit bei).
Entfernen Sie Rückstände vom Schraubenkopf und der Mutter und reinigen Sie das herausstehende Gewinde mit einer Drahtbürste.
Markieren Sie die Stellung des Schraubenkopfs, damit Sie die Schrauben von derselben Seite austauschen können.
Fassen Sie das Messer mit einem Lappen oder dicken Handschuh an, entfernen Sie die Mutter, die Büchse und das Messer (Bild 77).
Note: Tragen Sie ggf. rostlösendes Öl auf das Gewinde auf, um das Entfernen der Mutter zu erleichtern.

Entsorgen Sie das Messer, die Buchse und Schraube.
Setzen Sie ein neues Messer und eine neue Buchse mit einer neuen Mutter und Messerschraube ein (Bild 77).
Note: Achten Sie auf die Markierungen am Schraubenkopf, damit Sie die Schraube in derselben Richtung austauschen.
Ziehen Sie die Befestigungen mit 45 N·m an.
| Wartungsintervall | Wartungsmaßnahmen |
|---|---|
| Alle 50 Betriebsstunden |
|
Stellen Sie sicher, dass alle Messerschrauben mit 45 N·m angezogen sind.
| Wartungsintervall | Wartungsmaßnahmen |
|---|---|
| Bei jeder Verwendung oder täglich |
|
| Alle 50 Betriebsstunden |
|
Important: Messer sollten immer mit dem gegenüberliegenden Messer als Paar ausgetauscht werden, um die Ausgeglichenheit zu bewahren.
Stellen Sie die Maschine auf einer ebenen Fläche ab.
Heben Sie das Mähwerk an und stützen es mit den Transportriegeln ab.
Stellen Sie den Motor ab, aktivieren Sie die Feststellbremse und ziehen Sie den Schlüssel ab.
Prüfen Sie jedes Messer auf Beschädigungen und achten Sie besonders auf die Befestigungen, die Schnittkante und die Befestigungslöcher (Bild 78). Ersetzen Sie beschädigte Messer und Befestigungen.

Prüfen Sie jedes Messer mit der Verschleißlinie auf zu starke Abnutzung (Bild 79). Wenn ein Messer bis auf die Verschleißlinie abgenutzt ist, tauschen Sie das Messer aus.

Ziehen Sie die Messerschraube mit 45 N·m an.
Fassen Sie jedes Messer an und stellen sicher, dass es höchstens 3 mm in jede Richtung vom Drehzylinder bewegt werden kann. Tauschen Sie das Messer aus, wenn es mehr als 3 mm bewegt werden kann.
Prüfen Sie jedes Paar der gegenüberliegenden Messer auf einen Gewichtsunterschied.
Note: Jedes Paar der gegenüberliegenden Messer sollte höchsten einen Gewichtsunterschied von 10 Gramm haben.
Ein abgenutztes oder beschädigtes Messer kann zerbrechen. Herausgeschleuderte Messerstücke können Sie oder Unbeteiligte treffen und schwere oder tödliche Verletzungen verursachen.
Prüfen Sie die Messer regelmäßig auf Abnutzung oder Beschädigungen.
Tauschen Sie ein abgenutztes oder defektes Messer aus.
| Wartungsintervall | Wartungsmaßnahmen |
|---|---|
| Bei jeder Verwendung oder täglich |
|
Prüfen Sie die hintere Schutzvorrichtung auf Abnutzung und Beschädigungen (Bild 80). Wechseln Sie eine beschädigte hintere Schutzvorrichtung aus, damit keine Objekte in den Bereich des Bedieners geschleudert werden.

Restdruck in der Hydraulikanlage kann zu Verletzungen führen, da sich die Schlegeldrehzylinder plötzlich bewegen können, wenn die Blockade gelöst wird.
Versuchen Sie nie, die Schlegeldrehzylinder mit der Hand zu drehen oder Verstopfungen zu entfernen.
Tragen Sie immer Schutzhandschuhe und verwenden Sie einen Holzstab.
Stellen Sie sicher, dass der Holzstab in den Schlegeldrehzylinder passt und lang genug ist, um die nötige Hebelwirkung zum Lösen der Verstopfung zu erbringen.
Stellen Sie den Mähwerk-Antriebsschalter in die AUS-Stellung.
Parken Sie die Maschine auf einer ebenen Fläche, lösen die Pedale für das Vorwärts- oder Rückwärtsfahren, stellen Sie die Gasbedienung in die Stellung für die niedrige Motordrehzahl und aktivieren Sie die Feststellbremse.
Senken Sie die Mähwerke auf den Boden ab und verriegeln Sie diese fest in ihrer vorgesehenen Transportstellung.
Stellen Sie den Motor ab, ziehen Sie den Schlüssel ab und warten Sie, bis die Schlegeldrehzylinder zum Stillstand gekommen sind.
Entfernen Sie die Verstopfung mit einem Holzstab.
Important: Der Schlegeldrehzylinder kann sich drehen, wenn Sie die Verstopfung entfernen.
Important: Stützen Sie den Holzstab im Mähwerk ab, um rohe Gewalt zu vermeiden, wenn Sie die Verstopfung entfernen.
Entfernen Sie den Holzstab aus dem Mähwerk, bevor Sie den Motor anlassen.
Reparieren oder stellen Sie das Mähwerk ggf. ein.
| Wartungsintervall | Wartungsmaßnahmen |
|---|---|
| Bei jeder Verwendung oder täglich |
|
Prüfen Sie die vorderen Schutzvorrichtungen auf Abnutzung und Beschädigungen (Bild 81). Wechseln Sie eine beschädigte vordere Schutzvorrichtung aus, damit keine Objekte in Ihre Richtung geschleudert werden.

| Wartungsintervall | Wartungsmaßnahmen |
|---|---|
| Bei jeder Verwendung oder täglich |
|
| Alle 50 Betriebsstunden |
|
Heben Sie die Schneideinheit an und stützen Sie diese ab.
Fassen Sie jedes Mähwerk an und achten Sie auf ein zu großes Spiel seitlich und nach oben und unten.
| Wartungsintervall | Wartungsmaßnahmen |
|---|---|
| Bei jeder Verwendung oder täglich |
|
| Alle 50 Betriebsstunden |
|
Lassen Sie jedes Mähwerk mit maximaler Motordrehzahl laufen, um ungewöhnliche Vibrationen des Drehzylinders zu erkennen.
Note: Wenn Sie eine ungewöhnliche Vibration erkennen, prüfen Sie auf Beschädigung oder zu große Abnutzung des Drehzylinders oder der Messer. Alle Messer müssen ungefähr gleich abgenutzt sein, da sich das Gewicht auf die Auswuchtung des Drehzylinders auswirkt.
Note: Wenn Sie das Vibrationsproblem nicht beheben können, wenden Sie sich an den offiziellen Vertragshändler.
Heben Sie die Schneideinheit an und stützen Sie diese ab.
Fassen Sie den Drehzylinder an jedem Ende an und achten Sie auf ein zu großes Spiel am Ende.
Note: Wenn Sie erkennen, dass der Drehzylinder zu viel Spiel am Ende hat, wenden Sie sich an Ihren offiziellen Vertragshändler.
Note: Wenn der Drehzylinder ausgetauscht oder ausgewuchtet werden muss, wenden Sie sich an Ihren offiziellen Vertragshändler.
| Wartungsintervall | Wartungsmaßnahmen |
|---|---|
| Alle 50 Betriebsstunden |
|
Important: Stellen Sie sicher, dass die Rollenlager an den Mähwerken gut eingestellt sind, um eine maximale Nutzungsdauer zu gewährleisten. Ein zu großes Spiel am Rollenende führt zu einer frühen Beschädigung des Lagers.
Fassen Sie die Rolle und bewegen Sie diese zur Seite, nach oben und unten.
Ziehen Sie bei einer zu starken Bewegung die Muttern an jedem Ende der Rolle mit einem Schraubenschlüssel gerade so weit an, um ein Spiel am Ende zu entfernen (Bild 82).
Note: Die Rolle sollte sich nach der Anpassung weiterhin frei drehen lassen. Ein zu starkes Anziehen der Muttern könnte zu vorzeitigen Schäden am Lager führen.
Note: Stellen Sie die Muttern an beiden Seiten der Rollen auf die gleiche Höhe ein.

| Wartungsintervall | Wartungsmaßnahmen |
|---|---|
| Alle 50 Betriebsstunden |
|
Die Abstreiferdrähte müssen für eine maximale Nutzungsdauer richtig gespannt sein.
Ziehen Sie die Befestigungsmuttern des Abstreiferdrahts vorsichtig an, damit die Abstreiferdrähte nicht durchhängen.
Ziehen Sie die Muttern um vier ganze Umdrehungen an, um den Draht richtig zu spannen (Bild 83).

Note: Ziehen Sie den Abstreiferdraht nicht zu fest an.
| Wartungsintervall | Wartungsmaßnahmen |
|---|---|
| Bei jeder Verwendung oder täglich |
|
Kontrollieren Sie den Sicherheitsgurt auf Verschleiß, Risse und andere Beschädigungen. Ist eine Komponente der Sicherheitsgurt(e) nicht mehr funktionsfähig, ersetzen Sie den Sicherheitsgurt.
Den Sicherheitsgurt bei Bedarf reinigen.
| Wartungsintervall | Wartungsmaßnahmen |
|---|---|
| Bei jeder Verwendung oder täglich |
|
Prüfen Sie die Maschine auf lose und fehlende Befestigungselemente.
Note: Ziehen Sie alle losen Befestigungselemente an und ersetzen Sie alle fehlenden Befestigungselemente.
| Wartungsintervall | Wartungsmaßnahmen |
|---|---|
| Alle 250 Betriebsstunden |
|
| Alle 1500 Betriebsstunden |
|
| Alle 2 Jahre |
|
Waschen Sie die Maschine nach Bedarf nur mit Wasser oder mit einem milden Reinigungsmittel. Zum Reinigen der Maschine kann ein Putztuch/-lappen verwendet werden.
Important: Verwenden Sie zur Reinigung der Maschine kein Brack- oder wiederaufbereitetes Wasser.
Important: Reinigen Sie die Maschine nicht mit einem Hochdruckreiniger. Hochdruckreiniger können die Elektroanlage beschädigen, wichtige Aufkleber lösen und das an den Reibungsstellen benötigte Fett wegspülen. Vermeiden Sie den Einsatz von zu viel Wasser, insbesondere in der Nähe des Armaturenbretts, des Motors und der Batterie.
Important: Reinigen Sie die Maschine bei laufendem Motor nicht mit Wasser. Andernfalls kann es zu internen Motorschäden kommen.
Bevor Sie den Fahrerstand verlassen, gehen Sie wie folgt vor:
Stellen Sie die Maschine auf einer ebenen Fläche ab.
Entriegeln und senken Sie die Mähwerke auf den Boden ab.
Aktivieren Sie die Feststellbremse.
Stellen Sie den Motor ab und ziehen Sie den Schlüssel ab.
Warten Sie, bis alle beweglichen Teile zum Stillstand gekommen sind.
Lassen Sie die Maschine abkühlen, bevor Sie diese einstellen, warten, reinigen oder einlagern.
Lagern Sie die Maschine oder den Benzinkanister nie an Orten mit offener Flamme, Funken oder Zündflamme, z. B. Warmwasserbereiter, oder anderen Geräten.
Parken Sie die Maschine auf einer ebenen Fläche, senken Sie die Schneideinheiten ab, aktivieren Sie die Feststellbremse, stellen Sie den Motor ab und ziehen Sie den Zündschlüssel ab.
Reinigen Sie die Zugmaschine, Mähwerke und den Motor gründlich.
Prüfen Sie den Reifendruck, siehe Prüfen des Reifendrucks.
Prüfen Sie auf lockere Befestigungsteile und ziehen diese bei Bedarf fest.
Fetten und ölen Sie alle Schmiernippel und Drehpunkte ein. Wischen Sie überflüssiges Fett ab.
Schmirgeln Sie alle Lackschäden leicht und bessern Bereiche aus, die angekratzt, abgesprungen oder verrostet sind. Reparieren Sie alle Blechschäden.
Lassen Sie das Motoröl vom Motor ab und schrauben die Ablassschraube wieder ein.
Entfernen und entsorgen Sie den Ölfilter. Montieren Sie einen neuen Ölfilter.
Füllen Sie das vorgegebene Motoröl in den Motor an.
Lassen Sie den Motor an und lassen Sie ihn ca. 2 Minuten lang im Leerlauf laufen.
Stellen Sie den Motor ab und ziehen Sie den Schlüssel ab.
Spülen Sie den Kraftstofftank mit frischem, sauberem
Befestigen Sie alle Teile der Kraftstoffanlage.
Reinigen und warten Sie den Luftfilter gründlich.
Dichten Sie die Ansaugseite des Luftfilters und das Auspuffrohr mit witterungsbeständigem Klebeband ab.
Prüfen Sie den Frostschutz und füllen bei Bedarf eine 50/50-Mischung aus Wasser und Ethylenglykol-Frostschutzmittel ein, die den in Ihrer Region zu erwartenden Mindesttemperaturen entsprechen muss.
Warten Sie die Batterie und -kabel wie folgt, siehe Hinweise zur Sicherheit der Elektroanlage.
Entfernen Sie die Batterieklemmen von den -polen.
Reinigen Sie den Akku, die Akkuklemmen und -pole mit einer Drahtbürste und Natronlauge.
Überziehen Sie die Kabelklemmen und Akkupole mit Grafo 112X-Fett (Toro-Bestellnummer 505-47) oder mit Vaseline, um einer Korrosion vorzubeugen.
Laden Sie den Akku alle 60 Tage 24 Stunden lang langsam auf, um einer Bleisulfation des Akkus vorzubeugen.
| Problem | Possible Cause | Corrective Action |
|---|---|---|
| Es gibt Bereiche mit ungemähtem Gras bei der Überlappung zwischen den Mähwerken. |
|
|
| Kammlinien über die ganze Breite im geschnittenen Gras über die Fahrrichtung. |
|
|
| Es bestehen Kammlinien im Bereich des geschnittenen Grases, vertikal zur Fahrtrichtung, über die Mähbreite eines Mähwerks. |
|
|
| Es besteht ein Unterschied in der Schnitthöhe an der Überschneidung zwischen Mähwerken. |
|
|
| Einige nicht oder schlecht geschnittene Grasstreifen. |
|
|
| Nicht oder schlecht geschnittene Grasstreifen in der Fahrtrichtung. |
|
|
| Es gibt Abschürfungen auf der Grünfläche. |
|
|
| Das Messer weist einen übermäßigen Verschleiß auf. |
|
|
| Der Motor springt nicht mit Zündschlüssel an. |
|
|
| Die Batterie hat keinen Strom. |
|
|
| Das Hydrauliköl ist überhitzt. |
|
|
| Die Bremsanlage funktioniert nicht richtig. |
|
|
| Die Lenkung funktioniert nicht. |
|
|
| Die Maschine bewegt sich weder vorwärts noch rückwärts. |
|
|
| Die Maschine kriecht im Leerlauf nach vorne oder hinten. |
|
|
| Die Hydraulikanlage ist zu laut. |
|
|
| Die Maschine verliert nach anfänglich zufriedenstellendem Betrieb die Leistung. |
|
|
| Die Drehzylinder vibrieren übermäßig stark. |
|
|
| Ein Drehzylinder dreht sich zu langsam. |
|
|
| Ein Mähwerk kann nicht von der Arbeitsstellung angehoben werden. |
|
|
| Die Mähwerke folgen nicht der Bodenkontur. |
|
|
| Die Mähwerke starten nicht, wenn sie auf die Arbeitsfläche abgesenkt werden. |
|
|
| Der Drehzylinder dreht sich in die falschen Richtung. |
|
|