| Intervalo de mantenimiento y servicio | Procedimiento de mantenimiento |
|---|---|
| Cada vez que se utilice o diariamente |
|
Esta máquina es un cortacésped de asiento equipado con cuchillas desbrozadoras, y está diseñada para ser usada por operadores profesionales contratados en aplicaciones comerciales. Se ha diseñado principalmente para cortar hierba en césped bien mantenido. El uso de este producto para otros propósitos que los previstos podría ser peligroso para usted y para otras personas.
Lea este manual detenidamente para aprender a utilizar y mantener correctamente su producto, y para evitar lesiones y daños al producto. Usted es responsable de utilizar el producto de forma correcta y segura.
Visite www.toro.com/es-es para obtener más información, incluidos consejos de seguridad, materiales de formación, información sobre accesorios, ayuda para encontrar a un distribuidor o para registrar su producto.
Cuando necesite asistencia técnica, piezas genuinas Toro o información adicional, póngase en contacto con un Servicio Técnico Autorizado o con Asistencia al Cliente de Toro, y tenga a mano los números de modelo y serie de su producto. Figura 1 identifica la ubicación de los números de modelo y serie en el producto. Escriba los números en el espacio provisto.
Important: Con su dispositivo móvil, puede escanear el código QR de la calcomanía del número de serie (en su caso) para acceder a información sobre la garantía, las piezas, y otra información sobre el producto.

Este producto cumple todas las directivas europeas aplicables; si desea más detalles, consulte la Declaración de Conformidad (Declaration of Conformity – DOC) de cada producto.
Este producto es capaz de amputar manos y pies y de lanzar objetos al aire.
Lea y comprenda el contenido de este manual del operador antes de arrancar el motor.
Preste toda su atención al utilizar la máquina. No realice ninguna actividad que genere distracciones, de lo contrario pueden producirse lesiones o daños en la propiedad.
No coloque las manos o los pies cerca de componentes en movimiento de la máquina.
No utilice la máquina a menos que tenga instalados y estén en funcionamiento todos los protectores y otros dispositivos de seguridad.
Mantenga a otras personas, especialmente a los niños, alejadas del área de operación. Nunca permita a los niños utilizar la máquina.
Apague el motor, retire la llave y espere a que se detenga todo movimiento antes de dejar el puesto del operador. Deje que la máquina se enfríe antes de realizar ajustes, tareas de mantenimiento y de limpieza o de guardarla.
El símbolo de alerta de seguridad (Figura 2) que aparece en este manual y en la máquina identifica mensajes de seguridad importantes que usted debe observar para evitar accidentes.

El símbolo de alerta de seguridad aparece encima de información que le alerta ante acciones o situaciones inseguras, y va seguido de la palabra PELIGRO, ADVERTENCIA, o CUIDADO.
PELIGRO: Indica una situación peligrosa inminente, que si no se evita, causará la muerte o lesiones graves.
ADVERTENCIA indica una situación potencialmente peligrosa que si no se evita, podría causar la muerte o lesiones graves.
CUIDADO: Indica una situación potencialmente peligrosa que si no se evita, podría causar lesiones menores o moderadas.
Este manual utiliza dos palabras más para resaltar información. Importante llama la atención sobre información mecánica especial, y Nota resalta información general que merece una atención especial.
![]() |
Las pegatinas e instrucciones de seguridad están a la vista del operador y están ubicadas cerca de cualquier zona de peligro potencial. Sustituya cualquier pegatina que esté dañada o que falte. |























Guarde toda la documentación en un lugar seguro para su referencia en el futuro.
Note: Los lados derecho e izquierdo de la máquina se determinan desde la posición normal del operador.


El interruptor de encendido se utiliza para controlar el motor y el suministro eléctrico a determinados componentes eléctricos.

Utilice la transmisión de las unidades de corte para poner en marcha o parar las unidades de corte (Figura 4).
Note: Ponga el interruptor de la transmisión de las unidades de corte en la posición de DESENGRANADO mientras conduce la máquina entre diferentes lugares de trabajo.
Los interruptores de control de elevación se utilizan para elevar y bajar las unidades de corte (Figura 4).
El interruptor de velocidad del motor se utiliza para controlar la velocidad del motor.
El interruptor de velocidad del motor (Figura 4) permite cambiar la velocidad del motor de 2 maneras.
Toque momentáneamente el interruptor para cambiar la velocidad del motor en incrementos de 100 rpm.
Presione el interruptor hacia adelante para cambiar el motor a RALENTí ALTO.
Presione el interruptor hacia atrás para cambiar el motor a RALENTí BAJO.
El freno de estacionamiento actúa únicamente sobre las ruedas delanteras, y puede no ser suficiente para evitar que la máquina ruede cuesta abajo. La máquina podría desplazarse accidentalmente.
No aparque la máquina en una pendiente.

Para poner el freno de estacionamiento, deslice hacia atrás el botón pequeño de bloqueo de la parte superior del interruptor, y presione el interruptor hacia adelante (Figura 6).
Note: Se muestra el icono del freno de estacionamiento en el InfoCenter.
Para quitar el freno de estacionamiento, presione el interruptor hacia atrás.
La transmisión hidráulica proporciona un efecto de freno de servicio. Cuando usted suelta los pedales de desplazamiento hacia adelante o hacia atrás, o reduce la velocidad del motor, la transmisión produce un efecto de frenado y la velocidad de avance disminuye o la máquina se detiene. Para aumentar el efecto de frenado de la transmisión, ponga el pedal de la transmisión en PUNTO MUERTO. El efecto de freno de servicio actúa solamente en las ruedas delanteras.
El sistema de frenado de servicio no evita que la máquina se desplace cuando está aparcada. La máquina podría desplazarse accidentalmente.
Ponga el freno de estacionamiento cada vez que aparque la máquina.
Si el freno de servicio está dañado o no funciona correctamente, apague el motor, ponga el freno de estacionamiento, retire la llave y haga que la máquina se repare.
Desplazamiento hacia adelante: Pise el pedal de tracción hacia adelante para conducir hacia adelante y aumentar la velocidad de avance. Suelte el pedal para reducir la velocidad de avance (Figura 7).
Desplazamiento hacia atrás: Pise el pedal de tracción hacia atrás para conducir la máquina hacia atrás y aumentar la velocidad de avance. Suelte el pedal para reducir la velocidad de avance (Figura 7).
Parada (punto muerto): para detener la máquina, utilice uno de los procedimientos siguientes:
Reduzca la presión sobre el pedal de tracción y deje que vuelva a la posición de punto muerto. La máquina frena dinámicamente y se detiene suavemente.
Toque o pise brevemente el pedal de marcha atrás. Esto detiene la máquina más rápidamente que el frenado dinámico.

Ajuste el volante y la columna solamente cuando la máquina esté aparcada en un terreno llano.
Para inclinar el volante, pise el pedal.
Coloque la columna de dirección en la posición más cómoda, y suelte el pedal (Figura 8).

Mueva la palanca hacia arriba para ajustar la posición hacia adelante y hacia atrás del asiento. Suelte la palanca para bloquear la posición el asiento (Figura 9).

Gire la palanca en sentido antihorario para aumentar la rigidez de la suspensión y en sentido antihorario para reducirla. El dial indica si la suspensión del asiento está ajustada para el peso del operador (kg); consulte la Figura 10.

Para ajustar la altura del asiento de forma incremental, eleve el asiento manualmente. Para bajar el asiento, levántelo más allá de la altura máxima, deje que caiga al ajuste más bajo y, si es necesario, levante el asiento manualmente a la altura deseada (Figura 11).

Tire de la palanca hacia fuera para ajustar el ángulo del respaldo del asiento. Suelte la palanca para bloquear el respaldo del asiento en esa posición (Figura 12).

El indicador de combustible muestra la cantidad de combustible que hay en el depósito (Figura 13).

Eleve las unidades de corte a la posición de TRANSPORTE y sujete los pasadores a los enganches con las anillas de seguridad (Figura 14).

Eleve las unidades de corte a la posición de TRANSPORTE, eleve el brazo de enganche del brazo de la unidad de corte trasera y mueva el brazo hacia dentro (Figura 15).

Note: Las especificaciones y diseños están sujetos a modificación sin previo aviso.
| Especificación | LT-F3000 |
| Anchura de transporte | 157,5 cm |
| Anchura de corte | 76 cm a 212 cm |
| Altura de corte | 20 mm a 75 mm |
| Longitud | 300 cm |
| Altura | 168 cm con el ROPS bajado |
| 216 cm con ROPS subido | |
| 209 cm con cabina | |
| Peso (sin combustible ni accesorios) | 1436 kg con ROPS |
| 1636 kg con cabina | |
| Motor | Yanmar 3TNV86CT 32,4 kw a 3000 rpm |
| Capacidad del depósito de combustible | 60 litros |
| Velocidad de transporte | 25 km/h |
| Velocidad de siega | 11 km/h |
| Capacidad del sistema hidráulico | 32 litros |
| Velocidad del motor | 3000 rpm |
| Velocidad del rotor | 3000 rpm |
Está disponible una selección de aperos y accesorios homologados por Toro que se pueden utilizar con la máquina a fin de potenciar y aumentar sus prestaciones. Póngase en contacto con su Servicio Técnico Autorizado o con un distribuidor autorizado Toro, o visite www.toro.com/es-es para obtener una lista de todos los aperos y accesorios homologados.
Para asegurar un rendimiento óptimo y mantener la certificación de seguridad de la máquina, utilice solamente piezas y accesorios genuinos Toro. Las piezas de repuesto y accesorios de otros fabricantes podrían ser peligrosos, y su uso podría invalidar la garantía del producto.
No deje nunca que la máquina sea utilizada o mantenida por niños o por personas que no hayan recibido la formación adecuada al respecto. La normativa local puede imponer límites sobre la edad del operador. El propietario es responsable de proporcionar formación a todos los operadores y mecánicos.
Familiarícese con la operación segura del equipo, los controles del operador y las señales de seguridad.
Antes de dejar el puesto del operador, realice lo siguiente:
Aparque la máquina en una superficie nivelada.
Desengrane y baje las unidades de corte.
Accione el freno de estacionamiento.
Apague el motor y retire la llave.
Espere a que se detenga todo movimiento.
Deje que la máquina se enfríe antes de realizar ajustes, tareas de mantenimiento y de limpieza o de guardarla.
Sepa cómo parar la máquina y apagar el motor rápidamente.
No utilice la máquina a menos que tenga instalados y estén en funcionamiento todos los protectores y otros dispositivos de seguridad.
Antes de segar, siempre inspeccione la máquina para asegurarse de que las unidades de corte están en buenas condiciones de funcionamiento.
Inspeccione la zona en la que va a utilizar la máquina y retire cualquier objeto que pudiera ser arrojado por la máquina.
Este producto genera un campo electromagnético. Si usted lleva un dispositivo médico electrónico implantable, consulte a su profesional sanitario antes de utilizar este producto.
Extreme las precauciones al manejar el combustible. Es inflamable y sus vapores son explosivos.
Apague cualquier cigarrillo, cigarro, pipa u otra fuente de ignición.
Utilice solamente un recipiente de combustible homologado.
No retire la tapa de combustible ni llene el depósito de combustible si el motor está en marcha o está caliente.
No añada ni drene combustible en un lugar cerrado.
No guarde la máquina o un recipiente de combustible en un lugar donde pudiera haber una llama desnuda, chispas o una llama piloto, por ejemplo en un calentador de agua u otro electrodoméstico.
Si se derrama combustible, no intente arrancar el motor; evite crear fuentes de ignición hasta que los vapores del combustible se hayan disipado.
Antes de arrancar la máquina cada día, realice los procedimientos diarios indicados en .
60 litros
Important: Utilice solamente combustible diésel con contenido ultrabajo en azufre. El combustible con porcentajes más altos de azufre degrada el catalizador de oxidación de diésel (DOC), lo que provoca problemas de funcionamiento y acorta la vida útil de los componentes del motor.El incumplimiento de las siguientes precauciones puede dañar el motor.
No utilice nunca queroseno o gasolina en lugar de combustible diésel.
No mezcle nunca queroseno o aceite de motor usado con el combustible diésel.
No mantenga nunca el combustible en envases chapados con zinc en el interior.
No utilice aditivos para el combustible.
Número de octanos: 45 o más
Contenido de azufre: Azufre ultrabajo (<15 ppm)
| Especificaciones de combustibles diésel | Ubicación |
| ASTM D975 | EE. UU. |
| N.º 1-D S15 | |
| N.º 2-D S15 | |
| EN 590 | Unión Europea |
| ISO 8217 DMX | Internacional |
| JIS K2204 N.º de grado 2 | Japón |
| KSM-2610 | Corea |
Utilice únicamente combustible diésel o biodiésel limpio y nuevo.
Compre el combustible en cantidades que puedan ser consumidas en 180 días para asegurarse de que el combustible es nuevo.
Utilice combustible diésel tipo verano (N.º 2-D) a temperaturas superiores a -7 °C y combustible tipo invierno (N.º 1-D o mezcla de N.º 1-D/2-D) a temperaturas inferiores a -7 °C.
Note: El uso de combustible tipo invierno a bajas temperaturas proporciona un punto de inflamación menor y características de flujo en frío que facilitan el arranque y reducen la obturación del filtro del combustible.El uso de combustible tipo verano con temperaturas por encima de los -7 °C contribuirá a alargar la vida útil de la bomba de combustible y a incrementar la potencia en comparación con el combustible tipo invierno.
Esta máquina puede emplear también un combustible mezclado de biodiésel de hasta B20 (20 % biodiésel, 80 % diésel de petróleo).
Contenido de azufre: Azufre ultrabajo (<15 ppm)
Especificación de combustible biodiésel: ASTM D6751 o EN 14214
Especificación de combustible mezclado: ASTM D975, EN 590 o JIS K2204
Important: La parte de diésel de petróleo deberá tener un contenido ultrabajo en azufre.
Observe las siguientes precauciones:
Las mezclas de biodiésel pueden dañar las superficies pintadas.
Utilice B5 (contenido de biodiésel del 5%) o mezclas menores cuando hace frío.
Vigile las juntas herméticas, las mangueras y obturadores en contacto con el combustible ya que pueden degradarse con el paso del tiempo.
Es previsible la obturación del filtro del combustible durante un tiempo tras pasarse a las mezclas de biodiésel.
Póngase en contacto con su distribuidor autorizado Toro si desea más información sobre el biodiésel.
Aparque la máquina en una superficie nivelada, baje las unidades de corte, apague el motor, ponga el freno de estacionamiento y retire la llave.
Limpie la zona alrededor del tapón del depósito de combustible con un trapo limpio.
Retire el tapón del depósito de combustible (Figura 16).

Llene el depósito hasta que el nivel esté a 25 mm por debajo del extremo inferior del cuello de llenado.
Instale firmemente el tapón del depósito de combustible después de llenar el depósito.
Note: Si es posible, llene el depósito de combustible después de cada uso. Esto minimizará la acumulación de condensación dentro del depósito.
| Intervalo de mantenimiento y servicio | Procedimiento de mantenimiento |
|---|---|
| Cada vez que se utilice o diariamente |
|
Con el motor parado, accione los pedales de tracción hacia adelante/atrás en todo su recorrido y asegúrese de que el mecanismo vuelve libremente a la posición de PUNTO MUERTO.
| Intervalo de mantenimiento y servicio | Procedimiento de mantenimiento |
|---|---|
| Cada vez que se utilice o diariamente |
|
Siéntese en el asiento del operador y arranque la máquina.
Baje las unidades de corte al suelo.
Ponga el interruptor de la transmisión de las unidades de corte en la posición de corte.
Levántese del asiento del operador y compruebe que las unidades de corte se detienen después de una demora inicial de 0,5–1 segundo.
Apague el motor.
Ponga el interruptor de la transmisión de las
unidades de corte en la posición de DESENGRANADO y gire la llave de encendido a la posición de ARRANQUE
. El motor debe arrancar.
Ponga el interruptor de la transmisión de las
unidades de corte en la posición de Siega y gire la llave de
encendido a la posición de ARRANQUE
. El motor
no debe arrancar.
Apague el motor.
Accione el freno de estacionamiento.
Gire la llave de encendido a la posición de
precalentamiento/marcha
. El interruptor del freno de estacionamiento
se enciende y el icono del freno de estacionamiento
aparece en el InfoCenter.
Quite el freno de estacionamiento; se apagan la luz
del freno de estacionamiento y el icono. El motor no debe arrancar
cuando se gira la llave de encendido a la posición de ARRANQUE
.
Ponga el freno de estacionamiento, siéntese en el asiento del operador y arranque el motor.
Quite el freno de estacionamiento.
Levántese del asiento del operador y compruebe que el motor se apaga.
Important: Extreme las precauciones para asegurarse de que no hay nadie en la zona alrededor de la máquina antes de comprobar que el motor no arranca durante la comprobación el interruptor de seguridad de punto muerto.
Apague el motor.
Retire el pie de los pedales de desplazamiento hacia adelante/atrás
Gire la llave de encendido a la posición de
precalentamiento/marcha
. El icono de punto muerto de la transmisión
aparece en el InfoCenter.
Aplique una ligera presión a los pedales de desplazamiento hacia adelante y hacia atrás para ver si aparece el icono de punto muerto de la transmisión en el InfoCenter.
La pantalla muestra información sobre la máquina, como por ejemplo el estado operativo, diferentes diagnósticos y otra información sobre la máquina. Hay varias pantallas diferentes. Puede cambiar entre las pantallas en cualquier momento pulsando el botón atrás y luego usando los botones de flecha arriba y abajo.

Note: El propósito de cada botón puede variar dependiendo de lo que se necesite en cada momento. El icono de cada botón indicará su función en cada momento.
![]() | Horímetro |
![]() | Es necesario realizar mantenimiento. |
![]() | Las bujías están encendidas. |
![]() | El operador debe sentarse en el asiento. |
![]() | El freno de estacionamiento está accionado. |
![]() | Temperatura del refrigerante del motor (°C o °F) |
![]() | Arranque el motor. |
![]() | Motor |
![]() | Se solicita una regeneración estacionaria o de recuperación. |
| Realice la regeneración inmediatamente. | |
![]() | Regeneración aceptada; la solicitud se está procesando. |
![]() | Regeneración en progreso; la temperatura del escape es elevada. |
![]() | Funcionamiento defectuoso del sistema de control de NOx; la máquina necesita mantenimiento. |
![]() | La toma de fuerza está desactivada. |
![]() | La TDF está engranada. |
![]() | Voltaje de la batería |
![]() | Advertencia |
![]() | Activar |
![]() | Inactivo |
![]() | Anterior |
![]() | Siguiente |
![]() | Aumentar |
![]() | Reducir |
![]() | Pantalla anterior |
![]() | Siguiente pantalla |
![]() | Aumentar el valor |
![]() | Reducir el valor |
![]() | Menú |
![]() | Desplazamiento hacia arriba/hacia abajo |
![]() | Desplazamiento hacia la izquierda/hacia la derecha |
![]() | Bloqueado |
Para entrar en el sistema de menús del InfoCenter, pulse el botón Atrás en la pantalla principal. Aparecerá el Menú principal. Las tablas siguientes contienen un resumen de las opciones disponibles en cada menú.
Protegido
en menús protegidos – accesible solo al introducir el
PIN
| Elemento del menú | Descripción |
| Faults | El menú Faults (Fallos) contiene una lista de los fallos recientes de la máquina. Consulte el Manual de mantenimiento o póngase en contacto con su Distribuidor Autorizado Toro si desea más información sobre el menú Fallos y la información que contiene. |
| Service (Mantenimiento) | El menú Service (Mantenimiento) contiene información sobre la máquina, como por ejemplo horímetros de uso y otros datos similares. |
| Diagnostics (Diagnósticos) | El menú Diagnostics (Diagnósticos) muestra el estado del sensor de cada interruptor de la máquina y de la salida de cada control. Puede utilizar esta información para identificar y resolver algunos problemas, puesto que indica rápidamente qué controles de la máquina están activados/encendidos, y cuáles están desactivados/apagados. |
| Settings (Ajustes) | El menú Settings (Ajustes) permite personalizar y modificar las variables de configuración de la pantalla. |
| Ajustes de la máquina | El menú Ajustes de la máquina permite ajustar los parámetros de Elevación limitada en marcha atrás y Función de giro. |
| About (Acerca de) | El menú About (Acerca de) muestra el número de modelo, el número de serie y la versión del software de su máquina. |
| Elemento del menú | Descripción |
| Hours (Horas) | Muestra el número total de horas de operación de la máquina, el motor y la TDF, así como el número de horas de transporte y el mantenimiento previsto. |
| Counts | Muestra los diferentes contadores de la máquina. |
| DPF Regeneration (Regeneración del DPF) | La opción de la regeneración del filtro de partículas diésel (DPF) y los submenús |
| Elemento del menú | Descripción |
| Traction (Tracción) | Indica las entradas y salidas del pedal de tracción. |
| Elevar | Muestra las entradas, condiciones y salidas relacionadas con la elevación de las unidades de corte. |
| Bajar | Muestra las entradas, condiciones y salidas relacionadas con la bajada de las unidades de corte. |
| PTO | Muestra las entradas, condiciones y salidas relacionadas con la activación del circuito de la TDF. |
| Motor | Muestra las entradas, condiciones y salidas relacionadas con el arranque del motor. |
| Elemento del menú | Descripción |
| Enter PIN (Introducir PIN) | Permite que una persona (superintendente o mecánico) autorizada por la empresa con código PIN acceda a los menús protegidos. |
| Backlight (Retroiluminación) | Controla el brillo de la pantalla LCD. |
| Language (Idioma) | Controla el idioma utilizado en la pantalla. |
| Unidades | Controla las unidades utilizadas en el InfoCenter (inglés o métrico). |
Menús protegidos ![]() | Permite que una persona autorizada por la empresa con código PIN pueda acceder a los menús protegidos |
Protect Settings (Proteger configuración)![]() | Permite modificar los ajustes de los menús protegidos. |
| Elemento del menú | Descripción |
| Elevación limitada en marcha atrás | Activa o desactiva la elevación limitada en marcha atrás. |
| Turnaround (función de giro) | Activa o desactiva el modo Turnaround (función de giro). |
| Sensor de pendientes instalado | Indica que se ha detectado la presencia de un sensor de pendientes en la máquina. |
Protegido
en menús protegidos – accesible solo al introducir el
PIN
| Elemento del menú | Descripción |
| Model | Muestra el número de modelo de la máquina. |
| SN | Muestra el número de serie de la máquina. |
| Machine Controller Revision | Indica la versión de software del controlador maestro. |
| Revisión S/W | Indica la revisión de software del controlador principal. |
InfoCenter Revisión (Versión del InfoCenter) ![]() | Indica la versión de software del InfoCenter |
Estadísticas CAN ![]() | Indica las entradas y salidas de la CAN. |
Desde el MENú PRINCIPAL (Main Menu), pulse el botón de navegación izquierdo para acceder a la PANTALLA DE MARCHA PRINCIPAL (Main Run Screen), que muestra la temperatura del refrigerante, el estado del enclavamiento y la posición de las unidades de corte.
Pulse el botón de navegación derecho para desplazarse a la PANTALLA DE MARCHA SECUNDARIA, (Secondary Run Screen), que muestra las horas, el voltaje de batería y las RPM.
Algunas opciones de configuración operativa pueden modificarse en el menú SETTINGS (Ajustes) de la pantalla. Para bloquear estos ajustes, utilice el MENú PROTEGIDO.
Note: Su distribuidor programa la contraseña inicial en el momento de la entrega de la máquina.
Note: El PIN predeterminado de fábrica de la máquina es 0000 o bien 1234.Si ha cambiado el código PIN y lo ha olvidado, póngase en contacto con su Distribuidor Autorizado Toro para obtener ayuda.
En el MENú PRINCIPAL (Main Menu), vaya a SETTINGS (Ajustes) y pulse el botón Seleccionar (Figura 18).

En AJUSTES, vaya a INTRODUCIR PIN y pulse el botón Seleccionar (Figura 19A).

Para introducir el código PIN, presione los botones de navegación Arriba/Abajo hasta que aparezca el primer dígito correcto y, a continuación, pulse el botón de navegación Derecha para desplazarse al dígito siguiente (Figura 19B y Figura 19C). Repita este paso hasta que haya introducido el último dígito.
Pulse el botón Seleccionar.
Note: Si la pantalla acepta el código PIN y el menú protegido se desbloquea, aparece la palabra “PIN” en la esquina superior derecha de la pantalla.
Para bloquear el menú Protegido, gire el interruptor de encendido a la posición DESCONECTADO y luego a la posición CONECTADO.
En SETTINGS (Ajustes), vaya a PROTECT SETTINGS (Proteger ajustes).
Para ver y modificar los ajustes sin introducir un
código PIN, utilice el botón de selección para
cambiar PROTECT SETTINGS (Proteger ajustes)
a
(Desactivado).
Para ver y modificar los ajustes con un código
PIN, utilice el botón Seleccionar para cambiar PROTEGER CONFIGURACIóN a
(Activado), introduzca
el código PIN y gire la llave del interruptor de encendido
a la posición de DESCONECTADO y
luego a la posición de CONECTADO.
El temporizador de mantenimiento programado reinicia a cero las horas restantes para el siguiente mantenimiento después de realizar un procedimiento de mantenimiento programado.
En AJUSTES, vaya a INTRODUCIR PIN y pulse el botón Seleccionar.
Introduzca el PIN; consulte Acceso a los menús protegidos.
En SERVICE (Mantenimiento), vaya a HOURS (Horas) y pulse el botón Seleccionar.
Desplácese hacia abajo a SERVICE DUE (Mantenimiento pendiente).
Note: Si hay mantenimiento pendiente, aparece NOW (Ahora) junto a SERVICE DUE (Mantenimiento pendiente).
Resalte el símbolo de mantenimiento y pulse el botón Seleccionar.
Note: El intervalo de mantenimiento (250 horas, 500 horas, etc.) está situado junto a SERVICE DUE (Mantenimiento pendiente). Service interval (intervalo de mantenimiento) es un elemento de menú protegido.
Cuando aparezca la pantalla RESET SERVICE TIMER? (¿Resetear temporizador de mantenimiento?, pulse el botón Seleccionar para contestar SÍ o el botón Atrás para contestar NO.
Después de seleccionar YES (Sí), la pantalla de intervalos se borra, y vuelve luego a las selecciones Service Hours (Horas de mantenimiento).

Rojo intermitente — fallo activo
Rojo fijo — aviso activo
Azul fijo — Mensajes de calibración/diálogo
Indicadores apagados — operación normal
El propietario/operador puede prevenir y es responsable de cualquier accidente que pudiera provocar lesiones personales o daños materiales.
Lleve ropa adecuada, incluida protección ocular, pantalón largo, calzado resistente y antideslizante y protección auricular. Si tiene el pelo largo, recójaselo, y no lleve prendas o joyas sueltas.
No utilice la máquina si está enfermo, cansado o bajo la influencia de alcohol o drogas.
Preste toda su atención al utilizar la máquina. No realice ninguna actividad que genere distracciones, de lo contrario pueden producirse lesiones o daños en la propiedad.
Antes de arrancar el motor, asegúrese de que todas las transmisiones están en punto muerto, de que el freno estacionamiento está accionado y de que usted se encuentra en la posición del operador.
No lleve pasajeros en la máquina y mantenga a otras personas alejadas de la zona de trabajo.
Utilice la máquina únicamente con buena visibilidad para evitar agujeros y peligros ocultos.
Evite segar la hierba mojada. La reducción de la tracción podría hacer que la máquina se resbalara.
Mantenga las manos y los pies alejados de las unidades de corte.
Mire hacia atrás y hacia abajo antes de poner marcha atrás para asegurarse de que el camino está despejado.
Tenga cuidado al acercarse a esquinas ciegas, arbustos, árboles u otros objetos que puedan dificultar la visión.
Pare las unidades de corte si no está segando.
Vaya más despacio y tenga cuidado al girar y al cruzar calles y aceras con la máquina. Ceda el paso siempre.
Accione el motor únicamente en áreas bien ventiladas. Los gases de escape contienen monóxido de carbono, que resulta letal si se inhala.
No deje la máquina desatendida mientras esté funcionando.
Antes de dejar el puesto del operador, realice lo siguiente:
Aparque la máquina en una superficie nivelada.
Desengrane y baje las unidades de corte.
Accione el freno de estacionamiento.
Apague el motor y retire la llave.
Espere a que se detenga todo movimiento.
Deje que la máquina se enfríe antes de realizar ajustes, tareas de mantenimiento y de limpieza o de guardarla.
Utilice la máquina únicamente si existen condiciones meteorológicas y de visibilidad adecuadas. No utilice la máquina cuando exista riesgo de caída de rayos.
Utilice el control de crucero (si está instalado) únicamente cuando pueda utilizar la máquina en una zona abierta, llana y libre de obstáculos, y donde la máquina pueda desplazarse a una velocidad constante sin interrupción.
No retire ninguno de los componentes del ROPS de la máquina.
Asegúrese de abrocharse el cinturón de seguridad y de que puede desabrocharlo rápidamente en caso de emergencia.
Lleve puesto siempre el cinturón de seguridad.
Compruebe detenidamente si hay obstrucciones sobre la máquina y no entre en contacto con ellas.
Mantenga el ROPS en condiciones seguras de funcionamiento, inspeccionándolo periódicamente en busca de daños y manteniendo bien apretados todas las fijaciones de montaje.
Sustituya todos los componentes del ROPS dañados. No los repare ni los modifique.
Utilice siempre el cinturón de seguridad cuando la barra antivuelco está en la posición elevada.
El ROPS es un dispositivo de seguridad integrado. Si la barra antivuelco es plegable, manténgala en la posición elevada y bloqueada, y lleve puesto el cinturón de seguridad mientras utilice la máquina con la barra antivuelco elevada.
Una barra antivuelco plegable puede bajarse temporalmente, pero sólo cuando sea necesario. No lleve el cinturón de seguridad cuando la barra antivuelco está bajada.
Sepa que no hay protección contra vuelcos cuando la barra antivuelco está plegada.
Inspeccione la zona de siega, y no baje nunca una barra antivuelco plegable en zonas donde existan pendientes, taludes o agua.
Las pendientes son una de las principales causas de accidentes por pérdida de control y vuelcos, que pueden causar lesiones graves o la muerte. Usted es responsable de la seguridad cuando trabaja en pendientes. La conducción de la máquina en pendientes requiere extremar la precaución.
Evalúe las condiciones del lugar de trabajo para determinar si es seguro trabajar en la pendiente con la máquina; puede ser necesario realizar un estudio detallado de la zona. Aplique siempre el sentido común y un buen criterio a la hora de realizar esta valoración.
Revise las instrucciones sobre pendientes, que se indican a continuación, para conducir la máquina en pendientes. Antes de utilizar la máquina, revise las condiciones del lugar de trabajo para determinar si la máquina puede utilizarse en las condiciones reinantes en un día y un lugar determinados. Los cambios en el terreno pueden producir un cambio en el funcionamiento de la máquina en pendientes.
Evite arrancar, parar o girar la máquina en cuestas o pendientes. Evite realizar cambios bruscos de velocidad o de dirección. Realice giros de forma lenta y gradual.
No utilice la máquina en condiciones que puedan comprometer la tracción, la dirección o la estabilidad de la máquina.
Retire o señale obstrucciones como terraplenes, baches, surcos, montículos, rocas u otros peligros ocultos. La hierba alta puede ocultar obstrucciones. Un terreno irregular podría hacer volcar la máquina.
Tenga en cuenta que conducir en hierba mojada, atravesar pendientes empinadas, o bajar cuestas puede hacer que la máquina pierda tracción.
Extreme las precauciones cuando utilice la máquina cerca de terraplenes, fosas, taludes, obstáculos de agua u otros obstáculos. La máquina podría volcar repentinamente si una rueda pasa por el borde de un terraplén o fosa, o si se socava un talud. Establezca un área de seguridad entre la máquina y cualquier peligro.
Identifique peligros situados en la base de la pendiente. Si hay algún peligro, siegue la pendiente con una máquina controlada por un peatón.
Si es posible, mantenga las unidades de corte bajadas hasta el suelo al utilizar la máquina en pendientes. Si las unidades de corte se elevan en pendientes, la máquina puede desestabilizarse.
Si los interruptores de seguridad son desconectados o están dañados, la máquina podría ponerse en marcha inesperadamente, causando lesiones personales.
No manipule los interruptores de seguridad.
Compruebe la operación de los interruptores de seguridad cada día, y sustituya cualquier interruptor dañado antes de operar la máquina.
Important: No utilice la máquina si los controles de presencia del operador están dañados o desgastados. Sustituya siempre las piezas dañadas o desgastadas y compruebe que los controles de presencia del operador funcionan correctamente antes de utilizar la máquina.
Solo es posible arrancar el motor si el pedal de desplazamiento hacia adelante/atrás está en la posición de PUNTO MUERTO, el interruptor de transmisión de las unidades de corte está en la posición de DESCONECTADO y el freno de estacionamiento está accionado.
Note: El motor solamente puede arrancarse cuando el interruptor de la transmisión de las unidades de corte está en la posición de DESENGRANADO.
Una vez que arranca el motor, debe sentarse en el asiento del operador para accionar el motor mientras el freno de estacionamiento está quitado.
El motor se apaga si deja el asiento del operador sin poner primero el freno de estacionamiento.
Debe sentarse en el asiento del operador para accionar las unidades de corte. Si se levanta del asiento durante más de un segundo, un interruptor se activa y la transmisión a las unidades de corte se desengrana.
Para restablecer las unidades de corte, siéntese en el asiento, mueva el interruptor de la transmisión de la unidad de corte a la posición de DESACTIVADO y, a continuación, mueva el interruptor a la posición de ACTIVADO.
Note: Si se levanta brevemente del asiento durante el trabajo normal, no afecta a la transmisión a las unidades de corte.
Para evitar lesiones o la muerte en caso de un vuelco: mantenga la barra antivuelco en posición elevada y bloqueada y utilice el cinturón de seguridad.
Asegúrese de que el asiento está sujeto con el cierre del asiento.
No hay protección contra vuelcos cuando la barra antivuelco está bajada.
No utilice la máquina en terrenos desiguales o en pendientes con la barra antivuelco bajada.
Baje la barra antivuelco únicamente cuando sea imprescindible.
No use el cinturón de seguridad si la barra antivuelco está bajada.
Conduzca lentamente y con cuidado.
Eleve la barra antivuelco tan pronto como haya espacio suficiente.
Compruebe cuidadosamente que hay espacio suficiente antes de conducir por debajo de cualquier objeto en alto (por ejemplo, ramas, portales, cables eléctricos) y no entre en contacto con ellos.
Important: Utilice siempre el cinturón de seguridad cuando la barra antivuelco está elevada. No utilice el cinturón de seguridad cuando la barra antivuelco está bajada.
Aparque la máquina en una superficie nivelada, baje las unidades de corte, ponga el freno de estacionamiento, apague el motor y retire la llave.
Retire las chavetas de los pasadores de la barra antivuelco en los soportes de giro del bastidor de la barra antivuelco inferior (Figura 21).

Mientras sostiene el peso de la barra antivuelco superior, retire los pasadores de la barra antivuelco de los soportes de giro (Figura 21).
Baje con cuidado la barra antivuelco superior hasta que se apoye sobre los topes del bastidor de la barra antivuelco inferior.
Inserte los pasadores de la barra antivuelco en los orificios inferiores de los soportes de giro (Figura 22).

Fije los pasadores de la barra antivuelco en los soportes de giro con las chavetas.
Retire las chavetas que fijan los pasadores de la barra antivuelco en los soportes de giro del bastidor de la barra antivuelco inferior.
Retire los pasadores de la barra antivuelco de los soportes de giro (Figura 23).

Eleve la barra antivuelco superior hasta que los taladros en la barra antivuelco se alineen con los soportes de giro (Figura 24).

Inserte los pasadores de la barra antivuelco a través de los taladros superiores de los soportes de giro y la barra antivuelco superior (Figura 24).
Fije los pasadores de la barra antivuelco a los soportes de giro con las chavetas (Figura 24).
Important: Si va a arrancar el motor por primera vez, si el motor se ha parado por falta de combustible o si se ha realizado algún tipo de mantenimiento sobre el sistema de combustible, purgue el sistema de combustible antes de arrancar el motor; consulte Cebado del sistema de combustible.
Important: Esta máquina incorpora un sistema de bloqueo del motor de arranque; consulte Controles de presencia del operador.
Ponga el freno de estacionamiento, mueva el pedal de tracción a la posición de PUNTO MUERTO, y asegúrese de que el interruptor de la transmisión de las unidades de corte está en la posición de DESENGRANADO.
Gire la llave a la posición de CALENTADOR DE ADMISIóN/MARCHA.
Note: Aparece el icono del indicador de precalentamiento
en el InfoCenter. Espere
a que desaparezca el icono del indicador de precalentamiento.

Gire la llave a la posición de Arranque.
Cuando el motor arranque, suelte la llave del calentador de admisión/marcha.
Important: Haga girar el motor durante no más de 15 segundos.
Haga funcionar el motor a velocidad de ralentí bajo hasta que se caliente.
Important: Deje que el motor funcione en ralentí durante 5 minutos antes de pararlo después de funcionar a carga máxima. Esto permite que se enfríe el turbo antes de que se apague el motor. Si no se deja el motor en ralentí, puede dañarse el turboalimentador.
Mueva el pedal de tracción a la posición de PUNTO MUERTO, apague el interruptor de transmisión de las unidades de corte, ponga el freno de estacionamiento y baje las unidades de corte.
Presione el interruptor de velocidad del motor hasta que la velocidad del motor esté a ralentí bajo.
Deje el motor en marcha durante al menos 5 minutos.
Gire la llave a la posición de Desconectado (parada) (Figura 26).

Retire la llave antes de abandonar el asiento del operador.
Es importante mantener las cuchillas desbrozadoras afiladas y en buenas condiciones de uso, a fin de asegurar un buen rendimiento de corte, un consumo mínimo y una buena calidad de corte.
El cabezal de corte incorpora una desbrozadora de corte fino que debe utilizarse únicamente para el mantenimiento del césped. Se recomienda cortar como máximo 1/3 de la longitud total de la hoja de hierba.
Los rascadores de alambre sirven para eliminar residuos de los rodillos; en condiciones secas, pueden no ser necesarios y se recomienda desmontarlos. En condiciones húmedas, asegúrese de que los rascadores de alambre no se atasquen con los residuos.
Las unidades de corte flotan y pueden pivotar lateralmente para seguir los contornos del terreno.
Las unidades de corte están diseñadas para funcionar a la velocidad máxima del motor. La velocidad de avance debe ajustarse según las condiciones del césped y para no sobrecargar el motor o los cabezales de corte. Cuanto menor sea la velocidad de avance, mayor será la calidad de corte y del aspecto después del corte.
Note: La altura de corte viene determinada por la posición del rodillo trasero. La presencia de cuchillas desgastadas, pivotes de la unidad de corte desgastados, pasadores de la unidad de corte doblados o dañados, o brazos doblados o dañados puede afectar al ajuste de la altura de corte.
Gire la tuerca de ajuste de ambos extremos en sentido horario para reducir la altura de corte, o en sentido antihorario para aumentar la altura de corte (Figura 27).

Important: No intente desmontar los mecanismos de ajuste.
Observe los anillos indicadores para comprobar que todas las unidades de corte están ajustadas a la misma altura de corte (Figura 28).

Note: Consulte los ajustes de altura de corte en Figura 29.

Utilice los 3 interruptores de control de elevación para elevar o bajar las unidades de corte de forma independiente.
Ponga el interruptor de la transmisión de las unidades de corte en la posición de corte.
Presione el interruptor de control de elevación hacia adelante y suéltelo.
Note: La unidad de corte se engrana cuando está a unos 150 mm del suelo. La unidad de corte está en el modo de ‘flotación’ y sigue las ondulaciones del terreno.
Note: El interruptor de control de elevación vuelve automáticamente a la posición de PUNTO MUERTO cuando se suelta.

Tire del interruptor de control de elevación.
Suelte el interruptor de control de elevación cuando la unidad de corte llegue a la altura deseada.
Note: Los interruptores de control de elevación vuelven automáticamente a la posición de PUNTO MUERTO cuando se sueltan, y los brazos de la unidad de corte se bloquean hidráulicamente.
Note: La función de elevación limitada permite conducir hacia adelante está habilitada por defecto.
Mientras conduce hacia adelante, tire hacia atrás momentáneamente de uno o ambos interruptores de control de elevación.
Note: Las unidades de corte se paran y se elevan a unos 150 mm del suelo.
La función de elevación limitada se desactiva cuando la unidad de corte se baja y se pone en marcha.
Note: Debe habilitar la función de elevación limitada en el InfoCenter para elevar automáticamente las unidades de corte al conducir hacia atrás.
Cuando la función de elevación limitada está habilitada, todas las unidades de corte se eleven a la posición de elevación limitada cuando la máquina se conduce hacia atrás.
Note: Las unidades de corte se elevan a unos 150 mm del suelo.
Important: Las unidades de corte siguen funcionando durante el uso de la elevación limitada cuando la máquina se conduce hacia atrás.
Al conducir la máquina de nuevo hacia adelante, las unidades de corte bajan a la posición de flotación.
Note: Debe habilitar la función de giro del interruptor de control de elevación central en el menú de configuración del InfoCenter.
Tire momentáneamente del interruptor de control de elevación de la unidad de corte central para elevar todas las unidades de corte a la posición de elevación limitada.
Presione momentáneamente el interruptor de control de elevación de la unidad de corte central para bajar todas las unidades de corte a la posición de flotación.
Note: Se habilita la función de elevación automática limitada de las unidades de corte en el menú Configuración del InfoCenter.
La elevación limitada manual utiliza los 3 interruptores de control de elevación, y está disponible siempre, sea cual sea la configuración de elevación limitada automática del InfoCenter.
Cuando está habilitada la elevación limitada automática, al conducir la máquina hacia atrás las unidades de corte se eleven automáticamente a la posición de elevación limitada.
Las unidades de corte vuelven a la posición de flotación al conducir la máquina hacia adelante.
Para elevar las unidades de corte a la posición de elevación limitada, tire momentáneamente de los interruptores de control de elevación.
Note: La transmisión de las unidades de corte se desengrana inmediatamente, y las unidades de corte se elevan a unos 150 mm del suelo.
La elevación limitada automática funciona con las unidades de corte bajadas y girando.
La transmisión de las unidades de corte se engrana únicamente cuando usted se sienta en el asiento del operador; consulte Comprobación del interruptor de presencia del operador del asiento.

Presione la parte superior del interruptor de la transmisión de las unidades de corte hasta la posición de ACTIVADO (Figura 31).
Ponga el interruptor de la transmisión de la unidad de corte en la posición de DESACTIVADO (Figura 31).
El interruptor de la transmisión de las unidades de corte debe estar en la posición de ACTIVADO (Figura 31). Mueva hacia abajo el/los interruptor(es) de control de elevación. Las unidades de corte se ponen en marcha cuando están a unos 150 mm del suelo.
El sistema de transferencia de peso hidráulico variable mejora el agarre de los neumáticos con la superficie de césped (tracción asistida).
La presión hidráulica del sistema de elevación de las unidades de corte proporciona una fuerza de elevación que reduce la presión ejercida por las unidades de corte sobre el suelo, y transfiere el peso hacia abajo a los neumáticos. Esta acción se conoce como transferencia de peso.
Note: Debe ajustarse la cantidad de peso transferida según las condiciones de trabajo.
Abra el capó.


En el lado derecho de la máquina, afloje la rueda de bloqueo del distribuidor de transferencia de peso ½ vuelta en sentido en sentido antihorario sin mover la rueda de ajuste (Figura 32).
Gire la rueda de ajuste de la transferencia de peso (Figura 32) como se indica a continuación:
en sentido antihorario para reducir la transferencia de peso
en sentido horario para aumentar la transferencia de peso
Note: El ajuste recomendado para la transferencia de peso/tracción asistida consiste en aumentar la transferencia de peso hasta que las unidades de corte empiezan a elevarse, luego girar la rueda de ajuste ½ vuelta en sentido antihorario.
Apriete la rueda de bloqueo (Figura 32).
No intente nunca girar las unidades de corte a mano. Una presión residual en el sistema hidráulico podría hacer que las unidades de corte empiecen a girar repentinamente una vez eliminada la obstrucción, lo que puede causar lesiones graves.
Siempre lleve guantes de protección y utilice un instrumento resistente de madera.
Asegúrese de que el instrumento de madera cabe en el rotor desbrozador y de que tiene suficiente longitud para proporcionar una fuerza de palanca para eliminar la obstrucción.
Aparque la máquina en una superficie nivelada.
Mueva el pedal de tracción a la posición de PUNTO MUERTO, ponga el freno de estacionamiento y apague las unidades de corte.
Baje las unidades de corte al suelo o bloquéelas firmemente en la posición de transporte.
Apague el motor, retire la llave y espere a que se detengan todas las piezas en movimiento.
Libere la energía de cualquier dispositivo de energía almacenada.
Compruebe que todas las piezas móviles están estacionarias.
Usando un instrumento resistente de madera apropiado, retire la obstrucción. Asegúrese de apoyar correctamente el instrumento de madera dentro de la unidad de corte, y evite el uso de fuerza excesiva con el fin de evitar posibles daños.
Retire el instrumento de madera de la unidad de corte antes de arrancar el motor.
Repare o ajuste la unidad de corte si es necesario.
Antes de segar, practique la operación de la máquina en una zona abierta. Arranque y pare el motor. Haga funcionar la máquina hacia delante y hacia atrás. Baje y eleve las unidades de corte y engránelas y desengránelas. Cuando se haya familiarizado con la máquina, practique el subir y bajar pendientes.
Si durante la operación de la máquina se muestra un icono de advertencia en el InfoCenter, pare la máquina inmediatamente y corrija el problema. La tabla siguiente incluye ejemplos de los iconos que pueden aparecer:
|
Icono |
Condición |
|---|---|
![]() |
Se solicita una regeneración estacionaria o de recuperación. |
![]() |
La toma de fuerza está desactivada. |
![]() |
Funcionamiento defectuoso del sistema de control de NOx |
Para mantener la alta calidad del corte, mantenga la velocidad rotacional de las unidades de corte lo más alta posible. Esto requiere una alta velocidad del motor.
El rendimiento de corte es mejor cuando se siega en contra de la inclinación de los tallos. Para aprovechar este efecto, alterne la dirección de siega entre cortes.
Evite los giros muy cerrados para no dejar franjas de césped sin cortar en los puntos de solapamiento entre unidades de corte adyacentes.
La calidad de corte será menor cuando la velocidad de avance es excesiva. Busque un equilibrio entre la calidad de corte y el ritmo de corte necesario y ajuste la velocidad de avance en consonancia.
No fuerce el motor. Si observa que el motor empiece a esforzarse, reduzca la velocidad de avance o aumente la altura de corte. Asegúrese de que las cuchillas de la unidad de corte están afiladas.
Important: Tenga cuidado al conducir la máquina por encima de obstáculos como bordillos.Conduzca siempre baja velocidad sobre estos obstáculos para evitar dañar los neumáticos, las ruedas y el sistema de dirección de la máquina. Asegúrese de que los neumáticos están inflados a la presión recomendada.
Siempre desengrane la transmisión de las unidades de corte al conducir la máquina en zonas sin césped. Tenga cuidado al conducir entre objetos para no dañar accidentalmente la máquina ni las unidades de corte.
Para obtener una descarga óptima de la hierba, retire los rascadores del rodillo de trasero cuando las condiciones lo permitan.
Si se empieza a acumular hierba y barro en los rodillos, instale los rascadores. Al instalar los cables del rascador, ténselos correctamente.
Aparque la máquina en una superficie nivelada.
Desengrane y baje las unidades de corte.
Accione el freno de estacionamiento.
Apague el motor y retire la llave.
Espere a que se detenga todo movimiento.
Deje que la máquina se enfríe antes de realizar ajustes, tareas de mantenimiento y de limpieza o de guardarla.
Para ayudar a prevenir incendios, asegúrese de que las unidades de corte, las transmisiones, los silenciadores, las rejillas de refrigeración y el compartimento del motor están libres de acumulaciones de hierba y residuos. Limpie cualquier aceite o combustible derramado.
Desengrane la transmisión al accesorio siempre que transporte la máquina o no la esté utilizando.
Realice el mantenimiento de los cinturones y límpielos cuando sea necesario.
No guarde la máquina o un recipiente de combustible en un lugar donde pudiera haber una llama desnuda, chispas o una llama piloto, por ejemplo en un calentador de agua u otro electrodoméstico.

Utilice rampas de ancho completo para cargar la máquina en un remolque o un camión.
Amarre la máquina firmemente.
Asegúrese de que el vehículo de remolque puede controlar el peso combinado de ambos vehículos; consulte Especificaciones.
Cuando sea posible, eleve y enganche las unidades de corte antes de remolcar la máquina.
Accione el freno de estacionamiento y calce las ruedas del vehículo de remolque.
Calce las ruedas delanteras de la máquina.
Eleve la plataforma; consulte Elevación de la plataforma.
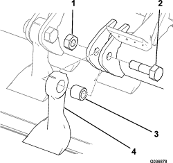
Guarde los 2 pernos de 12 mm x 40 mm y las 2 arandelas de 12 mm almacenados en los raíles de soporte de la plataforma (Figura 34).

Conecte una barra de remolque rígida entre la argolla de remolque delantera de la máquina y el vehículo de remolque (Figura 35).
Note: Si es necesario, utilice la argolla de remolque trasera de la máquina para posicionar la máquina para tener espacio suficiente, y utilice el anillo de remolque delantero para remolcar la máquina.

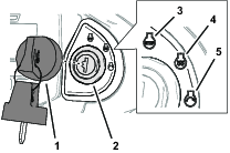
En el conjunto de freno del motor de la rueda delantera derecha, retire el tapón hexagonal (Figura 36).

Coloque un perno de 12 mm x 40 mm y una arandela de 12 mm en el taladro en el centro de la placa del extremo del motor (Figura 37).

Apriete el perno en el taladro roscado del pistón del freno hasta que el freno quede liberado(Figura 37).
Repita los pasos 6 a 8 con el freno en el lado izquierdo de la máquina.
Utilice una llave allen de 8 mm para girar los 2 tapones de cabeza hexagonal de las válvulas de alivio de la bomba de la transmisión 3 vueltas completas en sentido antihorario (Figura 38).
Important: Debe dirigir manualmente la máquina cuando se remolca. Cuando el motor está apagado, no hay dirección asistida hidráulica y cuesta trabajo dirigir la máquina.

Baje y enganche la plataforma; consulte Bajada de la plataforma.
Retire los calzos de las ruedas
Important: No remolque la máquina a más de 3 – 5 km/h, o durante más de 3 minutos; de lo contrario, pueden producirse daños internos en la transmisión.
Utilice la argolla de remolque delantera para remolcar la máquina.
Remolque la máquina una corta distancia, a baja velocidad, durante no más de 3 minutos.
Calce las ruedas delanteras.
Eleve la plataforma; consulte Elevación de la plataforma.
Utilice una llave allen de 8 mm para girar los 2 tapones de cabeza hexagonal de las válvulas de alivio de la bomba de la transmisión 3 vueltas en sentido horario (Figura 39).

Apriete los 2 tapones de cabeza hexagonal a 81 N·m.
Retire el perno de 12 mm x 40 mm y la arandela de 12 mm del taladro en el centro de la placa del extremo del motor (Figura 40).

Instale el tapón hexagonal en la placa del extremo del motor (Figura 41).

Repita los pasos 1 a 2 para el freno al otro lado de la máquina.
Retire los calces de las ruedas.
Desconecte la barra de remolque.
Note: La transmisión y los frenos están listos para su uso.
Guarde los 2 pernos de 12 mm x 40 mm y las 2 arandelas de 12 mm almacenados en los raíles de soporte de la plataforma (Figura 41).

Baje la plataforma; consulte Bajada de la plataforma.
Desenganche el vehículo de remolque.
Compruebe el funcionamiento del freno de la máquina.
El uso de la máquina cuando el sistema de frenos no funciona correctamente puede hacer que pierda el control de la máquina y provocar lesiones graves a usted y a otras personas.
Antes de usar la máquina, asegúrese de que el sistema de frenos funciona correctamente. Realice las comprobaciones iniciales conduciendo la máquina a baja velocidad. No utilice la máquina con un sistema de frenos desconectado o averiado.
Descargue una copia gratuita del esquema eléctrico o hidráulico en www.toro.com/es-es y busque su máquina en el enlace Manuales de la página de inicio.
Note: Los lados derecho e izquierdo de la máquina se determinan desde la posición normal del operador.
Antes de dejar el puesto del operador, realice lo siguiente:
Aparque la máquina en una superficie nivelada.
Desengrane y baje las unidades de corte.
Accione el freno de estacionamiento.
Apague el motor y retire la llave.
Espere a que se detenga todo movimiento.
Deje que la máquina se enfríe antes de realizar ajustes, tareas de mantenimiento y de limpieza o de guardarla.
Lleve ropa adecuada, incluyendo protección ocular, pantalón largo y calzado resistente y antideslizante. Mantenga las manos, los pies, las joyas y el pelo largo alejados de las piezas en movimiento.
Deje que los componentes de la máquina se enfríen antes de realizar el mantenimiento.
Si es posible, no realice tareas de mantenimiento con el motor en marcha. Manténgase alejado de las piezas en movimiento.
Accione el motor únicamente en áreas bien ventiladas. Los gases de escape contienen monóxido de carbono, que resulta letal si se inhala.
Apoye la máquina con caballetes siempre que trabaje debajo de la máquina.
Alivie con cuidado la tensión de aquellos componentes que tengan energía almacenada.
Mantenga todas las piezas en buen estado de funcionamiento y todos los herrajes bien apretados.
Sustituya cualquier calcomanía desgastada o deteriorada.
Para garantizar un rendimiento seguro y óptimo de la máquina, utilice únicamente piezas de repuesto genuinas Toro. Las piezas de repuesto de otros fabricantes podrían ser peligrosas y su uso podría invalidar la garantía del producto.
| Intervalo de mantenimiento y servicio | Procedimiento de mantenimiento |
|---|---|
| Después de la primera hora |
|
| Después de las primeras 10 horas |
|
| Después de las primeras 50 horas |
|
| Cada vez que se utilice o diariamente |
|
| Cada 50 horas |
|
| Cada 250 horas |
|
| Cada 500 horas |
|
| Cada 1000 horas |
|
| Cada 1500 horas |
|
| Cada 3000 horas |
|
| Cada año |
|
| Cada 2 años |
|
Duplique esta página para su uso rutinario.
| Elemento a comprobar | Para la semana de: | ||||||
|---|---|---|---|---|---|---|---|
| Lun. | Mar. | Miér. | Jue. | Vie. | Sáb. | Dom. | |
| Compruebe el nivel de aceite del motor. | |||||||
| Compruebe el indicador de obstrucciones del filtro de aire. | |||||||
| Drene el agua del separador de agua/combustible. | |||||||
| Compruebe que no hay fugas de fluidos. | |||||||
| Compruebe el sistema de refrigeración. | |||||||
| Retire cualquier residuo de la rejilla y del radiador/enfriador de aceite.. | |||||||
| Engrase los cojinetes, los casquillos y los puntos de giro.2 | |||||||
| Compruebe la presión de aire de los neumáticos. | |||||||
| Compruebe el nivel de fluido hidráulico. | |||||||
| Compruebe las líneas y mangueras hidráulicas. | |||||||
| Compruebe las fijaciones de la máquina. | |||||||
| Compruebe las unidades de corte. | |||||||
| Compruebe el ajuste de altura de corte. | |||||||
| Inspeccione el cinturón de seguridad. | |||||||
| Compruebe el funcionamiento del pedal de tracción. | |||||||
| Compruebe la operación de los instrumentos. | |||||||
| Compruebe que no haya ruidos extraños en el motor.1 | |||||||
| Compruebe el funcionamiento de los interruptores de seguridad. | |||||||
| Compruebe el funcionamiento de los frenos. | |||||||
| Compruebe que no haya ruidos extraños durante el funcionamiento. | |||||||
| Lave la máquina.2 | |||||||
| Retoque cualquier pintura dañada. | |||||||
|
1. Compruebe la bujía y las boquillas de los inyectores si es difícil arrancar el motor, si se genera un exceso de humo o si el funcionamiento es irregular. |
|||||||
|
2. Engrase la máquina inmediatamente después de cada lavado, aunque no corresponda a los intervalos citados. |
|||||||
| Inspección realizada por: | ||
| Elemento | Fecha | Información |
| 1 | ||
| 2 | ||
| 3 | ||
| 4 | ||
| 5 | ||
| 6 | ||
El uso de la máquina con la plataforma sin cerrar puede hacer que pierda el control de la máquina y provocar lesiones graves a usted y a otras personas.
No utilice nunca la máquina sin antes comprobar que el mecanismo de cierre de la plataforma del operador está correctamente bloqueado y en buenas condiciones de funcionamiento.
Baje la plataforma con cuidado (Figura 45).
Note: El cilindro de elevación de gas ayuda a sostener la plataforma.

Cuando la plataforma se acerque a la posición de totalmente bajada, mueva la palanca de cierre de la plataforma (Figura 46) hacia la parte delantera de la máquina.
Note: De esta forma, los cierres no chocarán contra la barra de bloqueo.

Baje la plataforma del todo y mueva la palanca de cierre de la plataforma hacia la parte trasera de la máquina hasta que el cierre se enganche del todo en la barra de bloqueo (Figura 47).

Alinee los taladros en la parte inferior del compartimiento de almacenamiento con los taladros en los soportes del chasis.
Monte el compartimento de almacenamiento en la máquina con los 3 pomos y las 3 arandelas (Figura 49).

Cierre la puerta del compartimento de almacenamiento.
Note: Utilice gatos fijos para apoyar la máquina cuando la levante.
Los gatos mecánicos o hidráulicos pueden no aguantar el peso de la máquina y pueden dar lugar a lesiones graves.
Utilice soportes fijos para apoyar la máquina.
Delante – debajo del soporte del brazo delantero
Detrás – tubo del eje trasero

| Intervalo de mantenimiento y servicio | Procedimiento de mantenimiento |
|---|---|
| Cada vez que se utilice o diariamente |
|
| Cada 50 horas |
|
Important: Engrase los cojinetes, los casquillos y los puntos de giro inmediatamente después de cada lavado, aunque no corresponda a los intervalos de mantenimiento.
Especificación de la grasa: Grasa de litio Nº 2.
Utilice 1 aplicación de grasa en los ajustadores de altura de corte, y 3 aplicaciones de grasa en todos los demás engrasadores.
Consulte en la Figura 51 la ubicación de los engrasadores.
Sustituya cualquier engrasador que esté dañado.

Apague el motor antes de comprobar el aceite o añadir aceite al cárter.
No cambie la velocidad del regulador ni haga funcionar el motor a una velocidad excesiva.
| Intervalo de mantenimiento y servicio | Procedimiento de mantenimiento |
|---|---|
| Cada vez que se utilice o diariamente |
|
Abra el capó.
Compruebe el indicador de obstrucciones del filtro de aire (Figura 52).
Important: Si el indicador se ve rojo, inspeccione el filtro de aire primario y cámbielo si está sucio o dañado; consulte Cambio del filtro de aire primario.

Si el indicador de obstrucciones del filtro no se ve rojo, cierre el capó.
| Intervalo de mantenimiento y servicio | Procedimiento de mantenimiento |
|---|---|
| Cada 500 horas |
|
Inspeccione la carcasa del limpiador de aire en busca de daños que pudieran causar una fuga de aire. Cambie la carcasa del limpiador de aire si está dañada. Compruebe todo el sistema de admisión en busca de fugas, daños o abrazaderas sueltas.
Note: Revise el filtro de aire primario cuando el indicador de obstrucciones del filtro (Figura 52) se ve rojo. Los cambios frecuentes del filtro aumentan la posibilidad de que entre suciedad en el motor al retirar el filtro.
Important: Asegúrese de que la tapa está bien asentada y que hace un buen sello con la carcasa del limpiador de aire.
Antes de retirar la tapa del filtro de aire, utilice aire a baja presión (2,76 bar, limpio y seco) para retirar cualquier gran acumulación de residuos del exterior del cartucho del filtro.
Note: Este proceso de limpieza evita que los residuos migren a la entrada de aire al retirar el filtro.
Important: Evite utilizar aire a alta presión, porque podría obligar a la suciedad a penetrar a través del filtro a la entrada.

Retire la tapa de la carcasa del limpiador de aire.
Retire el filtro de aire primario (Figura 53).
Important: No limpie y reutilice un elemento usado porque puede dañar el elemento filtrante.
Asegúrese de que el filtro nuevo no ha sido dañado durante el transporte, comprobando el extremo sellante del filtro y la carcasa.
Important: No utilice el elemento si está dañado.
Introduzca el filtro nuevo presionando el borde exterior del elemento para asentarlo en el cartucho.
Important: No aplique presión al centro flexible del filtro.
Limpie el orificio de salida de suciedad de la tapa del filtro de aire. Retire la válvula de salida de goma de la tapa, limpie el hueco de la válvula e instale la válvula de salida en la tapa del filtro de aire.
Alinee el orificio de salida de suciedad de la tapa del filtro de aire a una posición entre las 5 y las 7, visto desde el extremo, monte la tapa en el cartucho y sujete la tapa.
Compruebe la condición de las mangueras del limpiador de aire.
El filtro tiene un filtro de seguridad secundario dentro del filtro de aire primario para evitar que el polvo desplazado u otras partículas entren en el motor durante el cambio del elemento principal.
Cambie el filtro de seguridad; no lo limpie nunca.
Important: No intente nunca limpiar el filtro de seguridad. Si el filtro de seguridad está sucio, entonces el filtro primario está dañado. Cambie ambos filtros.

Utilice aceite de motor de alta calidad y bajo contenido en ceniza que cumpla o supere las especificaciones siguientes:
Categoría de servicio API CJ-4 o superior
Categoría de servicio ACEA E6
Categoría de servicio JASO DH-2
Important: El uso de un aceite del motor que no sea API CJ-4 o superior, ACEA E6 o JASO DH-2 puede hacer que el filtro de partículas diésel se obstruya o que se produzcan daños en el motor.
Utilice el siguiente grado de viscosidad de aceite del motor:
Aceite preferido: SAE 15W-40 (por encima de los -18 °C) °C)
Aceite alternativo: SAE 10W-30 o 5W-30 (todas las temperaturas)
Su distribuidor autorizado Toro dispone de aceite para motores Toro Premium, de viscosidad 15W-40 o 10W-30. Consulte los números de pieza en el catálogo de piezas.
| Intervalo de mantenimiento y servicio | Procedimiento de mantenimiento |
|---|---|
| Cada vez que se utilice o diariamente |
|
Important: Compruebe el aceite del motor cada día. Si el nivel del aceite está en o por debajo de la marca Lleno de la varilla, el aceite del motor puede diluirse con combustible. Si el nivel del aceite está por encima de la marca Lleno de la varilla, cambie el aceite del motor.
El mejor momento para comprobar el aceite del motor es cuando el motor está frío, antes de arrancarlo al principio de la jornada. Si ya se ha arrancado, deje que el aceite se drene al cárter durante al menos 10 minutos antes de comprobar el nivel. Si el nivel del aceite está en o por debajo de la marca “Add” (Añadir) de la varilla, añada aceite hasta que el nivel llegue a la marca “Full” (Lleno).No llene el motor con demasiado aceite.
Important: Mantenga el nivel del aceite del motor entre los límites superior e inferior en el indicador de aceite; el motor puede fallar si se acciona con aceite insuficiente o en exceso.
Aparque la máquina en una superficie nivelada, baje las unidades de corte, apague el motor, ponga el freno de estacionamiento y retire la llave.
Desenganche los cierres de la cubierta del motor y abra la cubierta del motor.
Retire la varilla, límpiela, vuelva a colocarla en el tubo y retírela de nuevo. El nivel de aceite debe estar entre las marcas LLENO y AñADIR (Figura 55).

Si el nivel de aceite es bajo, retire el tapón de llenado y añada suficiente aceite para que llegue entre las marcas LLENO y AñADIR (Figura 55).
Note: No llene el motor demasiado.
Instale el tapón de llenado y la varilla.
Cierre el capó y afiáncelo con los enganches.
5,5 litros con el filtro
| Intervalo de mantenimiento y servicio | Procedimiento de mantenimiento |
|---|---|
| Cada 500 horas |
|
Retire el tapón de vaciado y deje fluir el aceite a un recipiente apropiado (Figura 56).

Cuando se haya drenado completamente el aceite, coloque el tapón de vaciado y apriételo a 54 – 63 N·m.
Retire el filtro de aceite.
Aplique una capa ligera de aceite limpio a la junta del filtro de aceite.
Enrosque el filtro de aceite en el motor hasta que toque la superficie de montaje, y apriete el filtro una vuelta más.
Important: No apriete el filtro demasiado.
Añada aceite al cárter; consulte Especificación del aceite y Comprobación del nivel de aceite del motor.
| Intervalo de mantenimiento y servicio | Procedimiento de mantenimiento |
|---|---|
| Cada 3000 horas |
|
Si se muestran los fallos , (Comprobar motor spn 3251 fmi 0), (Comprobar motor spn 3720 fmi 0) o (Comprobar motor spn 3720 fmi 16) en el InfoCenter (Figura 57), limpie el filtro de hollín siguiendo los pasos indicados a continuación:



Consulte la sección sobre Motor en el Manual de mantenimiento para obtener información sobre el montaje y el desmontaje del catalizador de oxidación diésel y el filtro de hollín del DPF.
Consulte a su distribuidor autorizado Toro si desea más información sobre el mantenimiento o las piezas de sustitución del catalizador de oxidación diésel o el filtro de hollín.
Póngase en contacto con su distribuidor autorizado Toro para que restablezcan la ECU del motor después de instalar un DPF limpio.
| Intervalo de mantenimiento y servicio | Procedimiento de mantenimiento |
|---|---|
| Cada 1000 horas |
|
| Cada 1500 horas |
|
| Cada 3000 horas |
|
Bajo ciertas condiciones, el combustible y los vapores del combustible son extremadamente inflamables y explosivos. Un incendio o explosión de combustible puede quemarle a usted y a otras personas y causar daños materiales.
Llene el depósito de combustible en el exterior, en una zona abierta y con el motor apagado y frío. Limpie cualquier combustible derramado.
No llene completamente el depósito de combustible. Añada combustible al depósito de combustible hasta que el nivel esté a 25 mm por debajo de la parte superior del depósito, no del cuello de llenado. Este espacio vacío en el depósito permite la dilatación del combustible.
No fume nunca mientras maneja combustible y aléjese de llamas desnudas o lugares donde los vapores del combustible puedan incendiarse con chispas.
Almacene el combustible en un recipiente limpio homologado y mantenga el tapón colocado.
Este Manual del operador contiene información más detallada sobre el mantenimiento del combustible y del sistema de combustible que el Manual del propietario del motor Yanmar®, que es una referencia de carácter general sobre el combustible y el mantenimiento del mismo.
Asegúrese de que comprende que el mantenimiento del sistema de combustible, el almacenamiento del combustible y la calidad del combustible requieren su atención para evitar tiempos de parada y complejas reparaciones del motor.
El sistema de combustible presenta márgenes de tolerancia extremadamente reducidos, debido a los requisitos de emisiones y de control. La calidad y la limpieza del diésel resultan más importantes para la longevidad del sistema actual de inyección de combustible "common rail" de alta presión (HPCR) que se utiliza en los motores diésel.
Important: La presencia de agua o aire en el sistema de combustible producirá daños en el motor. No dé por sentado que el combustible nuevo está limpio. Asegúrese de que el combustible procede de un proveedor de calidad, almacene el combustible correctamente y utilice el suministro de combustible en un plazo de 180 días.
Important: Si no sigue los procedimientos de sustitución del filtro de combustible, de mantenimiento del sistema del combustible y de almacenamiento del combustible, el sistema de combustible del motor podría fallar de forma prematura. Realice todas las tareas de mantenimiento del sistema de combustible a los intervalos especificados, o bien cuando el combustible esté contaminado o sea de calidad deficiente.
El almacenamiento adecuado del combustible es fundamental para el motor. Con frecuencia, se subestima el mantenimiento adecuado de los depósitos de almacenamiento del combustible y esto puede contaminar el combustible que se suministra a la máquina.
Adquiera únicamente el combustible suficiente que vaya a consumir en un plazo de 180 días. No utilice combustible que haya estado almacenado más de 180 días. Esto contribuye a eliminar el agua y otros contaminantes en el combustible.
Si no elimina el agua del depósito de almacenamiento o del depósito de combustible de la máquina, se puede puede generar óxido o contaminación en el depósito de combustible y en los componentes del sistema de combustible. Los lodos en los depósitos debidos a moho, bacterias u hongos restringen el flujo y atascan el filtro y los inyectores de combustible.
Inspeccione el depósito de almacenamiento de combustible y el depósito de combustible de la máquina de forma habitual para supervisar la calidad del combustible en el depósito.
Asegúrese de que el combustible procede de un proveedor de calidad.
Si encuentra agua o contaminantes en el depósito de almacenamiento o en el depósito de combustible de la máquina, trabaje con el proveedor de combustible para solucionar el problema y realice todas las tareas de mantenimiento del sistema de combustible.
No almacene el diésel en depósitos o botes fabricados con componentes galvanizados.
| Intervalo de mantenimiento y servicio | Procedimiento de mantenimiento |
|---|---|
| Cada vez que se utilice o diariamente |
|
Aparque la máquina en una superficie nivelada, baje las unidades de corte, ponga el freno de estacionamiento, apague el motor y retire la llave.
Coloque un recipiente limpio debajo del filtro de combustible.
Afloje el tapón de vaciado en la parte inferior del cartucho del filtro y abra el tornillo de ventilación situado encima del soporte del cartucho.

Apriete la válvula de vaciado situada en la parte inferior del cartucho del filtro y cierre el tornillo de ventilación situado en la parte superior del soporte del cartucho.
Cebe el sistema de combustible; consulte Cebado del sistema de combustible.
Cebe el sistema de combustible en los casos siguientes:
Antes de arrancar el motor por primera vez.
Si se queda sin combustible y luego añade combustible fresco al sistema.
Después de realizar tareas de mantenimiento en el sistema de combustible, como por ejemplo cambiar el filtro de combustible, vaciar el separador de agua, o cambiar cualquier componente del sistema de combustible.
Para cebar el sistema de combustible, gire la llave de encendido a la posición de CONECTADO durante 10 - 15 segundos para permitir que la bomba de combustible eléctrica cebe el sistema de combustible.
Important: No utilice el motor de arranque para hacer girar el motor con el fin de cebar el sistema de combustible. Se dañaría el motor de arranque.
| Intervalo de mantenimiento y servicio | Procedimiento de mantenimiento |
|---|---|
| Cada 500 horas |
|
Important: Cambie periódicamente el cartucho del filtro de combustible para evitar el desgaste del émbolo de la bomba de inyección de combustible, o la boquilla de inyección, debido a la presencia de suciedad en el combustible.
Coloque un recipiente limpio debajo del filtro de combustible (Figura 59).
Drene el cartucho del filtro de combustible; consulte Mantenimiento del separador de agua.
Limpie la zona alrededor de la cabeza del filtro de combustible (Figura 59).

Retire el cartucho del filtro y limpie la cabeza del filtro (Figura 59).
Lubrique la junta del cartucho del filtro con combustible diésel limpio.
Instale el cartucho de filtro nuevo a mano hasta que la junta entre en contacto con la superficie de montaje.
Cebe el sistema de combustible; consulte Cebado del sistema de combustible.
| Intervalo de mantenimiento y servicio | Procedimiento de mantenimiento |
|---|---|
| Cada 500 horas |
|
Note: Consulte la información adicional incluida en el Manual del propietario del motor, incluido con la máquina.
Limpie la zona alrededor de la cabeza del filtro de combustible (Figura 60).

Retire el filtro y limpie la superficie de montaje de la cabeza del filtro (Figura 60).
Lubrique la junta del filtro con combustible diésel limpio.
Instale el cartucho filtrante seco, a mano, hasta que la junta entre en contacto con la cabeza del filtro, luego gírelo media vuelta más.
Arranque el motor y compruebe que no hay fugas de combustible alrededor de la cabeza del filtro.
| Intervalo de mantenimiento y servicio | Procedimiento de mantenimiento |
|---|---|
| Cada 500 horas |
|
Compruebe que los tubos y las conexiones no están deteriorados o dañados, y que las conexiones no están sueltas.
El tubo de aspiración de combustible está situado dentro del depósito de combustible. El tubo de aspiración está equipado con un filtro para evitar que entren residuos en el sistema de combustible. Retire el tubo de aspiración de combustible y limpie el filtro según sea necesario.
Important: Antes de efectuar soldaduras en la máquina, desconecte ambos cables de la batería, desconecte ambos conectores de arnés de cables de los módulos de control electrónico y desconecte el conector terminal del alternador para evitar daños en el sistema eléctrico.
Desconecte la batería antes de reparar la máquina. Desconecte primero el terminal negativo y luego el positivo. Conecte primero el terminal positivo y luego el negativo.
Cargue la batería en una zona abierta y bien ventilada, lejos de chispas y llamas. Desenchufe el cargador antes de conectar o desconectar la batería. Lleve ropa protectora y utilice herramientas aisladas.
El electrolito de la batería contiene ácido sulfúrico, que es un veneno mortal si se ingiere y causa quemaduras graves.
No beba electrolito y evite el contacto con la piel, los ojos y la ropa. Lleve gafas de seguridad para proteger sus ojos, y guantes de goma para proteger sus manos.
Llene la batería en un lugar que tenga disponible agua limpia para enjuagar la piel.
El proceso de carga de la batería produce gases que pueden explotar.
No fume nunca cerca de la batería, y mantenga alejados de la batería chispas y llamas.
Mantenga limpios los bornes y toda la carcasa de la batería, porque una batería sucia se descargará lentamente. Para limpiar la batería, lave toda la carcasa con una solución de bicarbonato y agua. Enjuague con agua clara.
| Intervalo de mantenimiento y servicio | Procedimiento de mantenimiento |
|---|---|
| Cada 50 horas |
|
Important: Al retirar la batería, desconecte siempre el cable negativo (–) primero.
Important: Al instalar la batería, conecte siempre el cable negativo (-) en último lugar.
En condiciones de uso normales, la batería no requiere más cuidados. Si la máquina ha estado sometido a uso continuo a alta temperatura ambiental, puede ser necesario añadir agua al electrolito de la batería.
Retire el compartimento de almacenamiento; consulte Retirada del compartimento de almacenamiento.
Elimine cualquier corrosión de los bornes de la batería con un cepillo de alambre para evitar más corrosión.
Note: Compruebe la condición de los cables de la batería. Instale cables nuevos cuando los actuales muestran señales de daños o desgaste, y apriete las conexiones si es necesario.
Aplique una capa de grasa Grafo 112X (Pieza Toro N.º 505-47) o de vaselina a los bornes.
Limpie el compartimento de la batería.
Retire las tapas de las celdas y si es necesario rellene con agua destilada hasta una altura de 15 mm por debajo de la parte superior de la batería. Instale las tapas de la celdas.
Instale el compartimento de almacenamiento; consulte Instalación del compartimento de almacenamiento.
| Intervalo de mantenimiento y servicio | Procedimiento de mantenimiento |
|---|---|
| Cada 500 horas |
|
Compruebe todas las conexiones y cables eléctricos y cambie cualquier componente que esté dañado o corroído. Pulverice un inhibidor de agua de buena calidad sobre las conexiones expuestas para evitar la entrada de humedad.
Retire el compartimento de almacenamiento; consulte Retirada del compartimento de almacenamiento.
Retire la tapa del bloque de fusibles (Figura 61)
Note: El bloque de fusibles está situado junto a la batería.

Compruebe que no hay fusibles fundidos.
Note: Hay 10 fusibles en el sistema eléctrico.
Cambie cualquier fusible fundido por otro fusible del mismo amperaje.

Instale la tapa del bloque de fusibles (Figura 61).
Instale el compartimento de almacenamiento; consulte Instalación del compartimento de almacenamiento.
| Intervalo de mantenimiento y servicio | Procedimiento de mantenimiento |
|---|---|
| Cada vez que se utilice o diariamente |
|
Important: Mantenga la presión correcta en todos los neumáticos para asegurar un contacto correcto con el césped.
La presión recomendada de los neumáticos para el uso normal es de 1 bar. Ajuste las presiones de aire según la siguiente tabla, dependiendo de las condiciones de funcionamiento.
| Neumáticos | Tipo de neumático | Presión recomendada de los neumáticos | ||
| Césped | Carretera | Presión máxima | ||
| Eje Delantero | 26 x 12 - 12 BKT, dibujo de césped | 0,7 bar | 1,4 bar | 1,4 bar |
| Eje trasero | 20 x 10 - 8 BKT, dibujo de césped | 0,7 bar | 1,4 bar | 1,5 bar |
| Intervalo de mantenimiento y servicio | Procedimiento de mantenimiento |
|---|---|
| Después de la primera hora |
|
| Después de las primeras 10 horas |
|
| Cada 250 horas |
|
Especificación del par de apriete de las tuercas de las ruedas delanteras: 200 N·m
Especificación del par de apriete de las tuercas de las ruedas traseras: 100 N·m
Si no se mantienen correctamente apretadas las tuercas de las ruedas, podrían producirse lesiones personales.
Mantenga el par de apriete correcto de las tuercas de las ruedas.
| Intervalo de mantenimiento y servicio | Procedimiento de mantenimiento |
|---|---|
| Cada 250 horas |
|
Compruebe la condición y la seguridad del cable y del mecanismo de accionamiento en ambos extremos: en los pedales de control de velocidad y en la bomba de la transmisión.
Retire cualquier acumulación de suciedad, arenilla y otros residuos.
Asegúrese de que las articulaciones esféricas están firmemente anclados y compruebe que los soportes de montaje y los anclajes del cable están apretados y libres de grietas.
Inspeccione los herrajes de los extremos del cable en busca de desgaste, corrosión o muelles rotos, y cámbielos si es necesario.
Asegúrese de que las juntas de goma están correctamente colocadas y que están en buenas condiciones.
Asegúrese de que los manguitos articulados que sostienen el cable interior están en buenas condiciones y están firmemente sujetos al conjunto del cable exterior en los conectores engarzados. Si hay señales de agrietamiento o separación, instale un cable nuevo inmediatamente.
Compruebe que los manguitos, las varillas y el cable no están doblados, torcidos o dañados de otra manera. Si están doblados, torcidos o dañados, instale un cable nuevo inmediatamente.
Con el motor apagado, accione los pedales en todo su recorrido y asegúrese de que el mecanismo se desplaza suave y libremente a la posición de punto muerto sin atascarse o engancharse.

| Intervalo de mantenimiento y servicio | Procedimiento de mantenimiento |
|---|---|
| Cada 500 horas |
|
Para evitar el desgaste excesivo de los neumáticos y garantizar un funcionamiento seguro de la máquina, la parte delantera y trasera de las ruedas traseras deben estar alineadas con una diferencia de 5 mm o menos.
Gire el volante para alinear las ruedas traseras mirando hacia delante.
A la altura del eje, mida la distancia entre la parte delantera de las ruedas traseras y entre la parte trasera de las ruedas traseras.
Note: Las ruedas están alineadas si la diferencia entre las mediciones delanteras y traseras es de 5 mm o menos.

Si la diferencia entre las mediciones delanteras y traseras es superior a 5 mm, alinee las ruedas traseras; consulte Ajuste de la convergencia de las ruedas traseras
En la parte delantera de la rueda trasera, afloje las 2 tuercas autoblocantes que fijan el conjunto de varilla de acoplamiento al extremo de la varilla (Figura 65).

Alinee las ruedas girando la varilla de acoplamiento (Figura 65).
Note: Utilice los segmentos planos de la varilla de acoplamiento para girarla.
A la altura del eje, mida la distancia entre la parte delantera de las ruedas traseras y entre la parte trasera de las ruedas traseras.
Note: Las ruedas están alineadas si la diferencia entre las mediciones delanteras y traseras es de 5 mm o menos.

Repita los pasos 2 y 3 hasta que las ruedas estén alineadas.
Apriete las 2 tuercas autoblocantes para fijar el conjunto de varilla de acoplamiento y los extremos de la varilla (Figura 65).
La ingestión del refrigerante del motor puede causar envenenamiento; manténgalo fuera del alcance de niños y animales domésticos.
Una descarga de refrigerante caliente bajo presión, o cualquier contacto con el radiador caliente y los componentes que lo rodean, puede causar quemaduras graves.
Siempre deje que el motor se enfríe durante al menos 15 minutos antes de retirar el tapón del radiador.
Utilice un trapo al abrir el tapón del radiador y ábralo lentamente para permitir la salida del vapor.
El depósito de refrigerante se llena en fábrica con una solución al 50 % de agua y refrigerante de etilenglicol de larga duración.
Important: Utilice solamente refrigerantes comerciales que cumplan las especificaciones relacionadas en la Tabla de estándares de refrigerantes de larga vida.No utilice refrigerante IAT (tecnología de ácido inorgánico) convencional (verde) en su máquina. No mezcle refrigerante convencional con refrigerante de larga vida.
|
Tipo de refrigerante de etilenglicol |
Tipo de inhibidor de corrosión |
|
Anticongelante de larga duración |
Tecnología de ácido orgánico (OAT) |
|
Important: No confíe en el color del refrigerante para identificar la diferencia entre refrigerante IAT (tecnología de ácido inorgánico) convencional (verde) y refrigerante de larga vida.Los fabricantes de refrigerante pueden teñir los refrigerantes de larga duración con uno de los siguientes colores: rojo, rosa, naranja, amarillo, azul, verde azulado, violeta o verde. Utilice refrigerante que cumpla las especificaciones de la Tabla de estándares de refrigerantes de larga vida. |
|
|
ATSM International |
SAE International |
|
D3306 y D4985 |
J1034, J814, y 1941 |
Important: La concentración del refrigerante debe ser una mezcla al 50% de refrigerante y agua.
Preferencia: Al hacer la mezcla a partir de un refrigerante concentrado, mézclelo con agua destilada.
Alternativa a la preferencia: Si no se dispone de agua destilada, utilice un refrigerante premezclado en lugar de un concentrado.
Requisito mínimo: Si no dispone de agua destilada ni tampoco de refrigerante premezclado, mezcle refrigerante concentrado con agua potable limpia.
| Intervalo de mantenimiento y servicio | Procedimiento de mantenimiento |
|---|---|
| Cada vez que se utilice o diariamente |
|
Si el motor ha estado en marcha, puede haber fugas de refrigerante caliente y bajo presión, que puede causar quemaduras.
No retire el tapón del radiador cuando el motor está en marcha.
Utilice un trapo al abrir el tapón del radiador, y ábralo lentamente para permitir la salida del vapor.
Compruebe el nivel de refrigerante en el depósito de expansión (Figura 67).
El nivel del refrigerante debe estar entre las marcas en el lateral del depósito.

Si el nivel de refrigerante es bajo, retire el tapón del depósito de expansión y rellene el sistema. No llene demasiado.
Instale el tapón del depósito de expansión.
| Intervalo de mantenimiento y servicio | Procedimiento de mantenimiento |
|---|---|
| Cada vez que se utilice o diariamente |
|
Aparque la máquina en una superficie nivelada, baje las unidades de corte, apague el motor, ponga el freno de estacionamiento y retire la llave.
Retire el pasador de bola del cierre de la rejilla (Figura 68).

Desenganche la rejilla del motor, ábrala y levántela de la máquina (Figura 69).

Limpie las rejillas.
Desenganche y abra el capó (Figura 70).

Limpie a fondo la zona del motor, retirando todos los residuos.
Limpie a fondo ambos lados del radiador y del enfriador de aceite con aire comprimido (Figura 71).

Cierre y enganche el capó.
Monte la rejilla sobre los pasadores de giro, cierre la rejilla y sujétela con el cierre y el pasador de bola.
| Intervalo de mantenimiento y servicio | Procedimiento de mantenimiento |
|---|---|
| Después de las primeras 50 horas |
|
| Cada 250 horas |
|
Aplique una fuerza de 10 kgf contra la correa del alternador (Figura 72), en el punto intermedio entre las poleas.
Note: La correa debe desviarse 10 mm.

Si la tensión de la correa no es correcta, haga lo siguiente:
Si la desviación de la correa es inferior a 10 mm, afloje el perno del pivote del alternador y el perno tensor (Figura 72), y reduzca la tensión de la correa.
Si la desviación de la correa es superior a 10 mm, afloje el perno de pivote del alternador y el perno tensor (Figura 72), y aumente la tensión de la correa.
Note: Si es necesario, afloje el perno de la placa tensora (Figura 72).
Apriete los pernos (Figura 72).
Compruebe de nuevo la desviación de la correa para asegurarse de que la tensión es la correcta.
Busque atención médica inmediatamente si el fluido penetra en la piel. Un médico deberá eliminar quirúrgicamente el fluido inyectado en pocas horas.
Asegúrese de que todas las mangueras y líneas de fluido hidráulicos están en buenas condiciones de uso, y que todos los acoplamientos y conexiones hidráulicos están apretados, antes de aplicar presión al sistema hidráulico.
Mantenga el cuerpo y las manos alejados de fugas pequeñas o boquillas que liberan fluido hidráulico a alta presión.
Utilice un cartón o un papel para buscar fugas hidráulicas.
Alivie de manera segura toda presión en el sistema hidráulico antes de realizar trabajo alguno en el sistema hidráulico.
| Intervalo de mantenimiento y servicio | Procedimiento de mantenimiento |
|---|---|
| Cada vez que se utilice o diariamente |
|
Inspeccione las líneas y mangueras hidráulicas para comprobar que no tienen fugas, que no están dobladas, que los soportes no están sueltos, y que no hay desgaste, elementos sueltos, o deterioro causado por agentes ambientales o químicos. Haga todas las reparaciones necesarias antes de operar la máquina.
El depósito se llena en la fábrica con fluido hidráulico de alta calidad. Compruebe el nivel del fluido hidráulico antes de arrancar el motor por primera vez y luego a diario; consulte Comprobación del nivel de fluido hidráulico.
Fluido hidráulico recomendado: fluido hidráulico Toro PX Extended Life, disponible en recipientes de 19 litros o en bidones de 208 litros.
Note: Una máquina que utilice el fluido de recambio recomendado necesita menos cambios de filtro y de fluido.
Fluidos hidráulicos alternativos: si no se encuentra disponible el fluido hidráulico Toro PX Extended Life, puede utilizar otro fluido hidráulico convencional basado en petróleo cuyas especificaciones referentes a todas las propiedades materiales estén dentro de los intervalos relacionados a continuación y que cumpla las normas industriales. No utilice fluidos sintéticos. Consulte a su distribuidor de lubricantes para identificar un producto satisfactorio.
Note: Toro no asume responsabilidad alguna por daños causados por sustituciones no adecuadas, por lo que debe utilizar solamente productos de fabricantes reputados que respalden sus recomendaciones.
| Propiedades de materiales: | ||
| Viscosidad, ASTM D445 | cSt a 40 °C 44 a 48 | |
| Índice de viscosidad ASTM D2270 | 140 o más | |
| Punto de descongelación, ASTM D97 | -37 °C a -45 °C | |
| Especificaciones industriales: | Eaton Vickers 694 (I-286-S, M-2950-S/35VQ25 o M-2952-S) | |
Note: La mayoría de los fluidos hidráulicos son casi incoloros, por lo que es difícil detectar fugas. Está disponible un aditivo de tinte rojo para el fluido hidráulico, en botellas de 20 ml. Una botella es suficiente para 15 a 22 litros de fluido hidráulico. Solicite el N.º de pieza 44-2500 a su distribuidor autorizado Toro.
Important: El fluido hidráulico biodegradable Toro Premium Synthetic es el único fluido sintético biodegradable homologado por Toro. Este fluido es compatible con los elastómeros usados en los sistemas hidráulicos Toro, y es apropiado para un amplio intervalo de temperaturas. Este fluido es compatible con aceites minerales convencionales, pero para obtener la máxima biodegradabilidad y rendimiento es necesario purgar el sistema hidráulico completamente de fluido convencional. Su distribuidor Toro autorizado dispone de este aceite en recipientes de 19 litros o en bidones de 208 litros.
| Intervalo de mantenimiento y servicio | Procedimiento de mantenimiento |
|---|---|
| Cada vez que se utilice o diariamente |
|
El depósito se llena en la fábrica con fluido hidráulico de alta calidad. El mejor momento para comprobar el fluido hidráulico es cuando está frío.
Aparque la máquina en una superficie nivelada, baje las unidades de corte, ponga el freno de estacionamiento, apague el motor y retire la llave.
Compruebe la mirilla del lateral del depósito.
Note: El nivel de fluido hidráulico debe quedar alineado con la marca superior.
Si se necesita más fluido hidráulico, retire el compartimento de almacenamiento; consulte Retirada del compartimento de almacenamiento.
Limpie la zona alrededor del cuello de llenado y el tapón del depósito hidráulico (Figura 73).


Retire el tapón y llene el depósito con fluido hidráulico del tipo especificado hasta la marca superior de la mirilla.
Important: No llene el depósito con demasiado fluido hidráulico.
Instale el tapón en el depósito.
Instale el compartimento de almacenamiento; consulte Instalación del compartimento de almacenamiento.
| Intervalo de mantenimiento y servicio | Procedimiento de mantenimiento |
|---|---|
| Cada 500 horas |
|
| Cada 1000 horas |
|
Aparque la máquina en una superficie nivelada, baje las unidades de corte, apague el motor, ponga el freno de estacionamiento y retire la llave.
Abra el capó.
En el lado izquierdo de la máquina, limpie la zona alrededor de la cabeza del filtro y coloque un recipiente debajo del filtro (Figura 74).

Retire el filtro de retorno (Figura 74).
Lubrique la junta del filtro de retorno nuevo con fluido hidráulico limpio.
Monte el filtro en la cabeza del filtro y apriételo a mano hasta que la junta entre en contacto con la superficie de montaje, luego gírelo media vuelta más (Figura 74).
Arranque el motor y déjelo en marcha durante 2 minutos para purgar el aire del sistema.
Apague el motor, retire la llave y compruebe que no haya fugas.
Cierre y enganche el capó.
| Intervalo de mantenimiento y servicio | Procedimiento de mantenimiento |
|---|---|
| Cada 500 horas |
|
| Cada 1000 horas |
|
Si el fluido se contamina, póngase en contacto con su distribuidor autorizado Toro para que purgue el sistema. El fluido contaminado tiene un aspecto lechoso o negro en comparación con el fluido limpio.
Aparque la máquina en una superficie nivelada, baje las unidades de corte, apague el motor, ponga el freno de estacionamiento y retire la llave.
Retire el compartimento de almacenamiento; consulte Retirada del compartimento de almacenamiento.
Coloque un recipiente debajo del depósito hidráulico, retire el tapón de vaciado del depósito y drene por completo el fluido hidráulico (Figura 75).

Instale el tapón de vaciado con una junta nueva.
32 litros; consulte Especificación del fluido hidráulico
Llene el depósito hidráulico con el fluido hidráulico especificado; consulte Especificación del fluido hidráulico y Comprobación del nivel de fluido hidráulico.
Important: Utilice solamente fluidos hidráulicos de los tipos especificados; otros fluidos hidráulicos podrían dañar el sistema.
Ponga la máquina en marcha y accione todos los sistemas hidráulicos hasta que el fluido hidráulico esté a temperatura media.
Compruebe el nivel de fluido y añada más si es necesario hasta llegar a la marca superior de la mirilla.
Instale el compartimento de almacenamiento; consulte Instalación del compartimento de almacenamiento.
Una cuchilla o una contracuchilla desgastada o dañada puede romperse, y un trozo de la cuchilla podría ser arrojado hacia usted u otra persona, lo que puede provocar lesiones personales graves o la muerte.
Inspeccione periódicamente las cuchillas y las contracuchillas, para asegurarse de que no presentan un desgaste excesivo ni daños.
Tenga cuidado al comprobar las cuchillas. Lleve guantes y extreme las precauciones durante su mantenimiento. Las cuchillas y las contracuchillas solo se pueden cambiar o afilar; no las enderece ni las suelde nunca.
En máquinas con múltiples unidades de corte, tenga cuidado al girar una unidad de corte, ya que puede hacer que giren los molinetes en las otras unidades de corte.
| Intervalo de mantenimiento y servicio | Procedimiento de mantenimiento |
|---|---|
| Cada año |
|
Para mantener el equilibrio, cambie las cuchillas únicamente en pares opuestos, o sustituya todas las cuchillas del rotor al mismo tiempo. Cambie también el casquillo, el perno y la contratuerca al sustituir una cuchilla. Están disponibles dos kits de mantenimiento para la sustitución de las cuchillas; consulte el Catálogo de piezas.
Eleve las unidades de corte y sujételas con los enganches de transporte.
Ponga el freno de estacionamiento, apague el motor y retire la llave.
Si va a sustituir cuchillas en la unidad de corte central, retire la unidad de corte completa a menos que disponga de un polipasto o una grúa.
Gire el rotor lentamente a mano para colocar cada fila de cuchillas en la posición deseada para que sea fácilmente accesible.
Utilice la herramienta de bloqueo del rotor (suministrado con el kit de afilado de cuchillas) para bloquear el rotor.
Retire los residuos de la cabeza del perno y la tuerca, y limpie las roscas que sobresalen con un cepillo de alambre.
Marque la posición de la cabeza del perno para poder colocar los pernos desde el mismo lado.
Sujeta la cuchilla con un trapo o un guante acolchado y retire la tuerca, el perno, el casquillo y la cuchilla (Figura 77).
Note: Si es necesario, aplique aceite penetrante a la rosca para facilitar la retirada de la tuerca.

Deseche la cuchilla, el casquillo, la tuerca y el perno.
Instale una cuchilla y casquillo nuevos con una tuerca nueva y un perno nuevo (Figura 77).
Note: Preste atención a la posición de las marcas de la cabeza de los pernos y coloque los pernos nuevos con la misma orientación.
Apriete las fijaciones a 45 N·m.
| Intervalo de mantenimiento y servicio | Procedimiento de mantenimiento |
|---|---|
| Cada 50 horas |
|
Asegúrese de que todos los pernos de las cuchillas están apretadas a 45 N·m.
| Intervalo de mantenimiento y servicio | Procedimiento de mantenimiento |
|---|---|
| Cada vez que se utilice o diariamente |
|
| Cada 50 horas |
|
Important: Las cuchillas deben sustituirse siempre al mismo tiempo que la cuchilla opuesta, o en pares, para mantener el equilibrio.
Aparque la máquina en una superficie nivelada.
Eleve la unidad de corte y sujétela con los enganches de transporte.
Apague el motor, ponga el freno de estacionamiento y retire la llave.
Inspeccione cada cuchilla en busca de daños, prestando especial atención a las fijaciones, el filo de corte y el orificio de sujeción (Figura 78). Sustituya cualquier cuchilla o fijación que esté dañada.

Inspeccione cada cuchilla en busca de desgaste excesivo usando la línea de desgaste (Figura 79). Si una cuchilla está desgastada hasta la línea de desgaste, cambie la cuchilla.

Asegúrese de que el perno de cada cuchilla está apretado a 45 N·m.
Agarre cada cuchilla y compruebe que no hay más de 3 mm de holgura en total en cualquier dirección desde el rotor. Si hay más de 3 mm de holgura en total, cambie la cuchilla.
Compruebe el peso de cada par de cuchillas opuestas.
Note: La diferencia de peso entre dos cuchillas opuestas no debe ser superior a 10 gramos.
Una cuchilla desgastada o dañada puede romperse, y un trozo de la cuchilla podría ser arrojado hacia usted u otra persona, provocando lesiones personales graves o la muerte.
Inspeccione periódicamente las cuchillas, para asegurarse de que no están desgastadas ni dañadas.
Sustituya cualquier cuchilla desgastada o dañada.
| Intervalo de mantenimiento y servicio | Procedimiento de mantenimiento |
|---|---|
| Cada vez que se utilice o diariamente |
|
Inspeccione el protector trasero en busca de señales de desgaste o daños (Figura 80). Sustituya el protector trasero si está dañado para evitar que se arrojen objetos hacia la zona del operador.

Cualquier presión residual en el sistema hidráulico podría causar lesiones debido al movimiento brusco de uno o varios rotores una vez retirada la obstrucción.
No intente nunca girar los rotores o despejar obstrucciones con la mano.
Siempre lleve guantes de protección y utilice una barra de madera.
Asegúrese de que la barra de madera cabe en el rotor desbrozador y de que tiene suficiente longitud para proporcionar la fuerza de palanca necesaria para eliminar la obstrucción.
Ponga el interruptor de la transmisión de las unidades de corte en la posición de DESCONECTADO.
Aparque la máquina en un terreno llano, suelte los pedales de desplazamiento hacia delante o hacia atrás, mueva el control del acelerador del motor a la posición de velocidad lenta y ponga el freno de estacionamiento.
Baje las unidades de corte al suelo o bloquéelas firmemente en la posición de transporte.
Apague el motor, retire la llave y espere a que los rotores se detengan.
Utilice una barra de madera para eliminar el atasco.
Important: El rotor desbrozador puede girar una vez que se elimine la obstrucción.
Important: Apoye la barra de madera en la unidad de corte para evitar el uso de una fuerza excesiva al retirar la obstrucción.
Retire la barra de madera de la unidad de corte antes de arrancar el motor.
Repare o ajuste la unidad de corte si es necesario.
| Intervalo de mantenimiento y servicio | Procedimiento de mantenimiento |
|---|---|
| Cada vez que se utilice o diariamente |
|
Inspeccione los protectores delanteros en busca de desgaste o daños (Figura 81). Sustituya los protectores delanteros si están dañados para evitar que se arrojen objetos hacia usted.

| Intervalo de mantenimiento y servicio | Procedimiento de mantenimiento |
|---|---|
| Cada vez que se utilice o diariamente |
|
| Cada 50 horas |
|
Eleve y apoye la unidad de corte.
Agarre cada unidad de corte y compruebe que no hay exceso de holgura ni de un lado a otro ni de arriba abajo.
| Intervalo de mantenimiento y servicio | Procedimiento de mantenimiento |
|---|---|
| Cada vez que se utilice o diariamente |
|
| Cada 50 horas |
|
Para comprobar que no hay vibraciones anormales en el rotor, ponga las unidades de corte en marcha, una por una, a la velocidad máxima del motor.
Note: Si hay alguna vibración extraña, compruebe que no haya daños o desgaste excesivo en el rotor o las cuchillas. Todas las cuchillas deben tener un nivel de desgaste similar, puesto que su peso afecta al equilibrio del aspersor.
Note: Si no se puede determinar la causa de la vibración, póngase en contacto con su distribuidor autorizado Toro.
Eleve y apoye la unidad de corte.
Agarre el rotor en cada extremo y compruebe si hay un exceso de holgura axial.
Note: Si detecta un exceso de holgura axial en el rotor, póngase en contacto con su distribuidor autorizado Toro.
Note: Si es necesario cambiar o equilibrar el rotor, póngase en contacto con su distribuidor autorizado Toro.
| Intervalo de mantenimiento y servicio | Procedimiento de mantenimiento |
|---|---|
| Cada 50 horas |
|
Important: Mantenga correctamente ajustados los cojinetes de rodillo de las unidades de corte para maximizar su vida de trabajo. Una holgura axial excesiva en el rodillo causa fallos prematuros en los cojinetes.
Sujete el rodillo y muévalo de un lado a otro y de arriba abajo.
Si hay un movimiento excesivo, apriete con cuidado las tuercas de cada extremo del rodillo con la llave, justo lo suficiente para eliminar la holgura axial (Figura 82).
Note: El rodillo debe rotar libremente después del ajuste. Si se aprietan demasiado las tuercas podrían producirse daños prematuros en el cojinete.
Note: Ajuste las tuercas en la misma medida en cada extremo del rodillo.

| Intervalo de mantenimiento y servicio | Procedimiento de mantenimiento |
|---|---|
| Cada 50 horas |
|
Asegúrese de que los alambres rascador estén correctamente tensados para asegurar la máxima vida de trabajo.
Apriete con cuidado las tuercas de retención del alambre rascador para eliminar cualquier holgura del mismo.
Apriete las tuercas con 4 giros completos para añadir la tensión correcta al alambre (Figura 83).

Note: No apriete demasiado los alambres rascador.
| Intervalo de mantenimiento y servicio | Procedimiento de mantenimiento |
|---|---|
| Cada vez que se utilice o diariamente |
|
Inspeccione el cinturón de seguridad en busca de desgaste, cortes u otros daños. Si algún componente de un cinturón no funciona correctamente, sustituya el cinturón.
Limpie el cinturón de seguridad cuanto sea necesario.
| Intervalo de mantenimiento y servicio | Procedimiento de mantenimiento |
|---|---|
| Cada vez que se utilice o diariamente |
|
Compruebe en la máquina si las fijaciones están sueltas o falta alguna.
Note: Apriete cualquier fijación que esté suelta y sustituya las que falten.
| Intervalo de mantenimiento y servicio | Procedimiento de mantenimiento |
|---|---|
| Cada 250 horas |
|
| Cada 1500 horas |
|
| Cada 2 años |
|
Lave la máquina cuanto sea necesario solo con agua o con un detergente suave. Puede utilizar un trapo para lavar la máquina.
Important: No utilice agua reciclada o salada para limpiar la máquina.
Important: No utilice equipos de lavado a presión para lavar la máquina. Estos equipos pueden dañar el sistema eléctrico, hacer que se desprendan calcomanías importantes, o eliminar grasa necesaria en los puntos de fricción. Evite el uso excesivo de agua cerca del panel de control, el motor y la batería.
Important: No lave la máquina con el motor en funcionamiento. Si lo hace, pueden producirse daños internos en el motor.
Antes de dejar el puesto del operador, realice lo siguiente:
Aparque la máquina en una superficie nivelada.
Desengrane y baje las unidades de corte.
Accione el freno de estacionamiento.
Apague el motor y retire la llave.
Espere a que se detenga todo movimiento.
Deje que la máquina se enfríe antes de realizar ajustes, tareas de mantenimiento y de limpieza o de guardarla.
No guarde la máquina o un recipiente de combustible en un lugar donde pudiera haber una llama desnuda, chispas o una llama piloto, por ejemplo en un calentador de agua u otro electrodoméstico.
Aparque la máquina en una superficie nivelada, baje las unidades de corte, ponga el freno de estacionamiento, apague el motor y retire la llave.
Limpie a fondo la unidad de tracción, las unidades de corte y el motor.
Compruebe la presión de los neumáticos; consulte Comprobación de la presión de aire de los neumáticos.
Compruebe que todas las fijaciones están bien apretadas; apriételas si es necesario.
Aplique grasa o aceite a todos los engrasadores y puntos de giro. Limpie cualquier exceso de lubricante.
Lije suavemente y aplique pintura de retoque a cualquier zona pintada que esté rayada, desconchada u oxidada. Repare cualquier desperfecto de la carrocería.
Vacíe el aceite del motor y coloque el tapón de vaciado.
Retire y deseche el filtro de aceite. Instale un filtro de aceite nuevo.
Llene el motor con aceite de motor del tipo especificado.
Arranque el motor y déjelo funcionar a velocidad de ralentí durante aproximadamente 2 minutos.
Apague el motor y retire la llave.
Enjuague el depósito de combustible con combustible limpio y nuevo.
Apriete todos los elementos del sistema de combustible.
Realice una limpieza y un mantenimiento completos del conjunto del limpiador de aire.
Selle la entrada del limpiador de aire y la salida del tubo de escape con cinta impermeabilizante.
Compruebe el anticongelante y añada una solución al 50 % de agua y anticongelante de etilenglicol según sea necesario dependiendo de la temperatura mínima prevista para su zona.
Revise la batería y los cables del siguiente modo; consulte Seguridad del sistema eléctrico.
Retire los terminales de los bornes de la batería.
Limpie la batería, los terminales y los bornes con un cepillo de alambre y una solución de bicarbonato.
Aplique una capa de grasa Grafo 112X (No. de Pieza Toro 505-47) o de vaselina a los terminales de los cables y a los bornes de la batería para evitar la corrosión.
Cargue la batería lentamente durante 24 horas cada 60 días para evitar el sulfatado de plomo de la batería.
| Problem | Possible Cause | Corrective Action |
|---|---|---|
| Hay zonas de césped sin cortar en los puntos de solapamiento entre las unidades de corte. |
|
|
| Existen crestas en todo el ancho del corte en sentido perpendicular a la dirección de desplazamiento. |
|
|
| Formación de crestas en el césped cortado, perpendiculares al sentido de avance, en todo el ancho de una de las unidades de corte. |
|
|
| Hay un escalón en el césped cortado en el punto de solapamiento entre las unidades de corte. |
|
|
| Hay hojas de césped sin cortar, o mal cortadas. |
|
|
| Hay franjas de césped sin cortar o mal cortado en el sentido de la marcha. |
|
|
| Hay calvas en el césped. |
|
|
| Hay desgaste excesivo de las cuchillas. |
|
|
| El motor no arranca con la llave de contacto. |
|
|
| La batería no tiene corriente. |
|
|
| El fluido hidráulico se sobrecalienta. |
|
|
| El sistema de frenos no funciona correctamente. |
|
|
| La dirección no funciona correctamente. |
|
|
| La máquina no se desplaza hacia adelante o hacia atrás. |
|
|
| La máquina se desplaza lentamente hacia adelante o hacia atrás en punto muerto. |
|
|
| Hay un exceso de ruido en el sistema hidráulico. |
|
|
| Después de un período inicial de rendimiento satisfactorio, la máquina pierde potencia. |
|
|
| Los rotores vibran excesivamente. |
|
|
| Uno de los rotores gira lentamente. |
|
|
| Una de las unidades de corte no se eleva. |
|
|
| Las unidades de corte no siguen los contornos del terreno. |
|
|
| Las unidades de corte no arrancan después de bajarse. |
|
|
| El rotor gira en el sentido incorrecto. |
|
|