| Intervalo de mantenimiento y servicio | Procedimiento de mantenimiento |
|---|---|
| Cada vez que se utilice o diariamente |
|
Esta máquina está diseñada para ser usada por operadores profesionales contratados en aplicaciones comerciales. Está diseñada principalmente para el cuidado de campos de atletismo bien mantenidos y zonas verdes comerciales. El uso de este producto para otros propósitos que los previstos podría ser peligroso para usted y para otras personas.
Esta máquina no está diseñada para utilizarse sin tener instalado un apero de montaje intermedio homologado por Toro; no utilice esta máquina sin tener instalado un apero de montaje intermedio.
Lea detenidamente esta información para aprender a utilizar y a mantener el producto correctamente, y para evitar lesiones y daños al producto. Usted es responsable de utilizar el producto de forma correcta y segura.
Visite www.Toro.com para buscar materiales de formación y seguridad o información sobre aperos y aperos, para localizar un distribuidor o para registrar su producto.
Cuando necesite asistencia técnica, piezas genuinas Toro o información adicional, póngase en contacto con un Servicio Técnico Autorizado o con Atención al cliente de Toro, y tenga a mano los números de modelo y serie de su producto. La Figura 1 identifica la ubicación de los números de serie y de modelo en el producto. Escriba los números en el espacio provisto.
Important: Con su dispositivo móvil, puede escanear el código QR (en su caso) de la placa del número de serie para acceder a información sobre el producto, la garantía y las piezas.

Este manual identifica peligros potenciales y contiene mensajes de seguridad identificados por el símbolo de alerta de seguridad (Figura 2), que señala un peligro que puede causar lesiones graves o la muerte si usted no sigue las precauciones recomendadas.

Este manual utiliza 2 palabras para resaltar información. Importante llama la atención sobre información mecánica especial, y Nota resalta información general que merece una atención especial.
Si la máquina está equipada con un dispositivo telemático, consulte a su distribuidor autorizado Toro para obtener instrucciones para activar el dispositivo.
|
Certificación de compatibilidad electromagnética |
|
Nacional: Este dispositivo cumple las normas FCC Parte 15. El uso está sujeto a las dos condiciones siguientes: (1) Este dispositivo no puede causar interferencias dañinas y (2) este dispositivo debe aceptar cualquier interferencia que pueda recibir, incluyendo interferencias que puedan causar un funcionamiento indeseable. |
|
ID FCC: APV-2630MB IC: 5843C-2630MB |
|
Este equipo ha sido probado y se ha verificado que cumple los límites de un dispositivo digital de la Clase B, conforme con la Parte 15 de la normativa FCC. Estos límites están diseñados para proporcionar una protección razonable contra interferencias dañinas en una instalación residencial. El equipo genera, utiliza y puede radiar energía de radiofrecuencia, y si no es instalado y utilizado con arreglo a las instrucciones, puede causar interferencias dañinas para las radiocomunicaciones. Sin embargo, no podemos garantizar que no se produzcan interferencias en una instalación determinada. Si este equipo provoca interferencias dañinas en la recepción de radio o televisión (lo que podrá comprobar apagando y encendiendo el equipo), se recomienda al usuario que corrija la interferencia aplicando una o varias de las siguientes medidas:
|
|
Argentina |
![]() |
|
Australia |
![]() |
|
Japón |
![]() |
|
Marruecos |
|
|---|---|
|
AGREE PAR L’ANRT MAROC |
|
|
Numéro d’agrément: |
MR00004658ANRT2024 |
|
Date d’agrément: |
25/10/2024 |
|
Nueva Zelanda |
|
|
|
Corea del Sur |
![]() |
|
Taiwán |
![]() |
CALIFORNIA
Advertencia de la Propuesta 65
Los gases de escape de este producto contienen productos químicos que el Estado de California sabe que causan cáncer, defectos congénitos u otros peligros para la reproducción.
Los bornes, terminales y otros accesorios de la batería contienen plomo y compuestos de plomo, productos químicos reconocidos por el Estado de California como causantes de cáncer y daños reproductivos. Lávese las manos después de manejar el material.
El uso de este producto puede provocar la exposición a sustancias químicas que el Estado de California considera causantes de cáncer, defectos congénitos u otros trastornos del sistema reproductor.
Important: No utilice esta máquina sin tener instalado un apero de montaje intermedio aprobado por Toro.
Este producto es capaz de causar lesiones personales. Siga siempre todas las instrucciones de seguridad con el fin de evitar lesiones personales graves.
Lea y comprenda el contenido de este Manual del operador antes de arrancar el motor.
No coloque las manos ni los pies cerca de las piezas en movimiento de la máquina.
No haga funcionar la máquina si no están colocados y funcionando todos los protectores y dispositivos de seguridad de la máquina.
Dedique toda su atención al manejo de la máquina. No realice ninguna actividad que pudiera distraerle; de lo contrario, podrían producirse lesiones o daños materiales.
Mantenga a otras personas y a los niños alejados de la zona de trabajo. No permita que este vehículo sea manejado por niños. Sólo permita que manejen la máquina personas responsables, capacitadas y familiarizadas con las instrucciones, y físicamente capaces de utilizar la máquina.
Pare la máquina, apague el motor y retire la llave de encendido antes de realizar tareas de mantenimiento o repostaje en la máquina.
Este producto genera un campo electromagnético. Si usted lleva un dispositivo médico electrónico implantable, consulte a su profesional sanitario antes de utilizar este producto.
![]() |
Las calcomanías de seguridad e instrucciones están a la vista del operador y están ubicadas cerca de cualquier zona de peligro potencial. Sustituya cualquier calcomanía que esté dañada o que falte. |






















Piezas necesarias en este paso:
| Apero de montaje intermedio (se pide por separado; consulte a su distribuidor Toro autorizado) | 1 |
Instale un apero de montaje intermedio homologado por Toro; consulte las Instrucciones de instalación del apero de montaje intermedio.
Retire la máquina de la caja, aparque la máquina en una superficie nivelada o mueva la máquina a un elevador de máquinas.
Ponga el freno de estacionamiento.
Baje el apero de montaje intermedio.
Apague el motor y retire la llave.
Espere a que se detengan todas las piezas en movimiento y deje que el motor se enfríe.
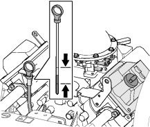
Mueva el control del apero de montaje intermedio hacia adelante y hacia atrás para aliviar la presión hidráulica (Figura 3).

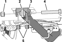
Piezas necesarias en este paso:
| Cadena corta de la barra de tracción (44 cm (17½")) | 2 |
| Soporte de izado | 1 |
| Perno de cuello cuadrado (5/16" x 1") | 6 |
| Arandela (⅜" x ⅞") | 4 |
| Contratuerca con arandela prensada (5/16") | 6 |
| Bastidor de elevación del apero trasero | 1 |
| Cadena larga de elevación trasera (64 cm (25")) | 2 |
| Grillete | 2 |
| Pasador de horquilla | 2 |
| Chaveta | 2 |
| Perno con arandela prensada (⅜" x 1¾") | 2 |
| Arandela (2/5") | 2 |
| Contratuerca con arandela prensada (⅜") | 3 |
| Funda de la cadena | 2 |
| Perno con arandela prensada (½" x 3") | 6 |
| Contratuerca con arandela prensada (½") | 6 |
| Arandela de empuje (½") | 2 |
| Placa de amarre | 2 |
| Tornillo (¾" x 4½") | 1 |
| Contratuerca (¾") | 1 |
| Perno con arandela prensada (⅜" × 1½") | 1 |
Eleve la plataforma del operador (Figura 4).
Note: La plataforma del operador no se mantiene en posición vertical; inmovilice la plataforma o sujétela en esa posición mientras realice este procedimiento.

Alinee el último eslabón de una de las cadenas cortas de la barra de tracción con el orificio de la pestaña de la placa del bastidor trasero (Figura 5).
Asegúrese de que el eslabón queda enrasado con la pestaña de la cadena, y que el eslabón siguiente está alineado con la ranura de la pestaña.

Monte la cadena en la pestaña de la cadena con un perno de cuello cuadrado (5/16" x 1"), una arandela (⅜" x ⅞") y una contratuerca con arandela prensada (5/16"), como se muestra en la Figura 5.
Apriete el perno a 19,8-25,4 N∙m (175-225 pulgadas-libra).
Repita los pasos 2 a 4 con la otra cadena corta de la barra de tracción en la pestaña del otro lado de la máquina.
Instale el soporte de elevación en el bastidor trasero, como se muestra en la Figura 6.

Instale la placa de retención en la barra de tracción con una abrazadera y 2 contratuercas con arandela prensada (5/16"), como se muestra en la Figura 11.
Note: Instale la placa con las pestañas orientadas hacia la parte delantera de la máquina.

Conecte el adaptador del apero trasero a la barra de tracción con un perno de cabeza hexagonal (¾" x 3½"), una arandela plana y una contratuerca (¾"), como se muestra en la Figura 8.
Note: Instale el tornillo a través del orificio trasero del adaptador y de la barra de tracción.

Instale las cadenas de elevación en la barra de elevación con pernos con arandela prensada (⅜" x 1¾"), arandelas (⅜") y contratuercas (⅜").
Coloque las fundas en las cadenas de elevación, y luego instale las cadenas de elevación en el conjunto de elevación del eje con grilletes, pasadores y chavetas.
Conecte el segundo eslabón de las cadenas largas de elevación trasera a la parte superior del bastidor de elevación usando grilletes, pasadores y chavetas (Figura 9).

Conecte el extremo inferior de las cadenas largas de elevación traseras al tubo de la parte inferior del bastidor de elevación usando pernos con arandela prensada (⅜" x 1¾"), arandelas (⅜") y contratuercas con arandela prensada (⅜"), como se muestra en la Figura 10 .

Sitúe el bastidor de elevación del apero trasero debajo de la máquina (Figura 11).
Note: Asegúrese de que el bastidor de elevación del apero trasero está centrado debajo de la máquina.

Levante la parte trasera del bastidor de elevación del apero trasero para alinear los orificios de los tubos del bastidor de elevación con los orificios de los perfiles del bastidor trasero (Figura 12).

Note: Instale las fijaciones de la placa de amarre con las cabezas de los pernos hacia el exterior de la máquina.
Coloque las placas de amarre en el exterior del bastidor de elevación del apero trasero con las arandelas de empuje hacia el interior, como se muestra en la Figura 12.
Introduzca los 6 pernos con arandela prensada (½" x 3") a través de los orificios de los perfiles y de los tubos.
Monte las 6 contratuercas con arandela prensada (½") en los pernos con arandela prensada.
Apriete los pernos con arandela prensada y las contratuercas a 91-113 N·m (67-83 pies-libra).
Alinee el orificio de la rótula de la barra de tracción con los orificios del soporte de la barra de tracción del tabique del bastidor trasero (Figura 13).

Monte la rótula en el soporte con el tornillo (¾" x 4½"), 2 espaciadores y una contratuerca (¾"), como se muestra en la Figura 13.
Apriete el tornillo y la contratuerca a 320-396 N·m (238-392 pies-libra).
Cruce las cadenas conectadas de la Figura 14 encima de la barra de tracción.

Elimine la holgura de la cadena y alinee el eslabón con el orificio de la placa de retención de la barra de tracción.
Asegúrese de que el eslabón está enrasado con el lado exterior de la placa, y que el eslabón siguiente hacia delante está alineado con la ranura de la placa.
Monte la cadena en la placa de retención con un perno con arandela prensada (5/16" x 1"), una arandela (⅜" x ⅞") y una contratuerca con arandela prensada (5/16"), como se muestra en la Figura 14.
Repita los pasos 1 a 3 con la otra cadena del otro lado de la placa de retención.
En el punto de unión de las cadenas (Figura 15), móntelas con un perno con arandela prensada (⅜" x 1½") y una contratuerca con arandela prensada (⅜").

Apriete los pernos con arandela prensada y las contratuercas de 5/16" a 19,8-25,4 N∙m (175-225 pulgadas-libra).
Apriete el perno con arandela prensada de ⅜" y la contratuerca a 37-45 N·m (27-33 pies-libra).
Retire la brida que sujeta el cilindro hidráulico trasero y las mangueras a la parte trasera de la máquina.
Retire el perno de cuello cuadrado y la contratuerca con arandela prensada que sujetan el pasador del cilindro al brazo del eje de elevación (Figura 16).

Enrute el cilindro y las mangueras hasta la parte trasera del bastidor de elevación (Figura 17).
Instale el protector de mangueras alrededor de las mangueras a 9 cm (3.5") del canal del tubo trasero, como se muestra en la Figura 17.
Important: Asegúrese de que las mangueras de extensión y retracción no están entrecruzadas.Si las mangueras están entrecruzadas, afloje las mangueras en el lado del tabique, colóquelas en paralelo y apriételas de nuevo.

Monte el cilindro de elevación del apero trasero en el eje de montaje del bastidor trasero (Figura 18).

Alinee la rótula del cilindro entre los brazos del eje de elevación (Figura 19).

Sujete la rótula a los brazos del eje de elevación con el pasador del cilindro, el perno de cuello cuadrado y la contratuerca con arandela prensada.
Engrase el cilindro de elevación del accesorio antes del primer uso; consulte Engrasado de cojinetes y casquillos.
Baje la plataforma del operador.
Note: Cuando el cilindro de elevación del apero trasero está totalmente extendido, la barra de tracción debe estar elevada del todo contra el tope de goma.



Utilice la palanca del acelerador (Figura 22) para controlar la velocidad del motor.
Utilice el control de elevación del apero trasero para elevar o bajar un apero trasero opcional instalado.
Utilice el control de inclinación del apero de montaje intermedio para ajustar el ángulo de ataque del apero de montaje intermedio.
Utilice el control de elevación del apero de montaje intermedio para elevar o bajar el apero de montaje intermedio.
Utilice el control del estárter (Figura 22) para ajustar la posición del estárter para arranques en frío del motor.
El horímetro y el controlador (Figura 22) realizan las funciones siguientes:
Muestra el número total de horas de operación del motor.
Controla el sistema de interruptores de seguridad y muestra indicadores para los siguientes componentes:
El freno de estacionamiento está PUESTO.
Los controles de movimiento están en la posición de PUNTO MUERTO.
El operador está situado sobre la plataforma del operador.
Indica el voltaje y el funcionamiento del sistema de carga baja.
El interruptor de encendido se utiliza para arrancar y apagar el motor.

Utilice la palanca del freno de estacionamiento (Figura 23) para poner y quitar el freno de estacionamiento.
La palanca del freno de estacionamiento está situada en la columna de control, a la izquierda de la barra de referencia delantera.
Las palancas de control de movimiento (Figura 23) están situadas en cada lado de la columna de control superior, y controlan el movimiento hacia adelante y hacia atrás de la máquina.
Mueva las palancas hacia adelante o hacia atrás para controlar la rueda motriz del mismo lado, en dirección hacia adelante o hacia atrás respectivamente. La velocidad de las ruedas es proporcional al desplazamiento de las palancas.
|
Longitud |
292,3 cm (115") |
|
Anchura (sin apero de montaje intermedio instalado) |
147,3 cm (58") |
|
Anchura (con el apero combinado instalado) |
172,7 cm (68") |
|
Altura |
129,5 cm (51") |
|
Peso neto (vacío, sin ninguna opción instalada) |
521,6 kg (1150 libras) |
|
Peso neto (con el apero combinado instalado) |
734,8 kg (1620 libras) |
|
Velocidad máxima hacia adelante |
16 km/h (10 mph) |
|
Velocidad máxima hacia atrás |
8 km/h (5 mph) |
No deje nunca que la máquina sea utilizada o mantenida por niños o por personas que no hayan recibido la formación adecuada al respecto. La normativa local puede imponer límites sobre la edad del operador. El propietario es responsable de proporcionar formación a todos los operadores y mecánicos.
Familiarícese con la operación segura del equipo, los controles del operador y las señales de seguridad.
Aparque la máquina en una superficie nivelada, ponga el freno de estacionamiento, apague el motor, retire la llave y espere a que se detenga todo movimiento antes de abandonar la máquina.
Sepa cómo parar rápidamente la máquina y el motor.
Compruebe que todos los controles de presencia del operador, interruptores de seguridad y protectores que estén instalados están conectados y funcionan correctamente. No utilice la máquina si no funcionan correctamente.
Antes del uso, inspeccione siempre la máquina para asegurarse de que los componentes y las fijaciones están en buenas condiciones de funcionamiento. Sustituya cualquier componente o fijación que esté desgastado o dañado.
El combustible es extremadamente inflamable y altamente explosivo. Un incendio o una explosión provocados por el combustible puede causarle quemaduras a usted y a otras personas así como daños materiales.
Para evitar que una carga estática incendie el combustible, coloque el recipiente y/o la máquina directamente sobre el suelo antes de repostar, no en un vehículo o sobre otro objeto.
Llene el depósito de combustible en el exterior, en una zona abierta y con el motor frío. Limpie cualquier combustible derramado.
No maneje combustible si está fumando, ni cerca de una llama desnuda o chispas.
No retire el tapón de combustible ni añada combustible al depósito si el motor está caliente o en marcha.
Si se derrama combustible, no intente arrancar el motor. Evite crear una fuente de ignición hasta que los vapores del combustible se hayan disipado.
Almacene el combustible en un recipiente homologado y manténgalo fuera del alcance de los niños.
El combustible es dañino o mortal si es ingerido. La exposición a largo plazo a los vapores puede causar lesiones y enfermedades graves.
Evite la respiración prolongada de los vapores.
Mantenga las manos y la cara alejadas de la boquilla y de la abertura del depósito de combustible.
Mantenga alejado el combustible de los ojos y la piel.
No guarde la máquina o un recipiente de combustible en un lugar donde pudiera haber una llama desnuda, chispas o una llama piloto, por ejemplo en un calentador de agua u otro electrodoméstico.
No llene los recipientes dentro de un vehículo o sobre la plataforma de un camión o remolque con forro de plástico. Coloque los recipientes siempre en el suelo, lejos del vehículo, antes de llenarlos.
Retire el equipo del camión o del remolque y repóstelo en el suelo. Si esto no es posible, añada combustible con un recipiente portátil, en vez de usar un surtidor o boquilla dosificadora de combustible.
No utilice la máquina a menos que esté instalado un sistema completo de escape en buenas condiciones de funcionamiento.
Mantenga la boquilla dosificadora de combustible en contacto con el borde del depósito de combustible o el orificio del recipiente en todo momento hasta que termine de repostar. No utilice dispositivos diseñados para mantener abierta la boquilla.
Si se derrama combustible sobre su ropa, cámbiese de ropa inmediatamente. Limpie cualquier combustible derramado.
Nunca llene demasiado el depósito de combustible. Vuelva a colocar el tapón de combustible y apriételo firmemente.
| Combustible de petróleo | Utilice gasolina sin plomo con un octanaje de 87 o más (método (R + M)/2). |
| Mezcla de combustible con etanol | Es aceptable el uso de una mezcla de gasolina sin plomo con hasta el 10 % de etanol (gasohol) o el 15 % de MTBE (éter metil tert-butílico) por volumen. El etanol y el MTBE no son lo mismo. |
| No está autorizado el uso de gasolina con el 15 % de etanol (E15) por volumen. No utilice nunca gasolina que contenga más del 10 % de etanol por volumen, como por ejemplo la E15 (contiene el 15 % de etanol), la E20 (contiene el 20 % de etanol) o la E85 (contiene hasta el 85 % de etanol). El uso de gasolina no autorizada puede causar problemas de rendimiento o daños en el motor que pueden no estar cubiertos bajo la garantía. |
Important: Para obtener los mejores resultados, utilice solamente combustible fresco y limpio (comprado hace menos de 30 días).
No utilice gasolina que contenga metanol.
No guarde combustible en el depósito de combustible o en recipientes de combustible durante el invierno, a menos que utilice un estabilizador de combustible.
No añada aceite a la gasolina.
Utilice siempre estabilizador/acondicionador en la máquina para mantener el combustible fresco durante más tiempo.
Important: No utilice aditivos de combustible que contengan metanol o etanol.
Agregue la cantidad apropiada de estabilizador/acondicionador a combustible fresco, siguiendo las indicaciones del fabricante del estabilizador de combustible.
Capacidad del depósito de combustible: 31,4 litros (8,3 galones US)
Aparque la máquina en una superficie nivelada, ponga el freno de estacionamiento, apague el motor y retire la llave.

Limpie alrededor del tapón de combustible y retírelo.
Llene el depósito de combustible hasta 25 mm (1") por debajo del cuello de llenado.
Note: No llene completamente el depósito de combustible. El espacio vacío en el depósito permite la dilatación del combustible.
Monte el tapón del depósito de combustible en el cuello de llenado del depósito.
Realice los siguientes procedimientos diarios antes de utilizar la máquina:
| Intervalo de mantenimiento y servicio | Procedimiento de mantenimiento |
|---|---|
| Cada vez que se utilice o diariamente |
|
Póngase de pie en la plataforma del operador.
Quite el freno de estacionamiento.
Mueva las barras de control de movimiento a la posición de PUNTO MUERTO.
Intente arrancar el motor.
Important: El motor no debe arrancar.Si el motor arranca, apague el motor, retire la llave y póngase en contacto con su distribuidor autorizado Toro para que revise la máquina.
Póngase de pie en la plataforma del operador.
Ponga el freno de estacionamiento.
Mueva la barra de control de movimiento izquierda a la posición de HACIA ADELANTE.
Intente arrancar el motor.
Mueva la barra de control de movimiento derecha a la posición de HACIA ADELANTE.
Intente arrancar el motor.
Important: El motor no debe arrancar.Si el motor arranca, apague el motor, retire la llave y póngase en contacto con su distribuidor autorizado Toro para que revise la máquina.
Important: Los interruptores de seguridad de la plataforma del operador están incluidos en algunos kits de aperos; no están incluidos en la máquina base.
Ponga el freno de estacionamiento.
Mueva las barras de control de movimiento a la posición de PUNTO MUERTO.
Bájese de la plataforma del operador y quédese en el suelo.
Intente arrancar el motor.
Important: El motor no debe arrancar.Si el motor arranca, apague el motor, retire la llave y póngase en contacto con su distribuidor autorizado Toro para que revise la máquina.
Retire los 4 pernos y las 4 arandelas que sujetan el cojín del respaldo a la placa de montaje (Figura 25).

Eleve o baje el cojín del respaldo.
Alinee los orificios del cojín del respaldo con los orificios de la placa de montaje.
Sujete el cojín a la placa con los 4 pernos y las 4 arandelas.
El propietario/operador puede prevenir y es responsable de cualquier accidente que pudiera provocar lesiones personales o daños materiales.
Lleve ropa adecuada, incluida protección ocular, pantalón largo, calzado resistente y antideslizante y protección auditiva. Si tiene el pelo largo, recójaselo, y no lleve joyas o prendas sueltas.
Dedique toda su atención al manejo de la máquina. No realice ninguna actividad que pudiera distraerle; de lo contrario, podrían producirse lesiones o daños materiales.
No utilice la máquina si está enfermo, cansado o bajo la influencia de alcohol o drogas.
No lleve nunca pasajeros en la máquina, y mantenga a otras personas y animales alejados de la máquina durante el uso.
Utilice la máquina únicamente con buena visibilidad y en condiciones meteorológicas apropiadas. No use la máquina si hay riesgo de rayos.
Utilice la máquina únicamente con buena visibilidad para evitar agujeros y peligros ocultos.
Antes de arrancar el motor, asegúrese de que todas las transmisiones están en punto muerto, que el freno de estacionamiento está puesto y que usted se encuentra en el puesto del operador.
Mire hacia atrás y hacia abajo antes de poner marcha atrás para asegurarse de que el camino está despejado.
Extreme la precaución al acercarse a esquinas ciegas, arbustos, árboles u otros objetos que puedan dificultar la visión.
Pare la máquina e inspeccione el apero después de golpear un objeto, o si se produce una vibración anormal. Haga todas las reparaciones necesarias antes de volver a utilizar la máquina.
Vaya más despacio y tenga cuidado al girar y al cruzar calles y aceras con la máquina. Ceda el paso siempre.
Haga funcionar el motor únicamente en zonas bien ventiladas. Los gases de escape contienen monóxido de carbono, que es letal si se inhala.
No deje nunca desatendida la máquina si está en marcha.
Antes de abandonar la posición del operador, siga estos pasos:
Aparque la máquina en una superficie nivelada.
Baje los aperos.
Ponga el freno de estacionamiento.
Apague el motor y retire la llave de encendido.
Espere a que se detengan todas las piezas en movimiento.
No use la máquina si hay riesgo de rayos.
No utilice la máquina como vehículo de remolque sin el kit de enganche homologado de Toro.
Cuando sea necesario, humedezca las superficies antes del acondicionado para minimizar la generación de polvo.
Utilice únicamente accesorios, aperos y piezas de repuesto aprobados por The Toro® Company.
Establezca sus propios procedimientos y reglas para trabajar en pendientes. Estos procedimientos deben incluir un estudio del lugar de trabajo para determinar en qué cuestas o pendientes es seguro trabajar con la máquina. Utilice siempre el sentido común y el buen juicio al realizar este estudio.
Las pendientes son una de las principales causas de accidentes por pérdida de control y vuelcos, que pueden causar lesiones graves o la muerte. El operador es responsable de la operación segura en pendientes. El uso de la máquina en cualquier pendiente exige un cuidado especial.
Las pendientes son una de las principales causas de accidentes por pérdida de control y vuelcos, que pueden causar lesiones graves o la muerte. El uso de la máquina en cualquier pendiente exige un cuidado especial.
Utilice la máquina a una velocidad menor cuando esté en una pendiente.
Si no se siente cómodo usando la máquina en una pendiente, no lo haga.
Esté alerta a baches, surcos, montículos, rocas u otros objetos ocultos. Los terrenos irregulares pueden hacer que la máquina vuelque. La hierba alta puede ocultar obstáculos.
Seleccione una velocidad de avance baja para que no tenga que parar o cambiar de marcha mientras esté en la pendiente.
Puede producirse un vuelco antes de que los neumáticos pierdan tracción.
Evite utilizar la máquina sobre hierba mojada. Los neumáticos pueden perder tracción, incluso si los frenos están disponibles y funcionan correctamente.
Evite arrancar, parar o girar la máquina en una pendiente.
Haga todos los movimientos en pendientes de forma lenta y gradual. No cambie repentinamente la velocidad o la dirección de la máquina.
No utilice la máquina cerca de terraplenes, fosas, taludes o láminas de agua. La máquina podría volcar repentinamente si una rueda pasa por el borde de un terraplén o fosa, o si se socava un talud. Establezca una zona de seguridad entre la máquina y cualquier obstáculo (2 veces la anchura de la máquina).

Tire de la palanca del freno de estacionamiento para poner el freno de estacionamiento (Figura 26).
Empuje la palanca del freno de estacionamiento para quitar el freno de estacionamiento.
Important: No active el motor de arranque durante más de 5 segundos cada vez. Si el motor no arranca, espere 60 segundos entre intentos. Si no se siguen estas instrucciones, puede quemarse el motor de arranque.
Note: Es posible que necesite realizar varios intentos para arrancar el motor por primera vez después de haber agregado combustible en un sistema de combustible vacío.
Mueva las barras de control de movimiento a la posición de PUNTO MUERTO.
Ponga el freno de estacionamiento.
Mueva el acelerador a un punto intermedio entre las posiciones de LENTO y RáPIDO (Figura 27).

Si el motor está frío, tire del control del estárter hasta la posición de ACTIVADO (Figura 27).
Note: Si utiliza la máquina en temperaturas inferiores a los 0 °C (32 °F), deje que el motor se caliente antes de usar la máquina. Esto evita daños en el sistema hidráulico.
Gire la llave de encendido a la posición de ARRANQUE (Figura 27).
Cuando el motor arranque, gire la llave a la posición de MARCHA (Figura 27).
Mueva el acelerador a la posición de LENTO y deje que el motor se caliente.
A medida que el motor se caliente, empuje el control del estárter a la posición de DESCONECTADO (Figura 27).
Important: Retire siempre la llave y ponga el freno de estacionamiento cuando deje la máquina sin supervisión.
Mueva las barras de control de movimiento a la posición de PUNTO MUERTO.
Ponga el freno de estacionamiento.
Baje los aperos.
Mueva el acelerador a la posición de LENTO (Figura 28).

Gire la llave de encendido a la posición de PARADA (Figura 28).
Retire la llave y espere a que se detengan todas las piezas en movimiento antes de abandonar el puesto del operador.
La máquina puede girar muy rápidamente si se avanza demasiado una palanca respecto a la otra. Usted puede perder el control de la máquina, lo cual puede causar lesiones personales o daños materiales en la máquina.
Extreme las precauciones al girar.
Reduzca la velocidad de la máquina antes de hacer giros cerrados.
Note: El motor se apaga si usted mueve las barras de control de movimiento con el freno de estacionamiento puesto.
Mueva las barras de control de movimiento a la posición de PUNTO MUERTO.
Quite el freno de estacionamiento; consulte Utilización del freno de estacionamiento.
Para conducir la máquina hacia adelante, haga lo siguiente:
Note: La máquina se desplaza más rápidamente cuanto más se alejan las palancas de control de movimiento de la posición de PUNTO MUERTO.
Para desplazarse hacia adelante en línea recta, mueva ambas barras de control de movimiento hacia adelante al mismo tiempo.

Para girar a la izquierda o la derecha, tire hacia atrás, hacia la posición de punto muerto, de la barra de control de movimiento del lado hacia el cual desea girar.
Para detener la máquina, mueva ambas barras de control de movimiento a la posición de PUNTO MUERTO.
Mueva las barras de control de movimiento a la posición de PUNTO MUERTO.
Eleve el apero de montaje intermedio y el apero trasero opcional.
Para conducir la máquina hacia atrás, haga lo siguiente:
Note: La máquina se desplaza más rápidamente cuanto más se alejan las palancas de control de movimiento de la posición de PUNTO MUERTO.
Para desplazarse hacia atrás en línea recta, mueva ambas barras de control de movimiento hacia atrás al mismo tiempo.

Para girar a la izquierda o la derecha, deje de presionar sobre la barra de control de movimiento del lado hacia el cual desea girar.
Para detener la máquina, mueva ambas barras de control de movimiento a la posición de PUNTO MUERTO.
Aparque la máquina en una superficie nivelada y ponga el freno de estacionamiento.
Si desea elevar completamente el apero de montaje intermedio, retire el pasador del orificio del tope de elevación del apero, e introdúzcalo en el orificio del tope de almacenamiento del apero; consulte Descripción del tope del apero.
Con el motor en marcha, tire hacia atrás del control de elevación del apero de montaje intermedio para elevar el apero de montaje intermedio (Figura 31).


Aparque la máquina en una superficie nivelada.
Si es necesario, ajuste el tope de profundidad del apero de montaje intermedio; consulte Uso de los topes del apero durante el trabajo.
Con el motor en marcha, empuje hacia adelante el control de elevación del apero de montaje intermedio para bajar el apero de montaje intermedio (Figura 32).


Mueva el control de inclinación del apero de montaje intermedio hacia adelante para rotar hacia atrás el ángulo de penetración de las púas.


Mueva el control de inclinación del apero de montaje intermedio hacia atrás para rotar hacia adelante el ángulo de penetración de las púas.


Eleve completamente el soporte del apero combinado; consulte Elevación del apero de montaje intermedio.
Gire el soporte del apero combinado hacia atrás hasta que pueda acceder al perno y al orificio de 13`mm (½") de la placa de selección de ángulo; consulte Inclinación hacia adelante del apero de montaje intermedio.

Retire el pasador de horquilla y el pasador que sujetan el brazo del apero combinado a la placa de selección de ángulo (Figura 36).

Repita el paso 3 en el otro lado de la máquina.
El brazo del apero combinado gira libremente cuando se retiran los pasadores; si las manos o los dedos se encuentran entre el brazo del apero combinado y la placa de selección de ángulo, podrían quedarse atrapados y sufrir lesiones.
Mantenga las manos y los dedos alejados de la zona situada detrás de la placa de selección de ángulo mientras gira el apero combinado.
Inmovilice el brazo del apero combinado antes de retirar el segundo pasador.
Gire el brazo del apero combinado para seleccionar un juego de púas (Figura 37).

Alinee el orificio del brazo del apero combinado con el orificio de la placa de selección de ángulo (Figura 38).

Sujete el brazo del apero combinado a la placa de selección de ángulo con el pasador y el pasador de horquilla.
Repita el paso 8 en el otro lado de la máquina.
Ajuste la inclinación del soporte del apero combinado según sea necesario (Figura 39).

Utilice los pasadores de tope y el tope del apero de montaje intermedio para limitar el recorrido hacia arriba y hacia abajo del apero de montaje intermedio durante el transporte de la máquina y durante el mantenimiento del apero de montaje intermedio.

Puede combinar la posición de los pasadores de tope de varias maneras, dependiendo de la tarea.
| Tarea | Pasador de tope 1 | Pasador de tope 2 |
|---|---|---|
| Transporte de la máquina o mantenimiento del apero de montaje intermedio | Posición de transporte y mantenimiento | Posición de almacenamiento |
| Limitar la posición de elevación o bajada del apero de montaje intermedio | Posición de parada por encima del suelo, al nivel del suelo o por debajo del nivel del suelo | Posiciones de tope de elevación o posición de almacenamiento |
| Limitar la posición de bajada del apero de montaje intermedio | Posición de parada por encima del suelo, al nivel del suelo o por debajo del nivel del suelo | Posición de almacenamiento |
| Uso del apero de montaje intermedio sin limitación de elevación o bajada | Posición de almacenamiento | Posición de almacenamiento |
Introduzca un pasador de tope en el orificio del tope de transporte y mantenimiento durante el transporte de la máquina entre diferentes lugares de trabajo, o para ajustar o mantener el apero de montaje intermedio. Las posiciones de transporte y mantenimiento bloquean el apero de montaje intermedio en la posición más alta.


Introduzca un pasador de tope en un orificio de tope de elevación del apero cuando desee limitar de manera repetible la altura de elevación del apero de montaje intermedio. La posición del tope de elevación agiliza el proceso de elevación o bajada del apero al principio o al final de cada pasada de trabajo.


Introduzca un pasador de tope en un orificio de tope de parada por encima del nivel del suelo cuando desee bajar de manera repetible el apero de montaje intermedio hasta la posición seleccionada por encima del nivel del suelo.


Introduzca un pasador de tope en un orificio de tope de parada en o por debajo del nivel del suelo cuando desee bajar de manera repetible el apero de montaje intermedio hasta el suelo o hasta una posición por debajo del nivel del suelo.


Introduzca los pasadores de tope en los orificios de almacenamiento del apero cuando no se estén usando.


Si es necesario, calibre el tope de parada del apero de montaje intermedio a nivel del suelo; consulte Calibración del tope de parada del apero de montaje intermedio.
Lleve la máquina a una superficie nivelada en el lugar de trabajo, y ponga el freno de estacionamiento.
Baje el apero de montaje intermedio; consulte Ajuste de la altura del apero de montaje intermedio.
Si se utiliza, introduzca un pasador de tope en el orificio del tope de elevación del apero; consulte Posiciones de los topes de elevación.
Si se utiliza, eleve el apero de montaje intermedio según sea necesario e introduzca un pasador de tope en uno de los orificios de tope siguientes:
Eleve o baje el apero de montaje intermedio hasta que el tope del apero entre en contacto con el pasador de tope.
Lleve la máquina a una superficie nivelada en el lugar de trabajo, y ponga el freno de estacionamiento.
Si está insertado, retire el pasador de tope del orificio de tope de elevación del apero.
Eleve del todo el apero de montaje intermedio.

Inserte un pasador de tope en el orificio del tope de transporte y mantenimiento del apero.
Este procedimiento ajusta el punto de referencia del nivel del suelo para el tope del apero.
Suministrado por el operador: 2 bloques de madera de 38 mm (1½") de grosor
Mueva la máquina a una superficie nivelada y ponga el freno de estacionamiento.
Si están insertados, retire los pasadores de tope de las posiciones de tope siguientes del apero de montaje intermedio:
Orificio del tope de transporte y mantenimiento del apero.
Orificio de tope de elevación del apero
Orificio de tope de parada en o por debajo del nivel del suelo
Orificio de tope de parada por encima del nivel del suelo

Eleve del todo el apero de montaje intermedio; consulte Elevación del apero de montaje intermedio.
Incline el soporte del apero combinado hacia atrás (Figura 50) hasta que las púas estén por encima del borde inferior de la cuchilla de la grada; consulte Inclinación hacia adelante del apero de montaje intermedio.

Sitúe un bloque de madera de 38 mm (1,5") de grosor debajo de cada lado del apero de montaje intermedio.

Baje el apero de montaje intermedio sobre los bloques de madera, apague el motor, retire la llave y espere a que se detengan todas las piezas en movimiento.
Afloje la contratuerca que sujeta la rótula al acoplamiento de elevación (Figura 52).

Retire el perno de cuello cuadrado y la contratuerca que sujetan el acoplamiento de elevación a la pletina del brazo de elevación, y gire el acoplamiento de elevación hacia atrás.
Repita los pasos 3 y 4 en el otro lado de la máquina.
Arranque el motor y mueva hacia atrás el control de elevación del apero de montaje intermedio hasta que el cilindro de elevación del apero de montaje intermedio esté totalmente extendido.

Introduzca un pasador de tope en el orificio de parada a 38 mm (1,5") por encima del nivel del suelo.
Mueva hacia adelante el control de elevación del apero de montaje intermedio hasta que el tope del apero entre en contacto con el pasador de tope.
Apague el motor, retire la llave y espere a que se detengan todas las piezas en movimiento.
Alinee el acoplamiento de elevación con la pletina del brazo de elevación, y gire la rótula hasta que el orificio de la rótula esté alineado con el orificio de la pletina del brazo de elevación.

Monte la rótula en la pletina del brazo de elevación con el perno de cuello cuadrado y la contratuerca.
Apriete las contratuercas que sujetan la rótula al acoplamiento de elevación a 91-113 N·m (67-83 pies-libra).
Repita los pasos 1 a 3 en el otro lado de la máquina.
Arranque el motor, eleve el apero de montaje intermedio, retire los bloques de madera y baje el apero de montaje intermedio hasta el pasador de tope de 38 mm (1.5"). Mida la altura sobre el suelo de la pala niveladora y vuelva a ajustar los acoplamientos de elevación si es necesario.
Retire el pasador de tope del orificio de 38 mm (1.5") sobre el nivel del suelo, y baje al suelo el apero de montaje intermedio.

Apague el motor, retire la llave y espere a que se detengan todas las piezas en movimiento.
Lleve la máquina al lugar de trabajo y ponga el freno de estacionamiento.
Utilice el control de elevación del apero trasero (Figura 56) para ajustar la posición de un apero trasero opcional, como se indica a continuación:
Mueva hacia adelante el control de elevación del apero trasero para bajar el apero trasero.
Mueva hacia atrás el control de elevación del apero trasero para elevar el apero trasero.


Consulte las instrucciones de uso específicas de cada apero en el Manual del operador correspondiente.
Practique la conducción de la máquina; durante el uso de la máquina, tenga en cuenta las características de velocidad de avance y velocidad del motor:
Para transferir la máxima potencia a las ruedas, mueva el control del acelerador a RáPIDO y presione ligeramente hacia adelante los controles de tracción.
Mantenga una velocidad constante del motor presionando lentamente los controles de tracción; esto permite que el motor se ajuste a la velocidad de avance del vehículo.
Si se presionan los controles de tracción demasiado deprisa se reduce la velocidad del motor, lo puede reducir el par motor dedicado a propulsar el vehículo.
Alternativamente, se obtiene la velocidad máxima de avance cuando el control del acelerador está en la posición de RáPIDO y los controles de tracción se presionan lentamente pero a fondo.
Note: Si el adaptador del apero se adhiere al adaptador de la unidad de tracción, introduzca una palanca o un destornillador en la ranura para separar las piezas (Figura 57).

Aparque la máquina en una superficie nivelada, ponga el freno de estacionamiento, apague el motor, retire la llave y espere a que se detenga todo movimiento antes de abandonar la máquina.
Limpie la hierba y los residuos del silenciador y del compartimento del motor para ayudar a prevenir incendios. Limpie cualquier aceite o combustible derramado.
Espere a que se enfríe el motor antes de guardar la máquina en un recinto cerrado.
Cierre el combustible antes de almacenar o transportar la máquina.
No guarde nunca la máquina o un recipiente de combustible cerca de una llama desnuda, chispa o llama piloto, por ejemplo en un calentador de agua u otro electrodoméstico.
Mantenga todas las piezas en buen estado de funcionamiento y todos los herrajes bien apretados.
Sustituya cualquier pegatina desgastada o deteriorada.
Si es necesario remolcar o empujar la máquina, abra las válvulas de desvío para desviar el fluido hidráulico.
Important: No mueva la máquina sin antes abrir las válvulas de desvío de las bombas hidráulicas, porque podría dañar los componentes del motor.No mueva la máquina a más de 4,8 km/h (3 mph); mueva la máquina únicamente a una distancia muy corta. Si es imprescindible trasladar la máquina a una distancia superior, transpórtela sobre un remolque. Si se superan los límites de remolcado, pueden producirse graves daños en las bombas hidráulicas.
Las ruedas pueden rotar libremente cuando las válvulas de desvío están abiertas. La máquina puede rodar sin control, posiblemente causando lesiones.
Si es imprescindible remolcar la máquina, conduzca lentamente y asegúrese de que la máquina no choca con el vehículo de remolque.
Eleve el apero de montaje intermedio y el apero trasero opcional.
Apague el motor, retire la llave, ponga el freno de estacionamiento y calce las ruedas.
Espere a que se detengan todas las piezas en movimiento y deje que se enfríen los componentes de la máquina.
Si está conectado, retire el apero trasero opcional.
Acceda a las válvulas de desvío desde debajo de la parte trasera de la máquina.
Con una llave inglesa de ⅝", abra la válvula de desvío situada en la parte inferior de la bomba hidráulica girando la válvula aproximadamente 2 vueltas completas, como se muestra en la figura.
Repita el paso 6 para abrir la válvula de desvío situada en la parte inferior de la otra bomba hidráulica.
Note: Las ruedas ahora pueden rotar libremente.
Important: No gire las válvulas de desvío más de 2 vueltas; de esta manera se impide que las válvulas se salgan de la bomba y evita pérdidas de fluido hidráulico.


Retire los calzos de las ruedas, quite el freno de estacionamiento y mueva la máquina a la posición deseada.
Después de desplazar la máquina y antes de arrancar el motor, cierre y apriete las válvulas de desvío para la operación normal:
Important: No arranque ni haga funcionar el motor con las válvulas de desvío en la posición de abierto.
Apague el motor, retire la llave, ponga el freno de estacionamiento y calce las ruedas.
Espere a que se detengan todas las piezas en movimiento y deje que se enfríen los componentes de la máquina.
Cierre, pero no apriete, la válvula de desvío girándola aproximadamente 2 vueltas completas hasta que haga tope.
Apriete los pernos a 12,4-14,7 N·m (110-130 pulgadas-libra).
Repita el paso 4 para cerrar la válvula de desvío situada en la parte inferior de la otra bomba hidráulica.
Utilice un remolque o un camión para tareas pesadas para transportar la máquina. Utilice una rampa de ancho completo. Asegúrese de que el remolque o el camión tenga todos los frenos, las luces y las señalizaciones necesarios requeridos por la ley. Lea detenidamente todas las instrucciones de seguridad. El conocer esta información puede ayudar a evitarles lesiones a usted o a otras personas. Consulte en la normativa local los requisitos aplicables al remolque y al sistema de amarre.
Conducir en la vía pública sin señales de giro, luces, marcas reflectantes o un indicador de vehículo lento es peligroso y puede ser causa de accidentes que pueden provocar lesiones personales.
No conduzca la máquina en una calle o carretera pública.
La carga de una máquina a un remolque o camión aumenta la posibilidad de vuelcos y podría causar lesiones graves o muertes (Figura 59).
Use únicamente una rampa de ancho completo; no use rampas individuales para cada lado de la máquina.
Asegúrese de que la rampa tiene una longitud de al menos cuatro veces la altura de la plataforma del remolque o del camión sobre el suelo.

La carga de una máquina a un remolque o camión aumenta la posibilidad de vuelcos y podría causar lesiones graves o muertes.
Extreme las precauciones cuando utilice una máquina en una rampa.
Suba la máquina por la rampa en marcha atrás y baje la máquina por la rampa caminando hacia adelante.
Evite aceleraciones y desaceleraciones repentinas mientras conduce la máquina en una rampa dado que esto podría provocar una pérdida de control o vuelcos.
Si utiliza un remolque, conéctelo al vehículo de remolque y conecte las cadenas de seguridad.
En su caso, conecte los frenos y las luces del remolque.
Baje la rampa (Figura 59).
Si están instalados, eleve completamente el apero de montaje intermedio y el apero trasero opcional.
Suba la máquina a la rampa en marcha atrás (Figura 60).

Baje completamente el apero de montaje intermedio y el apero trasero opcional.
Apague el motor, retire la llave y ponga el freno de estacionamiento.
Amarre la máquina en el bastidor delantero y en las placas de amarre del bastidor del apero trasero (Figura 61) con correas, cadenas, cables o cuerdas.
Note: Consulte la normativa local respecto a los requisitos de amarre.

Note: Para descargar una copia gratuita del esquema eléctrico o hidráulico, visite www.Toro.com y busque su máquina en el enlace Manuales de la página de inicio.
Antes de ajustar, limpiar, reparar o abandonar la máquina, haga lo siguiente:
Aparque la máquina en una superficie nivelada.
Mueva el mando del acelerador a la posición de ralentí bajo.
Bajar el apero.
Asegúrese de que la tracción está en punto muerto.
Ponga el freno de estacionamiento.
Apague el motor y retire la llave.
Espere a que se detengan todas las piezas en movimiento.
Deje que los componentes de la máquina se enfríen antes de realizar el mantenimiento.
Si es posible, no realice tareas de mantenimiento con el motor en marcha. Manténgase alejado de las piezas en movimiento.
Utilice patas de apoyo para sostener la máquina o los componentes cuando sea necesario.
Alivie con cuidado la tensión de aquellos componentes que tengan energía almacenada.
| Intervalo de mantenimiento y servicio | Procedimiento de mantenimiento |
|---|---|
| Después de las primeras 50 horas |
|
| Cada vez que se utilice o diariamente |
|
| Después de cada uso |
|
| Cada 50 horas |
|
| Cada 100 horas |
|
| Cada 200 horas |
|
| Cada 250 horas |
|
| Cada 300 horas |
|
| Cada 500 horas |
|
| Cada 1000 horas |
|
| Cada mes |
|
Important: Consulte en el Manual del propietario del motor los procedimientos adicionales de mantenimiento.
Duplique esta página para su uso rutinario.
| Elemento a comprobar | Para la semana de: | ||||||
|---|---|---|---|---|---|---|---|
| Lun | Mar | Miér | Jue | Vie | Sáb | Dom | |
| Compruebe el funcionamiento de los interruptores de seguridad. | |||||||
| Compruebe la operación de la dirección. | |||||||
| Compruebe el nivel de combustible. | |||||||
| Compruebe el nivel de aceite del motor. | |||||||
| Compruebe la condición del filtro de aire. | |||||||
| Limpie las aletas de refrigeración del motor. | |||||||
| Compruebe que no haya ruidos extraños en el motor. | |||||||
| Compruebe que no haya ruidos extraños durante el funcionamiento. | |||||||
| Compruebe el nivel de fluido hidráulico. | |||||||
| Compruebe que las mangueras hidráulicas no están dañadas. | |||||||
| Compruebe que no hay fugas de fluidos. | |||||||
| Comprobación de la presión de los neumáticos. | |||||||
| Compruebe la operación de los instrumentos. | |||||||
| Retoque cualquier pintura dañada. | |||||||
| Anotación para áreas problemáticas | ||
| Inspección realizada por: | ||
| Elemento | Fecha | Información |
Important: Los lados derecho e izquierdo de la máquina se determinan desde la posición normal del operador.
Si deja la llave en el interruptor de encendido, alguien podría arrancar el motor accidentalmente y causar lesiones graves a usted o a otras personas.
Retire la llave de encendido antes de realizar cualquier operación de mantenimiento.

Aparque la máquina en una superficie nivelada.
Asegúrese de que la tracción está en punto muerto.
Ponga el freno de estacionamiento.
Mueva el acelerador a la posición de LENTO.
Si están instalados, baje el apero de montaje intermedio y el apero trasero opcional.
Apague el motor y retire la llave.
Espere a que se detengan todas las piezas en movimiento.
Deje que el motor se enfríe.
Las patas mecánicas o hidráulicas pueden no aguantar el peso de la máquina y pueden dar lugar a lesiones graves.
Utilice patas de apoyo para sostener la máquina.
Eleve el apero de montaje intermedio y el apero trasero opcional.
Aparque la máquina en una superficie nivelada, ponga el freno de estacionamiento, apague el motor, retire la llave y espere a que se detenga todo movimiento antes de abandonar la máquina.
Retire el apero trasero opcional si está conectado.
Eleve la máquina usando los puntos de elevación designados, como se indica a continuación:
Delante – centro del eje de la rueda giratoria delantera, como se muestra en la Figura 69.
El eje delantero puede pivotar; asegúrese de centrar la pata de suelo en la máquina para que no se mueva durante la elevación; utilice 2 patas de apoyo para sostener la máquina una vez que esté elevada.

Lados izquierdo y derecho – debajo del tubo trasero del bastidor, detrás de los motores de rueda (Figura 70).

| Intervalo de mantenimiento y servicio | Procedimiento de mantenimiento |
|---|---|
| Cada 50 horas |
|
Especificación de la grasa: Grasa de litio Nº 2
Prepare la máquina para el mantenimiento; consulte Preparación para el mantenimiento.
Limpie los engrasadores con un trapo
Bombee grasa en los engrasadores.
Limpie cualquier exceso de grasa.
Note: Un procedimiento de lavado inadecuado puede afectar negativamente a la vida de los cojinetes. No lave la máquina mientras está aún caliente, y evite dirigir chorros de agua a alta presión o en grandes volúmenes hacia los cojinetes, juntas o retenes.





Apague el motor antes de comprobar el aceite o añadir aceite al cárter.
No cambie la velocidad del regulador ni haga funcionar el motor a una velocidad excesiva.
Utilice aceite para motores de alta calidad que cumpla las siguientes especificaciones:
Nivel de clasificación API: SJ o superior
Viscosidad del aceite: SAE 30 (por encima de 4 °C (40 °F))
| Intervalo de mantenimiento y servicio | Procedimiento de mantenimiento |
|---|---|
| Cada vez que se utilice o diariamente |
|
Note: El motor se suministra con aceite en el cárter; sin embargo, es necesario comprobar el nivel de aceite antes y después de la primera puesta en marcha del motor.
Prepare la máquina para el mantenimiento; consulte Preparación para el mantenimiento.
Retire el capó; consulte Retirada del capó.
Limpie alrededor de la varilla y del tubo de la varilla.
Retire la varilla (Figura 75) y límpiela con un trapo limpio.

Introduzca la varilla en el tubo (Figura 75) hasta que entre a fondo.
Retire la varilla del tubo y verifique el nivel de aceite.
Important: Asegúrese de que el nivel de aceite está entre las marcas superior e inferior de la varilla. Si agrega demasiado o demasiado poco aceite de motor, el motor puede sufrir daños al arrancarse.
Si el nivel de aceite está en la marca LOW (Bajo) de la varilla, añada aceite como se indica a continuación:
Limpie el tapón de llenado y la tapa de la válvula (Figura 71).

Retire el tapón de llenado.
Añada aceite lentamente hasta que el nivel llegue a la marca F (lleno) de la varilla.
Instale el tapón de llenado y limpie cualquier aceite derramado.
Introduzca la varilla a fondo en el tubo de la varilla.
Important: Debe asentar la varilla a fondo en el tubo para que selle correctamente el cárter del motor. El no sellar el cárter puede causar daños en el motor.
Instale el capó; consulte Instalación del capó.
| Intervalo de mantenimiento y servicio | Procedimiento de mantenimiento |
|---|---|
| Después de las primeras 50 horas |
|
| Cada 100 horas |
|
Herramientas necesarias: Manguera de vaciado de 13 mm (½")
Arranque el motor y déjelo funcionar durante 5 minutos.
Note: De esta manera el aceite se calienta mejor.
Prepare la máquina para el mantenimiento; consulte Preparación para el mantenimiento.
Retire el capó; consulte Retirada del capó.
Retire el tapón de la válvula de vaciado de aceite, conecte una manguera de 13 mm (½") al acoplamiento dentado de la válvula y coloque el otro extremo de la manguera en un recipiente de vaciado (Figura 77).
Note: En algunas máquinas la válvula de vaciado de aceite puede estar situada en el otro lado de la máquina.

Abra la válvula de vaciado girándola un poco en sentido antihorario y tirando de ella hacia fuera (Figura 77).
Cuando el aceite se haya drenado, presione hacia dentro la válvula de vaciado, gírela en sentido horario hasta que se enganche y retire la manguera.
Retire el filtro de aceite girándolo en sentido antihorario (Figura 78).


Limpie el adaptador de filtro con un trapo limpio.
Llene el filtro de aceite nuevo con el aceite especificado; consulte Especificación del aceite del motor.
Espere 1-2 minutos para que el material del filtro absorba el aceite, luego vierta el exceso de aceite.
Aplique una capa fina de aceite a la junta del filtro (Figura 78).
Enrosque el filtro de aceite en el adaptador del filtro hasta que la junta de goma entre en contacto con el adaptador del filtro, luego apriete el filtro media vuelta más (Figura 78).
Cantidad de aceite: con filtro, 2 litros (2,1 cuartos US)
Retire el tapón de llenado de la tapa de la válvula (Figura 73) y vierta lentamente el 80 % aproximadamente de la cantidad especificada de aceite (2 litros/2,1 cuartos US) en el cuello de llenado de la tapa de válvulas.

Compruebe el nivel de aceite.
Añada aceite lentamente hasta que el nivel llegue a la marca F (lleno) de la varilla (Figura 67).

Instale el tapón de llenado.
Introduzca la varilla a fondo en el tubo de la varilla.
Important: Debe asentar la varilla a fondo en el tubo para que selle correctamente el cárter del motor. El no sellar el cárter puede causar daños en el motor.
Instale el capó; consulte Instalación del capó.
| Intervalo de mantenimiento y servicio | Procedimiento de mantenimiento |
|---|---|
| Cada 250 horas |
|
Prepare la máquina para el mantenimiento; consulte Preparación para el mantenimiento.
Baje el cojín del operador; consulte Bajada del cojín del operador.
Abra los enganches que sujetan la tapa del limpiador de aire a la carcasa del limpiador de aire (Figura 65).

Retire la tapa de la carcasa del limpiador de aire.
Retire el orificio de expulsión de suciedad de la tapa, limpie el hueco del orificio y la tapa y monte el orificio de expulsión en la tapa (Figura 65).
Antes de retirar el elemento filtrante, utilice aire a baja presión (2,8 bar (40 psi), limpio y seco) para eliminar cualquier acumulación importante de residuos entre el exterior del elemento y la carcasa del limpiador de aire.
Important: Evite utilizar aire a alta presión, porque podría obligar a la suciedad a penetrar a través del filtro al conducto de admisión. Este proceso de limpieza evita que los residuos migren a la entrada de aire al retirar el filtro primario.
Retire el elemento del filtro.
Important: No intente limpiar el elemento usado porque podría dañar el medio filtrante.
Inspeccione el extremo sellante del filtro y la carcasa del filtro para asegurarse de que el filtro nuevo no ha sido dañado durante el transporte.
Important: No utilice el elemento del filtro si está dañado.
Introduzca el filtro nuevo presionando el borde exterior del elemento para asentarlo en el cartucho.
Important: No aplique presión al centro flexible del filtro.
Monte la tapa del limpiador de aire en la carcasa del limpiador de aire, y sujete la tapa con los enganches.
Levante el cojín del operador; consulte Elevación del cojín del operador.
| Intervalo de mantenimiento y servicio | Procedimiento de mantenimiento |
|---|---|
| Cada 200 horas |
|
| Cada 500 horas |
|
Prepare la máquina para el mantenimiento; consulte Preparación para el mantenimiento.
Retire el capó; consulte Retirada del capó.
Limpie la zona alrededor de la base de la(s) bujía(s) para que no caiga suciedad en el motor.
Retire los cables de las 2 bujías como se muestra en la Figura 82.
Note: Utilice una llave de bujías para desmontar las bujías.

Retire las bujías.
Si se observa un color gris o marrón claro en el aislante, el motor funciona correctamente.
Note: Si el aislante aparece de color negro, significa que el limpiador de aire está sucio.
Important: No limpie las bujías. Cambie siempre la(s) bujía(s) si tiene(n) un revestimiento negro, los electrodos desgastados, una película aceitosa o grietas.
Ajuste la distancia (Figura 83) entre el electrodo central y el electrodo lateral a 0,76 mm (0,030").

Repita los pasos 1 a 2 con la otra bujía.
Instale y apriete las 2 bujías (Figura 78).
Note: Utilice una llave dinamométrica con llave de bujías para apretar las bujías.
Conecte los cables a las bujías.
Instale el capó; consulte Instalación del capó.

Bajo ciertas condiciones el combustible es extremadamente inflamable y altamente explosivo. Un incendio o una explosión provocados por el combustible puede causarle quemaduras a usted y a otras personas así como daños materiales.
No drene el combustible de los depósitos de combustible si el motor está frío. Realice esta operación en un área abierta. Limpie cualquier combustible derramado.
No fume nunca mientras drena el combustible y manténgase alejado de llamas desnudas o de lugares donde una chispa pudiera inflamar los vapores.
| Intervalo de mantenimiento y servicio | Procedimiento de mantenimiento |
|---|---|
| Cada 200 horas |
|
Aparque la máquina en una superficie nivelada, ponga el freno de estacionamiento y ponga el acelerador en la posición de LENTO.
Si están instalados, baje el apero de montaje intermedio y el apero trasero opcional.
Apague el motor y retire la llave.
Espere a que se detengan todas las piezas en movimiento y deje que se enfríen los componentes de la máquina.
Gire la válvula de cierre del combustible a la posición de Cerrado.
Afloje el tapón del depósito de combustible para aliviar la presión.
Note: Para evitar derrames de combustible, puede vaciar el depósito antes de cambiar el filtro; consulte Vaciado del depósito de combustible.
Retire el capó; consulte Retirada del capó.
Bloquee los tubos de combustible en ambos lados del filtro de combustible (Figura 85).

Apriete los extremos de las abrazaderas y deslícelas por el tubo alejándolas del filtro (Figura 85).
Coloque un recipiente debajo de los tubos de combustible para recoger cualquier fuga, luego retire el filtro de los tubos de combustible.
Deslice los tubos de combustible sobre los conectores del filtro de combustible nuevo, asegurándose de que la flecha del filtro señale hacia el tubo que va a la bomba de combustible, no al tubo que viene del depósito de combustible.
Important: No instale nunca un filtro sucio.
Acerque las abrazaderas al filtro.
Retire el bloqueo del flujo de combustible y abra las válvulas de combustible.
Sujete el tapón del depósito de combustible e instale el capó; consulte Instalación del capó.
Aparque la máquina en una superficie nivelada, ponga el freno de estacionamiento y ponga el acelerador en la posición de LENTO.
Si están instalados, baje el apero de montaje intermedio y el apero trasero opcional.
Apague el motor y retire la llave.
Espere a que se detengan todas las piezas en movimiento y deje que se enfríen los componentes de la máquina.
Vacíe el combustible del depósito usando una bomba tipo sifón.
Prepare la máquina para el mantenimiento; consulte Preparación para el mantenimiento.
Baje el cojín del operador; consulte Bajada del cojín del operador.
Retire el fusible fundido del bloque de fusibles (Figura 80).

Introduzca un fusible nuevo del mismo amperaje en la ranura del bloque de fusibles.
Levante y sujete el cojín del operador; consulte Elevación del cojín del operador.
| Intervalo de mantenimiento y servicio | Procedimiento de mantenimiento |
|---|---|
| Cada 50 horas |
|
Una presión de aire incorrecta de los neumáticos puede causar un rendimiento desigual del apero de montaje intermedio.
Note: Compruebe los neumáticos cuando están fríos para obtener lecturas precisas de la presión del aire.
Compruebe la presión de los neumáticos antes de utilizar la máquina.
Note: La presión especificada de los neumáticos delanteros y traseros es de 1,72 bar (25 psi).
Si es necesario, ajuste la presión de aire de los neumáticos con la presión especificada.

| Intervalo de mantenimiento y servicio | Procedimiento de mantenimiento |
|---|---|
| Cada mes |
|
Especificación del par de apriete de las tuercas de las ruedas: 129 N·m (95 pies-libra).
Apriete las tuercas de las ruedas traseras al par especificado, siguiendo el orden indicado en la Figura 88.

Note: Esto es necesario solo después de retirar o cambiar las ruedas giratorias delanteras.
Apriete la contratuerca hasta que la rueda deje de girar libremente, luego afloje lentamente la contratuerca justo lo suficiente para que la rueda pueda girar libremente; repita esto con la otra rueda giratoria.

| Intervalo de mantenimiento y servicio | Procedimiento de mantenimiento |
|---|---|
| Cada 1000 horas |
|
Prepare la máquina para el mantenimiento; consulte Preparación para el mantenimiento.
En la parte inferior delantera del motor, introduzca una llave de tubo o una llave de carraca en el brazo tensor y mueva el soporte hacia arriba para aliviar la tensión de la correa (Figura 90).

Retire la correa de las poleas (Figura 91).

Enrute la correa nueva alrededor de las poleas, como se muestra en la Figura 92.

Retire la llave de tubo o la llave de carraca del brazo tensor.
Busque atención médica inmediatamente si se inyecta fluido en la piel. El fluido que penetre en la piel debe ser retirado quirúrgicamente por un médico en el término de pocas horas.
Asegúrese de que todas las mangueras y líneas de fluido hidráulico están en buenas condiciones de uso y que todos los acoplamientos y conexiones hidráulicos están apretados, antes de aplicar presión al sistema hidráulico.
Mantenga el cuerpo y las manos alejados de fugas pequeñas o boquillas que liberan fluido hidráulico a alta presión.
Utilice un cartón o un papel para detectar fugas de fluido hidráulico.
Alivie de manera segura toda presión en el sistema hidráulico antes de realizar trabajos en el sistema hidráulico.
| Intervalo de mantenimiento y servicio | Procedimiento de mantenimiento |
|---|---|
| Cada vez que se utilice o diariamente |
|
Inspeccione a diario las líneas y mangueras hidráulicas para comprobar que no tienen fugas, que no están torcidas, que los soportes no están sueltos, y que no hay desgaste, elementos sueltos, o deterioro causado por agentes ambientales o químicos. Haga todas las reparaciones necesarias antes de operar la máquina.
Fluido recomendado: Toro Premium Transmission/Hydraulic Tractor Fluid (Fluido para transmisiones/fluido hidráulico para tractores de alta calidad de Toro) (Disponible en recipientes de 19 litros (5 galones) o en bidones de 208 litros (55 galones). Consulte el Catálogo de piezas o póngase en contacto con un distribuidor autorizado Toro para obtener los números de pieza.
Fluidos alternativos: Si no está disponible el fluido Toro, puede utilizarse fluido hidráulico Mobil® 424.
Note: Toro no asume responsabilidad alguna por los daños causados por sustituciones incorrectas.
Note: La mayoría de los fluidos hidráulicos son casi incoloros, por lo que es difícil detectar fugas. Está disponible un aditivo de tinte rojo para el fluido del sistema hidráulico en botellas de 20 ml (⅔ oz fluida). Una botella es suficiente para 15 a 22 litros (4 a 6 galones) de fluido hidráulico. Solicite la pieza Nº 44-2500 a su distribuidor autorizado Toro.
| Intervalo de mantenimiento y servicio | Procedimiento de mantenimiento |
|---|---|
| Cada vez que se utilice o diariamente |
|
Eleve totalmente el apero hidráulico a la posición de transporte.
Prepare la máquina para el mantenimiento; consulte Preparación para el mantenimiento.
Retire el capó; consulte Retirada del capó.
Limpie la zona alrededor de la varilla de aceite y el tapón de llenado de aceite (Figura 93).

Retire la varilla y el tapón del depósito y límpiela con un trapo limpio.
Introduzca la varilla en el depósito (Figura 93).
Retire la varilla y el tapón (Figura 93) y compruebe el nivel de fluido.
Note: El nivel de fluido debe estar entre la marca LOW (Bajo) y la marca FULL (Lleno) de la varilla.
Si el nivel de fluido es bajo, añada fluido hidráulico del tipo especificado al depósito hasta que el nivel llegue a la marca FULL (Lleno) de la varilla.
Instale la varilla y el tapón (Figura 93) en el depósito.
Instale el capó; consulte Instalación del capó.
| Intervalo de mantenimiento y servicio | Procedimiento de mantenimiento |
|---|---|
| Cada 300 horas |
|
Prepare la máquina para el mantenimiento; consulte Preparación para el mantenimiento.
Baje el cojín del operador; consulte Bajada del cojín del operador.
Coloque un recipiente de vaciado debajo del filtro hidráulico.
Retire el filtro de la cabeza del filtro (Figura 94).

Limpie la brida de montaje de la cabeza del filtro.
Aplique una capa fina del fluido hidráulico especificado a la junta del nuevo filtro; consulte Especificación del fluido hidráulico.
Llene el filtro con el fluido hidráulico especificado.
Enrosque el filtro en la cabeza del filtro hasta que la junta toque la brida de montaje, luego apriete el filtro ½ vuelta más.
Arranque el motor, compruebe que no hay fugas alrededor del filtro y la cabeza del filtro, apague el motor y retire la llave.
Note: Repare cualquier fuga hidráulica.
Levante y sujete el cojín del operador; consulte Elevación del cojín del operador.
| Intervalo de mantenimiento y servicio | Procedimiento de mantenimiento |
|---|---|
| Cada 300 horas |
|
Capacidad del depósito hidráulico: 28,4 litros (7,5 galones US)
Prepare la máquina para el mantenimiento; consulte Preparación para el mantenimiento.
Retire el capó; consulte Retirada del capó.
Coloque un recipiente de vaciado con capacidad para 30 litros (8 galones US) o más debajo de la esquina delantera del depósito hidráulico (Figura 95).

Retire el tapón de vaciado del depósito y espere a que se drene el fluido hidráulico.
Verifique que no hay fragmentos de acero en el tapón de vaciado.
Note: Póngase en contacto con su distribuidor autorizado Toro si el extremo del tapón está cubierto de fragmentos de acero.
Compruebe que la junta tórica del tapón de vaciado no está dañada ni desgastada.
Important: Si la junta tórica está dañada o desgastada, cámbiela.
Limpie el tapón de vaciado e instálelo en el depósito.
Añada 28,4 litros (7,5 galones US) del fluido hidráulico especificado al depósito hidráulico.
Compruebe que no hay fugas en el tapón de vaciado.
Important: Repare cualquier fuga hidráulica.
Instale el capó; consulte Instalación del capó.
| Intervalo de mantenimiento y servicio | Procedimiento de mantenimiento |
|---|---|
| Después de cada uso |
|
Important: No utilice agua salobre o reciclada para limpiar la máquina.
Important: No lave la máquina a presión.
Aparque la máquina en una superficie nivelada, levante el manillar completamente y cierre el pestillo para activar el freno de estacionamiento, apague el motor, retire la llave y espere a que se detengan todas las piezas en movimiento.
Lave la máquina a fondo.
Utilice una manguera de jardín sin boquilla para evitar que el agua traspase las juntas y contamine la grasa del cojinete.
Utilice un cepillo para eliminar el material incrustado.
Utilice un detergente suave para limpiar las cubiertas.
Después de la limpieza, aplique periódicamente una capa de cera para automóviles para mantener el acabado brillante de la cubierta.
Inspeccione la máquina en busca de daños, fugas de aceite y desgaste de componentes.