| Périodicité d'entretien | Procédure d'entretien |
|---|---|
| À chaque utilisation ou une fois par jour |
|
Cette machine est destinée aux utilisateurs professionnels employés à des applications commerciales. Elle est principalement conçue pour traiter les terrains de sport et les espaces verts commerciaux régulièrement entretenus. L'utilisation de ce produit à d'autres fins que celle prévue peut être dangereuse pour vous-même et toute personne à proximité.
Cette machine n'est pas destinée à être utilisée sans qu'un accessoire ventral agréé par Toro ne soit installé; n'utilisez pas cette machine sans l'équiper d'un accessoire ventral.
Lisez attentivement cette notice pour apprendre comment utiliser et entretenir correctement votre produit, et éviter ainsi de l'endommager ou de vous blesser. Vous êtes responsable de l'utilisation sûre et correcte du produit.
Rendez-vous sur www.Toro.com pour tout document de formation à la sécurité et à l'utilisation des produits, pour tout renseignement concernant un produit ou un accessoire, pour obtenir l'adresse des dépositaires ou pour enregistrer votre produit.
Pour obtenir des prestations de service, des pièces Toro d'origine ou des renseignements complémentaires, munissez-vous des numéros de modèle et de série du produit et contactez un dépositaire-réparateur ou le service client Toro agréé. La Figure 1 indique l'emplacement des numéros de modèle et de série du produit. Inscrivez les numéros dans l'espace réservé à cet effet.
Important: Avec votre appareil mobile, vous pouvez scanner le code QR (selon l'équipement) sur la plaque du numéro de série pour accéder à l'information sur la garantie, les pièces et autres renseignements concernant le produit.

Les mises en garde de ce manuel soulignent des dangers potentiels et sont signalées par le symbole de sécurité (Figure 2), qui indique un danger pouvant entraîner des blessures graves ou mortelles si les précautions recommandées ne sont pas respectées.

Ce manuel utilise deux termes pour faire passer des renseignements essentiels. Important pour attirer l'attention sur une information d'ordre mécanique spécifique, et Remarque pour souligner une information d'ordre général méritant une attention particulière.
Si cette machine est équipée d’un dispositif télématique, demandez à votre dépositaire Toro agréé comment procéder pour l’activer.
|
Certification de compatibilité électromagnétique |
|
Usage résidentiel : Ce dispositif est conforme à la partie 15 de la réglementation de la FCC. Son utilisation est assujettie aux deux conditions suivantes : (1) Ce dispositif ne doit pas causer de parasites nuisibles et (2) ce dispositif doit accepter tous les parasites, y compris ceux pouvant en perturber le fonctionnement. |
|
ID FCC : APV-2630MB IC : 5843C-2630MB |
|
Cet équipement a été testé et déclaré conforme aux limites afférentes à un dispositif numérique de classe B, en vertu de la section 15 des règles de la FCC. Ces limites ont pour objet d'assurer une protection raisonnable contre les interférences nuisibles dans une installation résidentielle. Cet équipement produit, utilise et peut émettre des fréquences radioélectriques et, s'il n'est pas monté et utilisé conformément aux instructions, peut créer des interférences préjudiciables aux radiocommunications. Toutefois, rien ne garantit l'absence d'interférences dans une installation particulière. Si cet équipement cause des interférences nuisibles à la réception des signaux de radio ou de télévision, ce qui peut être déterminé en mettant l'équipement hors tension puis sous tension, l'utilisateur peut tenter de remédier à ces interférences en appliquant au moins une des procédures suivantes :
|
|
Argentine |
![]() |
|
Australie |
![]() |
|
Japon |
![]() |
|
Maroc |
|
|---|---|
|
AGRÉÉ PAR L’ANRT MAROC |
|
|
Numéro d’agrément : |
MR00004658ANRT2024 |
|
Date d’agrément : |
25/10/2024 |
|
Nouvelle-Zélande |
|
|
|
Corée du sud |
![]() |
|
Taïwan |
![]() |
CALIFORNIE
Proposition 65 - Avertissement
Les gaz d'échappement de ce produit contiennent des substances chimiques considérées par l'état de Californie comme susceptibles de provoquer des cancers, des malformations congénitales et autres troubles de la reproduction.
Les bornes de la batterie et accessoires connexes contiennent du plomb et des composés de plomb. L'état de Californie considère ces substances chimiques comme susceptibles de provoquer des cancers et des troubles de la reproduction. Lavez-vous les mains après avoir manipulé la batterie.
L'utilisation de ce produit peut entraîner une exposition à des substances chimiques considérées pas l'état de Californie comme capables de provoquer des cancers, des anomalies congénitales ou d'autres troubles de la reproduction.
Important: N’utilisez pas cette machine sans l’équiper d’un accessoire ventral agréé par Toro.
Ce produit peut vous blesser. Respectez toujours toutes les consignes de sécurité pour éviter des blessures graves.
Vous devez lire et comprendre le contenu de ce Manuel de l'utilisateur avant de démarrer le moteur.
N'approchez pas les mains ou les pieds des composants mobiles de la machine.
N'utilisez pas la machine s'il manque des capots ou d'autres dispositifs de protection, ou s'ils sont en mauvais état.
Accordez toute votre attention à l'utilisation de la machine. Ne vous livrez à aucune activité risquant de vous distraire, au risque de causer des dommages corporels ou matériels.
N'admettez personne, notamment les enfants, dans le périmètre de travail. N'autorisez pas les enfants à utiliser la machine. Seules les personnes responsables, formées à l'utilisation de la machine, ayant lu et compris les instructions et physiquement aptes sont autorisées à utiliser la machine.
Arrêtez la machine, coupez le moteur et enlevez la clé de contact avant d'effectuer un entretien ou de faire le plein de carburant.
Ce produit génère un champ électromagnétique. Si vous portez un dispositif médical électronique implantable, consultez votre professionnel de santé avant d'utiliser ce produit.
![]() |
Des autocollants de sécurité et des instructions bien visibles par l'opérateur sont placés près de tous les endroits potentiellement dangereux. Remplacez tout autocollant endommagé ou manquant. |






















Pièces nécessaires pour cette opération:
| Accessoire ventral (à commander séparément; contactez votre dépositaire Toro agréé) | 1 |
Installez un accessoire ventral agréé par Toro; voir les Instructions d'installation de l'accessoire ventral.
Sortez la machine de la caisse d'expédition, garez-la sur une surface plane et horizontale ou conduisez-la jusqu'à un dispositif de levage.
Serrez le frein de stationnement.
Abaissez l'accessoire ventral.
Coupez le moteur et enlevez la clé.
Attendez l'arrêt complet de toutes les pièces mobiles et laissez refroidir le moteur.
Actionnez la commande de l'accessoire ventral en avant et en arrière pour évacuer la pression hydraulique (Figure 3).

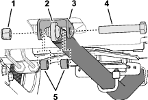
Pièces nécessaires pour cette opération:
| Chaîne de barre d'attelage courte (17½ po) | 2 |
| Support de levage | 1 |
| Boulon de carrosserie (5/16 x 1 po) | 6 |
| Rondelle (⅜ x ⅞ po) | 4 |
| Contre-écrou à embase (5/16 po) | 6 |
| Cadre de levage d'accessoire arrière | 1 |
| Longue chaîne de levage arrière (25 po) | 2 |
| Manille | 2 |
| Axe de chape | 2 |
| Goupille fendue | 2 |
| Boulon à embase (⅜ x 1¾ po) | 2 |
| Rondelle (2/5 po) | 2 |
| Contre-écrou à embase (⅜ po) | 3 |
| Gaine de chaîne | 2 |
| Boulon à embase (½ x 3 po) | 6 |
| Contre-écrou à embase (½ po) | 6 |
| Rondelle de butée (½ po) | 2 |
| Plaque d'attache | 2 |
| Vis (¾ x 4½ po) | 1 |
| Contre-écrou (¾ po) | 1 |
| Boulon à embase (⅜ x 1½ po) | 1 |
Levez la plate-forme du conducteur (Figure 4).
Note: La plate-forme du conducteur ne reste pas levée par elle-même; retenez-la ou maintenez-la en place pendant que vous effectuez cette procédure.

Placez le dernier maillon d'une courte chaîne d'attelage en face du trou dans la patte prévue pour la chaîne de la plaque du cadre arrière (Figure 5).
Vérifiez que le maillon au niveau de la patte et que le maillon suivant est aligné dans la rainure dans la patte.

Fixez la chaîne sur la patte à l'aide d'un boulon de carrosserie (5/16 x 1 po), d'une rondelle (⅜ x ⅞ po) et d'un contre-écrou à embase (5/16 po), comme montré à la Figure 5.
Serrez le contre-écrou à un couple de 19,8 à 25,4 N·m (175 à 225 po-lb).
Répétez les opérations 2 à 4 pour l'autre courte chaîne de barre d'attelage sur la patte de l'autre côté de la machine.
Montez le support de levage sur le cadre arrière comme montré à la Figure 6.

Fixez la patte de butée de remorquage sur la barre d'attelage à l'aide d'un étrier fileté et de 2 contre-écrous (5/16 po), comme montré à la Figure 11.
Note: Montez la patte en orientant les languettes vers l'avant de la machine.

Accouplez l'adaptateur d'accessoire arrière à la barre d'attelage à l'aide d'un boulon à tête hexagonale (¾ x 3½ po), d'une rondelle plate et d'un contre-écrou (¾ po), comme montré à la Figure 8.
Note: Insérez la vis dans le dernier trou au bout de l'adaptateur et de la barre d'attelage.

Fixez les chaînes de levage à la barre de levage à l'aide des boulons à embase (⅜ x 1¾ po), des rondelles (⅜ po) et des contre-écrous (⅜ po).
Enfilez les manchons sur les chaînes de levage, puis fixez chaînes sur le bras de levage à l'aide de manilles, d'axes de chape et de goupilles fendues.
Accrochez le deuxième maillon des longues chaînes de levage arrière au sommet du cadre de levage au moyen des manilles, des axes de chape et des goupilles fendues (Figure 9).

Fixez le bas des longues chaînes de levage arrière sur le tube d'accrochage au bas du cadre de levage à l'aide des boulons à embase (⅜ x 1¾ po), des rondelles (2/5 po) et des contre-écrous à embase (⅜ po), comme montré à la Figure 10.

Glissez le cadre de levage d'accessoire arrière sous la machine (Figure 11).
Note: Veillez à bien centrer le cadre de levage d'accessoire arrière sous la machine.

Soulevez l'arrière du cadre de levage d'accessoire arrière pour aligner les trous des tubes du cadre de levage sur les trous des profilés du cadre arrière (Figure 12).

Note: Installez les fixations de la plaque d'attache en plaçant les têtes des boulons vers l'extérieur de la machine.
Montez les plaques d'attache à l’extérieur du cadre d’accessoire arrière et placez les rondelles de butée à l’intérieur, comme montré à la Figure 12.
Insérez les 6 boulons à embase (½ x 3 po) dans les trous des profilés et des tubes.
Vissez les 6 contre-écrous à embase (½ po) sur les boulons à embase.
Serrez les boulons et les contre-écrous à embase à un couple de 91 à 113 N·m (67 à 83 pi-lb).
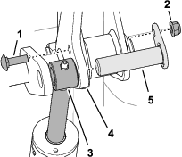
Alignez le trou côté tige de la barre d'attelage et les trous du support de la barre d'attelage au niveau la cloison du cadre arrière (Figure 13).

Fixez le côté tige de la barre d'attelage sur le support à l'aide de la vis (¾ x 4½ po), de 2 rondelles et d'un contre-écrou (¾ po), comme montré à la Figure 13.
Serrez la vis et le contre-écrou à un couple de 320 à 396 N·m (238 à 392 pi-lb).
Croisez les chaînes attachées au-dessus de la barre d'attelage (Figure 14).

Tirez sur la chaîne pour éliminer le mou et placez le maillon en face du trou dans la patte de butée de remorquage de la barre d'attelage.
Assurez-vous que le maillon est au niveau du côté extérieur de la patte et que le maillon immédiatement précédent se trouve en face de la rainure dans la patte.
Fixez la chaîne sur la patte de butée à l'aide d'un boulon à embase (5/16 x 1 po), d'une rondelle (⅜ x ⅞ po) et d'un contre-écrou à embase (5/16 po), comme montré à la Figure 14.
Répétez les opérations 1 à 3 pour l'autre chaîne de l'autre côté de la patte de butée.
Assemblez les chaînes à leur point de croisement (Figure 15) avec un boulon à embase (⅜ x 1½ po) et d'un contre-écrou à embase (⅜ po).

Serrez les boulons à embase (5/16 po) et les contre-écrous à un couple de 19,8 à 25,4 N·m (175 à 225 po-lb).
Serrez le boulon à embase (⅜ po) et le contre-écrou à un couple de 37 à 45 N·m (27 à 33 pi-lb).
Retirez l'attache-câble qui retient le vérin hydraulique arrière et les flexibles à l'arrière de la machine.
Retirez le boulon de carrosserie et le contre-écrou à embase qui fixent l'axe de vérin au bras de l'arbre de levage (Figure 16).

Amenez le vérin et les flexibles à l'arrière du cadre de levage (Figure 17).
Placez le protège-flexibles autour des flexibles à 9 cm (3,5 po) du profilé de tube arrière, comme montré à la Figure 17.
Important: Assurez-vous que les flexibles de déploiement et de rétraction ne sont pas enroulés l'un autour de l'autre.Si les flexibles sont vrillés, desserrez-les du côté cloison et redressez les flexibles, puis resserrez-les.

Montez le vérin de levage de l'accessoire arrière sur l'arbre de montage du cadre arrière (Figure 18).

Placez le côté tige du vérin entre les bras de l'arbre de levage (Figure 19).

Fixez le côté tige aux bras de l'arbre de levage à l'aide de l'axe de vérin, du boulon de carrosserie et du contre-écrou à embase.
Graissez le vérin de levage de l'accessoire avant la première utilisation; voir Graissage des roulements et bagues.
Abaissez la plate-forme de l'utilisateur.
Note: Lorsque le vérin de levage de l'accessoire arrière est complètement déployé, la barre d'attelage est normalement complètement levée contre le pare-chocs arrière.



La commande d'accélérateur (Figure 22) permet de réguler le régime moteur.
Utilisez la commande de levage d'accessoire arrière pour lever et baisser un accessoire arrière monté en option.
Utilisez la commande de basculement d'accessoire ventral pour régler l'angle d'engagement de l'accessoire ventral.
Utilisez la commande de levage d'accessoire ventral pour lever et baisser l'accessoire ventral.
Utilisez la commande de démarrage à froid (Figure 22) pour régler la position du volet de départ pour démarrer quand le moteur est froid.
Le compteur horaire/contrôleur (Figure 22) effectue les fonctions suivantes :
Il indique le nombre total d'heures de fonctionnement du moteur.
Il assure la commande du système de sécurité et affiche des indicateurs pour les composants suivants :
Frein de stationnement en position SERRéE.
Commandes de déplacement en position POINT MORT.
Présence de l'utilisateur sur la plate-forme.
Indique la tension et le fonctionnement du système de charge faible.
Le commutateur d'allumage sert à démarrer et arrêter le moteur.

Serrez et desserrez le frein de stationnement au moyen de la poignée (Figure 23).
La poignée du frein de stationnement est située sur la tour de commande, sur la gauche de la barre de référence avant.
Les leviers de commande de déplacement (Figure 23) sont situés de chaque côté de la tour de commande, et permettent de commander le déplacement de la machine en marche avant et marche arrière.
Déplacez les leviers en avant ou en arrière pour faire tourner en avant ou en arrière la roue motrice qui se trouve du même côté. La vitesse des roues est proportionnelle à l'actionnement du levier.
|
Longueur |
292,3 cm (115 po) |
|
Largeur (sans accessoire ventral) |
147,3 cm (58 po) |
|
Largeur (avec accessoire multi-outils) |
172,7 cm (68 po) |
|
Hauteur |
129,5 cm (51 po) |
|
Poids net (à vide, sans options installées) |
521,6 kg (1 150 lb) |
|
Poids net (avec accessoire multi–outils) |
734,8 kg (1 620 lb) |
|
Vitesse maximale en marche avant |
16 km/h (10 mi/h) |
|
Vitesse maximale en marche arrière |
8 km/h (5 mi/h) |
Ne confiez jamais l'utilisation ou l'entretien de la machine à des enfants ou à des personnes non qualifiées. La réglementation locale peut imposer un âge minimum pour les utilisateurs. Le propriétaire de la machine doit assurer la formation de tous les utilisateurs et mécaniciens.
Familiarisez-vous avec le maniement correct du matériel, les commandes et les symboles de sécurité.
Avant de quitter la machine, garez-la sur une surface plane et horizontale, serrez le frein de stationnement, baissez les accessoires, coupez le moteur, retirez la clé et attendez l'arrêt de tout mouvement.
Apprenez à arrêter la machine et le moteur rapidement.
Le cas échéant, vérifiez que les commandes de présence de l'utilisateur, les contacteurs de sécurité et les capots de protection sont en place et fonctionnent correctement. N'utilisez pas la machine en cas de mauvais fonctionnement.
Avant d'utiliser la machine, vérifiez toujours que les composants et les fixations sont en bon état. Remplacez les pièces et fixations usées ou endommagées.
Le carburant est extrêmement inflammable et hautement explosif. Un incendie ou une explosion causé(e) par du carburant peut vous brûler, ainsi que toute personne à proximité, et causer des dommages matériels.
Pour éviter que l'électricité statique n'enflamme le carburant, posez le bidon et/ou la machine directement sur le sol avant de faire le plein; ne les laissez pas dans un véhicule ou sur un support quelconque.
Faites le plein du réservoir de carburant à l'extérieur, dans un endroit bien dégagé, lorsque le moteur est froid. Essuyez tout carburant répandu.
Ne fumez jamais en manipulant du carburant et tenez-vous à l'écart des flammes nues ou des sources d'étincelles.
N'enlevez pas le bouchon du réservoir de carburant et n'ajoutez pas de carburant quand le moteur tourne ou est encore chaud.
Si vous renversez du carburant, n'essayez pas de démarrer le moteur à cet endroit. Évitez de créer des sources d'inflammation jusqu'à dissipation complète des vapeurs de carburant.
Conservez le carburant dans un récipient homologué et hors de la portée des enfants.
Le carburant est toxique, voire mortel en cas d'ingestion. L'exposition prolongée aux vapeurs de carburant peut causer des blessures et des maladies graves.
Évitez de respirer les vapeurs de carburant de façon prolongée.
N'approchez pas les mains et le visage du pistolet ou de l'ouverture du réservoir de carburant.
Tenez le carburant à l'écart des yeux et de la peau.
Ne remisez pas la machine ni les bidons de carburant à proximité d'une flamme nue, d'une source d'étincelles ou d'une veilleuse, telle celle d'un chauffe-eau ou d'autres appareils.
Ne remplissez pas les bidons de carburant à l'intérieur d'un véhicule ou sur le plateau d'une remorque ou d'un camion dont le revêtement est en plastique. Posez toujours les bidons sur le sol, à l'écart du véhicule, avant de les remplir.
Descendez la machine du véhicule ou de la remorque et posez-la à terre avant de remplir le réservoir de carburant. Si cela n'est pas possible, laissez la machine dans le véhicule ou sur la remorque, mais remplissez le réservoir à l'aide d'un bidon, et non directement à la pompe.
N'utilisez pas la machine si elle n'est pas équipée du système d'échappement complet et en bon état de marche.
Maintenez le pistolet en contact avec le bord du réservoir ou du bidon jusqu'à la fin du remplissage. N'utilisez pas de dispositif de verrouillage du pistolet en position ouverte.
Si du carburant s'est répandu sur vos vêtements, changez-vous immédiatement. Essuyez tout carburant répandu.
Ne remplissez jamais excessivement le réservoir de carburant. Remettez le bouchon du réservoir de carburant en place et serrez-le solidement.
| Carburant à base de pétrole | Utilisez de l'essence sans plomb avec un indice d'octane de 87 ou plus (méthode de calcul [R+M]/2). |
| Carburant à l'éthanol | Utilisez de l'essence sans plomb contenant jusqu'à 10 % d'éthanol (essence-alcool); vous pouvez utiliser de l'essence avec 15 % de MTBE (éther méthyltertiobutylique) par volume à la rigueur. L'éthanol et le MTBE sont deux produits différents. |
| L'utilisation d'essence contenant 15 % d'éthanol (E15) par volume n'est pas agréée. N'utilisez jamais d'essence contenant plus de 10 % d'éthanol par volume, comme E15 (qui contient 15 % d'éthanol), E20 (qui contient 20 % d'éthanol) ou E85 (qui contient jusqu'à 85 % d'éthanol). L'utilisation d'essence non agréée peut entraîner des problèmes de performances et/ou des dommages au moteur qui peuvent ne pas être couverts par la garantie. |
Important: Pour assurer le fonctionnement optimal de la machine, utilisez uniquement du carburant propre et frais (stocké depuis moins d'un mois).
N'utilisez pas d'essence contenant du méthanol.
Ne stockez pas le carburant dans le réservoir ou dans des bidons de carburant pendant l'hiver, à moins d'utiliser un stabilisateur de carburant.
N'ajoutez pas d'huile à l'essence.
Utilisez un additif stabilisateur/conditionneur dans la machine pour que le carburant reste frais plus longtemps.
Important: N'utilisez pas d'additifs contenant du méthanol ou de l'éthanol.
Ajoutez au carburant frais la quantité de stabilisateur/conditionneur indiquée par le fabricant du stabilisateur.
Capacité du réservoir de carburant : 31,4 litres (8,3 gallons américains).
Garez la machine sur une surface plane et horizontale, serrez le frein de stationnement, coupez le moteur et enlevez la clé.

Nettoyez la surface autour du bouchon du réservoir de carburant et enlevez le bouchon.
Remplissez le réservoir de carburant jusqu'à 25 mm (1 po) au-dessous du goulot de remplissage.
Note: Ne remplissez pas complètement le réservoir de carburant. L'espace vide dans le réservoir permet au carburant de se dilater.
Placez le bouchon de remplissage sur le goulot de remplissage du réservoir.
Chaque jour, effectuez les procédures suivantes avant d'utiliser la machine :
| Périodicité d'entretien | Procédure d'entretien |
|---|---|
| À chaque utilisation ou une fois par jour |
|
Montez sur la plate-forme de l'utilisateur.
Desserrez le frein de stationnement.
Amenez les barres de commande de déplacement à la position POINT MORT.
Essayez de démarrer le moteur.
Important: Le moteur ne doit pas démarrer.Si le moteur démarre, arrêtez-le, retirez la clé et contactez votre dépositaire Toro agréé pour une révision.
Montez sur la plate-forme de l'utilisateur.
Serrez le frein de stationnement.
Amenez la barre de commande de déplacement gauche à la position MARCHE AVANT.
Essayez de démarrer le moteur.
Amenez la barre de commande de déplacement droite à la position MARCHE ARRIèRE.
Essayez de démarrer le moteur.
Important: Le moteur ne doit pas démarrer.Si le moteur démarre, arrêtez-le, retirez la clé et contactez votre dépositaire Toro agréé pour une révision.
Important: Les commandes de sécurité de la plate-forme de l'utilisateur sont inclues avec certains kits d'accessoire; elles ne sont pas inclues sur la machine de base.
Serrez le frein de stationnement.
Amenez les barres de commande de déplacement à la position POINT MORT.
Descendez de la plate-forme et tenez-vous sur le sol.
Essayez de démarrer le moteur.
Important: Le moteur ne doit pas démarrer.Si le moteur démarre, arrêtez-le, retirez la clé et contactez votre dépositaire Toro agréé pour une révision.
Retirez les 4 boulons et les 4 rondelles qui fixent le coussin du dossier sur la plaque de montage (Figure 25).

Montez ou baissez le coussin du dossier.
Alignez les trous dans le coussin du dossier et les trous dans la plaque de montage.
Fixez le coussin sur la plaque avec les 4 boulons et les 4 rondelles.
Le propriétaire/l'utilisateur est responsable des accidents pouvant entraîner des dommages corporels et matériels et peut les prévenir.
Portez une tenue adéquate, y compris une protection oculaire, un pantalon, des chaussures solides à semelle antidérapante et des protecteurs d'oreilles. Attachez les cheveux longs et ne portez pas de bijoux ni de vêtements amples.
Accordez toute votre attention à l'utilisation de la machine. Ne vous livrez à aucune activité risquant de vous distraire, au risque de causer des dommages corporels ou matériels.
N'utilisez pas la machine si vous êtes fatigué(e), malade ou sous l'emprise de l'alcool, de médicaments ou de drogues.
Ne transportez jamais de passagers sur la machine et tenez les autres personnes et les animaux à l'écart de la zone de travail.
N'utilisez la machine que si la visibilité est suffisante et dans de bonnes conditions météorologiques. N'utilisez pas la machine si la foudre menace.
N'utilisez la machine que si la visibilité est bonne afin d'éviter les trous ou autres dangers cachés.
Avant de démarrer le moteur, assurez-vous que tous les embrayages sont au point mort, que le frein de stationnement est serré et que vous êtes à la position d'utilisation.
Avant de faire marche arrière, vérifiez que la voie est libre juste derrière la machine et sur sa trajectoire.
Faites preuve de la plus grande prudence à l'approche de tournants sans visibilité, de buissons, d'arbres ou d'autres objets susceptibles de masquer la vue.
Arrêtez la machine et vérifiez l'état de l'accessoire si vous heurtez un obstacle ou si la machine vibre de manière inhabituelle. Effectuez toutes les réparations nécessaires avant de réutiliser la machine.
Ralentissez et faites preuve de prudence quand vous changez de direction, ainsi que pour traverser des routes et des trottoirs avec la machine. Cédez toujours la priorité.
Ne faites tourner le moteur que dans des lieux bien aérés. Les gaz d'échappement contiennent du monoxyde de carbone dont l'inhalation est mortelle.
Ne laissez jamais la machine en marche sans surveillance.
Avant de quitter la position d'utilisation :
Garez la machine sur une surface plane et horizontale.
Abaissez les accessoires.
Serrez le frein de stationnement.
Coupez le moteur et enlevez la clé de contact.
Attendez l'arrêt complet de toutes les pièces mobiles.
N'utilisez pas la machine si la foudre menace.
N'utilisez pas la machine pour tracter quoi que ce soit sans l'équiper du kit d’attelage agréé par Toro.
Au besoin, humidifiez les surfaces avant de travailler dessus, afin de créer le moins de poussière possible.
Utilisez uniquement des accessoires, équipements et pièces de rechange agréés par The Toro® Company.
Établissez vos propres procédures et règles de travail à appliquer quand vous utilisez la machine sur des pentes. Ces procédures doivent inclure un repérage et une étude du site pour déterminer quelles pentes permettent une utilisation sécuritaire de la machine. Faites toujours preuve de bon sens et de discernement quand vous réalisez cette étude.
Les pentes augmentent significativement les risques de perte de contrôle et de retournement de la machine pouvant entraîner des accidents graves, voire mortels. L'utilisateur est responsable de la sécurité d'utilisation de la machine sur les pentes. L'utilisation de la machine sur une pente, quelle qu'elle soit, demande une attention particulière.
Les pentes augmentent significativement les risques de perte de contrôle et de basculement de la machine pouvant entraîner des accidents graves, voire mortels. L'utilisation de la machine sur une pente, quelle qu'elle soit, demande une attention particulière.
Réduisez la vitesse de la machine quand vous la conduisez sur une pente.
N'utilisez pas la machine sur une pente si vous ne vous sentez pas à l'aise.
Méfiez-vous des trous, ornières, bosses, rochers ou autres obstacles cachés. Les irrégularités du terrain peuvent provoquer le retournement de la machine. L'herbe haute peut masquer les accidents du terrain.
Choisissez une vitesse réduite pour ne pas avoir à vous arrêter ou changer de vitesse sur une pente.
La machine peut se retourner avant que les pneus perdent de l'adhérence.
Évitez d'utiliser la machine sur de l'herbe humide. Les roues peuvent perdre de leur motricité, même si les freins sont disponibles et opérationnels.
Évitez de démarrer, de vous arrêter ou de tourner sur une pente.
Déplacez-vous à vitesse réduite et progressivement sur les pentes. Ne changez pas brusquement de vitesse ou de direction.
N'utilisez pas la machine près de fortes dénivellations, fossés, berges, étendues d'eau ou autres dangers. La machine pourrait se retourner brusquement si une roue passe par-dessus une dénivellation quelconque et se retrouve dans le vide, ou si un bord s'effondre. Établissez une zone de sécurité entre la machine et tout danger potentiel (2 fois la largeur de la machine).

Tirez sur la poignée du frein de stationnement pour serrer le frein (Figure 26).
Poussez sur la poignée du frein de stationnement pour desserrer le frein.
Important: N'actionnez pas le démarreur plus de 5 secondes de suite. Si le moteur ne démarre pas, attendez 60 secondes avant de faire une nouvelle tentative. Le démarreur risque de griller si vous ne respectez pas ces consignes.
Note: Plusieurs tentatives peuvent être nécessaires pour démarrer le moteur pour la première fois après le remplissage du système d'alimentation si ce dernier était complètement vide.
Amenez les barres de commande de déplacement à la position POINT MORT.
Serrez le frein de stationnement.
Réglez la commande d'accélérateur à mi-course entre les positions BAS RéGIME et HAUT RéGIME (Figure 27).

Si le moteur est froid, tirez la commande de démarrage à froid à la position EN SERVICE (Figure 27).
Note: Si la machine fonctionne à des températures inférieures à 0 °C (32 °F), attendez que le moteur soit chaud avant d'utiliser la machine. Cela évite d'endommager le système hydraulique.
Tournez la clé de contact à la position DéMARRAGE (Figure 27).
Lorsque le moteur démarre, tournez la clé à la position CONTACT (Figure 27).
Placez la commande d'accélérateur à la position BAS RéGIME et laissez chauffer le moteur.
À mesure que le moteur chauffe, rapprochez la commande de démarrage à froid de la position HORS SERVICE (Figure 27).
Important: Retirez toujours la clé et serrez le frein de stationnement si vous laissez la machine sans surveillance.
Amenez les barres de commande de déplacement à la position POINT MORT.
Serrez le frein de stationnement.
Abaissez les accessoires.
Placez la commande d'accélérateur à la position BAS RéGIME (Figure 28).

Tournez la clé de contact à la position ARRêT (Figure 28).
Retirez la clé et attendez l'arrêt complet de toutes les pièces mobiles avant de quitter la position d'utilisation.
La machine peut tourner très rapidement si vous avancez un levier beaucoup plus que l'autre. Vous pouvez alors perdre le contrôle de la machine et vous blesser gravement ou endommager la machine.
Faites preuve d'une extrême prudence dans les virages.
Ralentissez avant de prendre des virages serrés.
Note: Le moteur s'arrête si vous actionnez les barres de commande de déplacement alors que le frein de stationnement est serré.
Amenez les barres de commande de déplacement à la position POINT MORT.
Desserrez le frein de stationnement; voir Utilisation du frein de stationnement.
Pour conduire la machine en marche avant, procédez comme suit :
Note: Plus les leviers de commande de déplacement sont éloignés de la position POINT MORT, plus la machine se déplace rapidement.
Pour avancer en ligne droite, poussez les deux barres de commande de déplacement en avant simultanément.

Pour tourner à gauche ou à droite, ramenez la barre de commande de déplacement en arrière vers la position point mort, du côté correspondant à la direction voulue.
Pour arrêter la machine, amenez les deux barres de commande de déplacement à la position POINT MORT.
Amenez les barres de commande de déplacement à la position POINT MORT.
Levez l'accessoire ventral et l'accessoire arrière en option.
Pour conduire la machine en marche arrière, procédez comme suit :
Note: Plus les leviers de commande de déplacement sont éloignés de la position POINT MORT, plus la machine se déplace rapidement.
Pour reculer en ligne droite, poussez les deux barres de commande de déplacement en arrière simultanément.

Pour tourner à gauche ou à droite, relâchez la barre de commande de déplacement du côté correspondant à la direction voulue.
Pour arrêter la machine, amenez les deux barres de commande de déplacement à la position POINT MORT.
Garez la machine sur une surface plane et horizontale et serrez le frein de stationnement.
Pour lever complètement l'accessoire ventral, retirez la goupille d'arrêt du trou de butée haute de l'accessoire, et insérez-la dans le trou de butée de rangement de l'accessoire; voir Description de butée d'accessoire ventral.
Moteur en marche, tirez la commande de levage de l'accessoire ventral en arrière pour lever l'accessoire (Figure 31).


Garez la machine sur une surface plane et horizontale.
Si nécessaire, réglez la profondeur de butée de l'accessoire ventral; voir Utilisation de la butée d'accessoire pendant le fonctionnement de la machine.
Moteur en marche, poussez la commande de levage de l'accessoire ventral en avant pour baisser l'accessoire (Figure 32).


Déplacez vers l'avant la commande de basculement de l'accessoire ventral pour faire pivoter l'angle d'engagement des louchets vers l'arrière.


Déplacez vers l'arrière la commande de basculement de l'accessoire ventral pour faire pivoter l'angle d'engagement des louchets vers l'avant.


Levez complètement le porte-outil polyvalent; voir Lever l'accessoire ventral.
Tournez le porte-outil polyvalent en arrière jusqu'à ce qu'il soit possible d'accéder à l'axe de chape et au trou de 13 mm (½ po) dans la plaque de sélection d'angle; voir Basculement avant de l'accessoire ventral.

Retirez le goupille fendue et l'axe de chape qui fixent le bras de l'outil polyvalent à la plaque de sélection d'angle (Figure 36).

Répétez l’opération 3 de l'autre côté de la machine.
Le bras de l'outil polyvalent pivote librement quand les axes de chape sont retirés; les mains et les doigts peuvent être pincés et blessés s'ils sont pris entre le bras de l'outil polyvalent et la plaque de sélection d'angle.
N'approchez pas les mains ou les doigts de la zone située derrière la plaque de sélection d'angle pendant que vous faites tourner l'outil polyvalent.
Bloquez le bras de l'outil polyvalent en position avant de retirer le second axe de chape.
Faites tourner le bras de l'outil polyvalent et choisissez un jeu de dents (Figure 37).

Alignez le trou du bras de l'outil polyvalent et le trou de la plaque de sélection d'angle (Figure 38).

Fixez le bras de l'outil polyvalent à la plaque de sélection d'angle à l'aide de l'axe de chape et de la goupille fendue.
Répétez l’opération 8 de l'autre côté de la machine.
Réglez le basculement du porte-outil polyvalent selon vos besoins (Figure 39).

Utilisez les goupilles d'arrêt et la butée de l'accessoire ventral pour limiter la distance vers le haut ou le bas de positionnement de l'accessoire lors du transport de la machine et de l'entretien de l'accessoire.

Vous pouvez utilisez une combinaison de positions de goupille d'arrêt suivant la tâche à accomplir.
| Tâche | Goupille d'arrêt 1 | Goupille d'arrêt 2 |
|---|---|---|
| Transport de la machine ou entretien de l'accessoire ventral | Position de transport et d'entretien | Position de rangement |
| Limiter les positions haute ou basse de l'accessoire ventral | Position au-dessus du niveau du sol, position au niveau du sol ou position au-dessous du niveau du sol | Positions de butée haute ou position de rangement |
| Limiter la position basse de l'accessoire ventral | Position au-dessus du niveau du sol, position au niveau du sol ou position au-dessous du niveau du sol | Position de rangement |
| Fonctionnement de l'accessoire ventral sur toute la longueur de sa course ascendante et descendante. | Position de rangement | Position de rangement |
Insérez une goupille d'arrêt dans le trou de butée de l'accessoire en position de transport et d'entretien quand vous transportez la machine d'un lieu à un autre, ou quand vous effectuez un réglage ou un entretien de l'accessoire ventral. La position de transport et d'entretien bloque l'accessoire ventral à la position la plus élevée.


Insérez une goupille d'arrêt dans un trou de butée haute quand vous voulez limiter de façon répétée la hauteur de levée de l'accessoire ventral. La position de butée haute permet d'accélérer le processus de levée ou d'abaissement de l'accessoire à la fin ou au début de chaque passe de travail.


Insérez une goupille d'arrêt dans un trou de butée au-dessus du niveau du sol quand vous voulez baisser l'accessoire ventral de manière répétée à une position au-dessus du niveau du sol donnée.


Insérez une goupille d'arrêt dans un trou de butée au niveau ou au-dessous du niveau du sol quand vous voulez baisser l'accessoire ventral de manière répétée à une position au niveau du sol ou au-dessous du niveau du sol donnée.


Lorsque vous n'utilisez avez la ou les goupilles d'arrêt, insérez-les dans le ou les trous de butée de rangement de l'accessoire.


Si nécessaire, étalonnez la butée de l'accessoire ventral au niveau du sol; voir Étalonnage de la butée d'accessoire ventral.
Amenez la machine sur une surface de travail plane et horizontale et serrez le frein de stationnement.
Abaissez l'accessoire ventral Réglage de la hauteur de l'accessoire ventral.
Le cas échéant, insérez une goupille d'arrêt dans le trou de butée haute de l'accessoire; voir Positions de butée haute de goupille d'arrêt.
Le cas échéant, levez l'accessoire ventral à la position voulue et insérez une goupille d'arrêt dans l'un des trous de butée suivants de l'accessoire :
Levez ou baissez l'accessoire ventral jusqu'à ce que la butée touche la goupille d'arrêt.
Amenez la machine sur une surface de travail plane et horizontale et serrez le frein de stationnement.
Si elle est présente, retirez la goupille d'arrêt du trou de butée haute de l'accessoire.
Levez complètement l'accessoire ventral.

Insérez une goupille d'arrêt dans le trou de butée de position de transport et d'entretien de l'accessoire.
Cette procédure règle le point de référence au niveau du sol de la butée d'accessoire.
Fourni par l'utilisateur : 2 cales en bois de 38 mm (1½ po) d'épaisseur
Amenez la machine sur une surface plane et horizontale, et serrez le frein de stationnement.
Si elles sont présentes, retirez les goupilles d'arrêt des positions de butée de l'accessoire suivantes :
Trou de butée de position de transport et d'entretien d'accessoire
Trou de butée haute d'accessoire
Trou de butée au niveau ou au-dessous du niveau du sol d'accessoire
Trou de butée au-dessus du niveau du sol d'accessoire

Levez complètement l'accessoire ventral; voir Lever l'accessoire ventral.
Basculez le porte-outil polyvalent en arrière (Figure 50) jusqu'à ce que les dents soient plus haut que le bas de la lame niveleuse; voir Basculement avant de l'accessoire ventral.

Placez une cale en bois de 38 mm (1,5 po) d'épaisseur sous chaque côté de l'accessoire ventral.

Baissez l'accessoire ventral sur les cales en bois, coupez le moteur, enlevez la clé et attendez l'arrêt complet de toutes les pièces mobiles.
Desserrez l'écrou de blocage qui fixe le côté tige à la tringle de levage (Figure 52).

Retirez le boulon de carrosserie et le contre-écrou qui fixent la tringle de levage au support du bras de levage, et tournez la tringle en arrière.
Répétez les opérations 3 et 4 de l'autre côté de la machine.
Démarrez le moteur et tirez la commande de levage d'accessoire ventral en arrière jusqu'à ce que le vérin de levage de l'accessoire soit complètement déployé.

Insérez une goupille d'arrêt dans le trou de butée à 38 mm (1,5 po) au-dessus du niveau du sol de l'accessoire.
Poussez la commande de levage d'accessoire ventral en avant jusqu'à ce que la butée de l'accessoire touche la goupille d'arrêt.
Coupez le moteur, enlevez la clé et attendez l'arrêt complet de toutes les pièces mobiles.
Placez la tringle de levage devant le support du bras de levage et faites tourner le côté tige jusqu'à ce que son trou soit en face du trou dans le support du bras de levage.

Fixez le côté tige au support du bras de levage à l'aide du boulon de carrosserie et du contre-écrou.
Serrez les écrous de blocage qui fixent le côté tige à la tringle de levage à un couple de 91 à 113 N⋅m (67 à 83 pi-lb).
Répétez les opérations 1 à 3 de l'autre côté de la machine.
Démarrez le moteur, levez l'accessoire ventral, retirez les cales en bois et abaissez l'accessoire jusqu'à la goupille de butée de 38 mm (1,5 po). Mesurez la hauteur de la lame niveleuse par rapport au sol et réajustez les biellettes de levage selon les besoins.
Retirez la goupille de butée du trou de butée au-dessus du sol de l'accessoire et abaissez complètement l'accessoire ventral au sol.

Coupez le moteur, enlevez la clé et attendez l'arrêt complet de toutes les pièces mobiles.
Amenez la machine sur le lieu de travail et serrez le frein de stationnement.
Utilisez la commande de levage d'accessoire arrière (Figure 56) pour régler la position d'un éventuel accessoire arrière comme suit :
Poussez la commande de levage d'accessoire arrière en avant pour baisser l'accessoire arrière.
Tirez la commande de levage d'accessoire arrière en arrière pour lever l'accessoire arrière.


Lisez les instructions d'utilisation de l'accessoire dans le Manuel de l'utilisateur correspondant.
Entraînez-vous à conduire la machine; quand vous utilisez la machine, tenez compte des caractéristiques de la vitesse de déplacement et du régime moteur :
Pour transférer la puissance maximale aux roues, placez la commande d'accélérateur en position HAUT RéGIME et poussez légèrement les commandes de déplacement en avant.
Maintenez un régime moteur constant en appuyant lentement sur les commandes de déplacement; le régime moteur peut ainsi s'aligner sur la vitesse de déplacement du véhicule.
Si vous appuyez trop vite sur les commandes de déplacement, le régime moteur va baisser, ce qui peut à son tour réduire le couple qui déplace le véhicule.
La vitesse de déplacement maximale de la machine peut aussi être atteinte quand la commande d'accélérateur est à la position HAUT RéGIME et que vous actionnez les commandes de déplacement lentement mais complètement.
Note: Si l'adaptateur de l'accessoire se coince sur l'adaptateur du groupe de déplacement, insérez un levier ou un tournevis dans la fente pour faire levier et désengager les pièces (Figure 57).

Avant de quitter la machine, garez-la sur une surface plane et horizontale, serrez le frein de stationnement, coupez le moteur, enlevez la clé et attendez l'arrêt de tout mouvement.
Pour éviter les risques d'incendie, enlevez les brins d'herbe et autres débris qui sont agglomérés sur le silencieux et le compartiment moteur. Nettoyez les coulées éventuelles d'huile ou de carburant.
Laissez refroidir le moteur avant de ranger la machine dans un local fermé.
Fermez le robinet d'arrivée de carburant avant de remiser ou de transporter la machine.
Ne remisez jamais la machine ni les bidons de carburant à proximité d'une flamme nue, d'une source d'étincelles ou d'une veilleuse, telle celle d'un chauffe-eau ou d'autres appareils.
Maintenez toutes les pièces de la machine en bon état de marche et toutes les fixations bien serrées.
Remplacez tous les autocollants usés ou endommagés.
Si vous devez tracter ou pousser la machine, ouvrez les vannes de dérivation pour dériver le liquide hydraulique.
Important: Ne déplacez pas la machine avant d'avoir ouvert les vannes de dérivation sur les pompes hydrauliques, au risque d'endommager les composants du moteur.Ne faites pas rouler la machine à plus de 4,8 km/h (3 mi/h); ne déplacez la machine que sur une courte distance. Si vous devez déplacer la machine plus loin, transportez-la sur une remorque. Si vous dépassez les limites de remorquage les pompes hydrauliques risquent de subir de graves dommages.
Les roues peuvent tourner librement quand les vannes de dérivation sont ouvertes. La machine peut se retourner de manière incontrôlée et provoquer des blessures.
Si vous devez remorquer la machine, faites-le à petite vitesse et assurez-vous qu'elle ne vient pas heurter le véhicule de remorquage.
Levez l'accessoire ventral et l'accessoire arrière en option.
Coupez le moteur, enlevez la clé, serrez le frein de stationnement et calez les roues.
Attendez l'arrêt complet de toutes les pièces mobiles et laissez refroidir les composants de la machine.
Retirez l'accessoire arrière en option s'il est monté.
Accédez aux vannes de dérivation sous l'arrière de la machine.
Avec une clé de 5/8 pouce, ouvrez la vanne de dérivation au bas de la pompe hydraulique en la tournant approximativement de 2 tours complets, comme montré sous .
Répétez l'opération 6 pour ouvrir la vanne de dérivation au bas de l'autre pompe hydraulique.
Note: Les roues peuvent maintenant tourner librement.
Important: Ne tournez pas les vannes de dérivation de plus de 2 tours; cela évite aux vannes de se détacher de la pompe et au liquide hydraulique de se déverser.


Retirez les cales des roues, desserrez le frein de stationnement et conduisez la machine à l'endroit voulu.
Après avoir déplacé la machine et avant de démarrer le moteur, fermez et serrez les vannes de dérivation pour utiliser la machine :
Important: Ne démarrez pas le moteur et ne le faites pas tourner quand les vannes de dérivation sont à la position ouverte.
Coupez le moteur, enlevez la clé, serrez le frein de stationnement et calez les roues.
Attendez l'arrêt complet de toutes les pièces mobiles et laissez refroidir les composants de la machine.
Fermez, mais ne serrez pas, la vanne de dérivation en la tournant approximativement de 2 tours complets jusqu'à ce qu'elle ne tourne plus.
Serrez la vanne de dérivation à un couple de 12,4 à 14,7 N·m (110 à 130 po-lb).
Répétez l'opération 4 pour fermer la vanne de dérivation au bas de l'autre pompe hydraulique.
Transportez la machine sur une remorque de poids-lourd ou un camion. Utilisez une rampe d'une seule pièce. Le camion ou la remorque doit être équipé(e) des freins, des éclairages et de la signalisation exigés par la loi. Lisez attentivement toutes les consignes de sécurité. Tenez-en compte pour éviter de vous blesser ou de blesser des personnes à proximité. Reportez-vous aux ordonnances locales concernant les exigences d'arrimage et de remorquage.
Il est dangereux de conduire sur la voie publique sans clignotants, éclairages, réflecteurs ou panneau « véhicule lent ». Vous risquez de provoquer un accident et de vous blesser.
Ne conduisez pas la machine sur la voie publique.
Le chargement de la machine sur une remorque ou un camion augmente le risque de basculement et donc de blessures graves ou mortelles (Figure 59).
Utilisez uniquement une rampe pleine largeur; n'utilisez pas de rampes séparées de chaque côté de la machine.
La rampe doit être au moins 4 fois plus longue que la hauteur de la remorque ou du plateau du camion par rapport au sol.

Le chargement de la machine sur une remorque ou un camion augmente le risque de basculement et donc de blessures graves ou mortelles.
Procédez avec la plus grande prudence lorsque vous manœuvrez la machine sur une rampe.
Montez la rampe en marche arrière et descendez-la en marche avant en poussant la machine à la main.
Évitez d'accélérer ou de décélérer brutalement lorsque vous conduisez la machine sur une rampe car vous pourriez en perdre le contrôle ou la faire basculer.
Si vous utilisez une remorque, attelez-la au véhicule de remorquage et attachez les chaînes de sécurité.
Le cas échéant, raccordez les freins et connectez l'éclairage de la remorque.
Abaissez la rampe (Figure 59).
Le cas échéant, levez complètement l'accessoire ventral et l'accessoire arrière en option.
Montez la rampe en marche arrière (Figure 60).

Baissez complètement l'accessoire ventral et l'accessoire arrière en option.
Coupez le moteur, enlevez la clé et serrez le frein de stationnement.
Arrimez la machine au niveau du cadre avant et des plaques d'attache sur le cadre de l'accessoire arrière (Figure 61) à l'aide de sangles, chaînes, câbles ou cordes.
Note: Voir la réglementation locale concernant les exigences en matière d'arrimage.

Note: Vous pouvez télécharger un exemplaire gratuit du schéma hydraulique ou électrique en vous rendant sur www.Toro.com et en cherchant votre machine sous le lien Manuels sur la page d'accueil.
Avant de régler, nettoyer, réparer ou quitter la machine, effectuez la procédure suivante :
Garez la machine sur une surface plane et horizontale.
Placez la commande d'accélérateur en position de ralenti.
Abaissez l'accessoire
Vérifiez que la commande de déplacement est au point mort.
Serrez le frein de stationnement.
Coupez le moteur et enlevez la clé.
Attendez l'arrêt complet de toutes les pièces mobiles.
Laissez refroidir les composants de la machine avant d'effectuer un entretien.
Si possible, n'effectuez aucun entretien quand le moteur est en marche. Ne vous approchez pas des pièces mobiles.
Utilisez des chandelles pour soutenir la machine ou les composants au besoin.
Libérez la pression emmagasinée dans les composants avec précaution.
| Périodicité d'entretien | Procédure d'entretien |
|---|---|
| Après les 50 premières heures de fonctionnement |
|
| À chaque utilisation ou une fois par jour |
|
| Après chaque utilisation |
|
| Toutes les 50 heures |
|
| Toutes les 100 heures |
|
| Toutes les 200 heures |
|
| Toutes les 250 heures |
|
| Toutes les 300 heures |
|
| Toutes les 500 heures |
|
| Toutes les 1000 heures |
|
| Chaque mois |
|
Important: Reportez-vous au manuel du propriétaire du moteur pour toutes procédures d'entretien supplémentaires.
Copiez cette page pour pouvoir vous en servir régulièrement.
| Entretiens à effectuer | Pour la semaine du : | ||||||
|---|---|---|---|---|---|---|---|
| Lun. | Mar. | Mer. | Jeu. | Ven. | Sam. | Dim. | |
| Contrôlez le fonctionnement du système de sécurité. | |||||||
| Contrôlez le fonctionnement de la direction. | |||||||
| Contrôlez le niveau de carburant. | |||||||
| Contrôlez le niveau d'huile moteur. | |||||||
| Contrôlez l'état du filtre à air. | |||||||
| Nettoyez les ailettes de refroidissement sur le moteur. | |||||||
| Vérifiez les bruits anormaux en provenance du moteur. | |||||||
| Vérifiez les bruits de fonctionnement anormaux. | |||||||
| Contrôlez le niveau de liquide hydraulique. | |||||||
| Vérifiez l'état des flexibles hydrauliques. | |||||||
| Recherchez les fuites éventuelles. | |||||||
| Contrôlez la pression des pneus. | |||||||
| Vérifiez le fonctionnement des instruments. | |||||||
| Retouchez les peintures endommagées. | |||||||
| Notes concernant les problèmes constatés | ||
| Contrôle effectué par : | ||
| Contrôle | Date | Information |
Important: Les côtés gauche et droit de la machine sont déterminés d'après la position d'utilisation normale.
Si vous laissez la clé dans le commutateur d'allumage, quelqu'un pourrait mettre le moteur en marche accidentellement et vous blesser gravement, ainsi que toute personne à proximité.
Avant tout entretien, retirez la clé de contact.

Garez la machine sur une surface plane et horizontale.
Vérifiez que la commande de déplacement est au point mort.
Serrez le frein de stationnement.
Placez la commande d'accélérateur à la position BAS RéGIME.
Le cas échéant, baissez l'accessoire ventral et l'accessoire arrière en option.
Coupez le moteur et enlevez la clé.
Attendez l'arrêt complet de toutes les pièces mobiles.
Laissez refroidir le moteur.
Desserrez les 2 boutons qui retiennent le coussin de l'utilisateur sur la tour de commande (Figure 67).
Important: Les boutons sont conçus pour rester sur la machine; desserrez chacun d'eux de quelques tours seulement afin d'éviter de les arracher accidentellement des dispositifs de retenue.

Abaissez le coussin de l'utilisateur (Figure 67).
Les crics mécaniques ou hydrauliques peuvent céder sous le poids de la machine et causer des blessures graves.
Utilisez des chandelles pour soutenir la machine.
Levez l'accessoire ventral et l'accessoire arrière en option.
Avant de quitter la machine, garez-la sur une surface plane et horizontale, serrez le frein de stationnement, coupez le moteur, enlevez la clé et attendez l'arrêt de tout mouvement.
Retirez l'accessoire arrière en option s'il est monté.
Soulevez la machine en utilisant les points de levage spécifiquement prévus, comme suit :
Avant – centre de l'essieu de la roue pivotante avant, comme montré à la Figure 69.
L'essieu avant peut pivoter; veillez à bien centrer le cric sur la machine pour l'empêcher de se déplacer pendant le levage; utilisez toujours 2 chandelles pour soutenir la machine une fois qu'elle est levée.

Côtés gauche et droit – sous le tube arrière du cadre, derrière les moteurs de roues (Figure 70).

| Périodicité d'entretien | Procédure d'entretien |
|---|---|
| Toutes les 50 heures |
|
Spécifications de la graisse : graisse au lithium nº 2.
Préparation de la machine pour l'entretien; voir Préparation à l'entretien.
Nettoyez les graisseurs avec un chiffon.
Injectez de la graisse dans les graisseurs.
Essuyez tout excès de graisse.
Note: La durée de vie des roulements peut être réduite par de mauvaises procédures de lavage. Ne lavez pas la machine quand elle est encore chaude et évitez de diriger un jet d'eau puissant ou une grande quantité d'eau directement sur les roulements ou les joints.





Coupez le moteur avant de contrôler le niveau d'huile ou d'ajouter de l'huile dans le carter.
Ne modifiez pas le réglage du régulateur et ne faites pas tourner le moteur à un régime excessif.
Utilisez une huile moteur de qualité répondant aux spécifications suivantes :
Classification API : SJ ou mieux.
Viscosité de l'huile : SAE 30 – au-dessus de 4 °C (40 °F)
| Périodicité d'entretien | Procédure d'entretien |
|---|---|
| À chaque utilisation ou une fois par jour |
|
Note: À la livraison, le carter moteur contient de l'huile; vérifiez toutefois le niveau d'huile avant et après le premier démarrage du moteur.
Préparation de la machine pour l'entretien; voir Préparation à l'entretien.
Déposez le capot; voir Dépose du capot.
Nettoyez la surface autour de la jauge et de son tube.
Retirez la jauge (Figure 75) et essuyez-la sur un chiffon propre.

Remettez la jauge dans le tube (Figure 75) en l'enfonçant complètement.
Ressortez la jauge du tube et vérifiez le niveau d'huile.
Important: Le niveau d'huile doit toujours rester entre les repères maximum et minimum sur la jauge. Vous risquez d'endommager le moteur si vous le faites tourner alors que le niveau d'huile est excessif ou insuffisant.
Si le niveau d'huile est en dessous du repère du MINIMUM sur la jauge, faites l'appoint comme suit :
Nettoyez le bouchon de remplissage et le couvre-culasse (Figure 71).

Retirez le bouchon de remplissage.
Faites l'appoint d'huile avec précaution pour faire monter le niveau jusqu'au repère maximum (F) sur la jauge.
Remettez en place le bouchon de remplissage et essuyez l'huile éventuellement répandue.
Insérez la jauge au fond du tube.
Important: Vous devez bien enfoncer la jauge dans le tube pour fermer hermétiquement le carter moteur. Si le carter n'est pas parfaitement étanche, le moteur risque d'être endommagé.
Reposez le capot; voir Pose du capot.
| Périodicité d'entretien | Procédure d'entretien |
|---|---|
| Après les 50 premières heures de fonctionnement |
|
| Toutes les 100 heures |
|
Outils requis : flexible de vidange de 13 mm (½ po)
Démarrez le moteur et laissez-le tourner pendant 5 minutes.
Note: L'huile chaude se vide plus facilement.
Préparation de la machine pour l'entretien; voir Préparation à l'entretien.
Déposez le capot; voir Dépose du capot.
Retirez le capuchon de la vanne de vidange d'huile, branchez le flexible de 13 mm (½ po) sur le raccord cannelé de la vanne, et placez l'autre extrémité du flexible dans un bac de vidange (Figure 77).
Note: Sur certaines machines, la vanne de vidange d’huile peut se trouver du côté opposé.

Ouvrez la vanne de vidange en la tournant légèrement dans le sens antihoraire et en la tirant vers l'extérieur (Figure 77).
Une fois la vidange d'huile terminée, repoussez la vanne de vidange, tournez-la dans le sens horaire jusqu'à ce qu'elle se verrouille, puis débranchez le flexible.
Tournez le filtre dans le sens antihoraire pour le retirer (Figure 78).


Essuyez l'adaptateur du filtre avec un chiffon propre.
Remplissez le filtre à huile neuf avec l'huile spécifiée; voir Spécifications de l’huile moteur.
Attendez 1 à 2 minutes que l'huile soit absorbée par l'élément filtrant, puis videz l'excédent.
Appliquez une fine couche d'huile sur le joint du filtre (Figure 78).
Vissez le filtre à huile sur l'adaptateur jusqu'à ce que le joint en caoutchouc touche l'adaptateur, puis serrez encore le filtre d'un demi tour (Figure 78).
Quantité d'huile : 2 litres (2,1 ptes américaines) avec filtre
Retirez le bouchon de remplissage du couvre-culasse (Figure 73) et versez lentement environ 80 % de la quantité d'huile spécifiée : 2 litres (2,1 ptes américaines) dans le goulot de remplissage du couvre-culasse.

Contrôlez le niveau d'huile.
Faites l'appoint d'huile avec précaution pour faire monter le niveau jusqu'au repère maximum (F) sur la jauge (Figure 67).

Remettez le bouchon de remplissage en place.
Insérez la jauge au fond du tube.
Important: Vous devez bien enfoncer la jauge dans le tube pour fermer hermétiquement le carter moteur. Si le carter n'est pas parfaitement étanche, le moteur risque d'être endommagé.
Reposez le capot; voir Pose du capot
| Périodicité d'entretien | Procédure d'entretien |
|---|---|
| Toutes les 250 heures |
|
Préparation de la machine pour l'entretien; voir Préparation à l'entretien.
Baissez le coussin de l'utilisateur; voir Abaisser le coussin de l'utilisateur.
Desserrez les attaches qui fixent le couvercle sur le boîtier du filtre à air (Figure 65).

Déposez le couvercle du boîtier du filtre à air.
Retirez l'orifice d'éjection d'impuretés du couvercle, nettoyez la cavité de l'orifice et le couvercle, et remettez l'orifice d'éjection sur le couvercle (Figure 65).
Avant de retirer l'élément filtrant, utilisez de l'air comprimé à basse pression (2,76 bar, 40 psi) propre et sec pour éliminer toute accumulation de débris importante entre l'extérieur de l'élément et le boîtier du filtre.
Important: N'utilisez pas d'air sous haute pression car il pourrait forcer des impuretés à travers le filtre et dans le conduit d'admission. Cette procédure de nettoyage évite de déplacer des débris dans l'admission lors de la dépose du préfiltre.
Retirez l’élément filtrant.
Important: N’essayez pas de nettoyer un élément filtrant usagé au risque d'endommager le matériau du filtre.
Vérifiez que le filtre de rechange n'a pas été endommagé pendant le transport, et vérifiez l'extrémité d'étanchéité du filtre et du boîtier.
Important: N'utilisez pas les éléments filtrants s'ils sont endommagés.
Insérez le l'élément filtrant de rechange en appuyant sur son bord extérieur pour l'engager dans la cartouche.
Important: N'appuyez pas sur la partie centrale flexible du filtre.
Placez le couvercle sur le boîtier du filtre à air et fixez-le en place avec les attaches.
Levez le coussin de l'utilisateur; voir Lever le coussin de l'utilisateur.
| Périodicité d'entretien | Procédure d'entretien |
|---|---|
| Toutes les 200 heures |
|
| Toutes les 500 heures |
|
Préparation de la machine pour l'entretien; voir Préparation à l'entretien.
Déposez le capot; voir Dépose du capot.
Nettoyez la surface autour de la base de la ou des bougies pour empêcher la poussière et les débris de pénétrer dans le moteur.
Débranchez le fil des 2 bougies comme montré à la Figure 82.
Note: Utilisez une clé à bougie pour déposer les bougies.

Déposez les bougies
Contrôlez la bougie – si l'isolateur est recouvert d'un léger dépôt gris ou brun, le moteur fonctionne correctement.
Note: Si l'isolateur est recouvert d'un dépôt noir, cela peut signifier que le filtre à air est encrassé.
Important: Ne nettoyez pas la ou les bougies. Remplacez toujours les bougies si elles sont recouvertes d'un dépôt noir ou d'une couche grasse, si elles sont fissurées ou si les électrodes sont usées.
Réglez l'écartement (Figure 83) entre électrodes centrale et latérale à 0,76 mm (0,030 po).

Répétez les opérations 1 et 2 pour l'autre bougie.
Installez et serrez les 2 bougies (Figure 78).
Note: À l'aide d'une douille pour bougies et d'une clé dynamométrique, serrez les bougies.
Rebranchez le fils sur les bougies.
Reposez le capot; voir Pose du capot

Dans certaines circonstances, le carburant est extrêmement inflammable et hautement explosif. Un incendie ou une explosion causé(e) par du carburant peut vous brûler, ainsi que toute personne à proximité, et causer des dommages matériels.
Vidangez les réservoirs de carburant lorsque le moteur est froid. Travaillez à l'extérieur, dans un endroit dégagé. Essuyez tout carburant répandu.
Ne fumez jamais pendant la vidange du carburant, et tenez-vous à l'écart des flammes nues ou des sources d'étincelles qui pourraient enflammer les vapeurs de carburant.
| Périodicité d'entretien | Procédure d'entretien |
|---|---|
| Toutes les 200 heures |
|
Garez la machine sur une surface plane et horizontale, serrez le frein de stationnement et placez la commande d'accélérateur la position BAS RéGIME.
Le cas échéant, baissez l'accessoire ventral et l'accessoire arrière en option.
Coupez le moteur et enlevez la clé.
Attendez l'arrêt complet de toutes les pièces mobiles et laissez refroidir les composants de la machine.
Tournez le robinet d'arrivée de carburant en position fermée.
Dévissez le bouchon du réservoir de carburant pour évacuer la pression.
Note: Pour éviter de renverser du carburant, vous pouvez vidanger le réservoir avant de remplacer le filtre; voir Vidange des réservoirs de carburant.
Déposez le capot; voir Dépose du capot.
Raccordez les conduites d'alimentation de chaque côté du filtre avec des colliers (Figure 85).

Pincez les extrémités des colliers et éloignez les colliers du filtre (Figure 85).
Placez un bac de vidange sous les conduites d'alimentation pour recueillir le carburant qui s'écoule, puis enlevez le filtre des conduites.
Engagez les conduites d'alimentation sur les nouveaux raccords, en prenant soin de diriger la flèche du filtre à l'opposé de la conduite arrivant du réservoir de carburant et vers la conduite raccordée à la pompe de carburant.
Important: Ne montez jamais un filtre encrassé.
Rapprochez les colliers du filtre.
Enlevez le collier qui bloque l'écoulement du carburant et ouvrez les robinets d'arrivée de carburant.
Vissez solidement le bouchon du réservoir de carburant et reposez le capot; voir Pose du capot.
Garez la machine sur une surface plane et horizontale, serrez le frein de stationnement et placez la commande d'accélérateur la position BAS RéGIME.
Le cas échéant, baissez l'accessoire ventral et l'accessoire arrière en option.
Coupez le moteur et enlevez la clé.
Attendez l'arrêt complet de toutes les pièces mobiles et laissez refroidir les composants de la machine.
À l'aide d'un siphon à pompe, siphonnez le carburant qui se trouve dans le réservoir.
Préparation de la machine pour l'entretien; voir Préparation à l'entretien.
Baissez le coussin de l'utilisateur; voir Abaisser le coussin de l'utilisateur
Retirez le fusible ouvert du porte-fusibles (Figure 80).

Insérez un fusible neuf de même intensité dans l'emplacement libre du porte-fusibles.
Levez et fixez le coussin de l'utilisateur; voir Lever le coussin de l'utilisateur.
| Périodicité d'entretien | Procédure d'entretien |
|---|---|
| Toutes les 50 heures |
|
Si les pneus ne sont pas gonflés à la pression correcte, les performances de l'accessoire ventral peuvent être inégales.
Note: Contrôlez la pression des pneus à froid pour obtenir des résultats précis.
Mesurez la pression des pneus avant d'utiliser la machine.
Note: La pression de gonflage spécifiée des pneus avant et arrière 1,72 bar (25 psi).
Au besoin, corrigez la pression des pneus pour l'amener à la pression spécifiée.

| Périodicité d'entretien | Procédure d'entretien |
|---|---|
| Chaque mois |
|
Couple de serrage des écrous de roues : 129 N·m (95 pi-lb)
Serrez les écrous des roues arrière au couple spécifié dans l'ordre indiqué à la Figure 88.

Note: Cette opération est seulement nécessaire après la dépose et le remplacement des roues pivotantes avant.
Serrez le contre-écrou jusqu'à ce que la roue ne tourne plus librement, puis desserrez lentement le contre-écrou jusqu'à ce que la roue puisse tourner librement; répétez cette opération pour l'autre roue pivotante.

| Périodicité d'entretien | Procédure d'entretien |
|---|---|
| Toutes les 1000 heures |
|
Préparation de la machine pour l'entretien; voir Préparation à l'entretien.
En bas à l'avant du moteur, insérez une clé à douille ou une poignée articulée dans le bras de la poulie de tension, et déplacez le support vers le haut pour détendre la courroie (Figure 90).

Déchaussez la courroie des poulies (Figure 91).

Acheminez la courroie neuve autour des poulies, comme montré à la Figure 92.

Retirez la clé à douille ou la poignée articulée du bras de tension de la poulie de tension.
Consultez immédiatement un médecin si du liquide est injecté sous la peau. Toute injection de liquide hydraulique sous la peau doit être éliminée dans les quelques heures qui suivent par une intervention chirurgicale réalisée par un médecin.
Vérifiez l'état de tous les flexibles et conduits hydrauliques, ainsi que le serrage de tous les raccords et branchements avant de mettre le système hydraulique sous pression.
N'approchez pas les mains ni aucune autre partie du corps des fuites en trou d'épingle ou des gicleurs d'où sort du liquide hydraulique sous haute pression.
Utilisez un morceau de papier ou de carton pour détecter les fuites.
Dépressurisez avec précaution le système hydraulique avant toute intervention sur le système.
| Périodicité d'entretien | Procédure d'entretien |
|---|---|
| À chaque utilisation ou une fois par jour |
|
Vérifiez chaque jour que les conduits et flexibles hydrauliques ne présentent pas de fuites, ne sont pas pliés, usés, détériorés par les conditions atmosphériques ou des produits chimiques, et que les supports de montage et les raccords ne sont pas desserrés. Effectuez les réparations nécessaires avant d'utiliser la machine.
Liquide recommandé : Liquide « Toro Premium Transmission/Hydraulic Tractor Fluid » (liquide hydraulique/de transmission de haute qualité pour tracteur) (en bidons de 19 litres [5 gallons] ou barils de 208 litres [55 gallons]. Voir le Catalogue de pièces ou un distributeur Toro agréé pour les numéros de référence.)
Autres liquides : s'il est impossible de se procurer le liquide Toro, il est possible d'utiliser le liquide hydraulique Mobil® 424.
Note: Toro décline toute responsabilité en cas de dommage causé par l'utilisation de produits de remplacement inadéquats.
Note: De nombreux liquides hydrauliques sont presque incolores, ce qui rend difficile la détection des fuites. Un additif colorant rouge pour système hydraulique est disponible en bouteilles de 20 ml (⅔ oz liq). Une bouteille suffit pour 15 à 22 litres (4 à 6 gallons) de liquide hydraulique. Vous pouvez commander ces bouteilles chez les distributeurs Toro agréés (réf. 44-2500).
| Périodicité d'entretien | Procédure d'entretien |
|---|---|
| À chaque utilisation ou une fois par jour |
|
Levez complètement les accessoires hydrauliques en position de transport.
Préparation de la machine pour l'entretien; voir Préparation à l'entretien.
Déposez le capot; voir Dépose du capot.
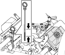
Nettoyez la surface autour de la jauge et du bouchon du réservoir de liquide hydraulique (Figure 93).

Retirez la jauge avec le bouchon du réservoir, et essuyez-la sur un chiffon propre.
Insérez la jauge dans le réservoir (Figure 93).
Retirez la jauge avec le bouchon (Figure 93), et contrôlez le niveau de liquide.
Note: Le niveau de liquide doit se situer entre le repère MINIUM et le repère MAXIMUM sur la jauge.
Si le niveau de liquide est trop bas, ajoutez le liquide hydraulique spécifié dans le réservoir pour atteindre le repère MAXIMUM sur la jauge.
Remettez en place la jauge avec le bouchon (Figure 93) dans le réservoir.
Reposez le capot; voir Pose du capot.
| Périodicité d'entretien | Procédure d'entretien |
|---|---|
| Toutes les 300 heures |
|
Préparation de la machine pour l'entretien; voir Préparation à l'entretien.
Baissez le coussin de l'utilisateur; voir Abaisser le coussin de l'utilisateur
Placez le bac de vidange sous le filtre à huile hydraulique.
Déposez le filtre de la tête du filtre (Figure 94).

Nettoyez la bride de montage de la tête du filtre.
Appliquez une fine couche du liquide hydraulique spécifié sur le joint du filtre neuf; voir Spécifications du liquide hydraulique.
Remplissez le filtre avec le liquide hydraulique spécifié.
Vissez le filtre sur la tête jusqu'à ce que le joint touche la bride de montage, puis serrez encore le filtre d'un demi tour.
Démarrez le moteur, vérifiez s'il y a des fuites autour du filtre et de la tête du filtre, coupez le moteur et enlevez la clé.
Note: Réparez les fuites éventuelles de liquide hydraulique.
Levez et fixez le coussin de l'utilisateur; voir Lever le coussin de l'utilisateur.
| Périodicité d'entretien | Procédure d'entretien |
|---|---|
| Toutes les 300 heures |
|
Capacité du réservoir hydraulique : 28,4 litres (7,5 gallons américains)
Préparation de la machine pour l'entretien; voir Préparation à l'entretien.
Déposez le capot; voir Dépose du capot.
Placez un bac de vidange de 30 litres (8 gallons américains) ou plus sous le coin avant du réservoir de liquide hydraulique (Figure 95).

Retirez le bouchon de vidange du réservoir et vidangez tout le liquide hydraulique.
Vérifiez si des fragments d'acier sont présents autour du bouchon de vidange.
Note: Contactez votre distributeur Toro agréé si l'extrémité du bouchon est couverte des fragments d'acier.
Contrôlez l'usure et l'état du joint torique du bouchon de vidange.
Important: Remplacez les joints toriques usés ou endommagés.
Essuyez le bouchon de vidange et remettez-le sur le réservoir.
Ajoutez 28,4 litres (7,5 gallons américains) du liquide hydraulique spécifié dans le réservoir de liquide hydraulique.
Vérifiez l'étanchéité du bouchon de vidange.
Important: Réparez les fuites éventuelles de liquide hydraulique.
Reposez le capot; voir Pose du capot.
| Périodicité d'entretien | Procédure d'entretien |
|---|---|
| Après chaque utilisation |
|
Important: Ne nettoyez pas la machine avec de l'eau saumâtre ou recyclée.
Important: N'utilisez pas de nettoyeur haute pression pour laver la machine.
Garez-la sur une surface plane et horizontale, relevez complètement et verrouillez le timon, serrez le frein de stationnement, coupez le moteur, retirez la clé et attendez l'arrêt complet de toutes les pièces mobiles.
Lavez soigneusement la machine.
Utilisez un tuyau d'arrosage sans buse pour éviter d'introduire de l'eau dans les joints et de contaminer la graisse des roulements.
Utilisez une brosse pour enlever la terre agglomérée sur la machine.
Nettoyez les capots et protections avec un détergent doux.
Après le nettoyage, appliquez périodiquement une couche de cire automobile pour entretenir le brillant du capot.
Vérifiez si la machine est endommagée, présente des fuites d'huile ou des composants usés.