Les lames sont tranchantes et vous pouvez vous blesser gravement à leur contact.
Portez des gants pour effectuer l'entretien des lames.
![]() |
Des autocollants de sécurité et des instructions bien visibles par l'opérateur sont placés près de tous les endroits potentiellement dangereux. Remplacez tout autocollant endommagé ou manquant. |

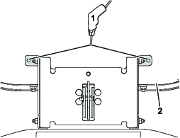
Coupez toujours le moteur, attendez l'arrêt complet de toutes les pièces en mouvement et laissez refroidir la machine.
Débranchez le fil de la bougie.
Levez l’avant de la machine à l’aide d’un appareil de levage approprié ou de chandelles.
Note: Si vous utilisez des chandelles, utilisez le rebord avant du tablier pour maintenir la machine levée. Placez des cales derrière les roues arrière pour empêcher la machine de bouger.
Retirez les écrous qui fixent les roues avant. Retirez les roues des boulons et conservez les roues.

Déposez le déflecteur et les bras du moteur.
Déposez le déflecteur du moteur. Conservez-le ainsi que les fixations pour le remontage.

Retirez les boulons de carrosserie qui fixent les bras du déflecteur aux support de hauteur de coupe et au pare-chocs. Déposez et mettez au rebut les bras du déflecteur du moteur.
Conservez les fixations des supports de hauteur de coupe pour le remontage.

Retirez les fixations qui retiennent le pare-chocs avant sur le tablier.
Conservez les fixations pour le remontage.

Déposez le pare-chocs avant.

Retirez les 4 boulons à embase qui fixent le protège-courroie. Dépose du protège-courroie et conservez les boulons pour le remontage.
Note: Si la machine est équipée d’un moteur Kohler®, le boulon est remplacé par une fixation enfichable dans le dernier trou du protège-courroie.


Pièces nécessaires pour cette opération:
| Protège-courroie droit | 1 |
| Protège-courroie gauche | 1 |
Fixez le protège-courroie droit sur le tablier à l’aide des boulons ou des fixations retirés précédemment.

Insérez les languettes du protège-courroie gauche dans le protège-courroie droit. Fixez le protège-courroie gauche à l’aide des fixations restantes.
Note: Veillez à bien insérer les languettes dans le protège-courroie, et non pas par dessus.
Pièces nécessaires pour cette opération:
| Roue pivotante avant | 1 |
| Boulon à tête hexagonale (⅜ x 3¾ po) | 2 |
| Rondelle | 2 |
| Douille d’écartement | 2 |
| Contre-écrou (⅜ po) | 2 |
| Ressort | 2 |
Reposez les roues sur les fourches pivotantes à l’aide de 2 boulons à tête hexagonale (⅜ x 3¾ po), 2 rondelles et douilles d’écartement, et 2 contre-écrous (⅜ po). Serrez les contre-écrous à un couple de 37 à 44 N·m (27 à 33 pi-lb).

Note: Si le boulon ne passe pas dans les trous de la fourche pivotante, fléchissez légèrement la roue afin d’aligner le boulon et les trous, puis poussez le boulon dans le trou.
Pièces nécessaires pour cette opération:
| Plaque de hauteur de coupe | 1 |
| Boulon à tête hexagonale (5/16 x ⅞ po) | 2 |
| Contre-écrou (5/16 po) | 2 |
Des débris peuvent être projetés dans les yeux et causer des blessures si vous utilisez une perceuse sans protection oculaire adaptée.
Portez toujours une protection oculaire pour les opérations de perçage.
Percez 2 trous (8 mm ou 5/16 po) dans l’avant du tablier, comme montré à la Figure 10.

Fixez la plaque de hauteur de coupe dans les trous du tablier à l’aide de 2 boulons à tête hexagonale (5/16 x ⅞ po) et 2 contre-écrous (5/16 po). Serrez les contre-écrous à un couple de 20 à 25 N·m (175 à 225 po-lb).

Pièces nécessaires pour cette opération:
| Boulon à tête hexagonale (5/16 x ⅞ po) | 2 |
| Contre-écrou (5/16 po) | 6 |
| Support du déflecteur du moteur (gauche) | 1 |
| Support du déflecteur du moteur (droit) | 1 |
| Bras du déflecteur du moteur (gauche) | 1 |
| Bras du déflecteur du moteur (droit) | 1 |
| Boulon de carrosserie (5/16 x ¾ po) | 4 |
Fixez la roue pivotante avant assemblée de Assemblage de la roue pivotante avant à l’avant du tablier à l’aide des boulons de carrosserie (5/16 x ¾ po) et des contre-écrous (5/16 po) retirés précédemment )à l’opération 2 de Dépose du pare-chocs.

En utilisant les languettes du support de roue pivotante comme gabarit, percez 2 trous (8 mm ou 5/16 po) en haut du tablier, comme montré à la Figure 13.

Insérez 2 boulons à tête hexagonale (5/16 x ⅞ po) dans le haut du tablier et fixez-les avec 2 contre-écrous (5/16 po). Serrez les contre-écrous à un couple de 20 à 25 N·m (175 à 225 po-lb).

Fixez les 2 supports du déflecteur du moteur dans la série de trous à l’avant de la tondeuse à l’aide des 4 boulons de carrosserie et des 4 contre-écrous retirés précédemment à l’opération 2 de Dépose du pare-chocs.

Fixez les 2 bras du déflecteur du moteur sur les supports de hauteur de coupe à l’aide des 2 boulons de carrosserie et des 2 contre-écrous retirés précédemment à l’opération 2 de Dépose du pare-chocs. Serrez les contre-écrous à un couple de 20 à 25 N·m (175 à 225 po-lb).

Avec 4 boulons de carrosserie (5/16 x ¾ po) et contre-écrous (5/16 po), fixez les bras du déflecteur du moteur aux supports du déflecteur du moteur. Serrez les contre-écrous à un couple de 20 à 25 N·m (175 à 225 po-lb).
Fixez le déflecteur du moteur sur les bras du déflecteur à l’aide des 2 boulons à tête hexagonale, des 2 rondelles et des 2 contre-écrous retirés précédemment à l’opération 1 de Dépose du pare-chocs.
Lors du réglage de la hauteur de coupe, vous risquez de vous blesser gravement si vos mains touchent une lame en mouvement.
Coupez le moteur et attendez l'arrêt complet de toutes les pièces mobiles avant de régler la hauteur de coupe.
Ne mettez pas les doigts sous le carter du tablier de coupe quand vous réglez la hauteur de coupe.

La hauteur de coupe est contrôlée par la goupille avant et le levier arrière. La goupille se trouve à l’avant de la machine et le levier sur le côté gauche de la machine. Pour élever ou abaisser la machine, retirez la goupille et engagez le levier, élevez ou baissez la machine, puis bloquez la goupille et désengagez le levier.
Soulevez les goupilles de blocage des roues pivotantes.
Tournez et insérez les goupilles dans les trous sur l’essieu.
Inversez la procédure pour bloquer les roues pivotantes.
Note: Bloquez les roues pivotantes lorsque vous voulez que les roues avant restent droites (lorsque vous tondez à flanc de pente par exemple).
