Penyelenggaraan
Menyokong Unit Pemotongan
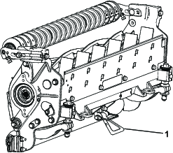
Apabila unit pemotongan perlu dijongketkan untuk mendedahkan bilah dasar/gelendong, angkat bahagian belakang unit pemotongan menggunakan tongkat (dibekalkan bersama unit cengkaman) untuk memastikan nat di hujung belakang skru pelarasan bar dasar tidak diletakkan pada permukaan kerja (Rajah 25).

Melincirkan Unit Pemotongan
Lincirkan 5 pemasangan gris bagi setiap unit pemotongan secara tetap (Rajah 26) dengan gris litium No. 2.
Terdapat 2 titik pelinciran pada penggelek hadapan, 2 pada penggelek belakang dan 1 pada gelugur motor gelendong.
Note: Model 03192 tidak mempunyai penggelek hadapan; hanya terdapat 2 titik pelinciran pada penggelek belakang dan 1 pada gelugur motor gelendong.
Important: Tindakan melincirkan unit pemotongan dengan serta-merta selepas pencucian membantu untuk menyingkirkan air keluar dari bearing dan meningkatkan hayat bearing.
-
Lapkan setiap pemasangan gris menggunakan kain bersih.
-
Sapukan gris sehingga gris bersih mengalir keluar dari pengedap penggelek dan injap lega bearing.
-
Lapkan gris yang berlebihan.

Spesifikasi Gelendong
Pengisaran Lega pada Gelendong
Gelendong baharu mempunyai lebar tanah 1.3~1.5mm (0.050~0.060 inci) dan pengisaran lega 30°.
Apabila lebar tanah melebihi 3mm (0.120 inci), lakukan perkara berikut:
-
Gunakan pengisaran lega 30° pada semua bilah gelendong sehingga lebar tanah mencapai 1.3mm (0.050 inci) (Rajah 27).

-
Kisar gelendong dengan memutar untuk mencapai penyingkiran gelendong <0.025mm (0.001 inci).
Note: Ini menyebabkan lebar tanah bertambah sedikit.
Note: Untuk melanjutkan kekekalan ketajaman mata gelendong dan bilah dasar—selepas mengisar gelendong dan/atau bilah dasar—periksa sentuhan gelendong dengan bilah dasar sekali lagi selepas memotong 2 lintasan kerana mana-mana gerigis akan disingkirkan dan ini mungkin mewujudkan ruang lega dari gelendong ke bilah dasar yang tidak sesuai lalu mempercepat kehausan.
-
Dengan pita pengukur diameter, ukur diameter luaran gelendong pada kedua-dua hujung (Rajah 28); perbezaan diameter luaran di antara hujung seharusnya kurang daripada 0.010 inci (0.250mm). Jika perbezaan adalah besar, kisar untuk membetulkan perbezaan.
Note: Pita pengukur diameter luaran boleh didapatkan daripada pengedar Toro dibenarkan anda.

Memasang Pemasangan Aci Hadapan untuk Pengisaran Gelendong
Important: Anda mestilah memesan bahagian yang berikut agar unit pemotongan boleh dipasangkan pada mesin pengisaran gelendong:
| Kuantiti | Bahagian | No. Bahagian |
| 2 | Pendakap HOC hadapan | 125-2796 |
| 2 | Bolt pembawa (⅜ x 1-½ inci) | 3231-4 |
| 2 | Nat kunci (⅜ inci) | 104-8301 |
| 2 | Bolt kepala heks (5/16 x 1-⅛ inci) | 322-16 |
| 1 | Aci penggelek hadapan | 117-0957 |
-
Tanggalkan pemasangan penggelek kawasan kerja (jika dilengkapi); rujuk Melaraskan Pemasangan Penggelek Kawasan Kerja (Model 03192 sahaja).
-
Dengan bolt pembawa dan nat kunci, pasangkan pendakap HOC hadapan pada lubang atas pada plat sisi (Rajah 29).
Important: Pastikan pendakap HOC dipasangkan dengan bolt pembawa pada bahagian atas slot agar pendakap HOC adalah serendah mungkin.

-
Pasangkan aci pada bahagian bawah pendakap HOC menggunakan 2 bolt kepala heks.
-
Pastikan aci selari dengan unit pemotongan; jika tidak, longgarkan bolt pembawa pada bahagian bawah dan ketatkan semula apabila aci adalah selari.
Menservis Bilah Dasar
Had servis bilah dasar disenaraikan dalam carta berikut.
Important: Pengendalian unit pemotongan menggunakan bilah dasar di bawah had servis mungkin menghasilkan penampilan selepas pemotongan yang tidak memuaskan dan mengurangkan keutuhan struktur bilah dasar untuk impak.
| Carta Had Servis Bilah Dasar (Bilah Dasar Pengeluaran) | ||||
| Bilah Dasar | No. Bahagian | Ketinggian Bibir Bilah Dasar | Had Servis* | Sudut Kisar Atas/Hadapan |
| HOC Rendah | 147-1248 (27 inci) | 5.6mm (0.220 inci) | 4.8mm (0.190 inci) | 10/5° |
| 147-1252 (32 inci) | ||||
| EdgeMax® | 137-6095 (27 inci) | 6.9mm (0.270 inci) | 4.8mm (0.190 inci) | 10/5° |
| Standard | 147-1249 (Model 03189/90, 27 inci) | 6.9mm (0.270 inci) | 4.8mm (0.190 inci) | 10/5° |
| 147-1253 (Model 03191, 32 inci) | ||||
| Tugas Berat | 147-1250 (Model 03192, 27 inci) | 9.3mm (0.370 inci) | 4.8mm (0.190 inci) | 10/5° |
| 147-1254 (32 inci) | ||||

Note: Semua rujukan ukuran had servis bilah dasar adalah berkaitan dengan bahagian bawah bilah dasar (Rajah 31).

Memeriksa Sudut Kisar Atas
Sudut yang anda gunakan untuk mengisar bilah dasar anda adalah sangat penting.
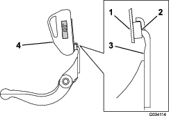
Gunakan penunjuk sudut (No. Bahagian Toro 131-6828) dan lekapan penunjuk sudut (No. Bahagian Toro 131-6829) untuk menyemak sudut yang dihasilkan oleh pengisar anda, betulkan mana-mana pengisar yang tidak tepat.
-
Letakkan penunjuk sudut pada bahagian bawah bilah dasar seperti yang ditunjukkan dalam Rajah 32.

-
Tekan butang Alt Zero pada penunjuk sudut.
-
Letakkan lekapan penunjuk sudut pada mata bilah dasar agar tepi magnet melekat dengan mata bilah dasar (Rajah 33).
Note: Paparan digital seharusnya dapat dilihat dari sisi yang sama pada langkah ini seperti paparan pada langkah 1.

-
Letakkan penunjuk sudut pada lekapan seperti yang ditunjukkan dalam Rajah 33.
Note: Ini ialah sudut yang pengisar anda hasilkan dan seharusnya dalam julat 2 darjah bagi sudut kisar atas yang disyorkan.
Menservis Bar Dasar
Menanggalkan Bar Dasar
-
Putarkan skru pelarasan bar dasar melawan arah jam untuk menjauhkan bilah dasar dari gelendong (Rajah 34).

-
Keluarkan nat ketegangan spring sehingga sesendal tidak lagi ditegangkan pada bar dasar (Rajah 34).
-
Pada setiap sisi mesin, longgarkan nat kunci yang mengunci bolt bar dasar (Rajah 35).

-
Tanggalkan setiap bolt bar dasar untuk membolehkan bar dasar ditarik ke bawah dan ditanggalkan dari unit pemotongan (Rajah 35).
Tentukan tempat untuk 2 sesendal nilon dan 1 sesendal keluli pada setiap hujung bar dasar (Rajah 36).

Memasangkan Bar Dasar
-
Pasangkan bar dasar, letakkan telinga lekapan di antara sesendal dengan skru pelarasan bar dasar.
Important: Letakkan pelaras DPA di bahagian tengah di dalam telinga bar dasar seperti yang ditunjukkan dalam Rajah 37.Jika pelaras DPA dipasangkan pada telinga bar dasar, ini mungkin menjejaskan sentuhan bilah dasar dengan gelendong.

-
Kuncikan bar dasar pada setiap plat sisi menggunakan bolt bar dasar (nat pada bolt) dan 3 sesendal (jumlah 6).
-
Letakkan sesendal nilon pada setiap sisi tombol plat sisi. Letakkan sesendal keluli di bahagian luar setiap sesendal nilon (Rajah 36).
-
Tork bolt bar dasar kepada 37~45N∙m (27~320 kaki-lb).
-
Ketatkan nat kunci bar dasar dengan perlahan sehingga sesendal keluli luar hanya putarkan dengan tangan.
Important: Jangan kunci nat kunci terlampau ketat kerana ini akan memesongkan plat sisi.
Note: Sesendal nilon di antara bar dasar dengan plat sisi akan mempunyai ruang yang kecil.
-
Ketatkan nat ketegangan spring sehingga spring dilipat, kemudian undur balik sebanyak ½ putaran (Rajah 38).

Spesifikasi Bilah Dasar
Memasangkan Bilah Dasar
-
Singkirkan karat, kerak dan kakisan dari permukaan bar dasar dan sapukan satu lapisan minyak yang tipis pada permukaan bar dasar.
-
Bersihkan ulir skru.
-
Sapukan sebatian tidak henti pada skru dan pasangkan bilah dasar pada bar dasar.

-
Tork 2 skru luar kepada 1N∙m (10 inci-lb); rujuk Rajah 40.
-
Dengan mengendalikan dari bahagian tengah bilah dasar, tork skru kepada 23~28N∙m (200~250 inci-lb); rujuk Rajah 40.

-
Kisar bilah dasar.
Menservis Pelaras Dua Titik (DPA) HD
-
Tanggalkan semua bahagian (rujuk Arahan Pemasangan Kit DPA HD dan Rajah 41).
-
Sapukan sebatian tidak henti di bahagian dalam pada sesendal pada rangka tengah unit pemotongan (Rajah 41).
-
Jajarkan kekunci pada sesendal bebibir kepada slot di dalam rangka dan pasangkan sesendal (Rajah 41).
-
Pasangkan sesendal alun pada aci pelaras dan masukkan aci pelaras ke dalam sesendal bebibir di dalam rangka unit pemotongan (Rajah 41).
-
Kuncikan aci pelaras menggunakan sesendal rata dan nat kunci (Rajah 41).
-
Tork nat kunci kepada 20~27N∙m (15~20 kaki-lb).
Note: Aci pelaras bar dasar mengandungi ulir tangan kiri.

-
Sapukan sebatian tidak henti pada ulir skru pelaras bar dasar yang dimuatkan ke dalam aci pelaras.
-
Masukkan skru pelaras bar dasar ke dalam aci pelaras.
-
Pasangkan sesendal terkeras, spring dan nat ketegangan spring secara longgar pada skru pelaras.
-
Pasangkan bar dasar, letakkan telinga lekapan di antara sesendal dengan pelaras bar dasar.
-
Kuncikan bar dasar pada setiap plat sisi menggunakan bolt bar dasar (nat pada bolt) dan 6 sesendal.
Note: Letakkan sesendal nilon pada setiap sisi tombol plat sisi.
-
Letakkan sesendal keluli di bahagian luar setiap sesendal nilon (Rajah 41).
-
Tork bolt bar dasar kepada 37~45N∙m (27~320 kaki-lb).
-
Ketatkan nat kunci sehingga sesendal keluli luar henti berputar dan tiada kelonggaran pada hujung tetapi pastikan tidak terlampau ketat atau memesongkan plat sisi.
Note: Mungkin ada ruang pada sesendal di bahagian dalam (Rajah 41).
-
Ketatkan nat pada setiap pemasangan pelaras bar dasar sehingga spring mampatan dimampatkan sepenuhnya, kemudian longgarkan nat sebanyak ½ putaran (Rajah 41).
-
Ulangi prosedur ini pada hujung unit pemotongan yang satu lagi.
-
Laraskan bilah dasar pada gelendong; rujuk Melaraskan Bilah Dasar pada Gelendong.
Menservis Penggelek
Kit Pembinaan Semula Penggelek (No. Bahagian 114-5430) dan Kit Alatan Pembinaan Semula Penggelek (No. Bahagian 115-0803) (Rajah 42) tersedia untuk menservis penggelek. Kit Pembinaan Semula Penggelek termasuk semua bearing, nat bearing, pengedap dalam dan pengedap luar untuk membina semula penggelek. Kit Alat Pembinaan Semula Penggelek termasuk semua alatan dan arahan pemasangan yang diperlukan untuk membina semula penggelek menggunakan kit pembinaan semula penggelek. Rujuk katalog bahagian anda atau hubungi pengedar Toro dibenarkan anda untuk mendapatkan bantuan.



, yang bermaksud Awas, Amaran atau Bahaya –
arahan keselamatan diri. Kegagalan untuk mematuhi arahan ini mungkin
menyebabkan kecederaan diri atau kematian.



















