Întreţinere
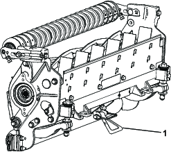
Susținerea unității de tăiere
Oricând unitatea de tăiere trebuie înclinată pentru a expune contracuțitul/cilindrul, proptiți spatele unității de tăiere cu ajutorul suportului (furnizat alături de unitatea de tracțiune), pentru a asigura faptul că piulițele de la capătul posterior al șuruburilor de reglare pentru bara de cadru nu se află pe suprafața de lucru (Figura 25).

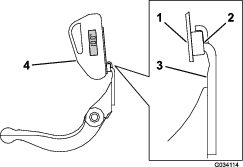
Lubrifierea unităților de tăiere
Lubrifiați periodic cele 5 gresoare de pe fiecare unitate de tăiere (Figura 26) cu vaselină cu litiu nr. 2.
Există 2 puncte de lubrifiere pe rola frontală, 2 pe rola posterioară și 1 în canelura motorului de cilindru.
Note: Modelul 03192 nu este prevăzut cu o rolă frontală; există doar 2 puncte de lubrifiere pe rola posterioară și 1 în canelura motorului de cilindru.
Important: Ungerea unităților de tăiere imediat după spălare ajută la eliminarea apei din rulmenți și prelungește durata de viață a rulmenților.
-
Ștergeți gresoarele cu o lavetă curată.
-
Lubrifiați până când se scurge lubrifiant curat din garniturile de etanșare ale rolei și din supapa de scurgere a rulmentului.
-
Ștergeți excesul de lubrifiant.

Specificații pentru cilindru
Rectificare pentru detalonarea cilindrului
Noul cilindru are o lățime la sol între 1,3 și 1,5 mm și un unghi de rectificare de 30°.
Când lățimea la sol depășește 3 mm, luați următoarele măsuri:
-
Aplicați un unghi de rectificare 30° pentru toate lamele cilindrului, până când lățimea la sol atinge 1,3 mm (Figura 27).

-
Învârtiți cilindrul pentru a obține o bătaie a cilindrului de <0,025 mm.
Note: Acest lucru duce la o ușoară creștere a lățimii la sol.
Note: Pentru a prelungi longevitatea stării ascuțite a marginii cilindrului și contracuțitului - după ascuțirea cilindrului și/sau a contracuțitului - verificați contactul dintre cilindru și contracuțit, după ce tundeți 2 pase, deoarece se vor îndepărta orice bavuri, care pot crea un spațiu inadecvat între cilindru și contracuțit, astfel accelerând uzura.
-
Cu ajutorul unei rulete pentru diametru, măsurați diametrul exterior al cilindrului, la ambele capete (Figura 28); diferența de diametru exterior dintre capete trebuie să fie mai mică de 0,250 mm. Dacă diferența este mai mare, rectificați pentru a corecta diferența.
Note: Ruleta pentru măsurarea diametrului exterior este disponibilă la distribuitorul autorizat Toro.

Instalarea ansamblului arborelui frontal pentru rectificarea cilindrului
Important: Trebuie să comandați următoarele piese, astfel încât unitatea de tăiere să poată fi montată pe o mașină de rectificare a cilindrului:
| Cant. | Piesă | Nr. piesă |
| 2 | Consolă pentru înălțimea de tăiere frontală | 125-2796 |
| 2 | Șurub de fixare (⅜ x 1-½ inch) | 3231-4 |
| 2 | Contrapiuliţă (⅜ inch) | 104-8301 |
| 2 | Șurub cu cap hexagonal (5/16 x 1-⅛ inch) | 322-16 |
| 1 | Arbore rolă frontală | 117-0957 |
-
Îndepărtați ansamblurile rolelor pentru service (dacă sunt prevăzute); consultați Reglarea ansamblurilor rolelor pentru service (doar modelul 03192).
-
Cu ajutorul șuruburilor de fixare și contrapiulițelor, montați consolele pentru înălțimea de tăiere frontală la orificiul superior de pe placa laterală (Figura 29).
Important: Asigurați-vă că respectiva consolă pentru înălțimea de tăiere este instalată cu șurubul de fixare în partea superioară a fantei, astfel încât consola pentru înălțimea de tăiere să fie cât mai joasă posibil.

-
Montați arborele în partea inferioară a consolelor pentru înălțimea de tăiere folosind 2 șuruburi cu cap hexagonal.
-
Asigurați-vă că arborele este paralel cu unitatea de fixare; în caz contrar, slăbiți șurubul de fixare de pe partea inferioară și strângeți-l din nou când arborele este paralel.
Lucrări de service pentru contracuțit
Limitele pentru reparațiile contracuțitului sunt enumerate în tabelul de mai jos.
Important: Utilizarea unității de tăiere cu contracuțitul sub limita de reparație poate duce la un aspect necorespunzător după tăiere și poate reduce integritatea structurală a contracuțitului în caz de impact.
| Tabelul limitelor pentru reparațiile contracuțitului (Contracuțit de producție) | ||||
| Contracuțit | Nr. piesă | Înălțimea marginii contracuțitului | Limită pentru reparații* | Unghiuri de rectificare superioare/frontale |
| Înălțime de tăiere joasă | 147-1248 (68 cm) | 5,6 mm | 4,8 mm | 10/5° |
| 147-1252 (81 cm) | ||||
| EdgeMax® | 137-6095 (68 cm) | 6,9 mm | 4,8 mm | 10/5° |
| Standard | 147-1249 (Model 03189/90, 68 cm) | 6,9 mm | 4,8 mm | 10/5° |
| 147-1253 (Model 03191, 81 cm) | ||||
| Pentru condiții grele | 147-1250 (Model 03192, 68 cm) | 9,3 mm | 4,8 mm | 10/5° |
| 147-1254 (81 cm) | ||||

Note: Toate măsurătorilor privind limitele pentru reparațiile contracuțitului corespund părții inferioare a contracuțitului (Figura 31).

Verificarea unghiului de rectificare superior
Unghiul folosit pentru ascuțirea contracuțitelor este foarte important.
Folosiți indicatorul de unghi (nr. piesă Toro 131-6828) și suportul indicatorului de unghi (nr. piesă Toro 131-6829) pentru a verifica unghiul produs de rectificator și corectați orice eroare a acestuia.
-
Amplasați indicatorul de unghi în partea inferioară a contracuțitului, conform indicațiilor din Figura 32.

-
Apăsați butonul Alt Zero de pe indicatorul de unghi.
-
Amplasați suportul indicatorului de unghi pe marginea contracuțitului, astfel încât marginea magnetului să se îmbine cu marginea contracuțitului (Figura 33).
Note: La acest pas, afișajul digital trebuie să fie vizibil din aceeași parte ca la pasul 1.

-
Amplasați indicatorul de unghi pe suport, conform indicațiilor din Figura 33.
Note: Acesta este unghiul rectificatorului și trebuie să fie într-o marjă de 2° față de unghi de rectificare superior recomandat.
Lucrări de service pentru bara de cadru
Îndepărtarea barei de cadru
-
Rotiți șuruburile de reglare pentru bara de cadru în sens invers acelor de ceasornic pentru a îndepărta contracuțitul de cilindru (Figura 34).

-
Deșurubați piulița pentru tensionarea arcului până când șaiba nu mai este lipită de bara de cadru (Figura 34).
-
Pe fiecare latură a mașinii, slăbiți contrapiulița care fixează șurubul barei de cadru (Figura 35).

-
Îndepărtați fiecare șurub al barei de cadru, permițând tragerea în jos și îndepărtarea acesteia de pe unitatea de tăiere (Figura 35).
Asigurați-vă că la fiecare capăt al barei de cadru există 2 șaibe din nailon și 1 șaibă din oțel (Figura 36).

Montarea barei de cadru
-
Instalați bara de cadru, poziționând urechile de montare între șaibă și șurubul de reglare pentru bara de cadru.
Important: Centrați șuruburile de reglare DPA în urechile barei de cadru, așa cum se arată în Figura 37.Dacă șuruburile de reglare DPA sunt instalate lipite de urechile barei de cadru, acest lucru poate avea un efect negativ asupra contactului între contracuțit și cilindru.

-
Fixați bara de cadru de fiecare placă laterală, cu ajutorul șuruburilor barei de cadru (piulițe pe șuruburi) și 3 șaibe (6 în total).
-
Amplasați o șaibă din nailon pe fiecare parte a butucului plăcii laterale. Amplasați o șaibă din oțel în afara fiecărei șaibe din nailon (Figura 36).
-
Strângeţi şuruburile barei de cadru la un cuplu de 37 - 45 N·m.
-
Strângeți încet contrapiulițele barei de cadru până când șaibele din oțel exterioare se pot roti cu mâna.
Important: Nu strângeți excesiv contrapiulițele, deoarece vor încovoia plăcile laterale.
Note: Şaiba din nailon dintre bara de cadru și placa glisantă va prezenta un spațiu mic.
-
Strângeți piulița pentru tensionarea arcului până când arcul este pliat, apoi deșurubați-o jumătate de rotație (Figura 38).

Specificații privind contracuțitul
Instalarea contracuțitului
-
Îndepărtați urmele de rugină și de coroziune și depunerile de pe suprafața barei de cadru și aplicați un strat subțire de ulei pe suprafața barei de cadru.
-
Curățați fileturile șuruburilor.
-
Aplicați agent anti-blocare pe șuruburi și montați contracuțitul pe bara de cadru.

-
Strângeți cele 2 șuruburi exterioare la un cuplu de 1 N∙m; consultați Figura 40.
-
Începând din centrul contracuțitului, strângeți șuruburile la un cuplu de 23 – 28 N∙m; consultați Figura 40.

-
Ascuțiți contracuțitul.
Lucrări de service pentru șuruburile de reglare cu două puncte HD (DPA)
-
Îndepărtați toate piesele (consultați Instrucţiunile de instalare pentru Setul HD DPA și Figura 41).
-
Aplicați agent anti-blocare în interiorul bucșei de pe cadrul central al unității de tăiere (Figura 41).
-
Aliniați cheile de pe bucșele cu flanșă cu fantele din cadrul și instalați bucșele (Figura 41).
-
Montați o șaibă ondulată pe arborele șurubului de reglare și glisați-l în bucșele cu flanșă din cadrul unității de tăiere (Figura 41).
-
Fixați arborele șurubului de reglare cu o șaibă plată și o contrapiuliță (Figura 41).
-
Strângeţi contrapiulița la un cuplu de 20 - 27 N∙m.
Note: Arborele șurubului de reglare a barei de cadru este prevăzută cu fileturi pe stângă.

-
Aplicați agent anti-blocare pe fileturile șuruburilor de reglare pentru bara de cadru care se potrivesc în arborele șurubului de reglare.
-
Filetați șurubul de reglare pentru bara de cadru în arborele șurubului de reglare.
-
Montați fără a strânge șaiba întărită, arcul și piulița pentru tensionarea arcului pe șurubul de reglare.
-
Instalați bara de cadru, poziționând urechile de montare între șaibă și șurubul de reglare al barei de cadru.
-
Fixați bara de cadru de fiecare placă laterală, cu ajutorul șuruburilor barei de cadru (piulițe pe șuruburi) și 6 șaibe.
Note: Amplasați o șaibă din nailon pe fiecare parte a butucului plăcii laterale.
-
Amplasați o șaibă din oțel în afara fiecărei șaibe din nailon (Figura 41).
-
Strângeţi şuruburile barei de cadru la un cuplu de 37 - 45 N·m.
-
Strângeți contrapiulițele până când șaiba din oțel exterioară se oprește și jocul dispare, dar nu strângeți excesiv sau încovoiați plăcile laterale.
Note: Şaibele din interior pot lăsa un spațiu (Figura 41).
-
Strângeți piulița pe fiecare ansamblu pentru reglarea barei de cadru până când arcul de comprimare este complet comprimat, apoi slăbiți piulița cu jumătate de rotație (Figura 41).
-
Repetați procedura la celălalt capăt al unității de tăiere.
-
Reglați contracuțitul pe cilindru; consultați Reglarea contracuțitului pe cilindru.
Lucrări de service pentru rolă
Setul pentru reconstrucția mașinii cu role (piesă nr. 114-5430) și Setul de unelte pentru reconstrucția mașinii cu role (piesă nr. 115-0803) (Figura 42) sunt disponibile pentru lucrările de service pentru rolă. Setul pentru reconstrucția mașinii cu role include toți rulmenții, piulițele pentru rulmenți, garniturile de etanșare interioare și garniturile de etanșare exterioare pentru reconstruirea unei mașini cu role. Setul de unelte pentru reconstrucția mașinii cu role pentru gazon include toate uneltele și instrucțiunile de instalare necesare reconstrucției unei mașini cu role, cu ajutorul setului pentru reconstrucția mașinii cu role. Consultați catalogul de piese sau contractați distribuitorul autorizat Toro pentru asistență.



, care înseamnă
Atenţie, Avertisment sau Pericol – instrucţiune
privind siguranţa personală. Nerespectarea acestor instrucţiuni
poate cauza vătămări corporale sau moartea.



















