Manutenção
Suporte da unidade de corte
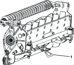
Se for necessário inclinar a unidade de corte para que a lâmina de corte e o cilindro fiquem expostos, coloque o apoio (fornecido com a unidade de tração) por baixo da traseira da unidade de corte para assegurar que as porcas na parte traseira dos parafusos de ajuste da barra de apoio não fiquem apoiadas sobre a superfície de trabalho (Figura 25).

Lubrificação das unidades de corte
Lubrifique regularmente os cinco bocais de lubrificação em cada unidade de corte (Figura 26), com massa n.º 2 para utilizações gerais, à base de lítio.
Há dois pontos de lubrificação no rolo frontal, rolo traseiro e um na estria do motor do cilindro.
Note: O modelo 03192 não possui rolo frontal; há apenas os dois pontos de lubrificação no rolo traseiro e um na estria do motor do cilindro.
Important: Lubrificar as unidades de corte imediatamente após a lavagem ajuda a purgar a água dos rolamentos e aumenta a duração dos mesmos.
-
Limpe cada bocal de lubrificação com um trapo limpo.
-
Aplique lubrificação até que se veja lubrificante limpo a sair dos vedantes do rolo e da válvula de descarga do rolamento.
-
Elimine o excesso de massa lubrificante.

Especificações do cilindro
Amolação de retificação do cilindro
O novo cilindro tem uma largura de 1,3 a 1,5 mm e uma amolação de retificação de 30°.
Quando a dimensão da folga é superior a 3 mm de largura, faça o seguinte:
-
Aplique uma amolação de retificação de 30° em todas as lâminas do cilindro até que a folga tenha uma largura de 1,3 mm (Figura 27).

-
Amole o cilindro para obter uma deslocação do cilindro <0,025 mm.
Note: Isto causa que a folga aumente ligeiramente.
Note: Para aumentar a longevidade da afiação do gume do cilindro e lâmina – após a amolação do cilindro e/ou lâmina – verifique novamente o contacto entre cilindro e lâmina depois de cortar dois fairways, uma vez que qualquer rebarba é eliminada o que pode criar uma folga indevida entre cilindro e lâmina e acelerar, desta forma, o desgaste.
-
Utilizando uma fita de medição do diâmetro, meça o diâmetro externo do cilindro em ambas as extremidades (Figura 28); a diferença no diâmetro externo entre as extremidades deve ser inferior a 0,250 mm. Se a diferença for superior, amole para corrigir a diferença.
Note: A fita de medição do diâmetro externo está disponível no seu distribuidor autorizado Toro.

Instalação do conjunto do eixo frontal para amolação do cilindro
Important: Tem de encomendar as peças seguintes para que a unidade de corte possa ser instalada numa máquina com amolação de cilindro:
| Quantidade | Peça | Peça n.º |
| 2 | Suporte da altura de corte frontal | 125-2796 |
| 2 | Parafuso de carroçaria (⅜ x 1½ pol.) | 3231-4 |
| 2 | Porca de bloqueio (⅜ pol.) | 104-8301 |
| 2 | Parafuso de cabeça sextavada (5/16 x 1⅛ pol.) | 322-16 |
| 1 | Eixo do rolo frontal | 117-0957 |
-
Retire os conjuntos do rolo de oficina (se equipados); consulte a Ajuste dos conjuntos do rolo de oficina (apenas modelo 03192).
-
Utilizando os parafusos de carroçaria e porcas de bloqueio, instale os suportes da altura de corte frontais no furo superior da placa lateral (Figura 29).
Important: Certifique-se de que o suporte da altura de corte é instalado com o parafuso de carroçaria na parte superior da ranhura, de forma a que o suporte da altura de corte fique o mais baixo possível.

-
Instale o eixo na parte inferior dos suportes da altura de corte utilizando dois parafusos de cabeça sextavada.
-
Certifique-se de que o eixo está paralelo à unidade de corte. Caso contrário, desaperte o parafuso de carroçaria no lado inferior e aperte-o novamente quando o eixo estiver paralelo.
Assistência à lâmina
Os limites de assistência à lâmina encontram-se no quadro seguinte.
Important: O funcionamento da unidade de corte com a lâmina abaixo do “limite de assistência” pode causar um fraco aspecto após o corte e reduzir a integridade estrutural da lâmina para impactos.
| Quadro de limite de assistência à lâmina (lâmina de corte de produção) | ||||
| Lâmina de corte | Peça n.º | Altura do topo da lâmina | Limite de assistência* | Ângulos de amolação superiores/frontais |
| Baixa altura de corte | 147-1248 (69 cm) | 5,6 mm | 4,8 mm | 10/5° |
| 147-1252 (81 cm) | ||||
| EdgeMax® | 137-6095 (69 cm) | 6,9 mm | 4,8 mm | 10/5° |
| Standard | 147-1249 (modelo 03189/90, 69 cm) | 6,9 mm | 4,8 mm | 10/5° |
| 147-1253 (modelo 03191, 81 cm) | ||||
| Pesados | 147-1250 (modelo 03192, 69 cm) | 9,3 mm | 4,8 mm | 10/5° |
| 147-1254 (81 cm) | ||||

Note: Todas as medidas dos limites de assistência da lâmina se relacionam com a parte inferior da lâmina (Figura 31).

Verificação do ângulo de amolação superior
O ângulo que utiliza para amolar as lâminas de corte é muito importante.
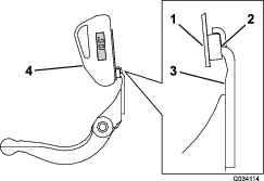
Utilize o indicador de ângulo (peça Toro n.º 131-6828) e a montagem do indicador do ângulo (peça Toro n.º 131-6829) para verificar o ângulo que o seu amolador produz e depois corrija qualquer imprecisão no amolador.
-
Coloque o indicador de ângulo no lado inferior da lâmina de corte, como se ilustra na Figura 32.

-
Pressione o botão Alt Zero no indicador de ângulo.
-
Coloque a montagem do indicador de ângulo na extremidade da lâmina de corte para que a extremidade do íman fique alinhada com a extremidade da lâmina de corte (Figura 33).
Note: O ecrã digital deve ser visível do mesmo lado durante este passo como era no passo 1.

-
Coloque o indicador de ângulo na montagem, como se mostra na Figura 33.
Note: Este é o ângulo que o seu amolador produz e deve estar a 2 graus do ângulo de amolação superior recomendado.
Manutenção da barra de apoio
Remoção da barra de apoio
-
Rode os parafusos de ajuste da barra de apoio no sentido contrário ao dos ponteiros do relógio, para afastar a lâmina de corte do cilindro (Figura 34).

-
Faça recuar a porca da mola tensora até que a anilha deixe de estar sob tensão contra a barra de apoio (Figura 34).
-
Desaperte a porca de bloqueio que segura a cavilha da barra de apoio, em cada um dos lados da máquina (Figura 35).

-
Remova cada um dos parafusos da barra de apoio, de modo a puxá-la para baixo e retirá-la da unidade de corte (Figura 35).
Guarde as duas anilhas de nylon e a anilha de aço de cada uma das extremidades da barra de apoio (Figura 36).

Instalação da barra de apoio
-
Instale a barra de apoio, posicionando as aletas de montagem entre as anilhas e o parafuso de ajuste da barra de apoio.
Important: Centre os reguladores DPA nas aletas da barra de apoio conforme mostrado na Figura 37.Se os reguladores DPA estiverem instalados contra as aletas da barra de apoio, isto poderá afetar negativamente o contacto entre a lâmina e o cilindro.

-
Fixe a barra de apoio a cada um dos lados da placa lateral com as cavilhas (porcas flangeadas nas cavilhas) e com as 3 arruelas (6 no total).
-
Coloque uma anilha de nylon de cada lado da placa lateral. Coloque uma arruela de aço no exterior de cada uma das arruelas de nylon (Figura 36).
-
Aperte os parafusos da barra de apoio com uma força de 37 a 45 N·m.
-
Aperte as porcas de bloqueio da barra de apoio cuidadosamente até as aninhas de aço exteriores rodarem à mão.
Important: Não aperte demasiado as porcas de bloqueio ou causarão flexão das placas laterais.
Note: A anilha de nylon entre a barra de apoio e a placa deslizante terá uma pequena folga.
-
Aperte a porca da mola tensora até que a mola fique recolhida; em seguida, desaperte meia volta (Figura 38).

Especificações da lâmina de corte
Instalação da lâmina de corte
-
Elimine a ferrugem, escória e corrosão da superfície da barra de apoio e aplique uma fina camada de óleo na superfície da barra de apoio.
-
Limpe as roscas do parafuso.
-
Aplique composto antigripagem nos parafusos e instale a lâmina de corte na barra de apoio.

-
Aperte os dois parafusos exteriores com 1 N∙m; consulte a Figura 40.
-
Trabalhando a partir do centro da lâmina, aperte os parafusos com 23 a 28 N∙m; consulte a Figura 40.

-
Amole a lâmina de corte.
Assistência ao Ajuste de Dois Pontos HD (DPA)
-
Retire todas as peças (consulte as Instruções de instalação do Kit DPA HD e a Figura 41).
-
Aplique composto antigripagem no interior da área dos casquilhos na estrutura central da unidade de corte (Figura 41).
-
Alinhe as chaves nos casquilhos das flanges com as ranhuras na estrutura e instale os casquilhos (Figura 41).
-
Instale uma anilha ondulada no veio do ajustador e deslize o veio para os casquilhos da flange na estrutura da unidade de corte (Figura 41).
-
Prenda o veio ajustador com uma anilha plana e porca de bloqueio (Figura 41).
-
Aperte a porca de bloqueio com uma força de 20 a 27 N·m.
Note: O veio do ajustador da barra de apoio possui roscas esquerdas.

-
Aplique composto antigripagem nas roscas do parafuso do ajustador da barra de apoio que encaixa no veio do ajustador.
-
Enrosque o parafuso do ajustador da barra de apoio no veio do ajustador.
-
Instale sem apertar a anilha reforçada, mola e porca tensora da mola no parafuso do ajustador.
-
Instale a barra de apoio, posicionando as aletas de montagem entre a anilha e o ajustador da barra de apoio.
-
Fixe a barra de apoio a cada um dos lados da placa lateral com as cavilhas (porcas flangeadas nas cavilhas) e com as 6 arruelas.
Note: Coloque uma anilha de nylon de cada lado da placa lateral.
-
Coloque uma arruela de aço no exterior de cada uma das arruelas de nylon (Figura 41).
-
Aperte os parafusos da barra de apoio com uma força de 37 a 45 N·m.
-
Aperte as porcas até que a anilha de aço exterior pare de rodar e a folga seja removida, mas não aperte em demasiado nem desvie as placas laterais.
Note: As anilhas podem ter uma folga interna (Figura 41).
-
Aperte a porca em cada conjunto de ajustador da barra de apoio até que a mola de compressão esteja totalmente comprimida e, em seguida, desaperte a porca ½ volta (Figura 41).
-
Repita o procedimento no lado oposto da unidade de corte.
-
Ajuste a lâmina de corte ao cilindro; consulte a Ajuste da lâmina de corte ao cilindro.
Manutenção do rolo
O kit de remontagem do rolo, peça n.º 114-5430 e o kit de ferramentas de remontagem do rolo, peça n.º 115-0803 (Figura 42) estão disponíveis para fazer a manutenção do rolo. O kit do rolo inclui todos os rolamentos, porcas dos rolamentos, vedantes internos e externos necessários para remontar um rolo. O kit de ferramentas inclui todas as ferramentas e as instruções de instalação necessárias à remontagem de um rolo com o kit de remontagem de rolo. Consulte o catálogo de peças ou contacte o distribuidor Toro autorizado para obter ajuda.



O não cumprimento
destas instruções pode resultar em ferimentos pessoais
ou mesmo em morte.



















