Údržba
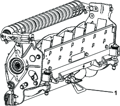
Podepření žací jednotky
Kdykoli potřebujete žací jednotku naklopit a získat tak přístup k plochému noži či vřetenu, podepřete zadní stranu žací jednotky nohou ovládaným stojanem (je dodáván s hnací jednotkou) tak, aby matice na zadním konci seřizovacích šroubů držáku plochého nože nespočívaly na pracovním povrchu (Obrázek 25).

Mazání žacích jednotek
Pravidelně aplikujte mazivo na bázi lithia č. 2 do 5 maznic na každé žací jednotce (Obrázek 26).
K dispozici jsou 2 mazací místa na předním válci, 2 místa na zadním válci a 1 místo pro drážku vřetena motoru.
Note: Model 03192 nemá přední válec; na zadním válci jsou pouze 2 mazací body a na drážce motoru vřetena je 1 mazací bod.
Important: Mazání žacích jednotek ihned po umytí napomáhá vytlačení vody z ložisek a prodlužuje jejich životnost.
-
Utřete všechny maznice čistým hadrem.
-
Aplikujte mazivo, dokud nezačne čisté mazivo vystupovat z těsnění válce a přetlakového ventilu ložiska.
-
Přebytečné mazivo otřete.

Specifikace vřetena
Podbrušování vřetena
Nové vřeteno má šířku krajní plochy 1,3 až 1,5 mm a 30° podbroušení.
Pokud se šířka krajní plochy zvětší nad 3 mm, postupujte následovně:
-
Všechny nože vřetena podbruste na 30° tak, aby byla krajní plocha široká 1,3 mm (Obrázek 27).

-
Rotačně zabruste vřeteno tak, aby byla zajištěna házivost vřetena menší než 0,025 mm.
Note: Tím dojde k mírnému zvětšení šířky krajní plochy.
Note: Chcete-li zvýšit životnost ostří hrany vřetena a plochého nože – po zabroušení vřetena a/nebo plochého nože – po posečení 2 fervejí znovu zkontrolujte správný kontakt plochého nože a vřetena. Dojde tak k odstranění veškerých otřepů, což může způsobit nesprávnou vzdálenost mezi vřetenem a plochým nožem a tím rychlejší opotřebení.
-
Pomocí pásma pro měření průměru změřte vnější průměr vřetena na obou koncích (Obrázek 28); rozdíl vnějšího průměru mezi konci musí být menší než 0,250 mm. Pokud je rozdíl větší, upravte rozdíl zabroušením.
Note: Pásmo pro měření vnějšího průměru je k dispozici u místního autorizovaného prodejce Toro.

Montáž montážního celku předního hřídele pro broušení vřetena
Important: Abyste mohli žací jednotku namontovat na brusku vřetena, musíte objednat následující díly:
| Počet | Díl | Objednací číslo |
| 2 | Přední konzola pro nastavení výšky sekání | 125-2796 |
| 2 | Vratový šroub (⅜ x 1 ½ in) | 3231-4 |
| 2 | Pojistná matice (⅜ in) | 104-8301 |
| 2 | Šroub se šestihrannou hlavou (5/16 x 1 ⅛ in) | 322-16 |
| 1 | Hřídel předního válce | 117-0957 |
-
Demontujte sestavy přepravních koleček (dle výbavy), viz Nastavení sestav přepravních koleček (pouze model 03192).
-
Pomocí vratových šroubů a pojistných matic namontujte přední držáky pro nastavení výšky sekání k hornímu otvoru boční desky (Obrázek 29).
Important: Držák pro nastavení výšky sekání musí být namontován pomocí vratového šroubu v horní části otvoru, aby byl co nejníže.

-
Namontujte hřídel na spodní část držáků pro nastavení výšky sekání pomocí 2 šroubů se šestihrannou hlavou.
-
Dbejte na to, aby byl hřídel rovnoběžný s žací jednotkou. Pokud tomu tak není, povolte vratový šroub na spodní straně a po vyrovnání hřídele jej znovu utáhněte.
Údržba plochého nože
Provozní limity plochého nože jsou uvedeny v následující tabulce.
Important: Použití žací jednotky s plochým nožem za provozním limitem může vést k nekvalitnímu vzhledu trávy po sekání a narušení celistvosti konstrukce plochého nože v případě nárazů.
| Tabulka provozních limitů plochého nože (plochý nůž z výroby) | ||||
| Plochý nůž | Objednací číslo | Výška břitu plochého nože | Provozní limit* | Úhel horního/předního zbroušení |
| Nízká HOC | 147-1248 (27 inch) | 5,6 mm | 4,8 mm | 10/5° |
| 147-1252 (32 in) | ||||
| EdgeMax® | 137-6095 (27 in) | 6,9 mm | 4,8 mm | 10/5° |
| Standardní | 147-1249 (model 03189/90, 27 in) | 6,9 mm | 4,8 mm | 10/5° |
| 147-1253 (model 03191, 32 inch) | ||||
| Pro vysoké zatížení | 147-1250 (model 03192, 27 in) | 9,3 mm | 4,8 mm | 10/5° |
| 147-1254 (32 in) | ||||

Note: Všechny hodnoty provozních limitů plochého nože se vztahují ke spodnímu okraji plochého nože (Obrázek 31).

Kontrola úhlu horního zbroušení
Velmi důležitý je úhel, pod kterým zabrušujete své ploché nože.
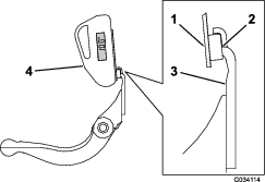
Použitím ukazatele úhlu (číslo dílu Toro 131-6828) a držáku ukazatele úhlu (číslo dílu Toro 131-6829) zkontrolujte úhel své brusky a následně správně upravte veškeré nepřesné nastavení brusky.
-
Umístěte ukazatel úhlu na spodní stranu plochého nože, viz Obrázek 32.

-
Stiskněte tlačítko Alt Zero“ na ukazateli úhlu.
-
Umístěte držák ukazatele úhlu na hranu plochého nože tak, aby hrana magnetu byla spojená s okrajem plochého nože (Obrázek 33).
Note: Digitální displej by měl být vidět ze stejné strany během tohoto kroku, stejně, jako v kroku 1.

-
Umístěte ukazatel úhlu na držák, viz Obrázek 33.
Note: Toto je úhel vaší brusky, jenž musí být v rozmezí 2 stupňů doporučeného horního zbroušení.
Údržba držáku plochého nože
Demontáž držáku plochého nože
-
Otočením seřizovacích šroubů držáku plochého nože proti směru hodinových ručiček posuňte plochý nůž dále od vřetena (Obrázek 34).

-
Vyšroubujte matici pro napnutí pružiny, aby pružina netlačila podložku k držáku plochého nože (Obrázek 34).
-
Na obou stranách stroje povolte pojistnou matici zajišťující šroub držáku plochého nože (Obrázek 35).

-
Demontujte jednotlivé šrouby držáku plochého nože, aby bylo možné stáhnout držák dolů a sejmout jej z žací jednotky (Obrázek 35).
Počítejte se 2 nylonovými podložkami a 1 ocelovou podložkou na obou koncích držáku plochého nože (Obrázek 36).

Montáž držáku plochého nože
-
Namontujte držák plochého nože; montážní výstupky umístěte mezi podložku a seřizovací šroub držáku plochého nože.
Important: Vycentrujte seřizovací prvky DPA ve výstupcích plochého nože, viz Obrázek 37.Pokud jsou seřizovací prvky DPA namontovány proti výstupkům plochého nože, může to negativně ovlivnit kontakt plochého nože s vřetenem.

-
Upevněte držák plochého nože k oběma bočním deskám pomocí šroubů držáku plochého nože (matice na šroubech) a 3 podložek (celkem 6).
-
Umístěte nylonovou podložku na obě strany výčnělku boční desky. Na vnější stranu nylonových podložek umístěte ocelovou podložku (Obrázek 36).
-
Šrouby držáku plochého nože utáhněte na utahovací moment 37 až 45 Nm (27 až 33 ft-lb).
-
Pomalu utahujte pojistné matice držáku plochého nože, dokud nebude možné vnějšími ocelovými podložkami otáčet rukou.
Important: Pojistné matice nadměrně neutahujte, jinak vychýlí boční desky.
Note: Nylonová podložka mezi držákem plochého nože a boční deskou bude mít malou vůli.
-
Utáhněte matici pro napnutí pružiny, až dojde ke stlačení pružiny, a poté ji povolte o ½ otáčky (Obrázek 38).

Specifikace plochého nože
Montáž plochého nože
-
Z povrchu plochého nože odstraňte korozi a usazeniny a aplikujte na něj tenkou vrstvu oleje.
-
Vyčistěte závity šroubů.
-
Na závity šroubů aplikujte přípravek proti zadírání a namontujte plochý nůž na držák plochého nože.

-
Dva vnější šrouby utáhněte na utahovací moment 1 Nm (10 in-lb); viz Obrázek 40.
-
Postupujte od středu plochého nože a utáhněte šrouby na utahovací moment 23 až 28 Nm (200 až 250 in-lb); viz Obrázek 40.

-
Zabruste plochý nůž.
Údržba dvoubodových seřizovacích prvků (DPA) HD
-
Demontujte všechny díly (postupujte podle montážních pokynů k sadě HD DPA a podle Obrázek 41).
-
Na vnitřní stranu oblasti pouzdra na středovém rámu žací jednotky naneste přípravek proti zadírání (Obrázek 41).
-
Vyrovnejte klíny na přírubových pouzdrech s drážkami v rámu a nasaďte pouzdra (Obrázek 41).
-
Nasaďte vlnitou podložku na dřík seřizovacího prvku a dřík zasuňte do přírubového pouzdra v rámu žací jednotky (Obrázek 41).
-
Upevněte dřík seřizovacího prvku pomocí ploché podložky pojistné matice (Obrázek 41).
-
Pojistnou matici utáhněte na utahovací moment 20 až 27 Nm (15 až 20 ft-lb).
Note: Dřík seřizovacího prvku držáku plochého nože má levotočivý závit.

-
Aplikujte přípravek proti zadírání na závity seřizovacího šroubu držáku plochého nože, jež bude zaveden do dříku seřizovacího prvku.
-
Našroubujte seřizovací šroub držáku plochého nože do dříku seřizovacího prvku.
-
Volně nasaďte tvrzenou podložku, pružinu a matici pro stlačení pružiny na seřizovací šroub.
-
Namontujte držák plochého nože; montážní výstupky přitom umístěte mezi podložku a seřizovací prvek držáku plochého nože.
-
Upevněte držák plochého nože k oběma bočním deskám pomocí šroubů držáku plochého nože (s maticemi na šroubech) a 6 podložek.
Note: Umístěte nylonovou podložku na obě strany výčnělku boční desky.
-
Na vnější stranu nylonových podložek umístěte ocelovou podložku (Obrázek 41).
-
Šrouby držáku plochého nože utáhněte na utahovací moment 37 až 45 Nm (27 až 33 ft-lb).
-
Utáhněte pojistné matice, dokud se vnější ocelová podložka nepřestane otáčet a vůle nezmizí, avšak nepřetahujte, aby nedošlo k vychýlení bočních desek.
Note: U podložek uvnitř může vzniknout mezera (Obrázek 41).
-
Utáhněte matici na obou koncích sestavy seřizovacího prvku držáku plochého nože, dokud nebude pružina zcela stlačena, a poté matici povolte o ½ otáčky (Obrázek 41).
-
Uvedený postup zopakujte i na opačné straně žací jednotky.
-
Seřiďte plochý nůž na vřetenu, viz Seřízení plochého nože k vřetenu.
Údržba válce
Pro údržbu válce je k dispozici Sada pro opravu válce (objednací číslo 114-5430) a Sada nástrojů pro opravu válce (objednací číslo 115-0803) (Obrázek 42). Sada pro opravu válce obsahuje všechna ložiska, matice ložisek, vnitřní a vnější těsnění nutné k opravě válce. Sada nástrojů pro opravu válce obsahuje všechny nástroje a montážní pokyny nutné pro opravu válce pomocí sady pro opravu. Informace najdete v katalogu dílů nebo se obraťte na autorizovaného distributora Toro a vyžádejte si další podporu.



, který znamená
Upozornění, Výstrahu nebo Nebezpečí
– pokyny k zajištění osobní
bezpečnosti. Nedodržení těchto pokynů
může mít za následek zranění
osob nebo jejich usmrcení.



















