Údržba
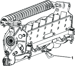
Podpera rezacej jednotky
Vždy keď musíte nakloniť rezaciu jednotku, aby ste odkryli nôž plošiny/kotúč, podoprite zadnú časť rezacej jednotky stojanom (dodáva sa s trakčnou jednotkou), aby ste zaručili, že sa matice na zadnej časti regulačných skrutiek tyče plošiny neopierajú o pracovný povrch (Obrázok 25).

Mazanie rezacích jednotiek
Pravidelne mažte 5 mazacích armatúr všetkých rezacích jednotiek (Obrázok 26) lítiovým mazivom č. 2.
Na prednom valci sú 2 mazacie body, na zadnom valci sú 2 a na drážkovom hriadeli motora kotúča je 1.
Note: Model 03192 nemá predný valec. Na zadnom valci sú len 2 mazacie body a na drážkovom hriadeli motora je 1.
Important: Okamžité namazanie rezacích jednotiek po umytí pomáha zbaviť sa vody z ložísk a zvyšuje ich životnosť.
-
Každú mazaciu armatúru utrite čistou handrou.
-
Mazivo nanášajte dovtedy, kým z tesnení valca a poistného ventilu ložísk nezačne vytekať čisté mazivo.
-
Utrite všetko nadbytočné mazivo.

Špecifikácie kotúča
Podbrúsenie kotúča
Nový kotúč má šírku plochy 1,3 až 1,5 mm a uhol podbrúsenia 30°.
Ak je šírka plochy väčšia ako 3 mm, vykonajte tieto kroky:
-
Všetky čepele kotúča podbrusujte pod uhlom 30°, kým nebude šírka plochy 1,3 mm (Obrázok 27).

-
Pri ostrení kotúč otáčajte, aby ste dosiahli obrúsenie kotúča < 0,025 mm.
Note: Týmto spôsobom sa šírka plochy o niečo zväčší.
Note: Ak chcete predĺžiť životnosť naostrenej hrany kotúča a noža plošiny po naostrení, po pokosení 2 polí znova skontrolujte kontakt medzi kotúčom a nožom plošiny, či sa odstránili všetky drsné časti. Tie totiž môžu vytvárať nesprávnu vzdialenosť medzi kotúčom a nožom plošiny, čo môže urýchliť opotrebovanie.
-
Pomocou pásky na meranie priemeru odmerajte vonkajší priemer kotúča na oboch koncoch (Obrázok 28). Rozdiel medzi vonkajším priemerom na oboch koncoch musí byť menší ako 0,250 mm. Ak je rozdiel väčší, zbrúste ho.
Note: Páska na meranie vonkajšieho priemeru je k dispozícii od autorizovaného distribútora spoločnosti Toro.

Montáž zostavy predného hriadeľa na ostrenie kotúča
Important: Musíte objednať nasledujúce diely, aby bolo možné rezaciu jednotku namontovať na stroj na ostrenie kotúča:
| Množstvo | Diel | Diel č. |
| 2 | Predná konzola výšky kosenia | 125-2796 |
| 2 | Vratová skrutka (⅜ × 1 ½") | 3231-4 |
| 2 | Poistná matica (⅜") | 104-8301 |
| 2 | Skrutka so šesťhrannou hlavou (5/16 × 1 ⅛") | 322-16 |
| 1 | Hriadeľ predného valca | 117-0957 |
-
Demontujte zostavy valcov z obchodu (ak sú namontované). Pozrite si časť Nastavenie zostáv valcov z obchodu (len model 03192).
-
Pomocou vratových skrutiek a poistných matíc namontujte predné konzoly výšky kosenia do vrchného otvoru na bočnej doske (Obrázok 29).
Important: Uistite sa, že je konzola výšky kosenia namontovaná pomocou vratovej skrutky vo vrchnej časti otvoru, aby bola konzola čo najnižšie.

-
Pomocou 2 skrutiek so šesťhrannou hlavou namontujte hriadeľ do spodnej časti konzol výšky kosenia.
-
Skontrolujte, či je hriadeľ vodorovne zarovnaný s rezacou jednotkou. V opačnom prípade uvoľnite vratovú skrutku na nízkej strane a utiahnite ju znova, keď bude hriadeľ vo vodorovnej polohe.
Servis noža plošiny
Servisné limity noža plošiny sú uvedené v nasledujúcej tabuľke.
Important: Používanie rezacej jednotky s nožom plošiny mimo servisného limitu môže viesť k neuspokojivému vzhľadu trávnika po kosení a môže znížiť odolnosť štruktúry noža plošiny pri nárazoch.
| Tabuľka limitu noža plošiny (nôž plošiny z výroby) | ||||
| Nôž plošiny | Diel č. | Výška okraja noža plošiny | Servisný limit* | Uhol vrchného/predného brúsenia |
| Nízka výška kosenia | 147-1248 (69 cm) | 5,6 mm | 4,8 mm | 10/5° |
| 147-1252 (81 cm) | ||||
| EdgeMax® | 137-6095 (69 cm) | 6,9 mm | 4,8 mm | 10/5° |
| Štandardne | 147-1249 (model 03189/90, 69 cm) | 6,9 mm | 4,8 mm | 10/5° |
| 147-1253 (model 03191, 81 cm) | ||||
| Ťažká prevádzka | 147-1250 (model 03192, 69 cm) | 9,3 mm | 4,8 mm | 10/5° |
| 147-1254 (81 cm) | ||||

Note: Všetky rozmery servisného limitu noža plošiny sa vzťahujú na spodnú časť noža plošiny (Obrázok 31).

Kontrola uhla vrchného podbrúsenia
Uhol, pri ktorom ostríte nože plošiny, je veľmi dôležitý.
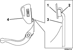
Na kontrolu uhla brúsky a následnú opravu akýchkoľvek nepresností pri ostrení používajte indikátor uhla (diel č. 131-6828 spoločnosti Toro) a držiak indikátora uhla (diel č. 131-6829 spoločnosti Toro).
-
Indikátor uhla umiestnite na spodnú časť noža plošiny, ako je znázornené na Obrázok 32.

-
Na indikátore uhla stlačte tlačidlo Alt+0.
-
Držiak indikátora uhla umiestnite na hranu noža plošiny tak, aby hrana magnetu lícovala s hranou noža plošiny (Obrázok 33).
Note: Digitálny displej by mal byť pri tomto kroku viditeľný z rovnakej strany ako pri kroku 1.

-
Indikátor uhla umiestnite na držiak, ako je znázornené na Obrázok 33.
Note: Tento uhol vytvára brúska a od odporúčaného uhla vrchného podbrúsenia by sa mal líšiť maximálne o 2°.
Servis tyče plošiny
Demontáž tyče plošiny
-
Otočením regulačných skrutiek tyče plošiny proti smeru hodinových ručičiek odsuňte nôž plošiny smerom od kotúča (Obrázok 34).

-
Uvoľňujte napínaciu maticu pružiny, kým sa neuvoľní napnutie podložky na tyči plošiny (Obrázok 34).
-
Na oboch stranách stroja uvoľnite poistnú maticu zaisťujúcu skrutku tyče plošiny (Obrázok 35).

-
Odskrutkujte všetky skrutky tyče plošiny, aby ste mohli tyč plošiny stiahnuť nadol a demontovať ju z rezacej jednotky (Obrázok 35).
Nastavte 2 nylonové a 1 oceľovú podložku na oboch koncoch tyče plošiny (Obrázok 36).

Montáž tyče plošiny
-
Namontujte tyč plošiny tak, že umiestníte montážne ušká medzi podložku a regulačnú skrutku tyče plošiny.
Important: Vycentrujte nastavovacie prvky DPA v uškách tyče plošiny, ako je znázornené na Obrázok 37.Ak sú nastavovacie prvky DPA namontované proti uškám tyče plošiny, môže to negatívne ovplyvniť kontakt noža plošiny s kotúčom.

-
Tyč plošiny zaistite na oboch bočných doskách pomocou skrutiek tyče plošiny (matice na skrutkách) a 3 podložiek (celkovo 6).
-
Na obe strany výčnelka bočnej dosky umiestnite nylonovú podložku. Na obe nylonové podložky zvonka umiestnite oceľové podložky (Obrázok 36).
-
Skrutky tyče plošiny utiahnite momentom 37 až 45 N∙m.
-
Pomaly uťahujte poistné matice tyče plošiny, kým sa vonkajšie oceľové podložky nebudú otáčať ručne.
Important: Poistné matice neuťahujte nadmerne, inak poškodia bočné dosky.
Note: Nylonová podložka medzi tyčou plošiny a bočnou doskou bude mať malú medzeru.
-
Uťahujte napínaciu maticu pružiny, kým sa pružina nestiahne, potom ju otočte späť o ½ otočky (Obrázok 38).

Špecifikácie noža plošiny
Montáž noža plošiny
-
Odstráňte z povrchu tyče plošiny hrdzu a šupinky a naneste naň tenkú vrstvu oleja.
-
Dôkladne vyčistite závity skrutiek.
-
Na skrutky naneste prostriedok proti zachytávaniu a namontujte nôž plošiny na tyč plošiny.

-
2 vonkajšie skrutky utiahnite momentom 1 N∙m. Pozrite si časť Obrázok 40.
-
Smerom od stredu noža plošiny uťahujte skrutky momentom 23 až 28 N∙m. Pozrite si časť Obrázok 40.

-
Naostrite nôž plošiny.
Servis nastavovacích prvkov HD s dvoma bodmi (DPA)
-
Demontujte všetky časti (pozrite si pokyny na montáž súpravy HD DPA a Obrázok 41).
-
Na vnútornú časť objímky na strednom ráme rezacej jednotky naneste prostriedok proti zachytávaniu (Obrázok 41).
-
Kľúče na objímkach príruby zarovnajte s otvormi v ráme a namontujte objímky (Obrázok 41).
-
Na hriadeľ nastavovacieho nástoja nasaďte vlnitú podložku a hriadeľ nastavovacieho prvku zasuňte do objímok príruby v ráme rezacej jednotky (Obrázok 41).
-
Hriadeľ nastavovacieho nástroja zaistite rovnou podložkou a poistnou maticou (Obrázok 41).
-
Poistnú maticu utiahnite momentom 20 až 27 N∙m.
Note: Hriadeľ nastavovacieho nástroja tyče plošiny má ľavé závity.

-
Na závity skrutky nastavovacieho prvku tyče plošiny, ktorá sa zasúva do hriadeľa nastavovacieho prvku, naneste prostriedok proti zachytávaniu.
-
Skrutku nastavovacieho prvku tyče plošiny zaskrutkujte do hriadeľa nastavovacieho prvku.
-
Na skrutku nastavovacieho nástroja voľne nasaďte tvrdenú podložku, pružinu a napínaciu maticu pružiny.
-
Namontujte tyč plošiny tak, že umiestníte montážne ušká medzi podložku a nastavovací prvok tyče plošiny.
-
Tyč plošiny zaistite na oboch bočných doskách pomocou skrutiek tyče plošiny (matice na skrutkách) a 6 podložiek.
Note: Na obe strany výčnelka bočnej dosky umiestnite nylonovú podložku.
-
Na obe nylonové podložky zvonka umiestnite oceľové podložky (Obrázok 41).
-
Skrutky tyče plošiny utiahnite momentom 37 až 45 N∙m.
-
Poistné matice uťahujte, kým sa vonkajšia oceľová podložka neprestane otáčať a neodstráni sa koncová vôľa, no neuťahujte ich nadmerne ani nevychyľujte bočné dosky.
Note: Podložky na vnútornej strane môžu mať medzeru (Obrázok 41).
-
Uťahujte maticu na každej zostave nastavovacieho prvku tyče plošiny, kým sa kompresná pružina nestlačí, a potom maticu uvoľnite o ½ otočky (Obrázok 41).
-
Tento postup zopakujte na druhej strane rezacej jednotky.
-
Nastavte nôž plošiny na kotúči. Pozrite si časť Nastavenie noža plošiny na kotúči.
Servis valca
Na servis valca sú k dispozícii súprava na opravu valca (diel č. 114-5430) a súprava nástrojov na opravu valca (diel č. 115-0803) (Obrázok 42). Súprava na opravu valca zahŕňa všetky ložiská, matice ložísk, vnútorné a vonkajšie tesnenia na opravu valca. Súprava nástrojov na opravu valca zahŕňa všetky nástroje a pokyny na montáž potrebné na opravu valca pomocou súpravy na opravu valca. Pozrite si katalóg dielov alebo sa so žiadosťou o pomoc obráťte na autorizovaného distribútora spoločnosti Toro.



, ktorý znamená
Pozor, Výstraha alebo Nebezpečenstvo – osobné
bezpečnostné pokyny. Nedodržanie týchto
pokynov môže zapríčiniť zranenie
alebo smrť.



















