Kunnossapito
Leikkuuyksikön tukeminen
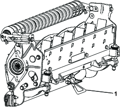
Jos leikkuuyksikköä on kallistettava kiinteän terän tai kelan esiin saamiseksi, nosta leikkuuyksikön takaosa tukitelineen (toimitetaan ajoyksikön mukana) varaan siten, että runkopalkin säätöruuvien takaosan mutterit eivät nojaa työpintaan (Kuva 25).

Leikkuuyksikköjen voitelu
Voitele kunkin leikkuuyksikön viisi rasvanippaa (Kuva 26) säännöllisesti litiumpohjaisella yleisrasvalla nro 2.
Eturullassa on kaksi voitelupistettä, takarullassa on kaksi voitelupistettä, ja kelamoottorin urassa on yksi voitelupiste.
Note: Mallissa 03192 ei ole eturullaa, vain takarullassa on kaksi voitelupistettä ja kelamoottorin urassa on yksi voitelupiste.
Important: Kun leikkuuyksiköt rasvataan heti pesun jälkeen, vesi saadaan poistettua paremmin laakereista, mikä pidentää laakereiden käyttöikää.
-
Pyyhi kukin rasvanippa puhtaalla kankaalla.
-
Levitä rasvaa, kunnes puhdasta rasvaa alkaa tihkua rullan tiivisteistä ja laakerin rajoitusventtiilistä.
-
Pyyhi pois ylimääräinen rasva.

Kelan tiedot
Kelan takatahkoaminen
Uudessa kelassa on 1,3–1,5 mm:n kierreleveys ja 30 asteen takatahkous.
Kun kierreleveys on suurempi kuin 3 mm, on tehtävä seuraavat toimenpiteet:
-
Tee kaikkiin kelan lehtiin 30 asteen takatahkous, kunnes kierreleveys on 1,3 mm (Kuva 27).

-
Hio kelaa, kunnes sen jättö on <0,025 mm.
Note: Tämä kasvattaa hieman kierreleveyttä.
Note: Kelan ja kiinteän terän leikkuureunan pysymistä terävänä voi pidentää tarkistamalla kelan ja/tai kiinteän terän hionnan jälkeen kelan ja kiinteän terän kosketuksen uudelleen kahden väylän leikkaamisen jälkeen. Tämä poistaa mahdolliset jäysteet, jotka voivat aiheuttaa virheellisen kelan ja kiinteän terän välyksen ja siten nopeuttaa kulumista.
-
Mittaa kelan ulkohalkaisija mittanauhan avulla molemmista päistä (Kuva 28). Päiden ulkohalkaisijoiden ero tulee olla alle 0,250 mm. Jos ero on suurempi, korjaa se hiomalla.
Note: Ulkohalkaisijan mittaamiseen tarkoitettua nauhaa on saatavana valtuutetulta Toro-jälleenmyyjältä.

Etuakselikokoonpanon asentaminen kelan hiomista varten
Important: Seuraavat osat on tilattava, jotta leikkuuyksikkö voidaan kiinnittää kelan hiomiskoneeseen:
| Määrä | Osa | Osanro |
| 2 | Etummainen leikkuukorkeuden kannatin | 125-2796 |
| 2 | Lukkopultti (⅜ × 1-½ tuumaa) | 3231-4 |
| 2 | Lukkomutteri (⅜ tuumaa) | 104-8301 |
| 2 | Kuusiopultti (5/16 × 1-⅛ tuumaa) | 322-16 |
| 1 | Eturullan akseli | 117-0957 |
-
Irrota kuljetusrullakokoonpanot (jos varusteena). Katso Kuljetusrullakokoonpanojen säätö (vain malli 03192).
-
Käytä lukkopultteja ja lukkomuttereita ja asenna etummaiset leikkuukorkeuden kannattimet sivulevyn ylimpään aukkoon (Kuva 29).
Important: Varmista, että leikkuukorkeuden kannatin on asennettu niin, että lukkopultti on ylimmässä aukossa, jotta leikkuukorkeuden kannatin on mahdollisimman matalalla.

-
Asenna akseli leikkuukorkeuden kannattimien alaosan aukkoon kahdella kuusiopultilla.
-
Varmista, että akseli on samansuuntainen leikkuuyksikön kanssa. Jos näin ei ole, löysää lukkopulttia matalammalla olevalta puolelta ja kiristä se uudelleen, kun akseli ja leikkuuyksikkö ovat samansuuntaiset.
Kiinteän terän huolto
Kiinteän terän huoltorajat on lueteltu seuraavassa taulukossa.
Important: Leikkuuyksikön käyttö kiinteän terän ollessa huoltorajan alapuolella voi heikentää leikkuujälkeä ja kiinteän terän rakenteellista lujuutta.
| Kiinteän terän huoltorajat (kiinteä terä, tuotanto) | ||||
| Kiinteä terä | Osanro | Kiinteän terän kielekkeen korkeus | Huoltoraja* | Ylä-/etuhiontakulmat |
| Alhainen leikkuukorkeus | 147-1248 (69 cm) | 5,6 mm | 4,8 mm | 10/5° |
| 147-1252 (81 cm) | ||||
| EdgeMax® | 137-6095 (69 cm) | 6,9 mm | 4,8 mm | 10/5° |
| Vakio | 147-1249 (malli 03189/90, 69 cm) | 6,9 mm | 4,8 mm | 10/5° |
| 147-1253 (malli 03191, 81 cm) | ||||
| Raskas käyttö | 147-1250 (malli 03192, 69 cm) | 9,3 mm | 4,8 mm | 10/5° |
| 147-1254 (81 cm) | ||||

Note: Kaikki kiinteän terän huoltorajan mitat on mitattu kiinteän terän pohjasta (Kuva 31).

Yläosan hiontakulman tarkistus
Kiinteän terän hiontakulma on erittäin tärkeä.
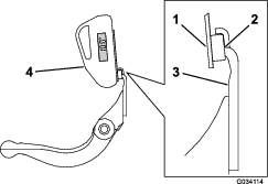
Hiontalaitteen kulma on tarkistettava kulman osoittimella (Toro-osanro 131-6828) ja kulman osoittimen kiinnittimellä (Toro-osanro 131-6829), ja mahdollinen epätarkkuus on korjattava.
-
Aseta kulman osoitin kiinteän terän alaosaan kuvan mukaisesti (Kuva 32).

-
Paina kulman osoittimen Alt Zero -painiketta.
-
Aseta kulman osoittimen kiinnitin kiinteän terän reunaan siten, että magneetin reuna kiinnittyy kiinteän terän reunaan (Kuva 33).
Note: Digitaalinäytön tulee näkyä samalta puolelta tämän vaiheen aikana kuin vaiheessa 1.

-
Aseta kulman osoitin kiinnittimeen kuvan mukaisesti (Kuva 33).
Note: Tämä on hiontalaitteen kulma, joka saa poiketa enintään kaksi astetta suositellusta yläosan hiontakulmasta.
Runkopalkin huolto
Runkopalkin irrotus
-
Käännä runkopalkin säätöruuveja vastapäivään, jotta kiinteä terä siirtyy etäämmälle kelasta (Kuva 34).

-
Löysää jousen kiristysmutteria, kunnes aluslaatta ei ole enää painunut runkopalkkia vasten (Kuva 34).
-
Löysää runkopalkin pultin lukkomutteria koneen molemmilta puolilta (Kuva 35).

-
Irrota kaikki runkopalkin pultit, jotta runkopalkki voidaan vetää alaspäin ja irrottaa leikkuuyksiköstä (Kuva 35).
Ota talteen kaksi nailonista aluslaattaa ja yksi teräsaluslaatta runkopalkin kummastakin päästä (Kuva 36).

Runkopalkin asennus
-
Asenna runkopalkki asettamalla asennuskorvakkeet aluslaatan ja runkopalkin säätöruuvin väliin.
Important: Keskitä DPA-säätimet runkopalkin korvakkeissa kuvan mukaisesti (Kuva 37).Jos DPA-säätimet on asennettu runkopalkin korvakkeita vasten, kiinteän terän ja kelan kosketus voi heiketä.

-
Kiinnitä runkopalkki molempiin sivulevyihin runkopalkin pulteilla (pulteissa mutterit) ja kolmella aluslaatalla (kuusi yhteensä).
-
Aseta nailoninen aluslaatta sivulevyn keskiön kummallekin puolelle. Aseta teräksinen aluslaatta jokaisen nailonaluslaatan ulkopuolelle (Kuva 36).
-
Kiristä runkopalkin pultit momenttiin 37–45 N∙m.
-
Kiristä runkopalkin lukkomuttereita hitaasti, kunnes ulompia teräksisiä aluslaattoja voi juuri ja juuri pyörittää käsin.
Important: Älä kiristä lukkomuttereita liikaa, sillä muuten sivulevyt voivat taipua.
Note: Nailonisessa aluslaatassa runkopalkin ja sivulevyn välissä on pieni rako.
-
Kiristä jousen kiristysmutteria, kunnes jousi on painunut kokoon, ja löysää sitten mutteria puoli kierrosta (Kuva 38).

Kiinteän terän tiedot
Kiinteän terän asennus
-
Poista ruoste, karsta ja korroosio runkopalkin pinnasta ja levitä ohut kerros öljyä runkopalkin pinnalle.
-
Puhdista ruuvikierteet.
-
Levitä ruuveihin lukkiintumisen estoainetta ja asenna kiinteä terä runkopalkkiin.

-
Kiristä kaksi ulompaa ruuvia momenttiin 1 N·m. Katso Kuva 40.
-
Aloita kiinteän terän keskeltä ja kiristä ruuvit momenttiin 23–28 N·m. Katso Kuva 40.

-
Hio kiinteä terä.
Kaksipistesäädettävien HD-leikkuuyksiköiden huolto
-
Irrota kaikki osat (katso HD DPA -sarjan asennusohjeet ja Kuva 41).
-
Levitä lukkiintumisenestoainetta holkin alueen sisäpuolelle leikkuuyksikön keskirunkoon (Kuva 41).
-
Kohdista laippaholkkien ulokkeet rungon koloihin ja asenna holkit (Kuva 41).
-
Asenna jousialuslaatta säätimen akseliin ja liu’uta säätimen akseli laippaholkkeihin leikkuuyksikön rungossa (Kuva 41).
-
Kiinnitä säätimen akseli litteällä aluslaatalla ja lukkomutterilla (Kuva 41).
-
Kiristä lukkomutteri momenttiin 20–27 N·m.
Note: Runkopalkin säätimen akselissa on vasemmanpuoleiset kierteet.

-
Levitä lukkiintumisenestoainetta säätimen akseliin sopivan runkopalkin säätöruuvin kierteisiin.
-
Kierrä runkopalkin säätöruuvi säätimen akseliin.
-
Asenna karkaistu aluslaatta, jousi ja jousen kiristysmutteri löysästi säätöruuviin.
-
Asenna runkopalkki asettamalla asennuskorvakkeet aluslaatan ja runkopalkin säätimen väliin.
-
Kiinnitä runkopalkki molempiin sivulevyihin runkopalkin pulteilla (pulteissa mutterit) ja kuudella aluslaatalla.
Note: Aseta nailoninen aluslaatta sivulevyn keskiön kummallekin puolelle.
-
Aseta teräksinen aluslaatta jokaisen nailonisen aluslaatan ulkopuolelle (Kuva 41).
-
Kiristä runkopalkin pultit momenttiin 37–45 N∙m.
-
Kiristä lukkomuttereita, kunnes ulompi teräksinen aluslaatta ei enää käänny eikä päittäisvälystä enää ole, mutta älä kiristä liikaa äläkä taivuta sivulevyjä.
Note: Sisäpuolella olevissa aluslaatoissa saa olla rako (Kuva 41).
-
Kiristä kunkin runkopalkin säädinkokoonpanon mutteria, kunnes painejousi on puristunut kokonaan kasaan. Löysää mutteria sitten puoli kierrosta (Kuva 41).
-
Tee sama leikkuuyksikön toisessa päässä.
-
Säädä kiinteä terä kelaan. Katso Kiinteän terän kohdistus kelaan.
Rullan huolto
Rullan huoltoa varten on saatavana rullan korjaussarja (osanro 114-5430) ja rullan korjaussarjan työkalusarja (osanro 115-0803) (Kuva 42). Rullan korjaussarja sisältää kaikki rullan korjauksessa tarvittavat laakerit, laakerimutterit sekä sisä- ja ulkotiivisteet. Rullan korjaussarjan työkalusarja sisältää kaikki rullan korjaussarjan käytössä tarvittavat työkalut ja asennusohjeet. Lisätietoja saa osaluettelosta tai valtuutetulta Toro-jälleenmyyjältä.



, joka tarkoittaa varoitusta,
vaaraa tai hengenvaaraa – henkilöturvallisuusohjeet. Ohjeiden
laiminlyönti saattaa johtaa henkilövahinkoon tai kuolemaan.



















