Karbantartás
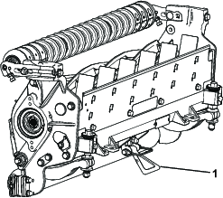
A nyíróegység alátámasztása
Amikor a nyíróegységet fel kell billenteni a fenékkéshez/hengerkéshez való hozzáféréshez, támassza alá a nyíróegység hátulját a kihajtható támasszal (a vontatóegység tartozéka), de úgy, hogy a fenékkésrúd-állító csavar hátsó végén az anyák ne érjenek a munkafelülethez (Ábra 25).

A nyíróegységek kenése
Pumpáljon rendszeresen 2. sz lítiumos kenőzsírt a nyíróegységek 5 zsírzószemébe (Ábra 26).
Az első hengernél 2, a hátsó hengernél 2, a hengerkésmotor bordáinál pedig 1 kenési pont található.
Note: A 03192 típuson nincs első henger; a hátsó hengernél csak 2 kenési pont található, 1 pedig a hengerkésmotor bordáinál.
Important: Ha a lemosást követően rögtön elvégzi a nyíróegység kenését, azzal segít vízteleníteni a csapágyakat és meghosszabbítani a csapágyak élettartamát.
-
Törölje le mindegyik zsírzószemet tiszta ronggyal.
-
Addig pumpálja a zsírt, amíg tiszta zsírt nem lát kijönni a henger tömítéseinél és a csapágy biztonsági szelepénél.
-
Törölje le a felesleges zsírt.

A hengerkés műszaki adatai
A hengerkés hátraköszörülése
Új hengerkésnél a profilszélesség 1,3–1,5 mm, a hátraköszörülési szög pedig 30°-os.
Ha a profilszélesség 3 mm-nél nagyobbra nő, végezze el az alábbi eljárást:
-
Végezzen 30°-os hátraköszörülést az összes hengerkéspengén, amíg ki nem alakul az 1,3 mm profilszélesség (Ábra 27).

-
Köszörülje meg forgatva a hengerkést, hogy az ütése <0,025 mm legyen.
Note: Ettől a profilszélesség kissé megnő.
Note: A hengerkés és a fenékkés élességének minél hosszabb megőrzése érdekében – a hengerkés vagy a fenékkés megköszörülése után – 2 rend lenyírását követően ellenőrizze újra a hengerkés és a fenékkés érintkezésének beállítását, hogy minden sorja el legyen távolítva, mivel azok helytelen érintkezési hézagot eredményezhetnek, és ezért felgyorsíthatják a kopást.
-
Mérje meg erre alkalmas mérőszalaggal a hengerkés külső átmérőjét annak mindkét végén (Ábra 28); hengerkés külső átmérőjének a két végén megállapított értéke közti eltérés nem érheti el a 0,250 mm-t. Ha az eltérés ennél nagyobb, köszörülje le a különbséget.
Note: A Toro-forgalmazónál kapható mérőszalag a külső átmérő méréséhez.

Az első tengelyegység felszerelése a hengerkés köszörüléséhez
Important: A következő alkatrészeket kell megrendelnie ahhoz, hogy a vágóegység felszerelhető legyen a hengerkés köszörülő gépre:
| Menny. | Alkatrész | Cikksz. |
| 2 | Első vágásmagasság-konzol | 125-2796 |
| 2 | Csúszkacsavar (⅜ × 1½") | 3231-4 |
| 2 | Rögzítőanya (⅜") | 104-8301 |
| 2 | Hatlapfejű csavar (5/16 × 1⅛") | 322-16 |
| 1 | Első hengertengely | 117-0957 |
-
Távolítsa el a műhelygörgő egységeket (ha vannak); lásd: A műhelygörgő egységek beállítása (csak 03192 típus).
-
Rögzítse az első vágásmagasság-konzolokat az oldalsó lemez felső nyílásába a kapupántcsavarok és a rögzítőanyák segítségével (Ábra 29).
Important: A vágásmagasság-konzol a kapupántcsavarral a nyílás felső szélénél legyen rögzítve, hogy a vágásmagasság-konzol a lehető legalacsonyabb helyzetbe kerüljön.

-
Rögzítse a tengelyt a vágásmagasság-konzolok aljához a 2 hatlapfejű csavarral.
-
Ügyeljen rá, hogy a tengely párhuzamos legyen a vágóegységgel; ha nem az, lazítsa meg a kapupántcsavart az alsó oldalon, majd húzza meg, amikor a tengely már párhuzamos.
A fenékkés szervizelése
Az alábbi táblázat a fenékkés szervizelési határértékeit tartalmazza.
Important: Ha a nyíróegységet a fenékkés szervizelési határértéke alatt használja, a nyíráskép és a fenékkés ütésekkel szembeni szerkezeti épsége is romlik.
| A fenékkés szervizelési határérték-táblázata (gyári fenékkés) | ||||
| Fenékkés | Cikksz. | A fenékkés élmagassága | Szervizelési határérték* | Felső/elülső köszörülési szög |
| Kis vágásmagasság | 147-1248 (69 cm) | 5,6 mm | 4,8 mm | 10/5° |
| 147-1252 (81 cm) | ||||
| EdgeMax® | 137-6095 (69 cm) | 6,9 mm | 4,8 mm | 10/5° |
| Standard | 147-1249 (03189/90, 69 cm-es) | 6,9 mm | 4,8 mm | 10/5° |
| 147-1253 (03191, 81 cm-es) | ||||
| Nagy teljesítményű | 147-1250 (03192, 69 cm-es) | 9,3 mm | 4,8 mm | 10/5° |
| 147-1254 (81 cm) | ||||

Note: Az összes szervizelési határértékét az alsókés alsó síkjától kell mérni (Ábra 31).

A felső köszörülési szög ellenőrzése
A fenékkés élezésénél nagyon fontos a köszörülési szög szerepe.
A szögmérő (Toro-cikkszám: 131-6828) és a szögmérőtartó (Toro-cikkszám: 131-6829) segítségével ellenőrizheti a köszörült szöget, és helyesbítheti az esetleges pontatlanságot.
-
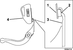
Helyezze a szögmérőt a fenékkés aljára a Ábra 32 szerint.

-
Nyomja meg a szögmérő nullázó gombját.
-
Helyezze a szögmérőtartót a fenékkés aljára úgy, hogy a mágnes széle a fenékkés élére feküdjön fel (Ábra 33).
Note: A digitális kijelzőnek ugyanarról az oldalról kell láthatónak lennie, mint az 1. lépésnél.

-
Helyezze a szögmérőt a tartóra a Ábra 33 szerint.
Note: Ez az a szög, amelyet a köszörűgép hoz létre, és amely a javasolt értéktől legfeljebb 2°-kal térhet el.
A fenékkésrúd szervizelése
A fenékkésrúd eltávolítása
-
A fenékkésrúd-állítócsavarokat az óra járásával ellentétesen elforgatva távolítsa el a fenékkést a hengerkéstől (Ábra 34).

-
Lazítson annyit a rugófeszítő anyán, hogy az alátét már ne szoruljon a fenékkésrúdnak (Ábra 34).
-
Lazítsa meg a fenékkésrúdcsavart rögzítő anyát a gép mindkét oldalán (Ábra 35).

-
Szerelje ki mindkét fenékkésrúdcsavart, hogy a fenékkésrúd lefelé húzva eltávolítható legyen a nyíróegységről (Ábra 35).
Ügyeljen a 2 nejlon alátétre és az 1 acél alátétre a fenékkésrúd két oldalán (Ábra 36).

A fenékkésrúd felszerelése
-
Szerelje fel a fenékkésrudat és a rögzítőfüleket az alátét és a fenékkésrúd-állító csavar közé illesztve.
Important: Igazítsa középre a fenékkésrúd fülein lévő DPA-beállítókat a Ábra 37 szerint.Ha a DPA-beállítók a fenékkésrúd fülei mellé vannak szerelve, az negatívan érintheti a fenékkés-hengerkés kapcsolatot.

-
Rögzítse a fenékkésrudat az oldalsó lemezekhez a fenékkésrúdcsavarok (anyákkal a csavarokon) és az oldalanként 3 (összesen 6) alátét segítségével.
-
Tegyen nejlon alátétet az oldalsó lemez nyúlványának mindkét oldalára. Tegyen acél alátétet a nejlon alátétek külső oldalára (Ábra 36).
-
Húzza meg a fenékkésrúdcsavarokat 37–45 N·m nyomatékkal.
-
Lassan húzza meg a fenékkésrudat rögzítő anyát, amíg a külső acél alátéteket tudja kézzel forgatni.
Important: Ne húzza meg túlságosan a rögzítőanyákat, mert meggörbíthetik az oldalsó lemezeket.
Note: A fenékkésrúd és az oldalsó lemez közötti nejlon alátéten lesz egy kis hézag.
-
Húzza meg a rugófeszítő anyát annyira, hogy a rugó teljesen összenyomódjon, majd engedjen vissza ½ menetet (Ábra 38).

A fenékkés műszaki adatai
A fenékkés felszerelése
-
Távolítsa el a rozsdát és egyéb lerakódásokat a fenékkésről, és vonja be vékony réteg olajjal a felületét.
-
Tisztítsa meg a csavarmeneteket.
-
Kenjen beragadásgátló pasztát a csavarokra, majd szerelje fel a fenékkést a fenékkésrúdra.

-
Húzza meg a 2 külső csavart 1 N·m nyomatékkal; lásd: Ábra 40.
-
A fenékkés közepétől kezdve húzza meg a csavarokat 23–28 N·m nyomatékkal; lásd: Ábra 40.

-
Köszörülje meg a fenékkést.
A kétpontos HD-állítószerkezetek (DPA) szervizelése
-
Távolítsa el az összes alkatrészt (a HD DPA-készlet Felszerelési utasításai és a Ábra 41 alapján).
-
Kenjen beragadásgátló pasztát a nyíróegység központi vázán a persely helyére (Ábra 41).
-
Igazítsa a karimás perselyek ékét a váz réséhez, majd szerelje be a perselyeket (Ábra 41).
-
Szereljen fel egy hullámos alátétet az állítótengelyre, majd csúsztassa be az állítótengelyt a nyíróegység vázának karimás perselyeibe (Ábra 41).
-
Rögzítse az állítótengelyt lapos alátét és rögzítőanya segítségével (Ábra 41).
-
Húzza meg a rögzítőanyát 20–27 N·m nyomatékkal.
Note: A fenékkésrúd-állító tengely balmenetes.

-
Vigyen fel beragadásgátló pasztát az állítótengelybe szerelendő fenékkésrúd-állító csavar meneteire.
-
Hajtsa be a fenékkésrúd-állító csavart az állítótengelybe.
-
Szerelje fel az edzett alátétet, a rugót és a rugófeszítő anyát az állítócsavarra, de ne szorosan.
-
Szerelje fel a fenékkésrudat a rögzítőfüleket az alátét és a fenékkésrúd-beállító szerkezet közé illesztve.
-
Rögzítse a fenékkésrudat az oldalsó lemezekhez a fenékkésrúdcsavarok (anyákkal a csavarokon) és a 6 alátét segítségével.
Note: Tegyen nejlon alátétet az oldalsó lemez nyúlványának mindkét oldalára.
-
Tegyen acél alátétet a nejlon alátétek külső oldalára (Ábra 41).
-
Húzza meg a fenékkésrúdcsavarokat 37–45 N·m nyomatékkal.
-
Húzza meg a rögzítőanyákat annyira, hogy a külső acél alátét már ne tudjon elforogni, és ne legyen tengelyirányú játék, de ne húzza túl a rögzítőanyákat, mert az oldalsó lemezek elgörbülhetnek.
Note: A belső alátéteknél hézag is lehet (Ábra 41).
-
Húzza meg az anyát mindkét fenékkésrúd-beállító egységen annyira, hogy a rugó teljesen összenyomódjon, majd engedjen vissza ½ menetet (Ábra 41).
-
Ismételje meg az eljárást a nyíróegység másik oldalán is.
-
A fenékkés beállítása a hengerkéshez; lásd: A fenékkés beállítása a hengerkéshez.
A henger szervizelése
A henger szervizeléséhez hengerfelújító készlet (cikkszám: 114-5430) és hengerfelújító szerszámkészlet (cikkszám: 115-0803) (Ábra 42) kapható. A hengerfelújító készlet tartalmazza a henger felújításához szükséges összes csapágyat, csapágyanyát, belső tömítést és külső tömítést. A hengerfelújító szerszámkészlet minden szerszámot és szerelési utasítást tartalmaz a hengernek a henger felújító készlettel történő felújításához. Segítségért tekintse át az alkatrész-katalógust vagy forduljon a hivatalos Toro-forgalmazóhoz.



), amelynek jelentése lehet Figyelem, Vigyázat
vagy Veszély – személyes biztonsági utasítások.
Az utasítások be nem tartása személyi
sérülést vagy halált okozhat.



















