Wartung
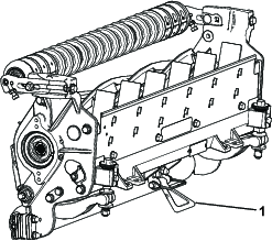
Abstützen der Schneideinheit
Wenn Sie die Schneideinheit kippen müssen, um das Untermesser bzw. die Spindel zugänglich zu machen, stützen Sie das Heck des Mähwerks mit dem Ständer (wird mit der Zugmaschine geliefert) ab, um sicherzustellen, dass die Muttern hinten an den Einstellschrauben des Untermesserträgers nicht auf der Arbeitsfläche aufliegen (Bild 25).

Einfetten der Schneideinheiten
Fetten Sie die fünf Schmiernippel an jede Schneideinheit (Bild 26) regelmäßig mit Nr. 2 Schmierfett auf Lithiumbasis ein.
Die Frontrolle und Heckrolle haben zwei Schmierstellen und die Spindelmotorwelle hat eine Schmierstelle.
Note: Das Modell 03192 besitzt keine Frontrolle; es gibt nur die zwei Schmierstellen an der hinteren Rolle und eine an der Verzahnung des Trommelmotors.
Important: Fetten Sie die Mähwerke sofort nach dem Waschen ein, damit noch verbleibendes Wasser aus den Lagern entfernt wird. Auf diese Weise erhöht sich die Lebensdauer der Lager.
-
Wischen Sie jeden Schmiernippel mit einem sauberen Lappen ab.
-
Tragen Sie Schmiermittel auf, bis sauberes Schmiermittel aus den Dichtungen der Rolle und dem Überdruckventil des Lagers austritt.
-
Entfernen Sie überschüssiges Fett mit einem Tuch.

Technische Daten der Spindel
Hinterschleifen der Spindel
Die neue Spindel hat eine Kante von 1,3 mm bis 1,5 mm und einen Hinterschliff von 30°.
Wenn die Kante breiter als 3 mm ist, führen Sie folgende Schritte aus:
-
Tragen Sie einen Nachschliff von 30° auf alle Messerspindeln auf, bis die Kante 1,3 mm breit ist (Bild 27).

-
Fräsen Sie die Spindeln, um einen Spindelauslauf von <0,025 mm zu erzielen.
Note: Dies verursacht eine geringe Zunahme der Kante.
Note: Um die Kante der Spindel und des Untermessers länger scharf zu halten, prüfen Sie nach dem Fräsen der Spindel und/oder des Untermessers nach dem Mähen von zwei Fairways den Kontakt zwischen Spindel und Untermesser erneut, da alle Grate entfernt sind und dies zu einem falschen Abstand zwischen Spindel und Untermesser führen kann; dies beschleunigt die Abnutzung.
-
Messen Sie mit einem Durchmesser-Messband den Außendurchmesser der Spindel an beiden Enden (Bild 28); der Unterschied im Außendurchmesser zwischen den Enden sollte weniger als 0,25 mm betragen. Wenn die Differenz größer ist, schleifen Sie die Spindel, um die Differenz zu korrigieren.
Note: Das Messband für den Außendurchmesser ist bei Ihrem Toro Vertragshändler erhältlich.

Einbau der vorderen Wellenbaugruppe zum Spindelschleifen
Important: Damit das Mähwerk an eine Spindelschleifmaschine montiert werden kann, müssen die folgenden Teile bestellt werden:
| Menge | Teil | Bestellnummer |
| 2 | Vordere Schnitthöhenhalterung | 125-2796 |
| 2 | Schlossschraube (⅜" x 1½") | 3231-4 |
| 2 | Sicherungsmutter (⅜") | 104-8301 |
| 2 | Sechskantschraube (5/16 x 1⅛") | 322-16 |
| 1 | Frontrollenwelle | 117-0957 |
-
Entfernen Sie die Werkstattrollenbaugruppen (falls vorhanden); siehe Einstellen der Transportrollen (nur Modell 03192)..
-
Montieren Sie die vorderen Schnitthöhenhalterungen mit den Schlossschrauben und Sicherungsmuttern an der oberen Bohrung der Seitenplatte (Bild 29).
Important: Achten Sie darauf, dass die Schnitthöhenhalterung so montiert wird, dass die Schlossschraube oben im Schlitz sitzt, so dass die Schnitthöhenhalterung so niedrig wie möglich ist.

-
Befestigen Sie die Welle mit den 2 Sechskantschrauben an der Unterseite der Schnitthöhenhalterung.
-
Vergewissern Sie sich, dass die Welle parallel zum Mähwerk verläuft; ist dies nicht der Fall, lösen Sie die Schlossschraube auf der unteren Seite und ziehen Sie sie wieder fest, wenn die Welle parallel verläuft.
Warten des Untermessers
Die Wartungslimits für das Untermesser werden in der folgenden Tabelle aufgeführt.
Important: Wenn Sie das Mähwerk mit einem Untermesser einsetzen, das unter dem Wartungslimit liegt, erhalten Sie ggf. ein schlechtes Schnittbild, und das Untermesser hat bei Aufprallungen eine geringere strukturelle Integrität.
| Wartungslimittabelle des Untermessers (Produktionsuntermesser) | ||||
| Untermesser | Bestellnummer | Höhe der Untermesserlippe | Wartungslimit* | Schleifwinkel oben/vorne |
| Niedrige Schnitthöhe | 147-1248 (69 cm) | 5,6 mm | 4,8 mm | 10/5° |
| 147-1252 (82 cm) | ||||
| EdgeMax® | 137-6095 (69 cm) | 6,9 mm | 4,8 mm | 10/5° |
| Standard | 147-1249 (Modell 03189/90, 69 cm) | 6,9 mm | 4,8 mm | 10/5° |
| 147-1253 (Modell 03191, 81 cm) | ||||
| Heavy-Duty | 147-1250 (Modell 03192, 69 cm) | 9,3 mm | 4,8 mm | 10/5° |
| 147-1254 (82 cm) | ||||

Note: Alle Werte für das Untermesserwartungslimit beziehen sich auf die Unterseite des Untermessers (Bild 31).

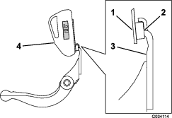
Prüfen der oberen Schleifneigung
Die Neigung, den Sie zum Schleifen der Untermesser verwenden, spielt eine große Rolle.
Prüfen Sie mit dem Neigungsmesser (Toro Bestellnummer 131-6828) und der Neigungsmesserbefestigung (Toro Bestellnummer 131-6829) die von der Schleifmaschine erstellte Neigung und korrigieren Sie dann mögliche Ungenauigkeiten der Schleifmaschine.
-
Positionieren Sie den Neigungsmesser an der Unterseite des Untermessers, wie in Bild 32 abgebildet.

-
Drücken Sie die Taste Alt Zero“ auf dem Neigungsmesser.
-
Legen Sie die Neigungsmesserbefestigung an die Kante des Untermessers, sodass die Kante des Magnets bündig mit der Kante des Untermessers ist (Bild 33).
Note: Die digitale Anzeige sollte in diesem Schritt von der gleichen Seite wie in Schritt 1 sichtbar sein.

-
Legen Sie den Neigungsmesser auf die Befestigung, wie in Bild 33 abgebildet.
Note: Dies ist die Neigung, die die Schleifmaschine erstellt; sie sollte innerhalb von 2° der empfohlenen oberen Schleifneigung sein.
Warten des Untermesserträgers
Entfernen des Untermesserträgers
-
Drehen Sie die Einstellschrauben des Untermesserträgers nach links, um den Abstand zwischen Untermesser und Spindel zu vergrößern (Bild 34).

-
Drehen Sie die Federspannungsmutter so weit hinaus, bis die Scheibe nicht mehr gegen den Untermesserträger angespannt ist (Bild 34).
-
Lösen Sie an jeder Seite der Maschine die Sicherungsmutter, mit der die Schraube des Untermesserträgers befestigt ist (Bild 35).

-
Nehmen Sie jede Schraube des Untermesserträgers ab, damit der Untermesserträger nach unten gezogen und von der Schneideinheit entfernt werden kann (Bild 35).
Bewahren Sie die beiden Nylonscheiben und die Stahlscheibe von den beiden Enden des Untermesserträgers auf (Bild 36).

Einbauen des Untermesserträgers
-
Montieren Sie den Untermesserträger. Positionieren Sie die Befestigungsohren zwischen der Scheibe und der Untermesserträger-Stellschraube.
Important: Zentrieren Sie die DPA-Einsteller in die Ösen der Untermesserträger, wie in Bild 37 dargestellt.Wenn die DPA-Einsteller an den Ösen der Untermesserträger angebracht werden, kann dies den Kontakt zwischen Untermesser und Spindel beeinträchtigen.

-
Befestigen Sie den Untermesserträger mit den Untermesserträgerschrauben (Muttern an den Schrauben) und den drei Scheiben (6 insgesamt) an jeder Seitenplatte.
-
Legen Sie eine Nylonscheibe auf jede Seite des Seitenplattenansatzes. Legen Sie eine Stahlscheibe außen auf jede Nylonscheibe (Bild 36).
-
Ziehen Sie die Schrauben des Untermesserträgers mit 37-45 N·m an.
-
Ziehen Sie die Sicherungsmuttern des Untermessers langsam an, bis sich die äußeren Stahlscheiben gerade noch von Hand drehen lassen.
Important: Ziehen Sie die Sicherungsmuttern nicht zu fest an, da sich sonst die Seitenplatten verformen können.
Note: Die Nylonscheibe zwischen dem Untermesser und der Gleitplatte wird einen kleinen Spalt haben.
-
Ziehen Sie die Federspannungsmutter an, bis die Feder zusammengedrückt ist, drehen Sie sie dann um eine halbe Umdrehung heraus (Bild 38).

Technische Daten für das Untermesser
Montieren des Untermessers
-
Entfernen Sie Rost, Kalk oder Korrosion von der Oberseite des Untermesserträgers und tragen Sie einen dünnen Ölfilm auf die Oberfläche des Untermesserträgers auf.
-
Reinigen Sie das Schraubengewinde.
-
Tragen Sie Gewindesicherungslack auf die Schrauben auf und befestigen Sie das Untermesser am Untermesserträger.

-
Ziehen Sie die zwei äußeren Schrauben auf ein Drehmoment von 1 N·m an, siehe Bild 40.
-
Fangen Sie in der Mitte des Untermessers an und ziehen Sie die Schrauben auf ein Anzugsmoment von 23-28 N·m fest, siehe Bild 40.

-
Schleifen Sie das Untermesser.
Warten der HD-DPAs (Dual Point Adjuster)
-
Entfernen Sie alle Teile (siehe Installationsanleitung für das HD-DPA-Kit und Bild 41).
-
Tragen Sie ein Gleitmittel innen im Büchsenbereich am mittleren Schneideinheitsrahmen auf (Bild 41).
-
Fluchten Sie die Keile an den Flanschbüchsen mit den Schlitzen im Rahmen aus und setzen Sie die Büchsen ein (Bild 41).
-
Legen Sie eine Wellenscheibe auf die Einstellerwelle und schieben Sie die Einstellerwelle auf die Flanschbüchsen im Rahmen der Schneideinheit (Bild 41).
-
Befestigen Sie die Einstellerwelle mit einer Flachscheibe und einer Sicherungsmutter (Bild 41).
-
Ziehen Sie die Sicherungsmutter mit 20-27 N·m an.
Note: Die Einstellerwelle des Untermesserträgers hat ein Linksgewinde.

-
Tragen Sie ein Gleitmittel auf das Gewinde der Einstellschraube für den Untermesserträger auf, die in die Einstellerwelle passt.
-
Schrauben Sie die Einstellschraube für den Untermesserträger in die Einstellerwelle.
-
Befestigen Sie die gehärtete Scheibe, Feder und Federspannungsmutter lose auf der Einstellerschraube.
-
Montieren Sie den Untermesserträger. Positionieren Sie die Befestigungsohren zwischen der Druckscheibe und dem Einsteller für den Untermesserträger.
-
Befestigen Sie den Untermesserträger mit den Untermesserträgerschrauben (Muttern an den Schrauben) und den sechs Scheiben an jeder Seitenplatte.
Note: Legen Sie eine Nylonscheibe auf jede Seite des Seitenplattenansatzes.
-
Legen Sie eine Stahlscheibe außen auf jede Nylonscheibe (Bild 41).
-
Ziehen Sie die Schrauben des Untermesserträgers mit 37-45 N·m an.
-
Ziehen Sie die Sicherungsmuttern an, bis sich die Stahlscheibe außen nicht mehr dreht und kein Spiel am Ende vorhanden ist, ziehen Sie jedoch nicht zu stark an oder verbiegen Sie die Seitenplatten.
Note: Die Scheiben innen können einen Abstand aufweisen (Bild 41).
-
Ziehen Sie die Mutter an jedem Untermesserträgereinsteller an, bis die Druckfeder ganz zusammengedrückt ist, lösen Sie die Mutter dann um eine halbe Umdrehung (Bild 41).
-
Wiederholen Sie die Schritte an der anderen Seite der Schneideinheit.
-
Stellen Sie das Untermesser zur Spindel ein, siehe Einstellen des Untermessers auf die Spindel.
Warten der Rolle
Für das Warten der Rolle ist ein Kit zum Überholen der Rolle, Bestellnummer 114-5430 und ein Werkzeugkasten, Bestellnummer 115-0803 (Bild 42) erhältlich. Das Kit zum Überholen der Rolle enthält alle Lager, Lagermuttern, inneren und äußeren Dichtungen, die für eine Überholung der Rolle benötigt werden. Der Werkzeugkasten zum Überholen der Rolle enthält alle Werkzeuge und die Installationsanweisungen, die für eine Überholung der Rollen mit dem Kit zum Überholen der Rollen benötigt werden. Weitere Informationen finden Sie im Ersatzteilkatalog oder wenden Sie sich an den Vertragshändler.



, es bedeutet Vorsicht,
Warnung oder Gefahr – Sicherheitshinweis“. Wenn
diese Hinweise nicht beachtet werden, kann es zu schweren bis tödlichen
Verletzungen kommen.



















