Техническое обслуживание
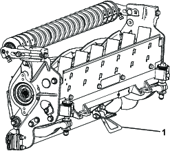
Поддержка режущего блока с помощью опоры
Если режущий блок необходимо наклонить, чтобы получить доступ к неподвижному ножу / барабану, приподнимите заднюю часть режущего блока с помощью откидной подставки (поставляется с тяговым блоком), чтобы убедиться в том, что гайки с обратной стороны регулировочных винтов планки неподвижного ножа не упираются в рабочую поверхность (Рисунок 25).

Смазывание режущих блоков
Регулярно закачивайте в 5 масленок, расположенных на каждом режущем блоке (Рисунок 26), литиевую смазку № 2.
Две точки смазки расположены на переднем валике, две – на заднем валике и одна – на шлице двигателя барабана.
Note: На модели 03192 нет переднего ролика; имеются только 2 точки смазки на заднем ролике и 1 – на шлицах двигателя барабана.
Important: Смазка режущих блоков непосредственно после их очистки поможет удалить воду из подшипников и продлить срок их службы.
-
Протрите все масленки чистой ветошью.
-
Вводите смазку до появления чистой смазки из уплотнений роликов и предохранительного клапана подшипника.
-
Удалите излишки смазки.

Технические данные барабана
Затыловочное шлифование барабана
Ширина витка нового барабана составляет от 1,3 до 1,5 мм, он заточен затыловочным шлифованием под 30 градусов.
Когда ширина витка становится больше 3 мм, выполните следующие действия:
-
Произведите 30-градусное затыловочное шлифование всех ножей барабана, пока не будет достигнута ширина витка 1,3 мм (Рисунок 27).

-
Выполните шлифование методом вращения барабана, чтобы биение барабана было меньше 0,025 мм.
Note: При этом ширина витка немного увеличится.
Note: Чтобы кромки барабана и неподвижного ножа оставались острыми в течение максимально продолжительного периода времени после шлифования барабана и/или неподвижного ножа, проверьте контакт барабана с неподвижным ножом еще раз после скашивания двух фарвеев, так как при этом будут удалены любые оставшиеся заусенцы, что может привести к нарушению зазора между барабаном и неподвижным ножом и тем самым ускорить износ.
-
Используя рулетку для измерения диаметров, измерьте наружный диаметра барабана на обоих концах (Рисунок 28); разница наружных диаметров на разных концах должна быть меньше 0,010 дюйма (0,250 мм). Если разница больше, заточите, чтобы устранить ее.
Note: Рулетку для измерения наружных диаметров можно приобрести у официального дистрибьютора компании Toro.

Установка переднего вала в сборе для шлифования барабана
Important: Для того, чтобы режущий блок подошел для машины шлифования барабана, необходимо заказать указанные ниже детали.
| К-во | Деталь | № по каталогу |
| 2 | Передний кронштейн НОС | 125-2796 |
| 2 | Каретный болт (⅜ x 1½ дюйма) | 3231-4 |
| 2 | Контргайка (⅜ дюйма) | 104-8301 |
| 2 | Болт с шестигранной головкой (5/16 x 1-1/8 дюйма) | 322-16 |
| 1 | Вал переднего валика | 117-0957 |
-
Снимите заводские валики в сборе (при наличии); см. Регулировка положения роликовых узлов заводской сборки (только для модели 03192).
-
С использованием каретных болтов и контргаек закрепите передние кронштейны HoC в верхних отверстиях боковой пластины (Рисунок 29).
Important: С использованием каретного болта обеспечьте размещение кронштейна HOC в верхней части прорези так, чтобы кронштейн HOC занимал как можно более низкое положение.

-
С помощью 2 шестигранных болтов установите вал в нижней части кронштейнов HOC
-
Убедитесь в том, что вал параллелен режущему блоку; в ином случае ослабьте каретный болт на нижней стороне и снова затяните его при параллельном расположении вала.
Обслуживание неподвижного ножа
Эксплуатационные пределы неподвижного ножа приведены в следующей таблице.
Important: Эксплуатация режущего блока с неподвижным ножом, параметры которого ниже «эксплуатационного предела», может привести к неудовлетворительному результату скашивания и снижению прочности конструкции неподвижного ножа при ударах.
| Таблица эксплуатационного предела неподвижного ножа (серийного неподвижного ножа) | ||||
| Неподвижный нож | № по каталогу | Высота режущей кромки неподвижного ножа | Эксплуатационный предел* | Верхний/передний углы заточки |
| Низкая высота скашивания | 147-1248 (27 дюймов) | 5,6 мм | 4,8 мм | 10/5° |
| 147-1252 (32 дюйма) | ||||
| EdgeMax® | 137-6095 (27 дюймов) | 6,9 мм | 4,8 мм | 10/5° |
| Стандартный | 147-1249 (модель 03189/90, 27 дюймов) | 6,9 мм | 4,8 мм | 10/5° |
| 147-1253 (модель 03191, 32 дюйма) | ||||
| Для тяжелых условий эксплуатации | 147-1250 (модель 03192, 27 дюймов) | 9,3 мм | 4,8 мм | 10/5° |
| 147-1254 (32 дюйма) | ||||

Note: Все измерения эксплуатационного предела неподвижного ножа выполняются относительно нижней части неподвижного ножа (Рисунок 31).

Проверка верхнего угла заточки
Угол заточки неподвижных ножей очень важен.
С помощью индикатора угла (№ детали 131-6828 по каталогу Toro) и крепления для индикатора угла (номер детали 131-6829 по каталогу Toro) проверьте угол, который обеспечивает устройство для заточки, и при несовпадении скорректируйте его.
-
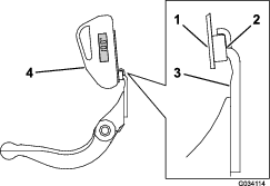
Установите индикатор угла на нижней стороне неподвижного ножа, как показано на Рисунок 32.

-
Нажмите кнопку Alt Zero (Нулевая высота) на индикаторе угла.
-
Установите крепление индикатора угла на кромке неподвижного ножа так, чтобы кромка магнита совпала с кромкой неподвижного ножа (Рисунок 33).
Note: При выполнении действий, описанных в данном пункте, цифровой дисплей должно быть видно с той же стороны, что и при выполнении действий, описанных в пункте 1.

-
Установите индикатор угла на крепление, как показано на Рисунок 33.
Note: Это угол, получаемый с помощью устройства для заточки, не должен отличаться не более чем на 2° от рекомендованного верхнего угла заточки.
Техническое обслуживание неподвижного ножа
Демонтаж неподвижного ножа
-
Поворачивайте регулировочные винты планки неподвижного ножа против часовой стрелки, чтобы отодвинуть неподвижный нож от барабана (Рисунок 34).

-
Отвинчивайте гайку натяжения пружины до тех пор, пока шайба больше не будет нажимать на планку неподвижного ножа (Рисунок 34).
-
С каждой стороны машины ослабьте контргайку, крепящую болт планки неподвижного ножа (Рисунок 35).

-
Отверните каждый болт планки неподвижного ножа, чтобы можно было потянуть планку вниз и снять ее с режущего блока (Рисунок 35).
Не забудьте о наличии 2 нейлоновых шайб и 1 стальной шайбы с каждой стороны неподвижного ножа (Рисунок 36).

Установка неподвижного ножа
-
Установите планку неподвижного ножа, расположив монтажные проушины между шайбой и регулировочным винтом планки неподвижного ножа.
Important: Выровните регуляторы DPA по центрам проушин планки неподвижного ножа, как показано на Рисунок 37.Если регуляторы DPA установлены напротив проушин планки неподвижного ножа, это может отрицательно повлиять на контакт неподвижного ножа с барабаном.

-
Прикрепите планку неподвижного ножа к боковым пластинам с помощью болтов планки неподвижного ножа (гаек на болтах) и 3 шайб (всего 6 шт.).
-
С каждой стороны установите нейлоновую шайбу на выступ боковой пластины. На нейлоновые шайбы установите стальные шайбы (Рисунок 36).
-
Затяните болты планки неподвижного ножа с моментом от 37 до 45 Н∙м.
-
Медленно затяните контргайки планки неподвижного ножа до тех пор, пока наружные стальные шайбы не будут вращаться вручную.
Important: Во избежание деформации боковых пластин не затягивайте контргайки слишком сильно.
Note: Нейлоновая шайба между планкой неподвижного ножа и боковой пластиной будет иметь небольшой зазор.
-
Затяните гайку натяжения пружины так, чтобы пружина полностью сжалась, затем отверните ее на 1/2 оборота (Рисунок 38).

Технические характеристики неподвижных ножей
Установка неподвижного ножа
-
Удалите ржавчину, окалину и коррозию с поверхности планки неподвижного ножа и нанесите тонкий слой масла на его поверхность.
-
Очистите резьбу винтов.
-
Нанесите противозадирный состав на винты и установите неподвижный нож на планку неподвижного ножа.

-
Затяните 2 наружных винта с моментом 1 Н∙м; см. Рисунок 40.
-
Затяните винты с моментом 23 до 28 Н∙м, начиная от середины неподвижного ножа; см. Рисунок 40.

-
Заточите неподвижный нож.
Обслуживание HD системы двухточечной регулировки (DPA)
-
Снимите все детали (см. Инструкции по установке для HD комплекта DPA и Рисунок 41).
-
Нанесите противозадирный состав на внутреннюю поверхность втулки на центральной раме режущего блока (Рисунок 41).
-
Совместите шпонки фланцевых втулок с прорезями в раме и установите втулки (Рисунок 41).
-
Установите волнистую шайбу на вал регулятора и вставьте вал регулятора во фланцевые втулки, установленные в раме режущего блока (Рисунок 41).
-
Закрепите шпиндель регулятора с помощью плоской шайбы и контргайки (Рисунок 41).
-
Затяните контргайку с моментом от 20 до 27 Н∙м.
Note: Шпиндель регулятора планки неподвижного ножа имеет левостороннюю резьбу.

-
Нанесите противозадирный состав на резьбу винта регулятора планки неподвижного ножа, который вставляется в вал регулятора.
-
Заверните винт регулятора планки неподвижного ножа в вал регулятора.
-
Установите на винт регулятора, не затягивая, закаленную шайбу, пружину и гайку натяжения пружины.
-
Установите неподвижный нож, расположив монтажные проушины между шайбой и регулятором неподвижного ножа.
-
Прикрепите планку неподвижного ножа к боковым пластинам с помощью болтов планки неподвижного ножа (гаек на болтах) и 6 шайб.
Note: Установите нейлоновую шайбу с каждой стороны выступа боковой пластины.
-
На нейлоновые шайбы установите стальные шайбы (Рисунок 41).
-
Затяните болты планки неподвижного ножа с моментом от 37 до 45 Н∙м.
-
Затяните контргайки так, чтобы наружные стальные шайбы перестали вращаться и осевой люфт был устранен, но не перетягивайте и не деформируйте боковые пластины.
Note: На внутренней стороне пластин шайбы могут быть установлены с зазором (Рисунок 41).
-
Затяните гайку на каждом узле регулировки планки неподвижного ножа до полного сжатия пружины, а затем отпустите гайку на ½ оборота (Рисунок 41).
-
Повторите эту процедуру на другой стороне режущего блока.
-
Отрегулируйте контакт барабана с неподвижным ножом; см. Регулировка контакта барабана с неподвижным ножом.
Обслуживание валика
Для обслуживания валика предусмотрены ремонтный комплект валика (номер по каталогу 114-5430) и набор инструментов для ремонта валика (номер по каталогу 115-0803) (Рисунок 42). Ремонтный комплект валика включает в себя все подшипники, гайки подшипника, внутренние и внешние уплотнения для ремонта валика. Набор инструментов для ремонта валика включает в себя все инструменты и инструкции, необходимые для ремонта валика с помощью ремонтного комплекта. См. каталог запасных частей для вашей машины или свяжитесь с официальным дистрибьютором компании Toro для получения помощи.



которые
имеют следующее
значение: «Осторожно!»,
«Внимание!» или
«Опасно!» – указания
по обеспечению
личной безопасности.
Несоблюдение данных
инструкций может
стать причиной
травмы или гибели.



















