Vzdrževanje
Opora za rezalno enoto
Če je treba rezalno enoto nagniti, da se pokaže spodnji nož/vreteno, podstavite stojalo (ki je priloženo vlečni enoti) pod zadnji del rezalne enote, da tako zagotovite, da se matice na zadnji strani vijakov za prilagoditev spodnje prečke ne naslanjajo na delovno površino (Diagram 25).

Mazanje rezalnih enot
Redno namažite 5 mazalk vsake rezalne enote (Diagram 26) z litijevo mastjo št. 2.
Dve mazalni mesti se nahajata na sprednjem valju, dve na zadnjem valju in ena na utoru motorja vretena.
Note: Model 03192 nima sprednjega valja; ima samo dve mazalni mesti na zadnjem valju in eno na utoru motorja vretena.
Important: Mazanje rezalnih enot takoj po pranju pomaga očistiti vodo iz ležajev in podaljša življenjsko dobo ležajev.
-
Vsako mazalko obrišite s čisto krpo.
-
Mazivo nanašajte, dokler iz tesnil valja in varnostnega ventila ležajev ne začne teči čisto mazivo.
-
Odvečno mazivo obrišite.

Specifikacije vretena
Varnostno brušenje vretena
Širina vretena, ki pride pri košnji v stik s travo, sega od 1,3 do 1,5 mm, predvideva pa se varnostno brušenje pod kotom 30°.
Če je širina odrezka večja od 3 mm, storite naslednje:
-
Na vseh rezilih vretena nastavite prosti kot 30°, dokler ni širina odrezka 1,3 mm (Diagram 27).

-
S hitrim vrtenjem brusite vreteno, da dosežete < 0,025 mm nestabilnosti vretena.
Note: Tako se bo širina vretena, ki pride v stik s travo, nekoliko povečala.
Note: Za podaljšanje trajnosti ostrine roba vretena in spodnjega noža – po brušenju vretena in/ali spodnjega noža – ponovno preverite stik vretena s spodnjim nožem po rezanju dveh čistin, saj bodo odstranjeni morebitni zarobki, ki lahko povzročijo neustrezen prostor med vretenom in spodnjim nožem ter s tem hitrejšo obrabo.
-
Z merilnim trakom izmerite zunanji premer vretena na obeh koncih (Diagram 28); razlika v zunanjem premeru med koncema mora biti manjša od 0,250 mm. Če je razlika večja, jo odpravite z brušenjem.
Note: Merilni trak za merjenje zunanjega premera lahko kupite pri pooblaščenem distributerju za izdelke Toro.

Namestitev sklopa sprednje gredi za brušenje vretena
Important: Za namestitev rezalne enote na stroj za brušenje vreten morate naročiti naslednje dele:
| Kol. | Del | Št. dela |
| 2 | Sprednji nosilec HOC | 125-2796 |
| 2 | Nosilni vijak (⅜ x 1 ½") | 3231-4 |
| 2 | Varovalna matica (⅜") | 104-8301 |
| 2 | Vijak s šestkotno glavo (5/16 x 1 ⅛") | 322-16 |
| 1 | Gred sprednjega koleščka | 117-0957 |
-
Odstranite delavniške sklope valja (če so nameščeni); glejte Nastavitev delavniških sklopov valjev (samo model 03192).
-
Z nosilnimi vijaki in maticami namestite sprednje nosilce HOC na zgornjo odprtino stranske plošče (Diagram 29).
Important: Prepričajte se, da je nosilec HOC z nosilnim vijakom nameščen na vrhu reže,' tako, da je v čim nižjem položaju.

-
Gred namestite na spodnji del nosilcev HOC z dvema vijakoma s šestkotno glavo.
-
Prepričajte se, da je gred vzporedna z rezalno enoto; če ni, popustite nosilni vijak na spodnji strani in ga ponovno zategnite, ko je gred vzporedna.
Servisiranje spodnjega noža
Delovne mejne vrednosti spodnjega noža so navedene v naslednji tabeli.
Important: Uporaba rezalne enote s spodnjim nožem pod obratovalnimi omejitvami lahko povzroči slab videz po košnji in zmanjša strukturno celovitost spodnjega noža ob udarcih.
| Tabela obratovalnih omejitev spodnjega noža (proizvodni spodnji nož) | ||||
| Spodnji nož | Št. dela | Višina roba spodnjega noža | Obratovalna omejitev* | Zgornji/sprednji koti brušenja |
| Nizka HOC | 147-1248 (68,58 cm) | 5,6 mm | 4,8 mm | 10/5° |
| 147-1252 (81,28 cm) | ||||
| EdgeMax® | 137-6095 (68,58 cm) | 6,9 mm | 4,8 mm | 10/5° |
| Standarden | 147-1249 (model 03189/90, 68,58 cm) | 6,9 mm | 4,8 mm | 10/5° |
| 147-1253 (model 03191, 81,28 cm) | ||||
| Za veliko obremenitev | 147-1250 (model 03192, 68,58 cm) | 9,3 mm | 4,8 mm | 10/5° |
| 147-1254 (81,28 cm) | ||||

Note: Vse obratovalne omejitve spodnjega noža se nanašajo na spodnji del spodnjega noža (Diagram 31).

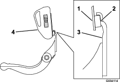
Preverjanje zgornjega kota brušenja
Kot, pod katerim brusite svoje spodnje nože, je zelo pomemben.
S kazalnikom kota (št. dela Toro 131-6828) in nosilcem kazalnika kota (št. dela Toro 131-6829) preverite kot, pod katerim deluje vaš brusilnik, in ga po potrebi popravite, če brusilnik ni natančen.
-
Kazalnik kota namestite na spodnjo stran spodnjega noža, kot je prikazano na sliki Diagram 32.

-
Na kazalniku kota pritisnite gumb Alt Zero.
-
Nosilec kazalnika kota namestite na rob spodnjega noža tako, da se rob magneta ujema z robom spodnjega noža (Diagram 33)
Note: Digitalni zaslon mora biti med tem korakom viden z iste strani kot med korakom 1.

-
Kazalnik kota namestite na nosilec, kot je prikazano na sliki Diagram 33.
Note: To je kot, pod katerim deluje vaš brusilnik in ki mora biti v razponu 2° od priporočenega zgornjega kota brušenja.
Servisiranje spodnje prečke
Odstranjevanje spodnje prečke
-
Obrnite vijake za nastavitev spodnje prečke v nasprotni smeri urinega kazalca, da se spodnji nož odmakne od vretena (Diagram 34).

-
Odmikajte matico za napenjanje vzmeti, dokler podložka ni več napeta ob spodnjo prečko (Diagram 34).
-
Na vsaki strani stroja popustite varovalno matico, ki pritrjuje vijak spodnje prečke (Diagram 35).

-
Odstranite vsak vijak spodnje prečke tako, da lahko spodnjo prečko potegnete navzdol in jo odstranite z rezalne enote (Diagram 35).
Pazite na 2 najlonski podložki in 1 jekleno podložko na vsakem koncu spodnje prečke (Diagram 36).

Namestitev spodnje prečke
-
Namestite spodnjo prečko tako, da namestite pritrdilna ušesca med podložko in vijakom za nastavitev spodnje prečke.
Important: Dvotočkovne nastavitvene regulatorje (DPA) postavite na sredino med ušesca spodnje prečke, kot prikazuje Diagram 37.Če so dvotočkovni nastavitveni regulatorji (DPA) nameščeni ob ušesca spodnje prečke, to lahko negativno vpliva na stik med spodnjim nožem in vretenom.

-
Pritrdite spodnjo prečko na vsako stransko ploščo z vijaki spodnje prečke (matice na vijakih) in 3 podložkami (skupaj 6).
-
Namestite podložko iz najlona na vsako stran vodila stranske plošče. Namestite jekleno podložko na zunanjo stran vsake od podložk iz najlona (Diagram 36).
-
Zategnite vijake spodnje prečke z zateznim momentom od 37 do 45 N·m.
-
Počasi zategnite varovalne matice spodnje prečke, dokler se zunanje jeklene podložke ne vrtijo samo z roko.
Important: Matic ne zategnite premočno, saj se bodo stranske plošče odklonile.
Note: Najlonska podložka med spodnjo prečko in drsno ploščo bo imela majhno vrzel.
-
Matico za napenjanje vzmeti zategnite, dokler se vzmet ne sesede, nato pa popustite za ½ obrata (Diagram 38).

Specifikacije za spodnji nož
Nameščanje spodnjega noža
-
Odstranite rjo, vodni kamen in korozijo s površine spodnje prečke in nanjo nanesite tanek sloj olja.
-
Očistite navoje vijakov.
-
Na vijake nanesite sredstvo proti sprijemanju in namestite spodnji nož na nosilec spodnjega noža.

-
Zategnite 2 zunanja vijaka z zateznim momentom 1 N·m, glejte Diagram 40.
-
Začnite na sredini spodnjega noža in zategnite vijake z zateznim momentom od 23 do 28 N·m, glejte Diagram 40.

-
Zbrusite spodnji nož.
Servisiranje dvotočkovnih nastavitvenih regulatorjev HD
-
Odstranite vse dele (glejte Navodila za namestitev za komplet dvotočkovnih nastavitvenih regulatorjev HD in Diagram 41).
-
Na notranji del območja za pušo na osrednjem ogrodju rezalne enote (Diagram 41) nanesite sredstvo proti sprijemanju.
-
Poravnajte vtiče na pušah prirobnice z odprtinami v ogrodju in namestite puše (Diagram 41).
-
Namestite valovito podložko na gred regulatorja in podrsajte gred regulatorja v puše prirobnice na ogrodju rezalne enote (Diagram 41).
-
Pritrdite gred regulatorja s plosko podložko in varovalno matico (Diagram 41).
-
Varovalno matico zategnite z zateznim momentom od 20 do 27 N·m.
Note: Gred regulatorja spodnje prečke ima leve navoje.

-
Na navoje vijaka regulatorja spodnje prečke, ki se vstavijo v gred regulatorja, nanesite sredstvo proti sprijemanju.
-
Privijte vijak regulatorja spodnje prečke v gred regulatorja.
-
Narahlo namestite strjeno podložko, vzmet in matico za nastavljanje napetosti vzmeti na vijak za prilagoditev.
-
Namestite spodnjo prečko in poskrbite, da bodo očesca za namestitev med podložko in regulatorjem spodnje prečke.
-
Privijte spodnjo prečko na vsako stransko ploščo z vijaki spodnje prečke (z maticami na vijakih) in 6 podložkami.
Note: Namestite podložko iz najlona na vsako stran vodila stranske plošče.
-
Namestite jekleno podložko na zunanjo stran vsake od podložk iz najlona (Diagram 41).
-
Zategnite vijake spodnje prečke z zateznim momentom od 37 do 45 N·m.
-
Zategnite varovalne matice, dokler se zunanja jeklena podložka ne preneha vrteti in na obeh koncih ne bo več vrzeli, vendar jih ne zategnite preveč in ne deformirajte stranskih plošč.
Note: Podložke na notranji strani imajo lahko vrzel (Diagram 41).
-
Privijte matico na vsakem sklopu regulatorja spodnje prečke, dokler ne bo tlačna vzmet v celoti stisnjena, nato pa zrahljajte matico za ½ obrata (Diagram 41).
-
Postopek ponovite na drugi strani rezalne enote.
-
Nastavite spodnji nož glede na vreteno; glejte Nastavitev spodnjega noža glede na vreteno.
Servisiranje valja
Za servisiranje valja sta na voljo komplet za obnovo valja Roller Rebuild Kit (št. dela 114-5430) in komplet orodij za obnovo valja Roller Rebuild Tool Kit (št. dela 115-0803) (Diagram 42). Komplet za obnovo valja Roller Rebuild Kit vključuje vse ležaje, ležajne matice, notranja tesnila in zunanja tesnila za obnovo valja. Komplet orodij za obnovo valja Roller Rebuild Tool Kit vključuje vsa orodja in navodila za namestitev, ki so potrebna za obnovo valja s kompletom za obnovo valja. Za pomoč glejte katalog delov ali se obrnite na pooblaščenega distributerja za izdelke Toro.



, ki lahko pomeni: svarilo, opozorilo ali nevarnost – navodilo
za osebno varnost. Neupoštevanje teh navodil lahko privede
do telesnih poškodb ali smrti.



















