Συντήρηση
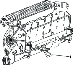
Στήριξη της μονάδας κοπής
Όποτε απαιτείται να αναποδογυρίσετε τη μονάδα κοπής για να έχετε πρόσβαση στο μαχαίρι κλίνης / στον κύλινδρο, στηρίξτε το πίσω μέρος της μονάδας κοπής με το πόδι στήριξης (που παρέχεται με το χλοοκοπτικό όχημα) για να βεβαιωθείτε ότι τα παξιμάδια στο οπίσθιο άκρο των βιδών ρύθμισης της μπάρας κλίνης δεν εφάπτονται στην επιφάνεια εργασίας (Σχήμα 25).

Λίπανση των μονάδων κοπής
Λιπαίνετε τακτικά τα 5 γρασαδοράκια που διαθέτει κάθε μονάδα κοπής (Σχήμα 26) με γράσο λιθίου Νο. 2.
Υπάρχουν 2 σημεία λίπανσης στον εμπρόσθιο κύλινδρο, 2 στον οπίσθιο κύλινδρο, και 1 στον αυλακωτό άξονα του μοτέρ κυλίνδρου.
Note: Το μοντέλο 03192 δεν διαθέτει εμπρόσθιο κύλινδρο. Υπάρχουν μόνο τα 2 σημεία λίπανσης στον οπίσθιο κύλινδρο και 1 στον αυλακωτό άξονα του μοτέρ κυλίνδρου.
Important: Η λίπανση των μονάδων κοπής αμέσως μετά το πλύσιμο συμβάλλει στην απομάκρυνση του νερού από τα ρουλεμάν και αυξάνει τον χρόνο ζωής των ρουλεμάν.
-
Σκουπίστε κάθε γρασαδοράκι με ένα καθαρό πανί.
-
Εφαρμόστε γράσο μέχρι να ρεύσει γράσο από τα παρεμβύσματα των κυλίνδρων και τη βαλβίδα εκτόνωσης των ρουλεμάν.
-
Σκουπίστε το επιπλέον γράσο, αν υπάρχει.

Προδιαγραφές κυλίνδρου κοπής
Λείανση του κυλίνδρου κοπής
Ο καινούριος κύλινδρος έχει πλάτος επιφάνειας 1,3 έως 1,5mm (0,050 έως 0,060") και γωνία λείανσης 30°.
Όταν το πλάτος επιφάνειας ξεπεράσει τα 3 mm (0,120"), εκτελέστε τις ακόλουθες ενέργειες:
-
Τροχίστε όλες τις λεπίδες του κυλίνδρου κοπής με γωνία εκτόνωσης 30° μέχρι το πλάτος επιφάνειας να γίνει ίσο με 1,3 mm (0,050") (Σχήμα 27).

-
Τροχίστε με περιστροφή τον κύλινδρο κοπής ώστε να επιτευχθεί απόκλιση <0,025mm (0,001") του κυλίνδρου κοπής.
Note: υτό προκαλεί ελαφριά αύξηση του πλάτους επιφάνειας.
Note: Για να παρατείνετε τη διάρκεια αιχμηρότητας του χείλους του κυλίνδρου κοπής και του μαχαιριού κλίνης —μετά το τρόχισμα του κυλίνδρου κοπής ή/και του μαχαιριού κλίνης— ελέγξτε ξανά την επαφή κυλίνδρου - μαχαιριού κλίνης αφού προχωρήσετε σε κοπή 2 λωρίδων, καθώς θα αφαιρεθούν οι προεξοχές και, ως εκ τούτου, μπορεί να δημιουργηθεί ακατάλληλο διάκενο μεταξύ κυλίνδρου κοπής και μαχαιριού κλίνης και να επιταχυνθεί η φθορά.
-
Χρησιμοποιώντας ταινία μέτρησης διαμέτρου, μετρήστε την εξωτερική διάμετρο του κυλίνδρου κοπής και στα δύο άκρα (Σχήμα 28). Η διαφορά στην εξωτερική διάμετρο μεταξύ των άκρων πρέπει να είναι μικρότερη από 0,010" (0,250 mm). ν η διαφορά είναι μεγαλύτερη, τροχίστε για να διορθώσετε τη διαφορά.
Note: Η ταινία μέτρησης εξωτερικής διαμέτρου διατίθεται από τον εξουσιοδοτημένο αντιπρόσωπο της Toro.

Εγκατάσταση του συγκροτήματος εμπρόσθιου άξονα για τρόχισμα κυλίνδρου κοπής
Important: Πρέπει να παραγγείλετε τα παρακάτω εξαρτήματα ώστε η μονάδα κοπής να μπορεί να τοποθετηθεί σε μηχάνημα τροχίσματος κυλίνδρου κοπής:
| Ποσότητα | Εξάρτημα | Κωδικός |
| 2 | Εμπρόσθιος βραχίονας ύψους κοπής | 125-2796 |
| 2 | Καρόβιδα (3/8" x 1-1/2") | 3231-4 |
| 2 | σφαλιστικό παξιμάδι (3/8") | 104-8301 |
| 2 | Μπουλόνι εξαγωνικής κεφαλής (5/16" x 1-1/8") | 322-16 |
| 1 | Εμπρόσθιος άξονας κυλίνδρου | 117-0957 |
-
φαιρέστε τα συγκροτήματα κυλίνδρων (αν διατίθενται)· ανατρέξτε στην Ρύθμιση των συγκροτημάτων κυλίνδρου (Μοντέλο 03192 μόνο).
-
Χρησιμοποιώντας τις καρόβιδες και τα παξιμάδια, εγκαταστήστε τους εμπρόσθιους βραχίονες ύψους κοπής στην επάνω οπή της πλευρικής πλάκας (Σχήμα 29).
Important: εβαιωθείτε ότι ο βραχίονας ύψους κοπής είναι εγκατεστημένος με την καρόβιδα στο πάνω μέρος της υποδοχής, έτσι ώστε ο βραχίονας ύψους κοπής να είναι όσο το δυνατόν χαμηλότερα.

-
Εγκαταστήστε τον άξονα στο κάτω μέρος των βραχιόνων ύψους κοπής χρησιμοποιώντας τα 2 μπουλόνια εξαγωνικής κεφαλής.
-
εβαιωθείτε ότι ο άξονας είναι παράλληλος με τη μονάδα κοπής. Εάν δεν είναι, χαλαρώστε την καρόβιδα στην κάτω πλευρά και σφίξτε την ξανά όταν ο άξονας είναι παράλληλος.
Σέρβις του μαχαιριού κλίνης
Τα όρια σέρβις του μαχαιριού κλίνης παρατίθενται στον παρακάτω πίνακα.
Important: Η λειτουργία της μονάδας κοπής με το μαχαίρι κλίνης να βρίσκεται κάτω από το όριο σέρβις μπορεί να οδηγήσει σε μη ικανοποιητική εμφάνιση του γκαζόν και να μειώσει τη δομική ακεραιότητα του μαχαιριού κλίνης κατά την πρόσκρουση.
| Πίνακας ορίων σέρβις του μαχαιριού κλίνης (Μαχαίρι κλίνης Παραγωγής) | ||||
| Μαχαίρι κλίνης | Κωδικός | Ύψος χείλους μαχαιριού κλίνης | Όριο σέρβις* | Επάνω/Κάτω γωνίες λείανσης |
| Χαμηλό ύψος κοπής | 147-1248 (27") | 5,6 mm (0,220") | 4,8 mm (0,190") | 10/5° |
| 147-1252 (32") | ||||
| EdgeMax® | 137-6095 (27") | 6,9 mm (0,270") | 4,8 mm (0,190") | 10/5° |
| Τυπικό | 147-1249 (Μοντέλο 03189/90, 27") | 6,9 mm (0,270") | 4,8 mm (0,190") | 10/5° |
| 147-1253 (Μοντέλο 03191, 32") | ||||
| αρέος τύπου | 147-1250 (Μοντέλο 03192, 27") | 9,3 mm (0,370") | 4,8 mm (0,190") | 10/5° |
| 147-1254 (32") | ||||

Note: Όλες οι μετρήσεις για τα όρια σέρβις του μαχαιριού κλίνης σχετίζονται με το κάτω μέρος του μαχαιριού (Σχήμα 31).

Έλεγχος της επάνω γωνίας λείανσης
Η γωνία που χρησιμοποιείτε για τη λείανση των μαχαιριών κλίνης είναι πολύ σημαντική.
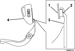
Χρησιμοποιήστε τον ενδείκτη γωνίας (κωδ. προϊόντος Toro 131-6828) και το στήριγμα του ενδείκτη γωνίας (κωδ. προϊόντος Toro 131-6829) για να ελέγξετε τη γωνία στην οποία λειτουργεί το εξάρτημα τροχισμού σας και, στη συνέχεια, διορθώστε τυχόν σημεία με μη ακριβή τροχισμό.
-
Τοποθετήστε τον ενδείκτη γωνίας στην κάτω πλευρά του μαχαιριού κλίνης, όπως φαίνεται στο Σχήμα 32.

-
Πατήστε το πλήκτρο Alt Zero του ενδείκτη γωνίας.
-
Τοποθετήστε το στήριγμα του ενδείκτη γωνίας στο άκρο του μαχαιριού κλίνης έτσι ώστε το άκρο του μαγνήτη να εφάπτεται στο άκρο του μαχαιριού κλίνης (Σχήμα 33).
Note: Σε αυτό το βήμα, η ψηφιακή ένδειξη θα πρέπει να είναι ορατή από την ίδια πλευρά όπως και στο βήμα 1.

-
Τοποθετήστε τον ενδείκτη γωνίας στο στήριγμα όπως φαίνεται στο Σχήμα 33.
Note: Πρόκειται για τη γωνία στην οποία λειτουργεί το εξάρτημα τροχισμού σας, και θα πρέπει να είναι εντός 2° από τη συνιστώμενη επάνω γωνία λείανσης.
Σέρβις της μπάρας κλίνης
φαίρεση της μπάρας κλίνης
-
Γυρίστε τις βίδες ρύθμισης της μπάρας κλίνης αριστερόστροφα για να απομακρύνετε το μαχαίρι κλίνης από τον κύλινδρο κοπής (Σχήμα 34).

-
Ξεβιδώστε το παξιμάδι τάνυσης ελατηρίου μέχρι η ροδέλα να μην εφαρμόζει με πίεση στην μπάρα κλίνης (Σχήμα 34).
-
Σε κάθε πλευρά του μηχανήματος, ξεσφίξτε το παξιμάδι που στερεώνει το μπουλόνι της μπάρας κλίνης (Σχήμα 35).

-
φαιρέστε κάθε μπουλόνι της μπάρας κλίνης ώστε να μπορείτε να την τραβήξετε προς τα κάτω και να την αφαιρέσετε από τη μονάδα κοπής (Σχήμα 35).
Υπολογίστε 2 ροδέλες με νάιλον και 1 ροδέλα από χάλυβα σε κάθε άκρο της μπάρας κλίνης (Σχήμα 36).

Εγκατάσταση της μπάρας κλίνης
-
Τοποθετήστε την μπάρα κλίνης, τοποθετώντας τα αυτιά στερέωσης μεταξύ της ροδέλας και της βίδας ρύθμισης της μπάρας κλίνης.
Important: Κεντράρετε τους ρυθμιστές DPA μέσα στα αυτιά της μπάρας κλίνης, όπως φαίνεται στο Σχήμα 37.Εάν οι ρυθμιστές DPA τοποθετηθούν κόντρα στα αυτιά της μπάρας κλίνης, μπορεί να επηρεαστεί αρνητικά η επαφή μαχαιριού κλίνης - κυλίνδρου κοπής.

-
Στερεώστε την μπάρα κλίνης σε κάθε πλευρική πλάκα με τα μπουλόνια μπάρας κλίνης (με τα παξιμάδια πάνω στα μπουλόνια) και τις 3 ροδέλες (6 συνολικά).
-
Τοποθετήστε μία ροδέλα με νάιλον σε κάθε πλευρά της πλήμνης της πλευρικής πλάκας. Τοποθετήστε μία ροδέλα από χάλυβα στην εξωτερική πλευρά κάθε ροδέλας με νάιλον (Σχήμα 36).
-
Σφίξτε τα μπουλόνια της μπάρας κλίνης με ροπή 37 έως 45 N∙m.
-
Σφίξτε αργά τα παξιμάδια ασφάλισης της μπάρας κλίνης μέχρι να μπορούν οι εξωτερικές ροδέλες από χάλυβα να περιστρέφονται με το χέρι.
Important: Μη σφίξετε υπερβολικά τα παξιμάδια ασφάλισης, διαφορετικά μπορεί να παραμορφωθούν οι πλευρικές πλάκες.
Note: Η ροδέλα με νάιλον ανάμεσα στην μπάρα κλίνης και στην πλευρική πλάκα θα έχει ένα μικρό κενό.
-
Σφίξτε το παξιμάδι τάνυσης ελατηρίου μέχρι το ελατήριο να συμπτυχθεί και, στη συνέχεια, ξεσφίξτε το κατά μισή στροφή (Σχήμα 38).

Προδιαγραφές μαχαιριού κλίνης
Τοποθέτηση του μαχαιριού κλίνης
-
πομακρύνετε τυχόν σκουριά, την οξείδωση και τη διάβρωση από την επιφάνεια της μπάρας κλίνης και εφαρμόστε μια λεπτή στρώση λαδιού στην επιφάνεια.
-
Καθαρίστε τα σπειρώματα των βιδών.
-
Εφαρμόστε αντιμπλοκαριστική ουσία (anti-seize) στις βίδες και τοποθετήστε το μαχαίρι κλίνης στην μπάρα κλίνης.

-
Σφίξτε τις 2 εξωτερικές βίδες με ροπή 1 N∙m· ανατρέξτε στην ενότητα Σχήμα 40.
-
Ξεκινώντας από το κέντρο του μαχαιριού κλίνης, σφίξτε τις βίδες με ροπή 23 έως 28 N∙m· ανατρέξτε στην ενότητα Σχήμα 40.

-
Τροχίστε το μαχαίρι κλίνης.
Σέρβις των διατάξεων ρύθμισης δύο σημείων (Dual Point Adjusters, DPA) HD
-
φαιρέστε όλα τα εξαρτήματα (ανατρέξτε στις οδηγίες εγκατάστασης του κιτ HD DPA και στο Σχήμα 41).
-
Εφαρμόστε αντιμπλοκαριστική ουσία (anti-seize) στο εσωτερικό του χώρου των δακτυλίων στο κεντρικό πλαίσιο της μονάδας κοπής (Σχήμα 41).
-
Ευθυγραμμίστε τα κλειδιά στους δακτυλίους της φλάντζας με τις υποδοχές στο πλαίσιο και τοποθετήστε τους δακτύλιους (Σχήμα 41).
-
Τοποθετήστε μια κυματοειδή ροδέλα στον άξονα της διάταξης ρύθμισης και γλιστρήστε τον άξονα της διάταξης ρύθμισης μέσα στους δακτύλιους της φλάντζας στο πλαίσιο της μονάδας κοπής (Σχήμα 41).
-
σφαλίστε τον άξονα της διάταξης ρύθμισης με επίπεδη ροδέλα και παξιμάδι ασφάλισης (Σχήμα 41).
-
Σφίξτε το παξιμάδι ασφάλισης με ροπή 20 έως 27 N∙m.
Note: Ο άξονας της διάταξης ρύθμισης της μπάρας κλίνης έχει αριστερά σπειρώματα.

-
Εφαρμόστε αντιμπλοκαριστική ουσία (anti-seize) στα σπειρώματα της βίδας διάταξης ρύθμισης της μπάρας κλίνης που τοποθετούνται στον άξονα της διάταξης ρύθμισης.
-
Περάστε τη βίδα της διάταξης ρύθμισης της μπάρας κλίνης στον άξονα της διάταξης ρύθμισης.
-
Τοποθετήστε χαλαρά τη σκληρυμένη ροδέλα, το ελατήριο και το παξιμάδι τάνυσης ελατηρίου στη βίδα της διάταξης ρύθμισης.
-
Τοποθετήστε την μπάρα κλίνης, τοποθετώντας τα αυτιά στερέωσης μεταξύ της ροδέλας και της διάταξης ρύθμισης της μπάρας κλίνης.
-
σφαλίστε την μπάρα κλίνης σε κάθε πλευρική πλάκα με τα μπουλόνια μπάρας κλίνης (με τα παξιμάδια πάνω στα μπουλόνια) και τις 6 ροδέλες.
Note: Τοποθετήστε μία ροδέλα με νάιλον σε κάθε πλευρά της πλήμνης της πλευρικής πλάκας.
-
Τοποθετήστε μία ροδέλα από χάλυβα στην εξωτερική πλευρά κάθε ροδέλας με νάιλον (Σχήμα 41).
-
Σφίξτε τα μπουλόνια της μπάρας κλίνης με ροπή 37 έως 45 N∙m.
-
Σφίξτε τα παξιμάδια ασφάλισης μέχρι η εξωτερική ροδέλα από χάλυβα να σταματήσει να περιστρέφεται και να έχει εξαλειφθεί το τζογάρισμα στο άκρο, αλλά μην σφίγγετε υπερβολικά και μην κάμπτετε τις πλευρικές πλάκες.
Note: Οι εσωτερικές ροδέλες μπορεί να έχουν κενό (Σχήμα 41).
-
Σφίξτε το παξιμάδι σε κάθε συγκρότημα διάταξης ρύθμισης της μπάρας κλίνης μέχρι το ελατήριο συμπίεσης να συμπτυχθεί πλήρως και, στη συνέχεια, ξεσφίξτε το παξιμάδι κατά μισή στροφή (Σχήμα 41).
-
Επαναλάβετε αυτή τη διαδικασία και στο άλλο άκρο της μονάδας κοπής.
-
Ρυθμίστε το μαχαίρι κλίνης στον κύλινδρο κοπής· ανατρέξτε στην ενότητα Ρύθμιση του μαχαιριού κλίνης στον κύλινδρο κοπής.
Σέρβις του κυλίνδρου
Το κιτ αποκατάστασης κυλίνδρου (κωδ. 114-5430) και το κιτ εργαλείων αποκατάστασης κυλίνδρου (κωδ. 115-0803) (Σχήμα 42) διατίθενται για το σέρβις του κυλίνδρου. Το κιτ αποκατάστασης κυλίνδρου περιλαμβάνει όλα τα ρουλεμάν, τα παξιμάδια των ρουλεμάν, τα εσωτερικά παρεμβύσματα και τα εξωτερικά παρεμβύσματα για την αποκατάσταση του κυλίνδρου. Το κιτ εργαλείων αποκατάστασης κυλίνδρου περιλαμβάνει όλα τα εργαλεία και τις οδηγίες εγκατάστασης που απαιτούνται για την αποκατάσταση του κυλίνδρου με το κιτ αποκατάστασης κυλίνδρου. Για βοήθεια, ανατρέξτε στον κατάλογο ανταλλακτικών ή επικοινωνήστε με τον πλησιέστερο εξουσιοδοτημένο αντιπρόσωπο της Toro.



, το οποίο
συνοδεύει οδηγίες
για την προσωπική ασφάλεια
με τις ενδείξεις
Προσοχή, Προειδοποίηση
ή Κίνδυνος. Η μη
συμμόρφωση με αυτές
τις οδηγίες μπορεί
να προκαλέσει
σωματικές βλάβες
ή θάνατο.



















