Поддръжка
Опора на режещия апарат
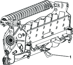
Когато режещият апарат трябва да бъде наклонен, за да се открие достъпът до опорния нож/барабана, изправете задната част на режещия апарат със стойката (доставена със самоходната машина), за да се уверите, че регулиращите винтове на опорната шина не опират в работната повърхност (Фигура 25).

Смазване на режещите апарати
Смазвайте редовно 5 гресьорки на всеки режещ апарат (Фигура 26) косачката с литиева грес № 2.
2 точки за смазване има на предната ролка, 2 – на задната ролка и 1 – в шлица на мотора на барабана.
Note: Модел 03192 не разполага с предна ролка; има само 2 точки за смазване на задната ролка и 1 – в шлица на мотора на барабана.
Important: Смазването на режещите апарати непосредствено след измиване спомага за изгонване на водата от лагерите и увеличава експлоатационния живот на лагерите.
-
Избършете всяка гресьорка с чист парцал.
-
Нанесете грес, докато от уплътненията на ролката и от изпускателния клапан на лагера не излезе чиста грес.
-
Избършете излишната грес.

Спецификации на барабана
Затиловъчно шлайфане на режещият барабан
Новият барабан има приземна ширина на острието от 1,3 до 1,5 mm и затиловъчно шлайфане на 30°.
Когато приземната ширина на острието стане по-голяма от 3 mm, направете следното:
-
Приложете 30° затиловъчно шлифоване на всички остриета на барабана, докато приземната ширина стане 1,3 mm (Фигура 27).

-
Шлайфайте барабана, за да постигнете скосяване < 0,025 mm.
Note: Това води до леко увеличаване на приземната ширина.
Note: За да удължите трайността на остротата на ръба на режещия барабан и опорния нож – след шлайфане на режещия барабан и/или опорния нож – проверете отново контакта на режещия барабан с опорния нож след окосяване на 2 пътеки, когато всички грапавини ще бъдат отстранени, което може да създаде неправилна хлабина между режещия барабан и опорния нож, а така да ускори износването.
-
С помощта на лента за измерване на диаметъра измерете външния диаметър на режещия барабан в двата края (Фигура 28); разликата във външния диаметър в двата края трябва да бъде по-малка от 0,250 mm. Ако разликата е по-голяма, шлифовайте, за да коригирате разликата.
Note: Лента за измерване на външния диаметър може да бъде доставена от Вашия упълномощен дистрибутор на Toro.

Монтиране на възела на предния вал за шлайфане на режещия барабан
Important: Необходимо е да поръчате следните части, така че режещият барабан да може да бъде закрепен към машината за шлайфане на режещия барабан:
| Количество | Част | Номер на част |
| 2 | Предна скоба за HOC | 125-2796 |
| 2 | Болт на носача (⅜ x 1½ инча) | 3231-4 |
| 2 | Контрагайка (⅜ инча) | 104-8301 |
| 2 | Болт с шестостенна глава (5/16 x 1⅛ инча) | 322-16 |
| 1 | Вал на предната ролка | 117-0957 |
-
Отстранете възлите на ролките на сервиза (ако има); вижте Регулиране на възелите на ролката на сервиза (само за модел 03192).
-
С помощта на носещите болтове и контрагайките монтирайте предните скоби за HOC в горния отвор на страничната плоскост (Фигура 29).
Important: Уверете се, че скобата за HOC е монтирана с носещия болт в горната част на процепа, така че скобата за HOC да е възможно най-ниско.

-
Монтирайте вала към долната страна на скобите за HOC като използвате 2 болта с шестостенна глава.
-
Уверете се, че валът е успореден на режещия апарат; ако не е, разхлабете носещия болт от долната страна и го затегнете отново, когато валът е успореден.
Обслужване на опорния нож
Пределните параметри на опорния нож са посочени в следващата таблица.
Important: Боравенето с режещия апарат при опорен нож с параметри под пределните може да доведе до лош вид след косене и на понижи структурната цялост на опорния нож за удари.
| Таблица с пределните параметри на опорния нож (производителност на опорен нож) | ||||
| Опорен нож | Номер на част | Височина на режещия ръб на опорния нож | Пределна стойност* | Горен/преден ъгъл на шлайфане |
| Малка HOC | 147 – 1248 (69 cm) | 5,6 mm | 4,8 mm | 10/5° |
| 147 – 1252 (81 cm) | ||||
| EdgeMax® | 137 – 6095 (69 cm) | 6,9 mm | 4,8 mm | 10/5° |
| Стандарт | 147 – 1249 (модел 03189/90, 69 cm) | 6,9 mm | 4,8 mm | 10/5° |
| 147 – 1253 (модел 03191, 81 cm) | ||||
| Тежък режим на работа | 147 – 1250 (модел 03192, 69 cm) | 9,3 mm | 4,8 mm | 10/5° |
| 147 – 1254 (81 cm) | ||||

Note: Всички измервания на пределните стойности на опорния нож се отнасят до долната страна на опорния нож (Фигура 31).

Проверка на горния ъгъла на шлайфане
Ъгълът, който използвате за шлайфане на ножовете, е много важен.
Използвайте ъгловия индикатор (Toro, част № 131-6828) и държача за ъглов индикатор (Toro, част № 131-6829), за да проверите ъгъла, който създава Вашата шлайфмашина, и впоследствие да коригирате евентуална неточност на шлайфмашината.
-
Поставете индикатора за ъгъл върху долната страна на опорния нож, както е показано на Фигура 32.

-
Натиснете бутона Alt Zero на ъгловия индикатор.
-
Поставете държача на ъгловия индикатор върху ръба на опорния нож, така че ръбът на магнита да съвпада с ръба на опорния нож (Фигура 33).
Note: По време на тази стъпка цифровият индикатор трябва да се вижда от същата страна, както при стъпка 1.

-
Поставете ъгловия индикатор върху държача, както е показано в Фигура 33.
Note: Това е ъгълът, който създава Вашата шлайфмашина, и той трябва да бъде в рамките на 2° от препоръчителния горен ъгъл на шлайфане.
Обслужване на рейката
Изваждане на рейката
-
Завъртете винтовете за регулиране на рейката обратно на часовниковата стрелка, за да се отдръпне рейката от барабана (Фигура 34).

-
Отместете гайката за обтягане на пружината, докато шайбата престане да бъде притискана към рейката (Фигура 34).
-
От всяка страна на машината, разхлабете контрагайката, която държи болта за рейката (Фигура 35).

-
Свалете всеки от болтовете за рейката, което ще позволи рейката да бъде издърпана надолу и извадена от режещия апарат (Фигура 35).
Вземете предвид 2-те найлонови и 1-та стоманена шайба от всеки край на рейката (Фигура 36).

Монтиране на рейката
-
Монтирайте рейката, като разположите монтажните уши между шайбата и винта за регулиране на рейката.
Important: Центрирайте механизмите за регулиране на рейката в ушите на рейката както е показано на Фигура 37.Ако механизмите за регулиране на рейката се монтират спрямо ушите на рейката, това може да има негативен ефект върху контакта между опорния нож и барабана.опорния

-
Закрепете рейката към всяка от страничните плоскости с болтовете й (с гайки върху болтовете) и 3 шайби (общо 6).
-
Поставете найлонова шайба от всяка страна на втулката на страничната плоскост. Поставете стоманена шайба отвън върху всяка от найлоновите шайби (Фигура 36).
-
Затегнете болтовете на рейката с въртящ момент 37 до 45 N∙m.
-
Бавно затегнете контрагайките на рейката, докато външните стоманени шайби се завъртат на ръка.
Important: Не затягайте прекалено много контрагайките, защото в противен случай те ще отклонят страничните плоскости.
Note: Найлоновата шайба между рейката и страничната плоскост има малка хлабина.
-
Затегнете гайката за обтягане на пружината, докато пружината се свие, след което я развийте с ½ оборот (Фигура 38).

Спецификации на ножа
Монтаж на опорния нож
-
Отстранете от повърхността на опорния нож ръжда, котлен камък и корозия и нанесете върху повърхността му тънък слой масло.
-
Почистете резбите на винтовете.
-
Нанесете върху винтовете смес против задиране и монтирайте опорния нож към рейката.

-
Затегнете 2 външни болта с въртящ момент до 1 N∙m; вижте Фигура 40.
-
Като започнете от центъра на опорния нож, затегнете винтовете до 23 до 28 N∙m, вижте Фигура 40.

-
Шлайфане на опорния нож.
Обслужване на HD двуточкови регулатори (DPA)
-
Свалете всички части (вижте Инструкциите за монтаж на комплекта HD DPA и Фигура 41).
-
Нанесете противозадираща смазка във вътрешността на зоната на втулката върху централната рама на режещия апарат (Фигура 41).
-
Подравнете ключовете на втулките на фланеца към прорезите в рамата и монтирайте втулките (Фигура 41).
-
Монтирайте набраздена шайба върху регулиращия вал и плъзнете регулиращия вал във втулките на фланеца в рамата на режещия апарат (Фигура 41).
-
Фиксирайте регулиращия вал с плоска шайба и контрагайка (Фигура 41).
-
Завъртете контрагайката с въртящ момент от 20 до 27 N∙m.
Note: Регулиращият вал на рейката е с лява резба.

-
Нанесете противозадираща смазка върху резбите на регулиращия винт за рейката, които се фиксират в регулиращия вал.
-
Завийте регулиращия винт за рейката в регулиращия вал.
-
Монтирайте хлабави закалената шайба, пружината и гайката за обтягане на пружината на регулиращия винт.
-
Монтирайте рейката като разположите монтажните уши между шайбата и механизма за регулиране на рейката.
-
Закрепете рейката към всяка от страничните плоскости с болтовете ѝ (с гайки върху болтовете) и 6 шайби.
Note: Поставете найлонова шайба от всяка страна на втулката на страничната плоскост.
-
Поставете стоманена шайба отвън върху всяка от найлоновите шайби (Фигура 41).
-
Затегнете болтовете на рейката с въртящ момент 37 до 45 N∙m.
-
Затегнете контрагайките, докато външната стоманена шайба спре да се върти и крайната хлабина е премахната, но не пренатягайте и не прегъвайте страничните плоскости.
Note: Възможно е шайбите от вътрешната страна да имат известна хлабина (Фигура 41).
-
Затегнете гайката върху всеки възел на регулатор на рейката, докато компресионната пружина е напълно притисната, след което разхлабете гайката с ½ оборот (Фигура 41).
-
Повторете тази процедура в другия край на режещия апарат.
-
Регулирайте опорния нож спрямо режещия барабан; вижте Регулиране на опорния нож спрямо режещия барабан.
Обслужване на ролката
За обслужване на ролката се предлагат комплекта за повторно изграждане на ролката (номер на част 114-5430) и комплекта с инструменти за повторно изграждане на ролката (номер на част 115-0803) (Фигура 42). Комплектът за повторно изграждане на ролката включва всички лагери, лагерни капачки, вътрешни и външни уплътнения, необходими за повторно изграждане на ролката. Комплектът с инструменти за повторно изграждане на ролката включва всички инструменти и инструкции за монтаж, необходими за повторно изграждане на ролка с комплекта за повторно изграждане на ролка. Вижте каталога с части или се свържете с упълномощения дистрибутор на Toro за съдействие.



, който
обозначава Внимание“, Предупреждение“
или Опасност“
– инструкции, свързани
с личната безопасност.
Неспазването на
тези инструкции
може да доведе
до нараняване или
смърт.



















