| Intervalo de assistência | Procedimento de manutenção |
|---|---|
| Em todas as utilizações ou diariamente |
|
Este veículo utilitário destina-se à utilização fora de estrada para transportar pessoas e materiais. Se a máquina for utilizada com qualquer outro propósito, poderá pôr em perigo o utilizador ou outras pessoas.
Leia estas informações com atenção para saber como operar e realizar a manutenção adequada do produto, além de evitar lesões e danos ao produto. A utilização correta e segura do produto é da exclusiva responsabilidade do utilizador.
Visite www.Toro.com para obter informações sobre materiais de formação de operação e segurança dos produtos, informações sobre acessórios, para obter o contacto de um representante ou para registar o seu produto.
Sempre que necessitar de assistência, peças genuínas Toro ou informações adicionais, entre em contacto com um representante de assistência autorizado ou com o serviço de assistência Toro, indicando os números de modelo e de série do produto. Figura 1 identifica a localização dos números de série e de modelo do produto. Escreva os números no espaço fornecido.
Important: Com o seu dispositivo móvel, pode ler o código QR no autocolante do número de série (se equipado) para aceder às informações de garantia, peças e outras.

Neste manual são utilizadas duas palavras para destacar informações. A palavra Importante chama a atenção para informações mecânicas específicas e a palavra Observação destaca informações gerais que merecem atenção especial.
O símbolo de alerta de segurança (Figura 2) é utilizado neste manual e na máquina para identificar mensagens de segurança importantes que têm de ser seguidas para evitar acidentes. Este símbolo surge com as palavras Perigo, Aviso ou Cuidado.
Perigo indica uma situação de risco eminente que, se não for evitada, irá resultar em morte ou ferimento grave.
Aviso indica uma situação de risco potencial que, se não for evitada, pode resultar em morte ou ferimento grave.
Cuidado indica uma situação de risco potencial que, se não for evitada, poderá resultar em ferimento leve ou moderado.

Este produto cumpre todas as diretivas europeias relevantes. Para mais informações consultar a folha de Declaração de conformidade (DOC) em separado, específica do produto.
Se esta máquina estiver equipada com um dispositivo de telemática, consulte o seu distribuidor autorizado da Toro para obter as instruções para ativar este dispositivo.
|
Certificação da compatibilidade eletromagnética |
|
Doméstica: este dispositivo está em conformidade com as regras FCC parte 15. O funcionamento está sujeito às duas condições seguintes: (1) Este dispositivo não deve causar interferência prejudicial e (2) este dispositivo tem de aceitar qualquer interferência que possa ser recebida, incluindo interferência que possa causar um funcionamento indesejável. |
|
FCC ID: OF7RTS24 IC: 3575A-RTS24 |
|
Este equipamento foi testado e está em conformidade com as limites para dispositivos digitais de Classe B, de acordo com a 15.ª parte das FCC Rules (regulamentos da FCC). Estes limites foram estabelecidos para proporcionar uma proteção satisfatória contra interferências prejudiciais numa instalação residencial. Este equipamento gera, utiliza e pode emitir energia de radiofrequência e, se não for instalado e utilizado de acordo com as instruções, pode causar interferências prejudiciais às comunicações de rádio. No entanto, não há garantia de que não ocorram interferências numa determinada instalação. Se este equipamento causar interferências à receção de rádio ou televisão, que podem ser confirmadas pelo desligar e ligar do equipamento, aconselhamos o utilizador a tentar corrigir as interferências, seguindo uma ou mais das seguintes medidas:
|
|
Argentina |
![]() |
|
Austrália |
![]() |
|
Marrocos |
|
|---|---|
|
AGREE PAR L’ANRT MAROC |
|
|
Numero d’agrement: |
MR00003613ANRT2024 |
|
Delivre d’agrement: |
22/08/2024 |
Utilizar ou operar o motor em qualquer terreno com floresta, arbustos ou relva é uma violação da secção 4442 ou 4443 do código de recursos públicos da Califórnia exceto se o motor estiver equipado com uma proteção contra chamas, como definido na secção 4442, mantido em boas condições ou o motor for construído equipado e mantido para a prevenção de fogo.
O Manual do proprietário do motor é fornecido para informações acerca do sistema de emissões, manutenção e garantia da US Environmental Protection Agency (EPA) e regulamento de controlo de emissões da Califórnia. A substituição pode ser solicitada através do fabricante do motor.
CALIFÓRNIA
Proposição 65 Aviso
É do conhecimento do Estado da Califórnia que os gases de escape deste motor contêm químicos que podem provocar cancro, defeitos congénitos ou outros problemas reprodutivos.
Os pólos, terminais e restantes acessórios da bateria contêm chumbo e derivados de chumbo; é do conhecimento do Estado da Califórnia que estes químicos podem provocar cancro e problemas reprodutivos. Lave as mãos após a utilização.
Este produto pode causar ferimentos pessoais. Respeite sempre todas as instruções de segurança, de modo a evitar ferimentos pessoais graves.
Leia e compreenda o conteúdo deste Manual do utilizador antes de ligar a máquina. Certifique-se de que todos os que utilizam este produto sabem como o utilizar e compreendem os avisos.
Esteja totalmente atento quando utilizar a máquina. Não se envolva em nenhuma atividade que dê azo a distrações, caso contrário poderão ocorrer ferimentos ou danos materiais.
Não coloque as mãos ou os pés perto de componentes em movimento da máquina.
Não opere a máquina sem que todos os resguardos e outros dispositivos protetores de segurança estejam instalados e a funcionar.
Mantenha as pessoas e as crianças pequenas afastadas da área de operação. Nunca permita que crianças utilizem a máquina.
Pare e desligue a máquina e retire a chave da ignição antes de proceder à manutenção ou ao abastecimento.
O uso e manutenção impróprios desta máquina
podem resultar em ferimentos. Para reduzir o risco de lesões,
respeite estas instruções de segurança e preste
sempre atenção ao símbolo de alerta de segurança
, que indica: Cuidado, Aviso
ou Perigo – instruções de segurança pessoal.
O não cumprimento destas instruções pode resultar
em ferimentos pessoais ou mesmo em morte.
![]() |
Os autocolantes de segurança e de instruções são facilmente visíveis e situam-se próximo das zonas de potencial perigo. Substitua todos os autocolantes danificados ou em falta. |









Note: Determine os lados direito e esquerdo da máquina a partir da posição normal de operação.
Peças necessárias para este passo:
| Volante | 1 |
| Cobertura | 1 |
| Anilha (½ pol.) | 1 |
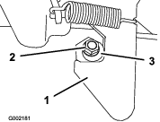
Se a tampa estiver instalada, retire a tampa do cubo do volante (Figura 3).
Retire a porca de bloqueio (½ pol.) e a anilha do eixo da direção (Figura 3).
Encaixe o volante e a anilha (½ pol.) no eixo da direção (Figura 3).
Prenda o volante ao eixo com a porca de bloqueio (½ pol.) e aperte com 27 a 34 N·m.
Instale a cobertura no volante (Figura 3).

O encaminhamento incorreto do cabo da bateria poderá danificar a máquina e os cabos, provocando faíscas. As faíscas podem provocar uma explosão dos gases da bateria, resultando em acidentes pessoais.
Desligue sempre primeiro o cabo negativo (preto) da bateria antes de desligar o cabo positivo (vermelho) da bateria.
Ligue sempre o cabo positivo da bateria (vermelho) primeiro.
Aperte a tampa da bateria para libertar as patilhas da base da bateria (Figura 4).

Retire a tampa da bateria da base (Figura 4).
Ligue o cabo positivo da bateria (vermelho) ao terminal positivo (+) da bateria e prenda o cabo com os parafusos e porcas (Figura 5).

Coloque a cobertura de isolamento no terminal positivo.
Note: A cobertura de isolamento evita que ocorra uma possível descarga à terra.
Ligue o cabo negativo da bateria (preto) no terminal negativo (-) da bateria e prenda o cabo com os parafusos e as porcas.
Alinhe a tampa da bateria na base da bateria (Figura 4).
Aperte a tampa da bateria, alinhe as patilhas com a base da bateria e solte a tampa (Figura 4).
Verifique o nível do óleo do motor antes e depois de pôr o motor em funcionamento pela primeira vez; consulte Verificação do nível de óleo do motor.
Verifique o nível do fluido dos travões antes de pôr o motor em funcionamento pela primeira vez; consulte Verificação do nível de fluido dos travões.
Verifique o nível do fluido do eixo da transmissão antes de pôr o motor em funcionamento pela primeira vez; consulte Verificação do nível de fluido do eixo-transmissão.
Verifique a pressão de ar nos pneus; consulte Verificação da pressão dos pneus.
Para assegurar uma performance otimizada do sistema de travões, acame os travões antes da utilização da máquina.
Leve o veículo a velocidade total, aplique os travões para parar rapidamente o veículo sem bloquear os pneus.
Repita este procedimento 10 vezes, aguardando um minuto entre paragens para evitar sobreaquecimento dos travões.
Important: Este procedimento é mais eficaz se a máquina estiver carregada com 227 kg.
Peças necessárias para este passo:
| Manual do utilizador | 1 |
| Manual do proprietário do motor | 1 |
| Cartão de registo | 1 |
| Formulário de inspeção pré-envio | 1 |
| Certificado de qualidade | 1 |
| Chave | 2 |
Leia o Manual do utilizador e o manual de proprietário do motor.
Preencha o cartão de registo.
Preencha o Formulário de inspeção pré-envio.
Verifique o Certificado de qualidade.

Familiarize-se primeiro com todos os comandos antes de ligar o motor e utilizar a máquina.

Utilize o pedal do acelerador (Figura 7) para alterar a velocidade da máquina. Se pressionar o pedal, liga o motor. Se carregar mais no pedal, a velocidade da máquina aumenta. Se libertar o pedal, diminui a velocidade da máquina e desliga o motor.
Note: A velocidade máxima é de 26 km/h.
Utilize o pedal dos travões para parar ou diminuir a velocidade da máquina (Figura 7).
Operar uma máquina com travões gastos ou mal afinados pode dar origem a ferimentos pessoais.
Se o pedal do travão apresentar uma folga de até 25 mm até ao piso da máquina, deverá efetuar o ajuste ou reparação dos travões.
A alavanca do travão de estacionamento encontra-se entre os bancos (Figura 6 e Figura 7). Sempre que desliga o motor, engate o travão de estacionamento para evitar algum movimento acidental da máquina. Para engatar o travão de estacionamento, puxe a alavanca do travão de estacionamento para cima. Para desengatar o travão de estacionamento, empurre a alavanca para a baixo.
A alavanca do ar encontra-se localizada na zona inferior direita do banco do utilizador. Utilize o ar para ajudar no arranque de um motor frio puxando a alavanca do ar para fora (Figura 8). Após o arranque do motor, regule a alavanca do ar para manter o motor num funcionamento regular. Assim que o motor aquecer, empurre a alavanca do ar para a posição DESLIGAR.

A alavanca de mudanças encontra-se entre os bancos e por baixo da alavanca do travão de estacionamento. A alavanca de mudanças possui três posições: FRENTE, MARCHA-ATRáS e PONTO MORTO (Figura 8).
Note: O motor arranca e continua em funcionamento em qualquer uma das três posições.
Important: Pare sempre a máquina antes de mudar uma mudança.
O interruptor da buzina encontra-se no painel de controlo (Figura 7). Carregue no interruptor da buzina para apitar.
O interruptor da chave encontra-se no canto inferior direito do painel de instrumentos (Figura 7).
O interruptor de ignição tem três posições: DESLIGAR, LIGAR e ARRANQUE.
Existem dois modos de iniciar a máquina; consulte Ligação do motor.
Utilize o interruptor das luzes (Figura 7) para ligar os faróis. Empurre o interruptor das luzes para cima para acender os faróis. Empurre o interruptor das luzes para baixo para desligar os faróis.
O contador de horas indica o total de horas de funcionamento da máquina. O contador de horas (Figura 7) começa a funcionar sempre que se roda a chave para a posição LIGAR ou se o motor se encontrar em funcionamento.
A luz de pressão do óleo do motor (Figura 7) indica se a pressão do óleo do motor desceu abaixo de um limite considerado seguro para operar o motor. Se a luz acender e permanecer acesa, desligue o motor e verifique o nível do óleo do motor. Junte óleo ao motor se necessário, consulte Verificação do óleo do motor.
Note: A luz do óleo poderá piscar; isto é normal e não é necessário tomar qualquer medida.
Utilize o ponto de corrente USB (Figura 7) para ligar dispositivos móveis.
Important: Quando não estiver a usar o ponto de corrente USB, insira a tomada de borracha para prevenir danos no ponto de corrente.
O indicador de combustível (Figura 9) está no depósito de combustível, junto ao tampão de enchimento, do lado esquerdo do operador na máquina. O indicador mostra a quantidade de combustível no depósito.

As pegas do passageiro encontram-se à direita no painel de instrumentos e no exterior de cada banco (Figura 10).

Note: As especificações e o desenho do produto estão sujeitos a alterações sem aviso prévio.
| Peso base | Seco 544 kg |
| Capacidade nominal total (numa superfície nivelada) | 749 kg, incluindo 90,7 kg do condutor e 90,7 kg do passageiro, carga, peso do garfo, peso bruto do atrelado, acessórios e engates |
| Peso bruto do veículo (GVW) – numa superfície nivelada | 1292 kg, incluindo todos os componentes supra referidos |
| Capacidade máxima de carga (numa superfície plana) | 567 kg, incluindo o peso do garfo e o peso bruto do atrelado |
| Capacidade de reboque: | |
| Engate padronizado | Peso do garfo: 45 kg |
| Peso bruto do atrelado (GTW): 363 kg | |
| Engate para atrelados pesados | Peso do garfo: 45 kg |
| Peso bruto do atrelado (GTW): 544 kg | |
| Largura total | 150 cm |
| Comprimento total | 303 cm |
| Altura em relação ao solo | 25 cm à frente, sem carga nem operador; 18 cm atrás, sem carga nem operador |
| Distância entre eixos | 206 cm |
| Piso da roda (centro a centro) | 125 cm à frente; 120 cm à retaguarda |
| Comprimento da plataforma de carga | 117 cm interior; 133 cm exterior |
| Largura da plataforma de carga | 125 cm interior, 150 cm no exterior dos guarda-lamas moldados |
| Altura da plataforma de carga | 25 cm interior |
Está disponível uma seleção de engates e acessórios aprovados pela Toro para utilização com a máquina, para melhorar e expandir as suas capacidades. Contacte o seu representante ou distribuidor de assistência autorizado ou vá a www.Toro.com para obter uma lista de todos os engates e acessórios aprovados.
Para garantir o máximo desempenho e segurança contínua certificada da máquina, adquira sempre peças sobressalentes e acessórios genuínos da Toro. A utilização de peças sobressalentes e acessórios produzidos por outros fabricantes pode ser perigosa e pode utilizar um espaço vazio na garantia do produto.
Note: Determine os lados direito e esquerdo da máquina a partir da posição normal de utilização.
Nunca permita que crianças ou pessoas que não tenham formação ou que não estejam fisicamente capazes que operem ou prestem manutenção à máquina. Os regulamentos locais podem determinar restrições relativamente à idade do utilizador. A formação de todos os operadores e mecânicos é da responsabilidade do proprietário.
Familiarize-se com o funcionamento seguro do equipamento, com os controlos do utilizador e com os sinais de segurança.
Desligue a máquina, retire a chave e aguarde até que todo o movimento pare, antes de sair da posição de operação. Deixe a máquina arrefecer antes de ajustar, fazer manutenção, limpar ou armazenar.
Saiba como parar e desligar a máquina rapidamente.
Certifique-se de que não existem mais ocupantes (você e o seu passageiro) do que o número de pegas equipadas na máquina.
Verifique se todos os dispositivos de segurança e autocolantes estão no devido lugar. Repare ou substitua todos os dispositivos de segurança e substitua todos os autocolantes ilegíveis ou em falta. Não utilize a máquina se estes componentes não estiverem presentes e a funcionar corretamente.
Tenha muito cuidado quando manusear combustível. Este combustível é inflamável e os seus vapores são explosivos.
Apague todos os cigarros, charutos, cachimbos e outras fontes de ignição.
Utilize apenas um recipiente para combustível aprovado.
Não retire o tampão do depósito nem encha o depósito enquanto o motor se encontrar em funcionamento ou estiver quente.
Nunca adicione nem drene combustível num espaço fechado.
Não guarde a máquina ou o recipiente de combustível onde uma fonte de fogo, faísca ou luz piloto, como junto de uma caldeira ou outros eletrodomésticos.
Em caso de derrame de combustível, não tente ligar o motor; evite criar qualquer fonte de ignição até os vapores do combustível se terem dissipado.
| Intervalo de assistência | Procedimento de manutenção |
|---|---|
| Em todas as utilizações ou diariamente |
|
Antes de ligar a máquina diariamente, efetue os procedimentos A cada utilização/diariamente indicados em
| Intervalo de assistência | Procedimento de manutenção |
|---|---|
| Em todas as utilizações ou diariamente |
|
Especificação da pressão de ar dos pneus: 0,55 a 1,03 bar
Important: Não exceda a pressão máxima de ar indicada na lateral do pneu.
Note: A pressão de ar necessária nos pneus é determinada pelo total de carga que tenciona transportar.
Verifique a pressão de ar dos pneus.
Note: A pressão de ar correta nos pneus dianteiros e traseiros é 0,55 a 1,03 bar.
Utilize baixa pressão nos pneus para cargas mais leves, menos compactação do solo, uma condução mais suave e para minimizar as marcas dos pneus no solo.
Utilize elevada pressão nos pneus para transportar cargas mais pesadas a velocidades mais elevadas.
Se necessário, ajuste a pressão de ar nos pneus adicionando ou removendo ar.

Combustível recomendado:
Para melhores resultados, utilizar apenas gasolina limpa, fresca (com menos de 30 dias) e sem chumbo com uma classificação de octanas de 87 ou superior (método de classificação (R+M)/2).
Etanol: gasolina com até 10% de etanol (gasool) ou 15% de MTBE (éter-metil-tercio-butílico) por volume é aceitável. Etanol e MTBE não são a mesma coisa. Gasolina com 15% de etanol (E15) por volume não é aprovada para utilização. Nunca utilize gasolina que contenha mais de 10% de etanol por volume como, por exemplo, E15 (contém 15% etanol), E20 (contém 20% etanol) ou E85 (contém até 85% de etanol). A utilização de gasolina não aprovada pode causar problemas de desempenho e/ou danos no motor, que poderão não ser abrangidos pela garantia.
Não utilize gasolina que contenha metanol.
Não guarde combustível nem no depósito do combustível nem em recipientes de combustível durante o inverno, a não ser que seja utilizado um estabilizador de combustível.
Não adicione petróleo à gasolina.
A capacidade do depósito de combustível é de aproximadamente 26,5 litros.
Estacione a máquina numa superfície nivelada.
Engate o travão de estacionamento.
Desligue o motor e retire a chave.
Limpe a zona em torno do tampão do depósito de combustível (Figura 12).

Retire a tampa do depósito de combustível.
Encha o depósito até 25 mm abaixo do cimo do depósito (fundo do tubo de enchimento).
Note: Este espaço no depósito irá permitir que o combustível se expanda. Não encha demasiado o depósito de combustível.
Coloque a tampa do depósito de combustível de forma segura.
Remova todo o combustível derramado.
| Intervalo de assistência | Procedimento de manutenção |
|---|---|
| Após as pimeiras 100 horas |
|
Siga as seguintes orientações para obter um desempenho adequado da máquina.
Certifique-se que os travões estão acamados; consulte Acamação dos travões.
Verifique os níveis dos fluidos e do óleo do motor regularmente. Mantenha-se alerta aos sinais de que a máquina ou os seus componentes estão em sobreaquecimento.
Após o arranque de um motor a frio, deverá aguardar 15 segundos antes de utilizar a máquina.
Note: Aguarde mais tempo para aquecer o motor quando trabalhar em temperaturas frias.
Deverá variar a velocidade da máquina durante o seu funcionamento. Evite paragens e arranques bruscos.
Não é necessário utilizar um óleo de rodagem para o motor. O óleo do motor original é do mesmo tipo daquele que é especificado para as mudanças de óleo regulares.
Consulte para obtenção de informações detalhadas acerca das verificações programadas.
Verifique o posicionamento da suspensão dianteira e ajuste se necessário; consulte Ajuste do alinhamento da roda da frente.
O proprietário/utilizador pode evitar e é responsável por acidentes que possam causar ferimentos a pessoas ou danos a propriedades.
Os passageiros devem sentar-se apenas nas posições do banco designadas. Não transporte passageiros na plataforma de carga. Mantenha as pessoas e as crianças pequenas afastadas da área de operação.
Utilize vestuário adequado, incluindo proteção ocular, calças compridas, calçado resistente anti-derrapante e proteção para os ouvidos. Prenda cabelo comprido e não utilize vestuário solto ou joias pendentes.
Esteja totalmente atento quando utilizar a máquina. Não se envolva em nenhuma atividade que dê azo a distrações, caso contrário poderão ocorrer ferimentos ou danos materiais.
Não utilize a máquina quando estiver doente, cansado ou se encontrar sob o efeito de álcool ou drogas.
Utilize a máquina só no exterior ou numa área bem ventilada.
Não exceda o peso máximo bruto do veículo para a máquina.
Tenha muito cuidado quando operar, travar ou virar a máquina com uma carga pesada na plataforma de carga.
Transportar cargas de maior dimensão na plataforma de carga reduz a estabilidade da máquina. Não exceda a capacidade de transporte da plataforma.
Transportar material que não pode ser preso à máquina afeta de forma adversa a viragem, a travagem e a estabilidade da máquina. Quando transportar material que não possa ser preso à máquina, tenha cuidado ao virar ou travar.
Transporte uma carga pequena e reduza a velocidade da máquina quando a utilizar num terreno acidentado e irregular e perto de lancis, buracos e outras alterações bruscas no terreno. As cargas podem soltar-se e desestabilizar a máquina.
Antes de ligar a máquina, certifique-se de que a transmissão está na posição de ponto morto, o travão de estacionamento está engatado e coloque-se na posição de operação.
O operador e os passageiros devem permanecer sentados sempre que a máquina se encontrar em movimento. Mantenha as mãos no volante; os passageiros deves colocar as mãos nas pegas montadas para esse efeito. Mantenha sempre os braços e as pernas dentro da máquina.
A utilização da máquina deve ser efetuada apenas com boa visibilidade. Esteja atento a buracos, carreiras, elevações, pedras ou outros objetos ocultos. O terreno desnivelado poderia fazer tombar a máquina. A relva alta pode ocultar obstáculos. Tome todas as precauções necessárias quando se aproximar de esquinas sem visibilidade, arbustos, árvores ou outros objetos que possam obstruir o seu campo de visão.
Não utilize a máquina perto de depressões, buracos ou bancos de areia. A máquina poderá capotar repentinamente se a roda resvalar numa depressão ou se o piso ceder.
Tome sempre muita atenção a obstáculos suspensos, por exemplo, ramos de árvores, aduelas de portas, passagens suspensas, etc.
Olhe para trás e para baixo antes de recuar, de modo a evitar acidentes.
Se a máquina vibrar de forma anormal, pare e desligue a máquina imediatamente, aguarde até que tudo se encontre parado e verifique se existem danos. Repare todos os danos na máquina antes de retomar o funcionamento.
O tempo de paragem em superfícies molhadas pode ser superior ao tempo em superfícies secas. Para secar travões molhados, conduza devagar em superfície nivelada, carregando ligeiramente no pedal do travão.
Utilizar a máquina a uma velocidade elevada e, depois, parar rapidamente pode causar o bloqueio das rodas traseiras, o que diminui o controlo da máquina.
Não toque no motor, na transmissão, no escape, ou na panela de escape ou coletor quando o motor se encontrar em funcionamento, ou logo depois de ter desligado a máquina, pois são áreas que se podem encontrar a uma temperatura suscetível de provocar queimaduras graves.
Não deixe a máquina a trabalhar sem vigilância.
Antes de sair da posição de operação, faça o seguinte:
Estacione a máquina numa superfície nivelada.
Mude a transmissão para a posição PONTO MORTO.
Engate o travão de estacionamento.
Desligue a máquina e retire a chave.
Aguarde que todo o movimento pare.
Nunca opere a máquina quando existir a possibilidade de trovoadas.
Utilize apenas acessórios e engates aprovados pela The Toro® Company.
Note: Está disponível um sistema de proteção anticapotamento de duas colunas (ROPS) para esta máquina como acessório. Utilize um ROPS, se trabalhar próximo de depressões, água, terreno irregular ou em inclinações, o que pode originar capotamento. Contacte um distribuidor autorizado Toro para obter mais informações.
Os declives são um dos principais fatores que contribuem para a perda de controlo e acidentes de capotamento que podem resultar em ferimentos graves ou morte.
Inspecione o local para determinar em que inclinações é seguro utilizar a máquina e defina os seus próprios procedimentos e regras para trabalhar nestas inclinações. Utilize sempre o bom senso e o seu julgamento ao realizar esta inspeção.
Se não se sentir seguro ao operar a máquina num declive, não o faça.
Todos os movimentos em declives devem ser lentos e graduais. Não mude bruscamente a velocidade ou direção da máquina.
Evite a operação da máquina quando o terreno se encontrar molhado. Os pneus podem perder tração. Pode ocorrer capotamento antes de os pneus perderem tração.
Aborde a descida e a subida de declives em linha reta.
Se começar a perder potência numa inclinação, engate os travões de forma gradual e recue lentamente a máquina.
É perigoso mudar de direção numa subida ou descida. Se tiver de inverter o sentido da marcha numa inclinação, conduza devagar e com cuidado.
Cargas pesadas afetam a estabilidade do veículo numa inclinação. Transporte uma carga inferior e reduza a velocidade quando estiver numa inclinação ou quando o centro de gravidade da carga for alto. Fixe a carga na plataforma de carga da máquina para evitar que se desloque. Tenha especial cuidado ao transportar cargas que se soltam facilmente (por ex., líquidos, pedras, areia, etc.).
Evite arrancar, parar ou virar a máquina num declive, especialmente se estiver carregada. Parar numa inclinação leva mais tempo do que parar numa superfície plana. Se precisar de imobilizar a máquina, evite mudanças bruscas de velocidade que podem fazer com que a máquina tombe ou capote. Não engate os travões de repente quando estiver a andar para trás porque a máquina pode capotar.
Não ultrapasse o peso bruto da máquina quando a operar com carga na plataforma de carga, quando rebocar um atrelado ou ambos; consulte Especificações.
Distribua a carga na plataforma de carga uniformemente para melhorar a estabilidade e controlar a máquina.
Antes da descarga, certifique-se de que não está ninguém atrás da máquina.
Não descarregue uma plataforma de carga carregada a máquina de lado numa inclinação. A mudança na distribuição do peso pode provocar o capotamento da máquina.
Uma plataforma elevada pode cair e ferir pessoas que estejam a trabalhar debaixo dela.
Antes de se meter sob a plataforma, acione a barra de apoio para a fixar.
Antes de elevar a plataforma, descarregue o material que lá se encontre.
Ao circular com a plataforma de carga erguida, a máquina pode capotar ou tombar mais facilmente. Pode danificar a estrutura da plataforma de carga, se utilizar a máquina com a plataforma erguida.
Opere a máquina apenas com a plataforma de carga em baixo.
Depois de esvaziar a plataforma de carga, baixe-a.
Se uma carga estiver concentrada perto da parte traseira da plataforma de carga quando libertar os fechos, a plataforma pode abrir inesperadamente, ferindo-o a si ou às pessoas que estão perto.
Centre as cargas na plataforma de carga, se possível.
Pressione a plataforma de carga para baixo e, quando libertar os fechos, certifique-se de que ninguém está inclinado sobre a plataforma ou se encontra por trás dela.
Retire toda a carga da plataforma antes de elevar a plataforma para prestar assistência à máquina.
A plataforma pode ser pesada. Há o risco de esmagamento das mãos ou outras partes do corpo.
Afaste as mãos e outras partes do corpo quando descer a plataforma.
Certifique-se de que a plataforma de carga está para baixo e trancada.
Eleve nos locais indicados no painel traseiro da porta traseira (Figura 15).

Alinhe as flanges de bloqueio da porta traseira com as aberturas entre as flanges da porta traseira da plataforma de carga (Figura 15).
Rode a porta traseira para trás e para baixo (Figura 15).
Se descarregar material solto como areia, pedras ou aparas de madeira da plataforma de carga da máquina, algum material pode alojar-se da área das dobradiças da porta traseira. Faça o seguinte antes de fechar a porta traseira.
Com as mãos, retire tanto material quanto possível da zona das dobradiças.
Rode a porta traseira para a posição de aproximadamente 45° (Figura 16).

Com um movimento breve e oscilante, rode a porta traseira para trás e para a frente várias vezes (Figura 16).
Note: Esta ação vai ajudar a afastar o material da zona das dobradiças.
Baixe a porta traseira e verifique se ficou material na zona das dobradiças.
Repita os passos 1 a 4 até o material ser retirado da zona das dobradiças.
Rode a porta traseira para cima e para a frente até as flanges de bloqueio estarem justas ao espaço da porta na plataforma de carga (Figura 15).
Note: Eleve ou desça a porta traseira para alinhar as flanges de bloqueio na porta traseira com as aberturas verticais entre as flanges da porta traseira da plataforma de carga.
Desça a porta traseira até ficar assente na parte de trás da plataforma de carga (Figura 15).
Note: As flanges de bloqueio da porta traseira ficam completamente presas pelas flanges da porta traseira da plataforma de carga.
Sente-se no banco do operador, introduza a chave na ignição e rode-a no sentido dos ponteiros do relógio, na direção da posição LIGAR ou ARRANQUE.
Existem dois modos de iniciar a máquina:
Arranque por pedal - rode a chave na ignição para a posição LIGAR e pressione o pedal do acelerador.
Note: Quando retirar o pé do pedal do acelerador, o motor irá desligar-se.
Ignição – rode a chave do interruptor para a posição ARRANQUE e o motor permanece ligado até que a chave seja rodada para a posição DESLIGAR.
Note: Ao utilizar o modo de arranque, pode engatar o travão de estacionamento e trabalhar afastado da máquina, enquanto o motor continua a funcionar e a bateria tem carga.
Note: Se rodar a chave para a posição ARRANQUE, o motor gira até arrancar. Se o motor girar mais de 10 segundos, volte para a posição DESLIGAR e determine o seu problema (ex.: a alavanca do ar pode necessitar de ser engatada, verifique se o filtro de ar tem restrições, se o depósito do tanque está cheio, se a vela está avariada, etc.) antes de ligar novamente a máquina.
Note: Quando equipado com um alarme opcional de segurança, se a alavanca de mudanças se encontrar engatada na posição MARCHA-ATRáS quando o interruptor de ignição estiver na posição LIGAR ou ARRANQUE, deverá ouvir um sinal sonoro que alerta o utilizador para esse facto.
Mova a alavanca de mudanças na direção pretendida para a máquina.
Desengate o travão de estacionamento.
Pressione lentamente o pedal do acelerador.
Note: Se o motor se encontrar frio, mantenha o pedal do acelerador pressionado e puxe o botão do ar para a posição LIGAR. Volte a colocar o botão do ar na posição DESLIGAR quando o motor aquecer.
Important: Quando parar numa superfície inclinada, utilize os travões de serviço para parar a máquina e engate o travão de estacionamento para imobilizar a máquina. A utilização do acelerador para imobilizar a máquina num declive acentuado pode danificar a máquina.
Retire o pé do pedal do acelerador.
Lentamente, pressione o pedal do travão para aplicar os travões de serviço até que a máquina pare completamente.
Note: A distância de paragem irá depender da carga e velocidade da máquina.
Siga as seguintes diretrizes quando carregar a plataforma de carga e utilizar a máquina:
Respeite a capacidade de peso da máquina e limite o peso da carga que transporta na plataforma de carga, conforme descrito em Especificações e no autocolante do peso bruto da máquina.
Note: A capacidade de carga é específica para o funcionamento da máquina apenas numa superfície plana.
Reduza o peso da carga que transporta na plataforma de carga quando utilizar a máquina em subidas/descidas ou terreno irregular.
Reduza o peso da carga que transporta quando os materiais forem altos (e tenham um centro de gravidade elevado), como um monte de tijolos, madeira para projetos paisagistas ou sacos de fertilizante. Distribua a carga na horizontal, assegurando que a carga não reduz a visibilidade para a traseira da máquina.
Mantenha as cargas centradas carregando a plataforma de carga da seguinte forma:
Posição equilibrada do peso na plataforma de carga de um lado ao outro.
Important: Há maior probabilidade de ocorrer capotamento, se a plataforma de carga tiver carga só de um lado.
Posição equilibrada do peso na plataforma de carga de frente para trás.
Important: Perda da direção ou a máquina pode tombar, se posicionar a carga atrás do eixo traseiro e a tração nos pneus dianteiros for reduzida.
Tenha especial cuidado quando transportar cargas de grandes dimensões na plataforma de carga, particularmente quando não conseguir centrar o peso dessa carga na plataforma.
Sempre que possível, fixe a carga à plataforma de carga para não se mover.
Quando transportar líquidos, tenha cuidado quando conduzir a máquina em subidas ou descidas, quando alterar a velocidade ou parar de repente ou quando conduzir em superfícies irregulares.
A capacidade da caixa de carga é 0,37 m3. A quantidade (volume) de material que pode colocar na plataforma, sem ultrapassar os limites definidos, pode variar grandemente conforme a densidade do material carregado.
Para informações mais detalhadas acerca dos limites do volume de carga para diversos materiais, consulte o quadro seguinte.
| Material | Densidade | Capacidade máxima da caixa de carga (numa superfície plana) |
| Brita, seca | 1522 kg/m3 | Carga total |
| Brita, molhada | 1922 kg/m3 | 3/4 cheia |
| Areia, seca | 1442 kg/m3 | Carga total |
| Areia, molhada | 1922 kg/m3 | 3/4 cheia |
| Madeira | 721 kg/m3 | Carga total |
| Casca de árvore | <721 kg/m3 | Carga total |
| Terra, compactada | 1602 kg/m3 | 3/4 cheia (aproximadamente) |
Antes de sair da posição de operação, faça o seguinte:
Estacione a máquina numa superfície nivelada.
Mude a transmissão para a posição PONTO MORTO.
Engate o travão de estacionamento.
Desligue a máquina e retire a chave.
Aguarde que todo o movimento pare.
Deixe a máquina arrefecer antes de a ajustar, lhe fazer a manutenção, limpar ou armazenar.
Não guarde a máquina onde existir uma fonte de fogo, faísca ou luz piloto, como junto de uma caldeira ou outros eletrodomésticos.
Mantenha todas as peças da máquina em boas condições de trabalho e as partes corretamente apertadas.
Mantenha e limpe o(s) cinto(s) de segurança, como necessário.
Substitua todos os autocolantes desgastados, danificados ou em falta.
Tome todas as precauções necessárias quando colocar ou retirar a máquina de um atrelado ou camião.
Utilize rampas de largura total para carregar a máquina num atrelado ou camião.
Prenda bem a máquina.
Consulte Figura 17 e Figura 18 para localizar os pontos de fixação da máquina.
Note: Carregue a máquina no atrelado com a parte da frente da máquina virada para a frente. Se isso não for possível, prenda o capot da máquina ao chassis com uma cinta, ou retire o capot e transporte-o e prenda-o em separado, pois o capot pode ser projetado durante o transporte.


Em caso de emergência, é possível rebocar a máquina numa curta distância; no entanto, este não deve ser um procedimento de funcionamento padrão.
Rebocar o veículo em excesso de velocidade, pode levar à perda de direção e provocar acidentes pessoais.
Não ultrapasse os 8 km/h durante o reboque.
O reboque da máquina é tarefa para duas pessoas. Se for necessário deslocar a máquina uma distância considerável, deverá utilizar uma carrinha ou um atrelado; consulte Reboque de um atrelado
Retire a correia de transmissão da máquina; consulte Substituição da correia de transmissão.
Ate um cabo de reboque ao garfo, na parte dianteira do chassis da máquina (Figura 17).
Mova a transmissão para a posição PONTO MORTO e desengate o travão de estacionamento.
A máquina tem capacidade para rebocar atrelados. Está disponível um engate de reboque para a máquina. Contate o representante de assistência autorizado para obter mais pormenores.
Para transportar carga ou rebocar um atrelado, não sobrecarregue a máquina nem o atrelado. A sobrecarga da máquina ou do atrelado poderá diminuir o desempenho ou danificar os travões, o eixo, o motor, o conjunto eixo-transmissão, a direção, a suspensão, o chassis ou os pneus.
Carregue sempre o atrelado com 60% da capacidade de carga na zona dianteira. Desta forma, cerca de 10% do peso bruto do atrelado fica sobre o engate de reboque da máquina.
Para uma travagem e tração adequadas durante o reboque, carregue sempre a plataforma de carga. Não exceda os limites do PBA nem do PMA.
Não estacione a máquina com um atrelado em subidas ou descidas. Se não houver alternativa, engate o travão de estacionamento e bloqueie as rodas do atrelado.
Note: Determine os lados direito e esquerdo da máquina a partir da posição normal de utilização.
Não permita que pessoas sem formação realizem a manutenção da máquina.
Antes de sair da posição de operação, faça o seguinte:
Estacione a máquina numa superfície nivelada.
Mude a transmissão para a posição PONTO MORTO.
Engate o travão de estacionamento.
Desligue a máquina e retire a chave.
Aguarde que todo o movimento pare.
Deixe a máquina arrefecer antes de a ajustar, lhe fazer a manutenção, limpar ou armazenar.
Apoie a máquina com preguiças sempre que trabalhar debaixo da máquina.
Não trabalhe debaixo de uma plataforma elevada sem o devido suporte de segurança da plataforma instalado.
Não carregue as baterias enquanto estiver a fazer a manutenção da máquina.
Para garantir que toda a máquina se encontra em boas condições de funcionamento, mantenha todas as ferragens devidamente apertadas.
Para reduzir o risco potencial de fogo, mantenha a zona da máquina livre de massa excessiva, folhas e sujidade.
Se possível, não faça manutenção com a máquina em funcionamento. Mantenha-se longe das peças móveis.
Se for necessário colocar a máquina em funcionamento para executar qualquer ajuste, deverá manter as mãos, pés, roupa e outras partes do corpo longe de quaisquer peças em movimento. Mantenha as pessoas afastadas da máquina.
Limpe as zonas que tenham óleo e combustível derramado.
Verifique o funcionamento do travão de estacionamento, como recomendado no programa de manutenção e ajuste e faça a manutenção como necessário.
Mantenha todas as peças da máquina em boas condições de trabalho e as ferragens corretamente apertadas. Substitua todos os autocolantes gastos ou danificados.
Nunca interfira na função original de um dispositivo de segurança nem reduza a proteção fornecida por um dispositivo de segurança.
Não acelere o motor através de alterações nos valores do regulador. Para garantir a segurança e precisão do motor, solicite a um representante de assistência autorizado a verificação do regime máximo do motor com um conta-rotações.
Se for necessário efetuar reparações de vulto ou se alguma vez necessitar de assistência, contacte um distribuidor autorizado Toro.
Qualquer alteração na máquina pode afetar a operação da máquina, o desempenho, a durabilidade, ou a sua utilização pode provocar lesões ou a morte. Tais alterações podem invalidar a garantia de produto prestada pela The Toro® Company.
| Intervalo de assistência | Procedimento de manutenção |
|---|---|
| Após as pimeiras 8 horas |
|
| Após as pimeiras 25 horas |
|
| Após as pimeiras 50 horas |
|
| Após as pimeiras 100 horas |
|
| Em todas as utilizações ou diariamente |
|
| A cada 100 horas |
|
| A cada 200 horas |
|
| A cada 300 horas |
|
| A cada 400 horas |
|
| A cada 600 horas |
|
| A cada 800 horas |
|
| A cada 1000 horas |
|
Note: Descarregue uma cópia gratuita dos esquemas elétricos visitando www.Toro.com e procurando a sua máquina a partir da hiperligação de manuais na página inicial.
Important: Para informações detalhadas sobre os procedimentos de manutenção adicionais, consulte o Manual do utilizador do motor.
Não efetuar a manutenção adequada da máquina pode resultar em falha prematura dos sistemas da máquina, podendo feri-lo a si ou as outras pessoas.
Mantenha uma boa manutenção e um bom estado de funcionamento da máquina, conforme indicado nestas instruções.
Apenas pessoal qualificado e autorizado deverá efetuar a manutenção, reparação, ajuste ou inspeção da máquina.
Evite os riscos de incêndio e mantenha disponível equipamento de combate a incêndios. Não utilize dispositivos de chama livre para verificar os níveis ou eventuais fugas de combustível, o eletrólito da bateria ou o fluido de arrefecimento.
Não limpe as peças com recipientes de combustível encetados, nem com produtos de limpeza inflamáveis.
Se deixar a chave na ignição, alguém pode ligar acidentalmente o motor e feri-lo a si ou às pessoas que se encontrarem próximo da máquina.
Desligue o motor e retire a chave do interruptor antes de realizar qualquer manutenção.
Copie esta página para uma utilização de rotina.
| Verificações de manutenção | Para a semana de: | ||||||
|---|---|---|---|---|---|---|---|
| Segunda-feira | Terça-feira | Quarta-feira | Quinta-feira | Sexta-feira | Sábado | Domingo | |
| Verifique o funcionamento dos travões (pedal dos travões e travão de estacionamento). | |||||||
| Verifique o funcionamento da alavanca de mudanças. | |||||||
| Verifique o nível de combustível. | |||||||
| Verifique o nível de óleo do motor. | |||||||
| Verificação do nível de fluido dos travões. | |||||||
| Verifique o nível de fluido do eixo-transmissão. | |||||||
| Verifique o filtro de ar. | |||||||
| Verifique as aletas de arrefecimento do motor. | |||||||
| Verifique se existem ruídos estranhos no motor. | |||||||
| Verifique todos os ruídos estranhos de funcionamento. | |||||||
| Verifique a pressão dos pneus. | |||||||
| Verifique se há fuga de fluidos. | |||||||
| Verifique o funcionamento do painel de instrumentos. | |||||||
| Verifique o funcionamento do acelerador. | |||||||
| Lave a máquina. | |||||||
| Retoque a pintura danificada. | |||||||
Important: Se a máquina estiver sujeita a qualquer uma das condições que a seguir se enumeram, proceda à sua manutenção com o dobro da regularidade:
Funcionamento no deserto
Utilização em clima frio abaixo de 10°C
Reboque do atrelado
Utilização frequente em locais com muita poeira
Estaleiros
Após uma operação alargada em lama, areia, água ou condições de sujidade semelhantes, faça o seguinte:
Proceda à rápida inspeção e limpeza dos travões. Isto evita o desgaste excessivo causado por substâncias abrasivas.
Lave a máquina utilizando apenas água ou com um detergente suave.
Important: Não utilize água salobra ou recuperada para limpar a máquina.
Muitas das matérias abrangidas nesta secção de manutenção implicam elevar ou descer a plataforma. Para evitar ferimentos graves ou morte, tome as precauções seguintes.
Estacione a máquina numa superfície nivelada.
Mude a transmissão para a posição PONTO MORTO.
Acione o freio de estacionamento.
Desligue o motor e retire a chave.
Esvazie e levante a plataforma de carga .
A máquina poderá perder a estabilidade quando se coloca o macaco. A máquina pode soltar-se do macaco, ferindo quem se encontrar por baixo.
Não ligue a máquina quando esta se encontrar sobre um macaco.
Retire sempre a chave da ignição antes de sair da máquina.
Bloqueie os pneus quando a máquina estiver suportada por equipamento de elevação.
Utilize macacos para apoiar a máquina assim que a tiver elevado.
Important: Sempre que for necessário ligar o motor para efetuar operações de manutenção programada e/ou diagnósticos do motor, as rodas traseiras da máquina deverão encontrar-se a uma distância de 25 mm do solo e o eixo traseiro deverá estar apoiado em suportes adequados.
O ponto de elevação dianteiro da máquina encontra-se na zona dianteira do chassis, por trás do garfo de reboque (Figura 19).

O ponto de elevação traseiro encontra-se por baixo das bainhas do diferencial (Figura 20).

| Intervalo de assistência | Procedimento de manutenção |
|---|---|
| A cada 300 horas |
|
Lubrificante: Mobilgrease XHP™-222
Eleve a dianteira máquina e suporte-a com macacos.
Retire as 4 porcas de rodas que prendem a roda ao cubo (Figura 22).

Retire os parafusos de cabeça flangeada (⅜ x ¾ pol.) que prendem o suporte para o conjunto dos travões ao eixo e afaste o travão do eixo (Figura 23).
Note: Sustente o conjunto dos travões antes de proceder ao passo seguinte.

Retire o tampão antipoeira do cubo (Figura 24).

Retire o contrapino e o retentor da porca do eixo e porca do eixo (Figura 24).
Retire a porca do eixo do eixo e afaste o conjunto do cubo e o rotor do eixo (Figura 24 e Figura 25).

Limpe o eixo com um pano.
Repita os passos de 1 a 7 para o cubo e o rotor do outro lado da máquina.
Retire o rolamento exterior e a correia do rolamento do cubo (Figura 26).

Retire o rolamento interior do cubo (Figura 26).
Limpe o vedante e verifique se está gasto ou danificado.
Note: Não utilize solvente de limpeza para limpar o vedante. Substitua o vedante, se estiver gasto ou danificado.
Limpe os rolamentos e as correias e verifique se estas peças estão gastas ou danificadas.
Note: Substitua todas as peças gastas ou danificadas. Certifique-se de que os rolamentos e as correias estão limpos e secos.
Limpe a cavidade do cubo de lubrificante, sujidade e detritos (Figura 26).
Envolva os rolamentos com o lubrificante especificado.
Encha a cavidade do cubo 50 a 80% com o lubrificante especificado (Figura 26).
Monte o rolamento interior na correia no lado interior do cubo e coloque o vedante (Figura 26).
Repita os passos 1 a 8 para os rolamentos do outro cubo.
Aplique uma leve camada do lubrificante especificado no eixo (Figura 27).

Monte o cubo e o rotor no eixo com o rotor interior (Figura 27).
Monte o rolamento exterior no eixo e coloque o rolamento na correia exterior (Figura 27).
Monte a anilha com patilha no eixo (Figura 27).
Enrosque a porca do eixo no eixo e aperte a porca com 15 N·m, enquanto roda o cubo para assentar o rolamento (Figura 27).
Desaperte a porca do eixo até o cubo rodar livremente.
Aperte a porca do eixo com uma força de 1,7 a 2,26 N·m.
Instale o retentor por cima da porca e verifique o alinhamento da ranhura no retentor e o orifício no eixo para o contrapino (Figura 28).
Note: Se a ranhura no retentor e o orifício no eixo não estiverem alinhados, aperte a porca do eixo para alinhar a ranhura e o orifício com um aperto máximo de 2,26 N∙m na porca.

Coloque o contrapino e dobre as pernas em torno do retentor (Figura 28).
Coloque o tampão antipoeira no cubo (Figura 28).
Repita os passos 1 a 10 para o cubo e o rotor do outro lado da máquina.
Limpe os dois parafusos de cabeça flangeada (⅜ x ¾ pol.) e aplique um revestimento de composto fixador de roscas de resistência média nas roscas dos parafusos.
Alinhe as pastilhas dos travões com cada lado do rotor (Figura 23 ) e os orifícios no suporte da pinça com os orifícios na montagem dos travões da estrutura do eixo (Figura 27).
Prenda o suporte da pinça à estrutura do eixo (Figura 23) utilizando os dois parafusos de cabeça flangeada (⅜ x ¾ pol.)
Aperte os dois parafusos de cabeça flangeada com uma força de 47 a 54 N·m.
Alinhe os orifícios na roda com os pinos do cubo e monte a roda no cubo com a haste da válvula para fora (Figura 22).
Note: Certifique-se de que a superfície de montagem da roda está em contacto com o cubo.
Prenda a roda ao cubo utilizando as porcas das rodas (Figura 22).
Aperte as porcas das rodas com 108 a 122 N·m.
Repita os passos 1 a 5 para o travão e a roda do outro lado da máquina.
Desligue o motor, retire a chave e espere até que todas as peças em movimento parem, antes de verificar o óleo ou adicionar óleo no cárter.
Mantenha as mãos, os pés, a cara, a roupa e outras partes do corpo afastados da panela de escape e de outras superfícies quentes.
| Intervalo de assistência | Procedimento de manutenção |
|---|---|
| A cada 100 horas |
|
Note: A manutenção do filtro de ar deverá ser mais frequente (após algumas horas) quando a máquina for utilizada em condições de grande poeira ou muita areia.
Levante a plataforma de carga e fixe-a com a barra de apoio.
Verifique se existe algum dano no corpo do filtro de ar que possa provocar uma fuga de ar (Figura 29 e Figura 30).
Note: Certifique-se de que a cobertura do filtro de ar se encontra corretamente colocada no respetivo corpo.
Note: Substitua uma cobertura ou caixa do filtro de ar danificada.


Liberte os trincos que fixam a cobertura do filtro de ar à respetiva caixa (Figura 30).
Separe a cobertura do filtro de ar da caixa e limpe o interior da cobertura (Figura 30).
Deslize suavemente o elemento do filtro de ar para fora da caixa.
Note: Para reduzir a quantidade de pó deslocado, evite bater com o filtro na caixa.
Verifique o elemento do filtro de ar.
Se o elemento do filtro de ar estiver limpo, instale o elemento do filtro; consulte Instalação do filtro do ar.
Se o elemento do filtro de ar estiver danificado, substitua o elemento do filtro; consulte Substituição do filtro de ar.
Retire o elemento do filtro do ar.
Verifique se o novo filtro está danificado.
Note: Verifique a extremidade selada do filtro.
Important: Não instale um filtro danificado.
Coloque o novo filtro do ar; consulte Instalação do filtro do ar.
Important: Só deve utilizar o motor quando toda a estrutura de filtragem estiver montada; se não o fizer, poderá danificar o motor.
Important: Não utilize um elemento danificado.
Note: Não se recomenda a limpeza do elemento do filtro de ar usado devido à possibilidade de danos no meio de filtragem.
Limpe a porta de ejeção de sujidade que se encontra na cobertura do filtro de ar.
Retire a válvula de saída em borracha da cobertura, limpe a cavidade, e volte a colocar a válvula de saída.
Insira o elemento do filtro de ar na caixa do filtro (Figura 30).
Note: Verifique se o filtro está devidamente selado, aplicando alguma pressão no anel exterior do filtro. Não pressione a zona central, porque esta é muito flexível.
Alinhe a cobertura do filtro do ar com a caixa (Figura 30).
Prenda a cobertura à caixa com as patilhas (Figura 30).
Desça a plataforma de carga.
| Intervalo de assistência | Procedimento de manutenção |
|---|---|
| Após as pimeiras 25 horas |
|
| A cada 100 horas |
|
Note: A mudança de óleo deverá ser mais frequente se a máquina for utilizada em condições de grande poeira ou sujidade.
Note: Deverá eliminar o óleo do motor e os filtros do óleo usados num centro de reciclagem certificado.
Tipo de óleo: Óleo detergente (API, classificação SL ou superior)
Capacidade do cárter: 1,4 litros quando se substitui o filtro
Viscosidade: Veja a tabela seguinte.

| Intervalo de assistência | Procedimento de manutenção |
|---|---|
| Em todas as utilizações ou diariamente |
|
Estacione a máquina numa superfície plana, mova a transmissão para a posição de PONTO MORTO, engate o travão de estacionamento, desligue o motor e retire a chave.
Levante a plataforma de carga.
Utilize um pano para limpar em redor da vareta de óleo e tampão de enchimento (Figura 32) de forma a que a sujidade não caia no tubo da vareta ou no tubo de enchimento e danifique o motor.

Remova a vareta e limpe-a com um pano (Figura 32).
Coloque a vareta no tubo e verifique se fica completamente introduzida (Figura 32).
Retire a vareta do óleo e verifique a extremidade.
Se o nível de óleo estiver baixo, retire o tampão de enchimento e adicione o óleo especificado no tubo de enchimento até à marca Cheio, existente na vareta.
Note: Adicione o óleo lentamente e verifique o nível com alguma frequência durante o procedimento. Não encha demasiado o motor com óleo.
Volte a colocar o tampão de enchimento (Figura 32).
Insira a vareta do óleo e coloque-a com firmeza (Figura 32).
Important: Certifique-se de que a extremidade da argola da vareta de óleo está virada para baixo.
Desça a plataforma de carga.
Estacione a máquina numa superfície plana, mova a transmissão para a posição PONTO MORTO e engate o travão de estacionamento.
Ligue a máquina e deixe o motor a funcionar durante alguns minutos.
Desligue o motor do e retire a chave da ignição.
Levante a plataforma de carga e fixe-a com a barra de apoio.
Desligue o cabo negativo da bateria; consulte Desligação da bateria.
Coloque um recipiente de escoamento debaixo do bujão de drenagem (Figura 33).

Retire o tampão de escoamento e o vedante (Figura 33).
Note: Deixe o óleo escoar completamente do motor.
Monte o tampão de escoamento e o vedante e aperte com 17,6 N·m.
Deite óleo na abertura de enchimento até que o nível de óleo atinja a marca Cheio da vareta.
Note: Não encha demasiado o motor com óleo.
Volte a colocar o tampão de enchimento e a vareta na posição correta.
Ligue a bateria e desça a plataforma de carga.
| Intervalo de assistência | Procedimento de manutenção |
|---|---|
| Após as pimeiras 25 horas |
|
| A cada 100 horas |
|
Purgue o óleo do motor.
Retire o filtro do óleo existente (Figura 33).
Aplique uma leve camada de óleo limpo na gaxeta do novo filtro de óleo.
Enrosque o novo filtro no adaptador do filtro até que a junta entre em contacto com a placa de montagem; em seguida, aperte o filtro mais ½ a ¾ de volta (Figura 33).
Important: Não aperte demasiado o filtro do óleo.
Encha o cárter com o óleo especificado (Figura 31).
Ligue o motor e verifique se existem fugas de óleo.
Desligue o motor e verifique o nível de óleo.
Note: Se necessário, adicione óleo especificado no motor até que o nível de óleo esteja na marca Cheio na vareta.
| Intervalo de assistência | Procedimento de manutenção |
|---|---|
| A cada 100 horas |
|
Tipo: Champion RN14YC (ou equivalente)
Folga: 0,762 mm
Important: Uma vela partida, reparada, suja ou danificada deverá ser substituída imediatamente. Não lixe, raspe ou limpe elétrodos utilizando uma escova de arame porque as limalhas libertadas com essa operação poderão cair para dentro do cilindro. O resultado será sempre um motor danificado.
Note: A vela deverá ser retirada e verificada sempre que o motor apresentar sinais de avaria.
Limpe a zona em redor da vela, de modo a evitar a penetração de matérias estranhas no cilindro quando retirar a vela.
Puxe o cabo do terminal da vela.
Retire a vela da cabeça do cilindro.
Verifique o estado dos elétrodos lateral e central, bem como do isolante do elétrodo central, certificando-se de que não se encontram danificados (Figura 34).
Note: Não utilize uma vela danificada ou gasta. Substitua-a por uma vela nova do tipo especificado.

Ajuste a folga existente entre a zona central e lateral do elétrodo para 0,76 mm, como se mostra na Figura 34.
Instale a vela na cabeça do cilindro e aperte a vela com 20 N·m.
Instale o fio na vela.
Repita os passos 1 a 7 para a outra vela.
Levante a plataforma de carga e fixe-a com a barra de apoio.
Com a máquina desligada, carregue totalmente no pedal do acelerador e meça a folga entre a borda da extremidade da alavanca do acelerador e a patilha do suporte.
Esta folga deve ser entre 0,8 e 2,0 mm.
No cabo do acelerador, desaperte a porca de retenção dianteira e aperte a porta de retenção traseira para aumentar o ralenti baixo (Figura 35).

Teste o ralenti alto com um tacómetro:
Rode a chave na ignição para a posição LIGAR.
Certifique-se de que a alavanca da mudanças está em PONTO MORTO.
Carregue totalmente no pedal do acelerador e meça a velocidade do motor com um tacómetro; a velocidade do motor deve estar entre 3 550 e 3 650 rpm. Se não estiver, desligue o motor e ajuste as porcas de retenção do cabo.
Important: Não baixe o ralenti alto. Teste com um tacómetro para assegurar que o ralenti alto se encontra entre 3 550 e 3 650 rpm.
Empurre a barra de apoio e desça a plataforma de carga.
| Intervalo de assistência | Procedimento de manutenção |
|---|---|
| A cada 400 horas |
|
Verifique as tubagens de combustível, as uniões e os grampos para ver se existem sinais de deterioração, danos ou ligações soltas.
Note: Repare qualquer componente do sistema de combustível danificado ou com fuga antes de utilizar a máquina.
| Intervalo de assistência | Procedimento de manutenção |
|---|---|
| A cada 800 horas |
|
Levante a plataforma e apoie-a com a barra de apoio.
Rode a chave para a posição DESLIGAR e retire a chave da ignição.
Desligue a bateria; consulte Desligação da bateria.
Coloque um recipiente de escoamento por baixo do filtro de combustível.
Retire os grampos que fixam o filtro de combustível às tubagens (Figura 36).

Retire o filtro de combustível antigo das tubagens.
Note: Drene o filtro antigo e elimine-o num centro de reciclagem certificado.
Instale o filtro de substituição nas tubagens de combustível de forma que as setas apontem na direção do carburador.
Fixe o filtro nas tubagens com os grampos que retirou no passo 5.
Ligue a bateria e desça a plataforma de carga; consulte Ligação da bateria.
| Intervalo de assistência | Procedimento de manutenção |
|---|---|
| A cada 100 horas |
|
Verifique a abertura na parte inferior do filtro do ar no recipiente de carbono para se certificar de que está limpo e sem detritos e obstruções (Figura 37).

| Intervalo de assistência | Procedimento de manutenção |
|---|---|
| A cada 200 horas |
|
Retire a união estriada do filtro do recipiente de carbono do tubo, na parte inferior do recipiente de carbono, e retire o filtro.
Note: Elimine o filtro antigo.

Insira completamente a união estriada do novo filtro do recipiente de carbono no tubo na parte inferior do recipiente de carbono.
Note: Substitua o recipiente de carbono, se estiver danificado, preso e a máquina estiver a trabalhar sem um filtro do recipiente de carbono.
Note: Substitua o filtro do recipiente de carbono quando substituir o recipiente de carbono.
Na parte inferior da máquina, retire a braçadeira que prende o cabo do travão de estacionamento à linha do travão de serviço (Figura 40).
Marque a faixa de rotação na porca de bloqueio dianteira para o cabo do travão de estacionamento (Figura 40).
Note: Certifique-se de que a porca de bloqueio dianteira não roda.

Desaperte a porca de bloqueio traseira e retire o cabo do suporte do cabo dos travões (Figura 40).
Retire o contrapino e o passador de forquilha que prendem a forquilha para o cabo do travão de estacionamento à alavanca do atuador do travão e afaste o cabo da alavanca (Figura 40).
Repita os passos 1 a 4 para o cabo do travão de estacionamento no outro lado da máquina.
Na parte inferior da máquina, retire os 8 parafusos de cabeça flangeada e as 8 anilhas que prendem a base do banco à placa do chão e ao canal da cabina traseiro (Figura 41).

Cuidadosamente, levante os bancos, a base do banco e os cabos do travão de estacionamento da máquina (Figura 41).
Important: Dê conta da passagem dos cabos do travão de estacionamento ao longo do chassis quando levantar os bancos e a base do banco da máquina.

Retire o tubo de vácuo da união no recipiente de carbono assinalada Purga (Figura 43).

Retire o tubo do depósito de combustível da união no recipiente de carbono assinalada Combustível (Figura 43).
Levante o recipiente de carbono da montagem do recipiente de carbono no depósito de combustível (Figura 44).

Retire o filtro do recipiente de carbono e a secção curta do tubo da união inferior do recipiente de carbono antigo (Figura 45).

Instale o tubo na união inferior do novo recipiente de carbono (Figura 45).
Insira a união do novo filtro do recipiente de carbono no tubo (Figura 45).
Insira o novo recipiente de carbono na montagem do recipiente de carbono do depósito de combustível com as uniões purga e depósito de combustível alinhadas para trás (Figura 44).
Monte o tubo de vácuo na união no recipiente de carbono assinalada Purga e o tubo do depósito de combustível na união assinalada Depósito de combustível (Figura 43).
Levante os bancos e a base do banco para a máquina e alinhe os cabos dos travões com o chassis (Figura 41 e Figura 42).
Alinhe os furos na base do banco com os furos na placa do chão e no canal da cabina traseiro (Figura 41 e Figura 42).
Monte a base do banco na placa do chão e no canal da cabina traseiro com os oito parafusos de cabeça flangeada e as oito anilhas que retirou no passo 1 de Remoção dos bancos e bases dos bancos e aperte os parafusos com 19,78 a 25,42 N·m.
Passe o ajustador roscado do cabo do travão de estacionamento para o suporte do cabo do travão e a forquilha na alavanca do atuador do travão (Figura 40).
Fixe a forquilha à alavanca do atuador do travão com o passador de forquilha e o contrapino que retirou no passo 4 de Desligar o cabo do travão de estacionamento.
Alinhe o ajustador roscado do cabo do travão de estacionamento para o suporte do cabo do travão e aperte a porca traseira (Figura 40).
Note: Certifique-se de que não roda a porca de bloqueio dianteira.
Repita os passos 1 a 3 para o cabo do travão de estacionamento no outro lado da máquina.
Ligue o conector elétrico do interruptor da marcha-atrás que se encontra no interior do suporte das mudanças.
Alinhe os furos no suporte das mudanças na base do banco e prenda a placa à base com os 4 parafusos que removeu no passo 3 de Desligação dos controlos da base do banco.
Alinhe os furos na placa das mudanças no suporte das mudanças e prenda a placa ao suporte com os 4 parafusos que removeu no passo 2 de Desligação dos controlos da base do banco.
Enrosque o manípulo da alavanca das mudanças e aperte o manípulo à mão (Figura 39).
Desligue a bateria antes de reparar a máquina. Desligue o terminal negativo em primeiro lugar e o terminal positivo no final. Ligue o positivo em primeiro lugar e o terminal negativo no final.
Carregue a bateria num espaço aberto e bem ventilado, longe de faíscas e chamas. Retire a ficha do carregador da tomada antes de o ligar ou desligar da bateria. Utilize roupas adequadas e ferramentas com isolamento.
Tensão da bateria: 12 volt com 300 amperes (arranque a frio) a -18°C.
Mantenha sempre a bateria limpa e totalmente carregada.
Se os terminais da bateria se encontrarem corroídos, limpe-os com uma solução de 4 partes de água e 1 parte de bicarbonato de sódio.
Aplique uma leve camada de massa nos terminais da bateria para evitar a corrosão.
A ligação incorreta dos cabos da bateria poderá danificar o veículo e os cabos, produzindo faíscas. As faíscas podem provocar uma explosão dos gases da bateria, resultando em acidentes pessoais.
Desligue sempre o cabo negativo (preto) antes de desligar o cabo positivo (vermelho).
Ligue sempre o cabo positivo (vermelho) antes de ligar o cabo negativo (negro).
Mantenha sempre a faixa da bateria na sua posição correta de modo a proteger e manter a bateria bem fixa.
Os terminais da bateria e as ferramentas de metal podem provocar curto-circuitos noutros componentes metálicos da máquina, produzindo faíscas. As faíscas podem provocar uma explosão dos gases da bateria, resultando em acidentes pessoais.
Quando retirar ou montar a bateria, não toque com os terminais da bateria noutras peças metálicas do veículo.
Deverá evitar quaisquer curto-circuitos entre os terminais da bateria e as peças metálicas do veículo.
Desligue os cabos da bateria; consulte Desligação da bateria.
Retire a porca de bloqueio, o parafuso de carroçaria e o grampo da bateria que fixa a bateria ao tabuleiro da bateria (Figura 46).
Retire a bateria do tabuleiro da bateria (Figura 46).
Alinhe a bateria com o tabuleiro da bateria da máquina (Figura 46).
Note: Certifique-se de que os pólos positivo e negativo da bateria estão alinhados conforme indicado na Figura 46.
Fixe a bateria ao tabuleiro da bateria com o grampo da bateria, o parafuso de carroçaria e a porca de bloqueio (Figura 46).
Ligue os cabos da bateria; consulte Ligação da bateria.
O carregamento da bateria gera gases que podem provocar explosões.
Nunca fume perto da bateria e mantenha-a afastada de faíscas e chamas.
Important: Mantenha sempre a bateria carregada. Este procedimento torna-se especialmente importante quando a temperatura desce abaixo dos 0°C.
Retire a bateria da máquina; consulte Desligação da bateria.
Ligue um carregador de baterias de 3 a 4 A aos polos da bateria. Carregue a bateria com um carregador de bateria de 3 a 4 amperes, durante 4 a 8 horas (12 V).
Note: Não carregue demasiado a bateria.
Coloque a bateria; consulte Montagem da bateria.
Se guardar durante um período superior a 30 dias, deverá retirar a bateria e carregá-la completamente. Guarde-a num local seguro ou na própria máquina. Se optar por guardá-la na máquina, não ligue os cabos. Guarde a bateria num local fresco para evitar que a carga se deteriore mais rapidamente. Para evitar que a bateria congele, certifique-se de que esta se encontra completamente carregada.
Existem 4 fusíveis no sistema elétrico. Encontram-se debaixo do capot (Figura 47).
| Elevador plataforma (aberto; kit opcional) | 15 A |
| Buzina/Ponto de corrente USB | 20 A |
| Faróis | 10 A |
| Fusível da máquina | 10 A |

Especificações: Consulte o Catálogo de peças.
Desligue a bateria; consulte Desligação da bateria.
Abra o capot.
Desligue o conector elétrico para a cablagem do conector do conjunto da lâmpada (Figura 48).

Retire os clipes rápidos que fixam o farol ao respetivo suporte (Figura 48).
Note: Guarde todas as peças para instalação do novo farol.
Retire o conjunto do farol movendo-o para a frente através da abertura no pára-choques dianteiro (Figura 48).
Instale o novo farol através da abertura no pára-choques (Figura 48).
Note: Garanta que os polos de ajuste estão alinhados com os furos no suporte de montagem atrás do para-choques.
Prenda o conjunto do farol com os clipes rápidos que retirou no passo 4.
Ligue o conector elétrico para a cablagem ao conector do conjunto da lâmpada (Figura 48).
Ajuste os faróis para dirigir os feixes na posição desejada; consulte Ajuste dos faróis.
Utilize o seguinte procedimento para ajustar a posição do feixe do farol sempre que um conjunto de farol é substituído ou removido.
Estacione a máquina numa superfície nivelada com os faróis a cerca de 7,6 m de uma parede (Figura 49).
Meça a distância do chão ao centro do farol e faça uma marca na parede à mesma altura.
Rode a chave para a posição LIGAR e ligue os faróis.
Anote para onde os faróis apontam na parede.
A parte mais brilhante do feixe do farol deve estar 20 cm abaixo da marca colocada na parede (Figura 49).

Na parte traseira do conjunto de faróis, rode os parafusos de ajuste (Figura 48) para inclinar o conjunto dos faróis e alinhar a posição do feixe.
Ligue a bateria e feche o capot; consulte Ligação da bateria.
| Intervalo de assistência | Procedimento de manutenção |
|---|---|
| A cada 100 horas |
|
Inspecione os pneus e as jantes para detetar sinais de desgaste e danos.
Note: Os acidentes de trabalho, tais como embater contra bermas de passeios elevados, poderão danificar o pneu ou a jante, mas também desalinhar as rodas; deverá, por isso, verificar o estado dos pneus após um acidente.
Aperte as porcas das rodas com 108 a 122 N·m.
| Intervalo de assistência | Procedimento de manutenção |
|---|---|
| A cada 100 horas |
|
Com o volante na posição central (Figura 50), rode-o para a direita e para a esquerda. Se rodar o volante mais de 13 mm para a esquerda ou para a direita e os pneus não rodarem, verifique os seguintes componentes da direção e da suspensão para assegurar que não estão soltos ou danificados.
Eixo da direção para a articulação do conjunto da cremalheira da direção
Important: Verifique o estado e a segurança do vedante do eixo pinhão (Figura 51).
Barras de montagem da cremalheira da direção


| Intervalo de assistência | Procedimento de manutenção |
|---|---|
| A cada 100 horas |
|
Verifique a pressão dos pneus para assegurar que os pneus dianteiros estão cheios a 0,83 bar.
Adicione peso ao banco do condutor igual ao operador médio que vai trabalhar com a máquina ou um operador deve sentar-se no banco. O peso ou o operador tem de permanecer no banco durante o procedimento de ajuste.
Numa superfície nivelada, desloque a máquina 2 a 3 m para trás e, em seguida, para a frente para a posição inicial original. Isto vai permitir à suspensão assentar na posição de funcionamento.
Ferramentas disponibilizadas pelo proprietário: chave de aperto, Peça Toro N.º 132-5069; consulte o seu distribuidor autorizado Toro.
Important: Faça ajustes da inclinação apenas se estiver a utilizar um acessório frontal ou se existir um desgaste irregular dos pneus.
Verifique o alinhamento da inclinação em cada roda; o alinhamento deve ser tão perto do zero (neutro) quanto possível.
Note: Os pneus devem estar uniformemente alinhados com o piso para reduzir o desgaste irregular.
Se o alinhamento da roda estiver desalinhado, utilize a chave de aperto para rodar o anel na mola amortecedora para alinhar a roda (Figura 52).

Important: Antes de ajustar o alinhamento, certifique-se de que o ajuste do alinhamento está tão perto do neutro quanto possível; consulte Ajuste da inclinação.
Meça a distância entre os pneus dianteiros à altura do eixo na zona dianteira e traseira dos pneus dianteiros (Figura 53).

Se a medição obtida não se situar entre 0 e 6 mm, desaperte as porcas de retenção nas extremidades das barras (Figura 54).

Rode as barras para deslocar a zona dianteira do pneu para o interior ou para o exterior.
Volte a apertar as porcas da barra de direção quando a operação de ajuste estiver concluída.
Certifique-se de que movimenta livremente o volante em ambas as direções.
| Intervalo de assistência | Procedimento de manutenção |
|---|---|
| A cada 100 horas |
|
Tipo de fluido: SAE 10W-30 (API, classificação SJ ou superior)
Estacione a máquina numa superfície plana, mova a transmissão para a posição de PONTO MORTO, engate o travão de estacionamento, desligue o motor e retire a chave.
Retire o parafuso do orifício indicador do nível (Figura 55).
Note: O fluido do conjunto eixo-transmissão deve encontrar-se ao nível da parte inferior do orifício indicador.

Se o óleo não estiver nivelado com a parte inferior do orifício indicador, encha o reservatório com o óleo especificado; consulte Verificação do nível de fluido do eixo-transmissão.
| Intervalo de assistência | Procedimento de manutenção |
|---|---|
| A cada 800 horas |
|
Tipo de fluido: SAE 10W-30 (API, classificação SJ ou superior)
Capacidade de fluido: 1,4 litros
Estacione a máquina numa superfície plana, mova a transmissão para a posição de PONTO MORTO, engate o travão de estacionamento, desligue o motor e retire a chave.
Limpe a área em torno dos tampões de enchimento e escoamento com um trapo (Figura 56).

Alinhe um recipiente de escoamento com uma capacidade de 2 litros ou mais com o tampão de escoamento.
Retire o tampão de enchimento rodando-o para a esquerda (Figura 56).
Note: Guarde o tampão de enchimento e a junta para instalação no passo 8.
Retire o tampão de escoamento rodando-o para a esquerda (Figura 56).
Note: Guarde o tampão de escoamento e a junta para instalação no passo 6.
Note: Deixe o óleo escoar completamente do conjunto eixo-transmissão.
Coloque e aperte o tampão de escoamento e a junta no orifício do tampão de escoamento da transmissão (Figura 56).
Note: O fluido usado deve ser tratado num centro de reciclagem certificado.
Encha o reservatório (Figura 57) através do orifício do tampão de enchimento com aproximadamente 1,4 litros do óleo especificado ou até o nível de óleo na transmissão estar alinhado com a parte inferior das estrias (Figura 56).

Coloque a aperte o tampão de enchimento e a junta no orifício do tampão de enchimento da transmissão (Figura 56).
Ligue o motor e opere a máquina.
Verifique o nível de fluido e adicione mais fluido, se o nível estiver abaixo das estrias do orifício do tampão de enchimento (Figura 56).
| Intervalo de assistência | Procedimento de manutenção |
|---|---|
| Em todas as utilizações ou diariamente |
|
| A cada 100 horas |
|
Sempre que for necessário efetuar operações de manutenção programada e/ou diagnósticos do motor, deverá colocar o conjunto eixo-transmissão na posição NEUTRA (Figura 58). A alavanca de mudanças da máquina possui uma posição de PONTO MORTO que controla a posição neutra do conjunto eixo-transmissão. Realize os passos seguintes para se certificar de que a alavanca de mudanças controla a posição neutra do conjunto de forma correta:
Mude a transmissão para a posição PONTO MORTO
Certifique-se de que o suporte neutro está na posição {PONTO MORTO (ao nível do suporte do cabo ao capot situado por baixo do suporte das mudanças), rodando a embraiagem (Figura 58).
Note: O veículo não deve andar, nem para a frente, nem para trás. Se se mover, coloque manualmente o suporte neutro na posição PONTO MORTO.

Rode uma das porcas de bloqueio (Figura 58) para conseguir 0,76 a 1,52 mm de folga entre a parte inferior da porca/anilha e o suporte neutro.
Note: Deve segurar o eixo roscado, localizado debaixo do suporte, quando ajustar a porca que se encontra na zona superior.
Rode a outra porca de bloqueio para conseguir 0,76 a 1,52 mm de folga entre a parte inferior da porca/anilha e o suporte neutro.
Puxe cada cabo de mudanças para se certificar de que existe folga de 0,76 a 1,52 mm entre a porca/anilha e o suporte neutro (Figura 59).
Note: Se não existir folga, ajuste as porcas para alcançar a folga especificada.

Ligue o motor e engate as mudanças FRENTE, MARCHA-ATRáS e PONTO MORTO várias vezes, de modo a verificar se o suporte neutro funciona corretamente.
| Intervalo de assistência | Procedimento de manutenção |
|---|---|
| A cada 400 horas |
|
O pó da embraiagem propaga-se na atmosfera, podendo provocar lesões oculares ou, se inalado, dificuldades respiratórias.
Utilize óculos de proteção e uma máscara antipoeira ou outra proteção para os olhos e boca quando efetuar este procedimento.
Levante e bloqueie a plataforma de carga.
Retire os 3 parafusos que fixam a tampa à embraiagem e retire a tampa (Figura 60).
Note: Guarde a tampa e os parafusos para instalação.

Limpe bem o interior da tampa e os componentes interiores da embraiagem aplicando ar comprimido.
Coloque a tampa da embraiagem e fixe-a com os três parafusos (Figura 60) que retirou em 2.
Desça a plataforma de carga.
O pó da embraiagem propaga-se na atmosfera, podendo provocar lesões oculares ou, se inalado, dificuldades respiratórias.
Utilize óculos de proteção e uma máscara antipoeira ou outra proteção para os olhos e boca quando efetuar este procedimento.
Levante e bloqueie a plataforma de carga; consulte Elevação da plataforma de carga.
Retire os parafusos que prendem a cobertura principal da embraiagem como se mostra na Figura 61.
Important: Tenha cuidado ao remover a cobertura da embraiagem; a mola está sob pressão.
Important: Anote a orientação X nas coberturas da embraiagem e montagens da embraiagem para posterior instalação.

Retire a mola.
Acrescente ou retire espaçadores para ajustar a velocidade máxima. Utilize a seguinte tabela para determinar a quantidade de espaçadores necessários.
| Espaçadores | Velocidade máxima |
| 2 (padrão) | 26 km/h (padrão) |
| 3 | 19 km/h |
| 4 | 14 km/h |
| 5 | 10 km/h |
| 6 | 6 km/h |
Important: Não utilize a máquina sem ter, pelo menos, 2 espaçadores de embraiagem colocados.
Instale a mola e a cobertura da embraiagem.
Important: Certifique-se de que o X é colocado novamente no local original.
Aperte os parafusos com uma força de 179 a 228 N·m.
Engolir o líquido de refrigeração do motor pode causar envenenamento; mantenha-o afastado do alcance das crianças e dos animais.
Descarregar líquido de refrigeração pressurizado e quente ou tocar num radiador quente ou nas peças envolventes pode causar queimaduras graves.
Deixe o motor arrefecer, pelo menos, 15 minutos antes de retirar o tampão do radiador.
Use um trapo quando abrir o tampa do radiador, fazendo-o lentamente para permitir a saída do vapor.
Não opere a máquina sem as coberturas instaladas.
Mantenha os dedos, as mãos e a roupa afastados da ventoinha a rodar e da correia da transmissão.
Desligue o motor e retire a chave da ignição antes de proceder à manutenção.
| Intervalo de assistência | Procedimento de manutenção |
|---|---|
| A cada 100 horas |
|
Important: Não deverá utilizar o motor quando o painel móvel estiver bloqueado, quando as aletas de arrefecimento se encontrarem sujas ou presas ou quando as coberturas de arrefecimento forem retiradas porque esse procedimento poderá danificar o motor (sobreaquecimento).
Important: Nunca limpe o motor com água sob pressão porque poderá contaminar o sistema de combustível.
Limpe o painel móvel, aletas de arrefecimento e superfícies externas do motor.
Note: Limpe os componentes de refrigeração do motor com maior frequência quando utilizar a máquina em condições de grande poeira ou sujidade.
| Intervalo de assistência | Procedimento de manutenção |
|---|---|
| A cada 100 horas |
|
Important: Os travões são um elemento de segurança muito importante na máquina. Inspecione-os cuidadosamente no intervalo recomendado para assegurar o desempenho e segurança ideais.
Verifique se as pastilhas se encontram gastas ou danificadas. Se a grossura da cobertura (pastilha dos travões) for inferior a 1,6 mm, substitua-a.
Verifique se a placa traseira e outros componentes apresentam sinais de desgaste ou deformação. Substitua quaisquer componentes danificados.
Verifique o nível de eletrólito; consulte Verificação do nível de fluido dos travões.
| Intervalo de assistência | Procedimento de manutenção |
|---|---|
| A cada 200 horas |
|
Retire a pega da alavanca do travão de estacionamento (Figura 62).

Desaperte o parafuso de afinação que fixa o manípulo de ajuste do travão à alavanca do travão de estacionamento (Figura 62).
Rode o manípulo de ajuste do travão até que 133 a 156 N seja alcançado para engatar a alavanca do travão de estacionamento (Figura 62).
Note: Se rodou o manípulo de ajuste do travão a totalidade do ajustador e não consegue atingir 133 a 156 N para ativar a alavanca do travão de estacionamento, proceda ao ajuste dos cabos dos travões; consulte Ajuste dos cabos dos travões.
Aperte o parafuso de afinação e instale a pega (Figura 62).
Retire a pega da alavanca do travão de estacionamento (Figura 62).
Desaperte o parafuso de afinação (Figura 62) que fixa o manípulo de ajuste do travão à alavanca do travão de estacionamento, desengate o travão de estacionamento e desaperte o manípulo de ajuste do travão.
Na parte inferior da máquina, desaperte a porca de bloqueio traseira para o ajustador roscado do cabo do travão de estacionamento 4 voltas (Figura 63).

Aperte a porca dianteira (Figura 63).
Rode o manípulo de ajuste do travão (Figura 62) até que 133 a 156 N seja necessário para engatar a alavanca do travão de estacionamento.
Se não conseguir ajustar o manípulo de ajuste do travão ao desapertá-lo e regular a alavanca do travão de estacionamento com 133 a 156 N, faça o seguinte:
Desaperte a porca de bloqueio frontal (Figura 63) para o ajustador roscado do cabo do travão de estacionamento 1 volta.
Aperte a porca traseira (Figura 63).
Rode o manípulo de ajuste do travão (Figura 62) até que 133 a 156 N seja necessário para engatar a alavanca do travão de estacionamento.
Repita os passos 1 a 3 até mais 2 vezes para obter a força do travão de estacionamento entre 133 a 156 N.
Se não conseguir ajustar o manípulo de ajuste do travão ao apertá-lo e engatar a alavanca do travão de estacionamento com 133 a 156 N, faça o seguinte:
Desaperte a porca de bloqueio traseira (Figura 63) para o ajustador roscado do cabo do travão de estacionamento 1 volta.
Aperte a porca dianteira (Figura 63).
Rode o manípulo de ajuste do travão (Figura 62) até que 133 a 156 N seja necessário para engatar a alavanca do travão de estacionamento.
Repita os passos 1 a 3 até mais 3 vezes para obter a força do travão de estacionamento entre 133 a 156 N.
Note: Se não conseguir ajustar o cabo do travão de estacionamento o suficiente para conseguir o manípulo de ajuste do travão no seu intervalo de ajuste, verifique se as pastilhas dos travões têm desgaste excessivo.
Aperte o parafuso de afinação e instale a pega (Figura 62).
| Intervalo de assistência | Procedimento de manutenção |
|---|---|
| Em todas as utilizações ou diariamente |
|
Tipo de fluido dos travões: DOT 3
Estacione a máquina numa superfície nivelada.
Engate o travão de estacionamento.
Desligue o motor e retire a chave.
Eleve novamente o capot para aceder ao cilindro principal do travão e reservatório (Figura 64).

Observe o nível do fluido na parte lateral do reservatório (Figura 65).
Note: O nível deverá encontrar-se acima da linha de mínimo.

Se o nível do fluido estiver baixo, faça o seguinte:
Feche o capot.
| Intervalo de assistência | Procedimento de manutenção |
|---|---|
| A cada 1000 horas |
|
Contacte o distribuidor Toro autorizado.
| Intervalo de assistência | Procedimento de manutenção |
|---|---|
| Após as pimeiras 8 horas |
|
| A cada 200 horas |
|
Estacione a máquina numa superfície plana, engate o travão de estacionamento, desligue o motor e retire a chave da ignição.
Levante a plataforma de carga e fixe-a com a barra de apoio.
Mude a transmissão para a posição PONTO MORTO.
Rode e verifique se a correia (Figura 66) apresenta sinais de desgaste ou se está danificada.
Note: Substitua a correia, se estiver excessivamente gasta ou danificada; consulte Substituição da correia de transmissão.

Desça a plataforma de carga.
Levante a plataforma de carga.
Mude a transmissão para PONTO MORTO, engate o travão de estacionamento, rode o interruptor para a posição DESLIGAR e retire a chave da ignição.
Rode e coloque a correia sobre a embraiagem secundária (Figura 66).
Retire a correia da embraiagem primária (Figura 66).
Note: Elimine a correia antiga.
Alinhe a nova correia sobre a embraiagem primária (Figura 66).
Rode e coloque a correia sobre a embraiagem secundária (Figura 66).
Desça a plataforma de carga.
| Intervalo de assistência | Procedimento de manutenção |
|---|---|
| Após as pimeiras 8 horas |
|
| A cada 200 horas |
|
Levante a plataforma de carga.
Desaperte a porca de articulação do gerador do motor de arranque (Figura 67).

Alinhe um pé de cabra entre a estrutura do motor e o motor de arranque.
Pressione o pé de cabra para rodar o motor de arranque na ranhura até a tensão da correia permitir apenas 6,4 mm de deflexão da correia com 44 N∙m de força (Figura 67).
Aperte a porca de articulação à mão e retire o pé de cabra (Figura 67).
Aperte a porca de articulação com 88 a 115 N·m.
Desça a plataforma de carga.
Se o trinco da plataforma de carga estiver desajustado, a plataforma de carga oscila quando conduz a máquina. Pode ajustar os pernos do trinco para assegurar que os trincos mantêm a plataforma de carga presa no chassis.
Desaperte a porca de bloqueio na extremidade do perno do trinco (Figura 68).

Rode o perno do trinco no sentido dos ponteiros do relógio até encostar à zona de gancho do trinco (Figura 68).
Aperte a porca de bloqueio com 19,7 a 25,4 N·m.
Repita estes passos 1 a 3 para o trinco do outro lado da máquina.
| Intervalo de assistência | Procedimento de manutenção |
|---|---|
| Em todas as utilizações ou diariamente |
|
Lave a máquina quando necessário utilizando apenas água ou com um detergente suave. Pode ser utilizado um pano ao lavar a máquina.
Important: Não utilize água salobra ou recuperada para limpar a máquina.
Important: Não utilize equipamento de lavagem elétrico para lavar a máquina. Usar equipamento de lavagem elétrico pode danificar o sistema elétrico, eliminar alguns autocolantes importantes ou eliminar a massa lubrificante existente em alguns pontos de fricção. Evite a utilização excessiva de água próximo da zona do painel de controlo, motor e bateria.
Important: Não lave a máquina quando o motor se encontrar em funcionamento. Lavar a máquina com o motor ligado pode causar danos internos ao motor.
Desligue a máquina, retire a chave e aguarde até que todo o movimento pare, antes de sair da posição de operação. Deixe a máquina arrefecer antes de ajustar, fazer manutenção, limpar ou armazenar.
Não guarde a máquina ou o recipiente de combustível onde uma fonte de fogo, faísca ou luz piloto, como junto de uma caldeira ou outros eletrodomésticos.
| Intervalo de assistência | Procedimento de manutenção |
|---|---|
| Após as pimeiras 50 horas |
|
| A cada 200 horas |
|
| A cada 400 horas |
|
| A cada 600 horas |
|
Posicione a máquina numa superfície plana, engate o travão de estacionamento, desligue a máquina e retire a chave da ignição.
Dê uma lavagem geral ao veículo, incluindo ao exterior do motor.
Inspecione os travões; consulte Verificação dos travões.
Efetue a manutenção do filtro de ar; consulte Manutenção do filtro de ar.
Vede a entrada do filtro de ar e a saída de gases com fita impermeável.
Substitua o óleo do motor; consulte Verificação do óleo do motor.
Lave o depósito com combustível novo e limpo.
Aperte todas as juntas do sistema de combustível.
Verifique a pressão dos pneus; consulte Verificação da pressão dos pneus.
Verifique a proteção anticongelante e adicione uma solução de água e anticongelante adequada à temperatura mínima prevista para a zona.
Remova a bateria da máquina e carregue totalmente a bateria; consulte a Carregamento da bateria.
Note: Não ligue os cabos da bateria aos polos da bateria durante o armazenamento.
Important: A bateria deve ser totalmente carregada para evitar que congele e seja danificada por temperaturas inferiores a 0°C. Uma bateria totalmente carregada mantém a carga durante cerca de 50 dias com uma temperatura inferior a 4°C. Se as temperaturas forem inferiores a 4°C, carregue a cada 30 dias.
Verifique e aperte todos os pernos, porcas e parafusos. Repare ou substitua qualquer peça danificada.
Pinte todas as superfícies de metal arranhadas ou descascadas.
Note: O serviço de pintura é disponibilizado pelo Representante de assistência autorizado.
Guarde a máquina numa garagem ou armazém limpo e seco.
Tape a máquina para a proteger e mantê-la limpa.