この説明書を読んで製品の運転方法や整備方法を十分に理解してください。オペレータや周囲の人の人身事故や製品の損傷を防ぐ上で大切な情報が記載されています。製品の設計製造、特に安全性には常に最大の注意を払っておりますが、この製品を適切かつ安全に使用するのはお客様の責任です。
弊社のウェブサイトwww.Toro.comで、製品の安全な取扱いや運転に関する講習資料、アクセサリ情報の閲覧、代理店についての情報閲覧、お買い上げ製品の登録などを行っていただくことができます。
整備について、また純正部品についてなど、分からないことはお気軽に弊社代理店またはカスタマーサービスにおたずねください。お問い合わせの際には、必ず製品のモデル番号とシリアル番号をお知らせください。図 1にモデル番号とシリアル番号を刻印した銘板の取り付け位置を示します。

Note: この製品は、関連する全ての欧州指令に適合しています。詳細についてはこの冊子の末尾にあるDOI(適合宣誓書)をご覧ください。前後左右は運転位置からみた方向です。
Important: このキットの取り付けには、テフロン(Teflon®)テープが必要です。テフロンテープは、フィッティングのねじ山部分に使用します。ねじ山部分の根元からフィッティングの先端部に向かって、水漏れしないようにぴったりと巻きつけてください。
Important: このキットの取り付けには、植物油などのような、非石油系の潤滑剤が必要となります。
カリフォルニア州
第65号決議による警告
米国カリフォルニア州では、この製品を使用した場合、ガンや先天性異常などを誘発する物質に触れる可能性があるとされております。
不適切な使い方をしたり手入れを怠ったりすると、人身事故につながります。事故を防止するため、以下に示す安全上の注意や安全注意標識のついている遵守事項は必ずお守りください 「注意」、「警告」、および「危険」 の文字は、人身の安全に関わる注意事項を示しています。これらの注意を怠ると死亡事故などの重大な人身事故が発生することがあります。
車両本体の オペレーターズマニュアル に掲載されている安全についての注意事項もお読みください。
ハンドスプレーヤを人や動物に向けないでください。高圧の液体は皮膚を貫通して重傷を引き起こす恐れがあり、身体部の切断や死亡に至ることもあります。また高温になった液体や薬品はやけどを起こすことがあります。万一、薬液の噴射流に触れた場合は直ちにこの種の事故に詳しい医師の診察を受けてください。
スプレーノズルの前に手などを出さないようにしてください。
作業場を離れる時は機器に水圧が掛かった状態で放置しないでください。
ホースやトリガーロック、ノズルなど部品に少しでも損傷や欠落がある場合は、ハンドスプレーヤを使用しないでください。
ホースやフィッティングなどの部品に少しでも漏れが発生している場合は、ハンドスプレーヤを使用しないでください。
電線の近くで散布作業を行わないでください。
車両を運転しながらハンドスプレーヤで散布作業をしないでください。
薬品をハンドスプレーヤで散布する時は、ゴム手袋、安全ゴーグル、全身保護スーツを着用してください。
機械が落雷を受けると最悪の場合死亡事故となります。稲光が見えたり雷が聞こえるような場合には機械を運転しないで安全な場所に避難してください。
農薬は人体に危険を及ぼす恐れがある。
農薬を使う前に、農薬容器に貼ってあるラベルをよく読み、メーカーの指示を全て守って使用する。
スプレーを皮膚に付けない。万一付着した場合には真水と洗剤で十分に洗い落とす。
作業にあたっては保護ゴーグルなど、メーカーが指定する安全対策を必ず実行する。
![]() |
以下のラベルや指示は危険な個所の見やすい部分に貼付してあります。読めなくなったものは必ず新しいものに貼り替えてください。 |

散布装置の中に水や薬液が残っていないことを確認する。
Note: 薬剤を使用した散布装置は真水で入念に洗浄する;洗浄手順については散布車両の オペレーターズマニュアル を参照すること。
平らな場所に駐車し、駐車ブレーキを掛け、ポンプを停止し、エンジンを停止し、キーを抜き取ります。
バッテリーから、マイナスケーブルの接続を外す。
この作業に必要なパーツ
| ホースリール・フレーム | 2 |
| ショルダボルト | 4 |
| フランジナット (5/16") | 4 |
| ボルト(5/16 インチ) | 2 |
| ジャムナット | 2 |
| ホースリール・ベース | 1 |
| 長いボルト(3/8 インチ) | 4 |
| フランジナット(⅜") | 4 |
この作業に必要なパーツ
| ワイヤハーネス | 1 |
| スイッチボックス | 1 |
| スイベルプレート | 1 |
| ボルト (5/6インチ) | 2 |
| フランジナット(5/16") | 2 |
| スラストワッシャ | 1 |
| スナップリング | 1 |
| ホースリール | 1 |
| スプレーガン・ブラケット | 1 |
| キャリッジボルト | 2 |
| フランジナット(5/16") | 2 |
| 短いボルト(3/8 インチ) | 4 |
| ワッシャ(小) | 4 |
| フランジナット(⅜") | 4 |
| スプリングピン | 1 |
| ワッシャ(大) | 1 |
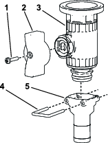
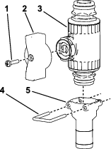
スイッチボックスの底部の穴から、ワイヤハーネスを内部に引き込む。
ワイヤハーネスを下にたどって、ハーネスを、散布率調整スイッチ、ホースリールボタン、および電源リレーに接続する(図 4)。
Note: ホースリール用のモータのヒューズは、スイッチボックスに配置されています。

スイベルプレートを、ホースリールベースのホースの中に落とす。
ホースリールフレームの下側で、スイベルプレートの柱にスラストワッシャとスナップリングを取り付ける(図 5)。

スイッチボックスをスイベルプレートに取り付ける;ボルト(5/16 インチ)2本と、フランジナット(5/16 インチ)2個で図 6のように取り付ける。

ワイヤハーネスを、スイベルプレートの側部に固定する;既存のクリップを使用する(図 6)。
ホースリールをスイベルプレートに取り付ける;短いボルト(3/8 インチ)4本と、小さいワッシャ4枚、フランジナット(3/8 インチ)4個で図 7のように取り付ける。
Note: ホースリールのモータは、スイッチパネルに対して背を向けるようになります。

ホースリールフレームの下側に、大きいワッシャとスプリングピンを取り付ける(図 8)。

残っているワイヤハーネスのプラグを、モータ、メインハーネス電源、ホースリールキットのプラグに接続する。
Note: 以下、特に記載がない限り、取り外した部品はすべて再使用します。
アクチュエータを個別ブームバルブまたは攪拌バルブ用のマニホルドバルブに固定しているリテーナを外す(図 9)。
Note: リテーナの2本の足を寄せながら下へ押すと外れます。
Note: アクチュエータとリテーナは捨てないでください。

マニホルドバルブからアクチュエータを取り外す。
ブームバイパスバルブ・クラスタアセンブリ、エンドキャップ、フィッティング&ホースアセンブリを保持しているリテーナを 図 10.
Note: オスのキャップは再使用しませんが、キャップについているOリングは保管してください。

左右ノブの現在の設定をメモして記録しておく。
図 11に示すように、ブームバイパスバルブクラスターを180度 回転させる。

左右のノブを以前と同じ位置にセットする。
先ほど外したリテーナを使用してブームバルブクラスタを図 のように取り付ける。

この作業に必要なパーツ
| 制御バルブ | 1 |
| ホースリール給液ホース | 1 |
| ガスケットクランプ | 1 |
| ストレート・バーブフィッティング | 1 |
| 燃料バルブ | 1 |
| キャップ(メス) | 1 |
| フィッティング | 1 |
| ブラケット | 1 |
| バルブマウント | 2 |
| ボルト (M6) | 8 |
| ボルト (1/4-20 x 5/8) | 2 |
| ロックナット(¼") | 2 |
| マニホールドティー | 1 |
| マニホールドティーキャップ | 1 |
| フランジ | 1 |
| R クランプ | 1 |
レッドウイングハンドルを遮断バルブに組み付ける。

先に取り外したOリングとリテーナーを使って、遮断バルブアセンブリをブームバルブに固定する。
先に取り外したリテーナーを使って、メスキャップ、Oリング、フィッティング、およびホースアセンブリをコントロールバルブに取り付ける。

先に取り外したリテーナを使って、先に取り外したアクチュエータをマニホールドバルブに取り付ける。
カップラから水圧感知ホースを外す。
リテーナを使ってグリーンウィングハンドルとストレート継手をフランジ付きコントロールバルブに取り付ける。

圧力計ポートからキャップとカプラーの接続を外す。

90度継手、制御バルブ、カプラ、圧力ゲージを取り付ける。

先に取り外したリテーナを使って、先に取り外したアクチュエータをマニホールドバルブに取り付ける。
フランジヘッドボルト (1/4 x 5/8”) 2本とロックナット (1/4”)を使って、コントロールバルブブラケットをバルブマウントフレームに取り付ける。

レッドウイングハンドルをストレートコントロールバルブに組み付ける。

図 20のAに示すように、バルブ マウントをストレートコントロール バルブに取り付ける。
フランジヘッドねじ(#6)を使って、バルブマウントを制御バルブに固定し、ねじを手締めする(図 20のB)。

図 21に示すように、コントロールバルブアセンブリをコントロールバルブブラケットにネジ(M6)4本で取り付ける。

図 22に示すように、先に取り外したOリングとリテーナーを使って、コントロールバルブ アセンブリをブームバルブに固定する。
図 22に示すように、先に取り外したリテーナーを使って、キャップ (1/2")、Oリング、フィッティング、およびホースアセンブリをコントロールバルブに取り付ける。

先に取り外したリテーナーを使って、付属のTマニホールドをバルブセクションの先端に取り付ける。

図 24に示すように、リテーナを使ってストレート継手をもう一方のストレートコントロールバルブに組み付ける。

バルブ マウントをコントロール バルブに取り付ける。

コントロールバルブアセンブリをマニホールドのT字継手に固定する。

コントロールバルブアセンブリをコントロールバルブブラケット底部にボルト(M6)4本で取り付ける。

フランジをマニホールドのT字継手に取り付ける。

クランプを使って、90度継手をフランジに固定する。


クランプを使って、キャップを90度継手に固定する。


カプラーを90度継手に取り付ける。

圧力計をキャップ内に取り付ける。

この作業に必要なパーツ
| ホースリール給液ホース | 1 |
| ボルト 1/4-20 x 5/8 | 1 |
| ロックナット(¼") | 1 |
| R クランプ | 1 |
ホースクランプを使って、ホースリール給液ホースを、コントロールバルブに取り付ける。
ストレートバーブフィッティングを、ホースリールの給液ホースに取り付ける;ホースクランプを使用する。
ホースリール給液ホースをRクランプに通し、ホースクランプを使ってホースリールに取り付ける。
Note: タンク洗浄すすぎキットが取り付けられている場合には、ホースをすすぎポンプの裏に通してください。



ケーブルタイ2本を使って、ワイヤハーネスを給水ホースに固定する。
この作業に必要なパーツ
| 長いホース(フィッティング付) | 1 |
| スプレーガン | 1 |
| 小さいホースクランプ | 1 |
長いホースのフィッティングのねじ山部分にテフロン(Teflon®)テープを巻き、フィッティングをリールの接続チューブに取り付ける(図 38)。

ホース(長)のもう一端をスプレーガンのフィッティングにつなぐ(図 39)。

ホースの端をホースクランプ(小)で固定する。
バッテリーケーブル(マイナス)をバッテリーに接続する。
ホース巻取りボタンを押し、注意深くホースをリールに巻いていく;リールの左右の端から端まで均等に巻きつけること。
手、だぶついた衣服、長髪、アクセサリー類がホース巻取り時にホースやリールに巻き込まれ、ケガをする恐れがある。
巻取り時はリールやホースに手を近づけない。
だぶついた衣服を避け、アクセサリー類を外し、長髪はまとめておく。
高圧の掛かった液体は皮膚を貫通し、身体に重大な損傷を引き起こす。
ノズルから液体が高圧で噴出しているので、絶対に手などを近づけない。
スプレーヤを人や動物に向けない。
圧力を掛ける前に、送液ラインやホースに傷や変形がないか接続部が確実に締まっているかを確認する。
リークの点検には新聞紙やボール紙を使う。
整備などの作業を行う時は、内部の圧力を確実に解放する。
万一オイルが皮下に入ったら直ちに専門医の手当てを受ける。
高温の液体や薬品はやけどを起こしたり人体に悪影響を及ぼす恐れがある。
Important: 作業が終了したら毎回すぐにスプレーヤから薬液を排出して内部を洗浄してください。これを怠ると、内部に残留している薬剤が固まってラインの詰まりやポンプの異常の原因となります。
散布システムは 一回使用するごとに 洗浄してください。散布システムの正しい洗浄方法:
すすぎ洗いを3回別々に行う。
それぞれのすすぎ洗いに少なくとも190リットルの水を使用する。
薬剤メーカーが指示をしている場合には、その指示に従ってクリーナや中和剤を使用する。
最後のすすぎ洗いは、純粋な真水(クリーナや中和剤を使用しない)を使って行う。
機械を停止し、ブームを OFF にし、駐車ブレーキを掛ける。
車両を運転しながらハンドスプレーヤを操作するのは非常に危険であり、負傷事故や死亡事故につながる恐れがある。
運転中はハンドスプレーヤを操作しないこと。
車両後部にまわり、スプレーガンのトリガーロックがきちんと掛かっていることを確認する。
制御バルブについている緑色のハンドルを90°回転させる。
運転席に戻ってポンプを ON にする。
マスターブームスイッチを ON 位置にする。
エンジンを希望する速度にセットして、ニュートラル・エンジン速度ロックを ON にする。
Important: 手散布モードでは、150 psi(10.5 kg/cm2)以上の設定にしないでください。
必要な長さのホースをリールから引き出す。
Important: ホースを引き出す時にスプレーガンを引っ張らないでください。必ず直接ホースを持って引き出してください。
トリガーのロックを外す。
スプレーガンのノズルを散布したい場所に向け、トリガーを引く。
散布が終わったらトリガーから手を離し、トリガーのロックを掛ける。
ホースリールの巻取りボタンを押し、50 cm から 1 mほど残してホースを巻き取る。
Note: ホース巻取りボタンは、スーパーバイザー(管理者専用)キーが「解除」位置にセットされているときにのみ使用可能です。
手、だぶついた衣服、長髪、アクセサリー類がホース巻取り時にホースやリールに巻き込まれ、ケガをする恐れがある。
巻取り時はリールやホースに手を近づけない。
だぶついた衣服を避け、アクセサリー類を外し、長髪はまとめておく。
制御バルブについている緑色のハンドルを90°回転させる。
液体を噴射しても安全な場所にスプレーガンのノズルを向け、トリガーのロックを外し、トリガーを引いてホースに残った液体を全部出し切る。終わったらトリガーのロックを掛ける。
スプレーガンをリール背面のホルダに戻す。
エンジンをアイドリング速度に戻す。
ポンプを停止させる。
Important: その日の作業が終了したら、忘れずにハンドガンの内部洗浄を行ってください(手順については オペレーターズマニュアル を参照してください)。適切な清掃を行わないと、ガンやホースリールキットの性能が損なわれる恐れがあります。
散布率調整スイッチで希望する水圧にセットする。