Introduction

Read this information carefully to learn how to operate and maintain your product properly and to avoid injury and product damage. You are responsible for operating the product properly and safely.

Visit www.Toro.com for more information, including safety tips, training materials, accessory information, help finding a dealer, or to register your product.

Whenever you need service, genuine Toro parts, or additional information, contact an Authorized Service Dealer or Toro Customer Service and have the model and serial numbers of your product ready. Figure 1 identifies the location of the model and serial numbers on the product. Write the numbers in the space provided.

g353404

This manual identifies potential hazards and has safety messages identified by the safety-alert symbol (Figure 2), which signals a hazard that may cause serious injury or death if you do not follow the recommended precautions.

g000502

This manual uses 2 words to highlight information. Important calls attention to special mechanical information and Note emphasizes general information worthy of special attention.

Refer to the Operator's Manual for safety information before installing and operating this attachment.

Safety

Safety and Instructional Decals

Graphic

Safety decals and instructions are easily visible to the operator and are located near any area of potential danger. Replace any decal that is damaged or missing.

decal106-5517

Installation

For added traction performance, the Weight Kit (100-6442) can be added to the front of the machine.

Note: If the machine is fitted with a front lift or plow attachment, the Weight Kit will not fit due to physical interference.

Mounting the Spiker

Parts needed for this procedure:

Spiker assembly1

Note: Determine the left and right sides of the machine from the normal operating position.

  1. Remove any attachment from the rear of the machine.

  2. Back the traction unit into position in front of the attachment adapter. Lower the traction unit adapter.

    Note: Ensure that the locking lever is pivoted to the left (unlocked position) as viewed from the rear of the machine (Figure 3).

    g003781
  3. Raise the traction unit adapter into the attachment adapter.

  4. Pivot the locking lever to the right to lock the adapters together.

Adjusting the Link Assembly

  1. With the attachment mounted and secured on the traction unit, raise the attachment.

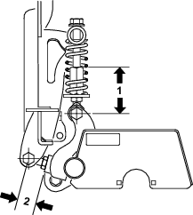
  2. Measure the gap between the top washer and the spacer in the link assembly on the attachment adapter as shown in Figure 4.

    Important: The gap between the washer and the shoulder should be 0.060 to 0.080 inches (1.5 to 2.0 mm).

    g353403

Finishing the Setup

Before operating the finish grader, review the following materials and save them in an appropriate place:

  • Parts Catalog

  • Installation Instructions

Operation

Inspecting and Cleaning the Spiker

When the spiking operation is completed, clean the machine thoroughly. Since this machine is used primarily in sand, and sand is extremely abrasive, the sand should be flushed off after each use. If the machine is cleaned frequently, (before the sand has a chance to "cake"), it can be cleaned with a stream of water from a hose with the nozzle removed.

Important: Do not use pressurized water to clean the machine; a high pressure stream could drive sand or other material into wear areas where it could act as a grinding compound.

Note: If the attachment adapter becomes stuck to the traction unit adapter, insert a prybar/screwdriver into the pry slot to disengage the parts.

g003783

Operating Tips

  • Before beginning the spiking operation with the attachment, find a clear area and practice starting, stopping, raising, lowering, and spiking. This training period allows you to become familiar with the performance of the spiker.

  • Maintain a straight line when spiking. Do not turn when the spiking blades are in the ground.

  • Operate the traction unit at a slow, constant ground speed to achieve a uniform spiking pattern.

  • When the edge of the green is reached, raise the spiker before turning or stopping. The spiker must be raised completely before making turns. Survey the green to determine if there are any obstacles that will be damaged or will result in damage to the spiker such as sprinkler heads and protruding objects.

  • Adjust the ground penetration by regulating the lift/lower valve and comparing it to the spiker depth gauge.

  • A Variable Orifice Kit is available for fine adjustment of the ground penetration.

Maintenance

Greasing the Attachment Adapter

If the locking lever on the attachment adapter does not pivot freely and easily, apply a light coat of grease to the area shown in Figure 6.

g003731

Adjusting the Compression Springs and Ball Joints

The springs and ball joints are adjusted at the factory. However, if new parts are installed or the components are removed for any reason, the spring and ball joint length should be adjusted as shown in Figure 7.

g556173