| 유지보수 서비스 간격 | 유지보수 절차 |
|---|---|
| 매번 사용하기 전 또는 매일 |
|
이 장비는 상업용 작업 분야에서 전문가가 사용하는 승용식, 릴블레이드 잔디 예초기입니다. 이 장비는 주로 잘 관리된 잔디밭의 잔디를 깎는 용도로 고안되었습니다. 이 제품을 지정되지 않은 용도로 사용하면 작업자나 주변 사람들이 위험해질 수 있습니다.
이 정보를 주의 깊게 읽고 제품을 제대로 조작 및 유지관리하는 방법과 부상 및 제품 손상을 방지하는 방법에 대해 익히십시오. 사용자는 제품을 제대로 안전하게 조작해야 할 책임이 있습니다.
안전 요령, 교육 자료, 액세서리 정보 등의 자세한 정보를 찾거나 판매점 위치를 찾거나 제품을 등록하는 경우 www.Toro.com을 방문하십시오.
서비스, Toro 순정 부품 또는 추가 정보가 필요하면 Toro 지정 판매 대리점에 연락하여 제품의 모델 번호와 일련 번호를 알려 주십시오. 그림 1은 제품의 모델 번호와 일련번호 위치를 보여 줍니다. 이들 번호를 다음 칸에 적어 두십시오.
Important: 모바일 기기에서는 일련번호판(장착한 경우)의 QR 코드를 스캔하여 보증, 부품 및 기타 제품 정보를 액세스할 수 있습니다.

이 제품은 모든 관련 유럽 법규에 일치합니다. 자세한 내용은 각 제품의 구체적인 적합성 선언서(DOC)를 참조하십시오.
이 장비에 텔레매틱스 장치가 장착된 경우, 장치 활성화에 대한 지침은 Toro 공식 판매대리점에 문의하시기 바랍니다.
|
전자파 적합성 인증 |
|
국내: 이 장치는 FCC 규칙 파트 15를 준수합니다. 작동은 다음 두 가지 조건을 따릅니다. (1) 이 장치는 유해한 간섭을 유발하지 않으며, (2) 이 장치는 원치 않는 작동 유발을 포함하여, 수신할 수 있는 간섭을 수락해야 합니다. |
|
FCC ID: APV-3640LB IC: 5843C-3640LB |
|
이 장비는 FCC 규칙 파트 15에 따른 테스트를 거쳤으며 클래스 B 디지털 장치에 대한 한계를 준수하는 것으로 확인되었습니다. 이러한 한계는 거주 지역 설치 시 유해한 간섭으로부터 합당하게 보호하도록 설계되었습니다. 이 장비는 무선 주파수 에너지를 발생, 사용 및 방사할 수 있으며, 지침에 따라 설치 및 사용하지 않을 경우, 무선 통신에 유해한 간섭을 유발할 수 있습니다. 하지만 특정한 설치 시 간섭을 유발하지 않음을 보장하지 않습니다. 이 장비가 라디오나 텔레비전 수신에 유해한 간섭을 유발할 경우(장비를 껐다가 다시 켜서 확인 가능), 사용자는 다음 조치 중 하나 이상을 수행하여 간섭 현상을 해결할 수 있습니다.
|
|
아르헨티나 |
![]() |
|
호주 |
![]() |
|
모로코 |
|
|---|---|
|
AGREE PAR L’ANRT MAROC |
|
|
Numéro d’agrément: |
MR00004789ANRT20024 |
|
Date d’agrément: |
2024/11/4 |
|
뉴질랜드 |
|
|
|
대한민국 |
![]() |
캘리포니아
Proposition 65 경고
본 제품의 전원 코드에는 캘리포니아 주에서 선천성 기형 및 기타 생식 기능 장애를 일으키는 것으로 알려진 납, 화학 물질이 들어 있습니다. 취급 후에는 손을 씻으십시오.
배터리 포스트, 터미널 및 관련 액세서리에는 캘리포니아 주에서 암과 생식 기능 장애를 일으키는 것으로 알려진 납과 납 화합물, 화학 물질이 들어 있습니다. 취급 후에는 손을 씻으십시오.
본 제품의 사용으로 캘리포니아 주에서 암, 선천성 기형 및 기타 생식 기능 장애를 일으키는 것으로 알려진 화학 물질이 들어 있습니다.
경고 - 이 설명서에 제공된 모든 안전 경고, 지침, 그림 및 제원을 읽으십시오.
경고와 지침을 따르지 않으면 감전, 화재 및/또는 심각한 부상을 당할 수 있습니다.
하기에 나열된 모든 경고에서 사용된 용어 “장비”란 주전원 작동식(유선) 장비 및 배터리 작동식(무선) 장비를 의미합니다.
작업 구역 안전
작업 구역을 청결하고 조명이 잘 들도록 유지하십시오.작업 구역이 어수선하거나 어두우면 사고가 발생할 수 있습니다.
인화성 액체, 기스 또는 분진과 같은 폭발성 대기에서 장비를 작동하지 마십시오.장비에서 스파크가 발생하여 분진이나 가스가 발화될 수 있습니다.
장비를 운전할 때에는 아동이나 주변 사람들이 가까이 오지 않도록 하십시오.방해를 받으면 제어력을 상실할 수 있습니다.
전기 안전
콘센트와 호환되는 장비 플러그를 사용해야 합니다. 어떤 방식으로든 플러그를 개조하지 마십시오. 접지된 장비와 함께 어댑터 플러그를 사용하지 마십시오.개조하지 않은 적합한 콘센트를 사용하면 감전 위험이 줄어듭니다.
파이프, 라디에이터, 가스레인지, 냉장고와 같은 접지된 표면과 신체가 접촉하는 것을 피하시기 바랍니다.신체가 접지되면 감전 위험이 증가합니다.
장비를 빗물이나 젖은 환경에 노출시키지 마십시오.장비에 물이 들어가면 감전 위험이 증가합니다.
전선을 무리하게 사용하지 마십시오. 장비를 이동하거나 당기거나 플러그를 뽑기 위해 전선을 사용하지 마십시오. 전선을 열, 오일, 날카로운 날, 또는 움직이는 부품에 가까이 하지 마십시오.전선이 손상되거나 얽히면 감전 위험이 증가합니다.
야외에서 장비를 사용할 경우, 야외 사용에 적합한 연장 코드를 사용하십시오.야외용으로 적합한 전선을 사용하면 감전 위험이 경감됩니다.
어쩔 수 없이 장비를 축축한 지역에서 사용해야 할 경우, 누전 차단기(RCD)로 보호되는 전원 공급장치를 사용하십시오. RCD를 사용하면 감전 위험이 경감됩니다.
개인 안전
장비를 운전할 때에는 방심하지 말고, 작업을 지켜보고, 상식을 사용하십시오. 아프거나 지친 상태, 또는 음주나 약물 복용 후에는 장비를 사용하지 마십시오.장비를 운전하는 동안 부주의하게 되면 심각한 부상을 당할 수 있습니다.
개인보호장비를 착용하십시오. 보안경을 착용하십시오.조건에 맞는 마스크, 미끄럼 방지 안전화 또는 청력 보호구와 같은 보호 장비를 사용하면 개인 부상을 줄일 수 있습니다.
의도치 않은 시동을 방지하십시오. 전원 및/또는 배터리 팩에 연결하기 전에 스위치를 꺼짐 위치에 놓아야 합니다.스위치를 켜짐 위치에 둔 상태에서 장비에 전원을 연결하면 사고가 발생할 수 있습니다.
장비의 시동을 걸기 전에 조정 키나 렌치를 제거하십시오.렌치나 키를 의 회전 부품에 부착된 상태로 두면 부상을 당할 수 있습니다.
지나치게 운전하게 마십시오. 항상 적절한 기반과 을 유지해야 합니다.이를 지키면 예상치 못한 상황에서 장비를 더 잘 제어할 수 있습니다.
적절한 작업 차림을 하십시오. 헐렁한 의복 또는 장신구를 착용하지 마십시오. 머리카락과 의복이 움직이는 부품에 닿지 않게 하십시오.헐렁한 의복, 장신구 또는 긴 머리카락은 움직이는 부품에 걸릴 수 있습니다.
분진 추출 및 수거 시설에 연결하기 위한 장치가 제공된 경우, 이러한 장치를 연결하고 적절하게 사용하는지 확인하십시오.분진 수집기를 사용하면 분진 관련 위험을 경감할 수 있습니다.
장비를 자주 사용하여 익숙하게 되었다고 하여도 안일하게 대처하고 장비 안전 원칙을 무시하지 마십시오.부주의하게 행동하면 짧은 시간에도 심각한 부상을 당할 수 있습니다.
장비 사용 및 관리
장비에 힘을 가하지 마십시오. 사용 분야에 맞는 장비를 사용하십시오.올바른 장비를 사용하면 설계된 대로 작업을 안전하게 더 잘 처리할 수 있습니다.
스위치가 켜지고 꺼지지 않는다면 장비를 사용하지 마십시오.스위치로 제어되지 않는 장비는 위험하며 수리해야 합니다.
조정하거나 액세서리를 교환하거나 장비를 보관하기 전에 전원에서 플러그를 뽑거나, 장비에서 탈착 가능한 배터리 팩을 분리하십시오.이러한 예방적 안전 조치를 취하면 우발적으로 시동될 위험을 줄일 수 있습니다.
유휴 장비를 아이들의 손이 닿지 않는 곳에 보관하고 장비 또는 이러한 지침을 숙지않은 사람이 장비를 작동하는 것을 금지하십시오.훈련받지 않은 사람이 장비를 취급하는 것은 위험합니다.
장비와 액세서리를 유지보수하십시오. 움직이는 부품의 정렬 또는 결합 상태, 부품 파손, 장비 작동에 영향을 줄 수 있는 기타 조건이 존재하는지 확인하십시오. 손상된 경우, 사용하기 전에 장비를 수리하십시오.불량하게 유지보수된 장비로 인해 많은 사고가 발생합니다.
커팅 도구를 날카롭게 청결하게 유지하십시오.커팅 도구의 커팅 날을 날카롭게 유지하면 잔디에 묶이지 않으며 더 쉽게 제어할 수 있습니다.
이러한 지침에 따라 장비, 액세서리, 도구 비트 등을 사용하고 작업 조건과 작업을 고려하시기 바랍니다.의도한 용도와 다른 작업을 위해 장비를 사용하면 위험한 상황이 발생할 수 있습니다.
핸들과 손잡이 표면을 건조하고 청결하게 유지하고 오일이나 그리스가 남아 있지 않도록 하십시오.핸들과 손잡이 표면이 미끄러우면 예상치 못한 환경에서 장비의 안전한 취급과 제어를 못하게 될 수 있습니다.
배터리 장비 사용 및 관리
제조업체에서 지정한 충전기만을 사용하여 충전하십시오.한 가지 배터리 팩에 적합한 충전기를 다른 배터리 팩과 함께 사용하면 화재가 발생할 위험이 있습니다.
특별히 지정된 배터리하고만 장비를 사용하십시오.다른 배터리를 사용하면 부상을 당하거나 화재가 발생할 수 있습니다.
배터리 팩을 사용하지 않을 경우, 한 단자를 다른 것과 연결시킬 수 있는 종이 클립, 코인, 키, 네일, 나사 또는 기타 작은 금속 물체와 같은 금속 물체를 가까이 두지 마십시오.배터리 단자를 단락시키면 화상을 입거나 화재가 발생할 수 있습니다.
배터리를 거칠게 다루면 배터리에서 액체가 튀어나올 수 있습니다. 접촉하지 마십시오. 우발적으로 접촉한 경우, 물로 세척하십시오. 액체가 눈에 접촉하면 의사의 진찰을 받으십시오.배터리에서 튀어 나온 액체는 피부를 자극하거나 화상을 유발할 수 있습니다.
손상되거나 개조된 배터리 팩이나 장비를 사용하지 마십시오.손상되거나 개조된 배터리는 예측하지 못한 동작으로 인해 화재나 폭발이 발생하거나 부상을 당할 수 있습니다.
배터리 팩이나 장비를 화재나 과도한 온도에 노출하지 마십시오.130°C 이상의 화재 온도에 노출되면 폭발할 수 있습니다.
모든 충전 지침을 따르고 설명서에 명시된 온도 범위 밖에서 배터리 팩이나 장비를 충전하지 마십시오.부적절하게 변경하거나 명시된 범위 이외의 온도에서 사용할 경우, 배터리가 손상되고 화재 발생 위험이 증가할 수 있습니다.
정비
장비는 식별된 교체 부품만을 사용하여 공인 정비 기사가 정비해야 합니다.이렇게 해야 장비 안전을 보장할 수 있습니다.
손상된 배터리 팩을 수리하지 마십시오.배터리 팩의 정비는 제조업체나 공인 정비 기사가 수행해야 합니다.
특히 번개가 칠 위험이 있는 경우와 같이 기후가 악화된 경우 잔디 에초기를 사용하지 마십시오.이 방침을 따르면 번개를 맞을 위험을 줄일 수 있습니다.
잔디 예초기를 사용할 구역에 야생 동물이 있는지 철저히 확인하십시오.장비 운전 중 야생 동물은 잔디 예초기에 의해 상처를 입을 수 있습니다.
잔디 예초기가 사용되는 구역을 철저히 검사하고 돌맹이, 막대기, 전선, 뼈다귀, 기타 이물질을 모두 치우십시오.물체가 튀기면 사람이 부상을 당할 수 있습니다.
잔디 예초기를 사용하기 전에 블레이드와 블레이드 어셈블리가 닳거나 손상되지는 않았는지 항상 눈으로 확인하십시오.닳았거나 손상된 부품은 부상 위험을 높입니다.
보호대를 정위치에 유지하십시오. 보호대는 정상적으로 작동하고 적절히 장착되어야 합니다.보호대가 느슨하거나 손상되거나 올바르게 작동하지 않으면 부상을 당할 수 있습니다.
모든 냉각 흡기구에 있는 잔해물을 치우시기 바랍니다.흡기구가 잔해물로 막히면 과열되거나 화재가 발생할 위험이 있습니다.
잔디 예초기를 운전할 때에는, 항상 미끄럽지 않은 안전화를 착용하십시오. 샌들을 신거나 맨발인 채로 잔디 예초기를 운전하지 마십시오.이를 지키면 예초 블레이드에 접촉하여 발이 부상당할 위험이 경감됩니다.
잔디 예초기를 운전할 때에는 항상 긴 바지를 착용하십시오.피부가 노출되면 튀겨진 물체로 인해 부상 당할 위험이 증가합니다.
매우 가파른 경사지에서는 잔디 예초기를 운전하지 마십시오.이를 지키면 개인 부상으로 이어질 수 있는 제어력 상실, 미끄러짐, 낙하할 위험이 경감됩니다.
경사지에서 작업할 경우, 항상 발을 잘 디디고, 항상 경사면을 가로질러서 작업하고, 위아래 방향으로 운전하지 말고, 방향을 바꿀 때에는 매우 조심해야 합니다.이를 지키면 개인 부상으로 이어질 수 있는 제어력 상실, 미끄러짐, 낙하할 위험이 경감됩니다.
잔디 예초기를 작업자를 향해 후진시키거나 당길 때 매우 조심해야 합니다.주변 환경을 항상 주의하시기 바랍니다. 주변 환경을 항상 주의하시기 바랍니다.
작동 중인 블레이드와 기타 위험한 움직이는 부품을 만지지 마십시오.이를 지키면 움직이는 부품으로 부상을 당할 위험이 경감됩니다.
걸려 있는 자재를 제거하거나 잔디 예초기를 청소할 때 모든 전원 스위치를 끄고 장치를 제거(또는 활성화)하십시오잔디 모어가 예상치 않게 작동하면 심각한 부상을 당할 수 있습니다.
향후 참조를 위하여 모든 경고 및 지침을 보관하십시오.
이 설명서 및 장비에 표시된 안전 경고 기호는 사고를 방지하기 위해 준수해야 하는 중요한 안전 메시지를 식별합니다(그림 2).

안전 경고 기호는 안전하지 않은 활동 또는 상황에 대해 경고하는 정보를 표시하고 위험경고 또는 주의라는 용어로 정의됩니다.
위험은 피하지 않으면 사망 사고 또는 심각한 부상으로 이어지는 임박한 위험 상황을 표시합니다.
경고는 피하지 않으면 사망 사고 또는 심각한 부상이 발생할 수 있는 잠재적인 위험 상황을 표시합니다.
주의는 피하지 않으면 경미하거나 중등도의 부상이 발생할 수 있는 잠재적인 위험 상황을 표시합니다.
본 설명서에서는 정보를 강조 표시하기 위해 두 개의 다른 단어를 사용합니다. 중요는 특별한 기계 정보에 대한 주의를 환기시키며 참고는 특별한 주의를 기울일 필요가 있는 일반 정보를 강조합니다.
이 제품으로 인해 손이나 발이 절단될 수 있으며 물체가 튕겨나올 수도 있습니다. 항상 모든 안전 지침을 준수하여 심각한 개인 부상이나 사망을 방지하십시오.
장비를 켜기 전에 이 사용 설명서의 내용을 읽고 숙지하십시오.
책임감이 있고 신체적인 능력이 있는 사람만이 장비를 운전해야 합니다.
장비를 작동하는 동안에는 온전히 주의를 기울이십시오. 주의력을 산만하게 하는 활동을 하면, 부상 또는 재산 피해가 발생할 수 있습니다.
장비의 움직이는 부품 근처에 손이나 발을 두지 마십시오.
장비에 모든 보호 장치 및 기타 안전 보호 장치가 제자리에 장착되어 제대로 작동하지 않는 상태에서는 장비를 운전하지 마십시오.
주변 사람들과 아이들은 작업 공간에 들어오지 못하게 하십시오.
장비를 끄고 키를 뺀 다음 모든 움직임이 멈출 때까지 기다려 운전석에서 내리십시오. 장비가 식은 후에 장비를 조정, 정비, 청소 또는 보관하십시오.
![]() |
안전 문구 데칼과 지침은 작업자의 눈에 쉽게 보이며 잠재적인 위험이 있는 모든 부분에 부착되어 있습니다. 손상되거나 유실된 데칼은 교체하십시오. |
















이 절차를 수행하는 데 필요한 부품:
| 롤 바어셈블리 | 1 |
| 육각 볼트(⅜ x 1½ 인치) | 8 |
| 너트(⅜ 인치) | 8 |
크레이트에서 상단 크레이트 지지대를 분리합니다.
크레이트를 롤 바에서 분리합니다.
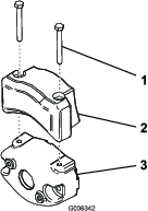
8개의 육각 볼트(⅜ x 1½ 인치) 및 8개의 너트(⅜ 인치)를 사용하여 롤 바를 장비의 각 측면에 있는 롤 바 브래킷에 고정합니다(그림 3).
Note: 롤 바를 장비에 배치하고 고정하도록 조수의 도움을 받으십시오.

패스너를 51~65 N∙m의 토크로 조입니다.
이 절차를 수행하는 데 필요한 부품:
| 시트 키트(별도 판매; Toro 공식 판매 대리점에 문의하십시오) | 1 |
시트 키트를 구입하고(Toro 공식 판매 대리점에 문의) 키트의 설치 지침을 참조하여 시트를 설치합니다.
이 절차를 수행하는 데 필요한 부품:
| 잔디 수거함 후크 | 6 |
| 플랜지 볼트 | 12 |
12개의 플랜지 볼트를 사용하여 6개의 잔디 수거함 후크를 서스펜션 암 바의 말단에 정착합니다(그림 7).

이 절차를 수행하는 데 필요한 부품:
| 텔레매틱스 장치 | 1 |
| 장치 브래킷 | 1 |
| 텔레매틱스 와이어 하니스 | 1 |
| 육각 헤드 볼트(#10 x 1 인치) | 4 |
| 록너트(#10) | 4 |
| U-볼트 | 1 |
| 플랜지 너트(⅜ 인치) | 2 |
| 케이블 타이 | 4 |
육각 헤드 볼트(#10 x 1 인치) 4개와 록너트(#10) 4개를 사용하여 텔레매틱스 장치를 장치 브래킷에 고정합니다(그림 10).

U-볼트와 플랜지 너트(3/8 인치) 2개를 사용하여 롤바의 수동 튜브 상부 영역에 장치 브래킷를 고정합니다(그림 11).

텔레매틱스 장치에 텔레매틱스 와이어 하니스의 P02라고 표시된 커넥터를 설치합니다(그림 12).

와이어 하니스를 롤바 하부로 배선하고 P71 이라고 표시된 장비 와이어 하니스의 커넥터에 P01 이라고 표시된 와이어 하니스 커넥터를 연결합니다 (그림 13).

케이블 타이로 이 연결부를 메인 하니스에 고정하십시오.
그림과 같이 케이블 타이를 사용하여 롤바에 하니스를 고정합니다.

장비 좌측의 롤바 바닥 근방에 있는 주전원 커넥터에서 커넥터 커버를 들어 올린 다음 플러그를 연결합니다(그림 15).

InfoCenter를 사용하여 장비 설정을 조정합니다. InfoCenter를 사용하여 장비 설정을 조정합니다.을 참조하십시오.
이 절차를 수행하는 데 필요한 부품:
| 후방 웨이트 키트(별도 판매; Toro 공식 판매 대리점에 문의하십시오) | 1 |
후방 웨이트 키트를 설치하면 이 장비는 해당하는 표준을 준수합니다. 후방 웨이트 키트에 대해 Toro 공식 판매대리점에 문의하십시오.
장비에 3륜 구동 키트가 함께 공급된 경우, 후방 웨이트 키트를 설치할 필요가 없습니다.
이 절차를 수행하는 데 필요한 부품:
| 생산 연도 데칼 | 1 |
| CE 경고 데칼(부품 번호 139-8321) | 1 |
| CE/UKCA 데칼(부품 번호 138-9470) | 1 |
CE/UKCA 표준이 적용되는 국가에서 이 장비를 사용할 경우, 다음 데칼과 후드 래치를 부착하십시오.
타이어는 운송을 위해 과팽창 상태로 제작됩니다. 장비를 켜기 전에 압력을 적정 수준으로 줄이십시오. 타이어 공기압 점검을 참조하십시오.
장비 후면에 있는 벽면 설치 키 구멍을 사용하여 벽면에 충전기를 설치할 수 있습니다. 6 mm 지름 샤프트 및 11 mm 헤드 지름을 가진 나사를 이용합니다.
Important: 작업 구역을 조사하여 충전기의 안전하고 효율적인 작동을 위한 기준을 가장 잘 충족하는 위치를 결정합니다.
배터리를 충전합니다. 리튬 이온 배터리 충전을 참조하십시오.


기능 제어 스위치(그림 19)는 두 가지 트랙션 선택 기능과 NEUTRAL(중립) 위치를 제공합니다.
NEUTRAL(중립) 위치—중립 및 백래핑
MOW(예초) 위치—예초 작업에 사용
TRANSPORT(이동) 위치—이동 작업에 사용
장비가 움직이는 동안 MOW(예초) 모드에서 TRANSPORT(이동) 모드로 전환하거나 TRANSPORT(이동) 모드에서 (NEUTRAL(중립)이 아니라) MOW(예초) 모드로 전환할 수 있습니다. 어떤 손상도 발생하지 않습니다.
TRANSPORT(이동) 또는 MOW(예초) 모드에서 NEUTRAL(중립) 모드로 전환하면 장비가 멈춥니다. 페달이 NEUTRAL(중립) 모드가 아닌 상태에서 NEUTRAL(중립)에서 MOW(예초) 또는 TRANSPORT(이동)로 변경하면 경고가 발생합니다.
올림/내림 조이스틱(그림 19)은 커팅 유닛을 올리거나 내립니다. 조이스틱은 기능 제어 스위치 위치에 따라 커팅 유닛 릴을 체결하거나 분리할 수 있습니다.
NEUTRAL(중립) 위치에 있는 기능 제어 스위치: 조이스틱을 앞이나 뒤로 움직이면 커팅 유닛이 올라가거나 내려가지만 장비를 백랩 모드로 놓지 않는 한 릴이 체결되지 않습니다.
MOW(예초) 위치에 있는 기능 제어 스위치: 예초 작업 중 조이스틱을 앞으로 움직이면 커팅 유닛이 내려가고 릴을 작동을 시작합니다. 조이스틱을 뒤로 당기면 릴이 멈추고 커팅 유닛이 올라갑니다.
커팅 유닛을 올리지 않고 릴을 멈추려면, 조이스틱을 순간적으로 뒤로 당겼다가 놓으십시오. 조이스틱을 다시 앞으로 움직이면 릴을 기동하고, 뒤로 다시 당기면 커팅 유닛을 위로 올립니다. InfoCenter에서 이 기능을 실행해야 합니다. 탭오프 지연 조정을 참조하십시오.
TRANSPORT(이동) 위치에 있는 기능 제어 스위치: 커팅 유닛을 들어 올릴 수 있지만 릴이 체결되지 않습니다. 커팅 유닛을 내리려고 시도하면 InfoCenter에 경고가 표시됩니다.
페달을 밟아(그림 21) 운전자의 키에 맞춰 스티어링 암을 올리거나 내린 다음 페달을 놓아 암을 고정합니다.
장비를 멈추려면 브레이크 페달(그림 23)을 밟으십시오.

주차 브레이크를 사용하여 장비의 이동을 막으십시오(그림 23). 주차 브레이크를 체결하려면 브레이크 페달을 밟은 후 위쪽 부분을 앞으로 밟아 래치에 걸리도록 하십시오. 주차 브레이크를 풀려면 주차 브레이크 래치가 풀릴 때까지 브레이크 페달을 밟으십시오.
InfoCenter 디스플레이(그림 24)는 작동 상태, 다양한 진단 정보 및 기타 장비 정보를 표시합니다.

Note: 각 버튼의 목적은 필요에 따라 그때그때 달라질 수 있습니다. 각 버튼에는 현재 기능을 나타내는 아이콘이 표시됩니다.
탐색 버튼을 사용하여 다양한 화면과 메뉴 항목 간을 이동할 수 있습니다.
시작 화면: 키를 ON(켜짐) 위치로 돌린 후 몇 초 동안 장비의 현재 정보를 표시합니다.
기본 정보 화면 (그림 25): 키를 ON(켜짐) 위치로 돌리면 현재 장비 정보가 표시됩니다.

eReel CU 모터 화면 (그림 26): 각 커팅 유닛 모터의 속도와 전류를 표시합니다.

트랙션 모터 화면 (그림 27): 현재 스티어링 각도와 각 트랙션 모터에 할당된 전류량을 표시합니다.

기본 메뉴: InfoCenter 메뉴 항목 이해를 참조하십시오.
![]() | 사용 시간 |
![]() | 기능 제어 스위치가 NEUTRAL(중립) 위치에 있습니다. |
![]() | 기능 제어 스위치가 TRANSPORT(이동) 위치에 있습니다. |
![]() | 기능 제어 스위치가 MOW(예초) 위치에 있습니다. |
![]() | 작업자가 착석해야 합니다. |
![]() | 주차 브레이크가 걸려 있습니다. |
![]() | 전기 주차 브레이크가 걸려 있습니다. |
![]() | PTO가 체결되었습니다. |
![]() | PTO가 분리되었습니다. |
![]() | 배터리 |
![]() | 커팅 유닛이 올라가고 있음을 나타냅니다. |
![]() | 커팅 유닛이 내려지고 있음을 나타냅니다. |
![]() | 활성 |
![]() | 비활성 |
![]() | 이전 |
![]() | 다음 |
![]() | 증가 |
![]() | 감소 |
![]() | 이전 화면 |
![]() | 다음 화면 |
![]() | 값 증가 |
![]() | 값 감소 |
![]() | 메뉴 |
![]() | 스크롤을 아래 위로 |
![]() | 스크롤을 좌우로 |
기본 메뉴로 이동하려면 모든 정보 화면에서 뒤로/종료 버튼을 누르십시오.
메뉴에서 사용할 수 있는 옵션의 설명은 다음 표를 참고하십시오.
| 메뉴 항목 | 설명 |
| FAULTS(고장) | FAULTS(고장) 메뉴에는 최근의 장비 고장 목록이 포함되어 있습니다. FAULTS(고장) 메뉴에 대한 자세한 정보는 정비 설명서를 참조하거나 Toro 공식 판매 대리점에 문의하십시오. |
| SERVICE(정비) | SERVICE(정비) 메뉴에는 사용 시간, 카운트 및 보정 등 장비에 대한 정보가 포함되어 있습니다. 또한, 커팅 유닛 백랩 절차를 활성화할 수 있습니다. Service(정비) 표를 참조하십시오. |
| DIAGNOSTICS(진단) | DIAGNOSTICS(진단) 메뉴에는 현재 장비가 가진 다양한 상태와 데이터가 표시됩니다. 이 메뉴를 사용하면 어떤 제어장치가 켜져 있고, 꺼져 있는지 그리고 제어 레벨(에: 센서 값)을 빠르게 알 수 있기 때문에 특정 문제를 해결할 수 있습니다. |
| SETTINGS(설정) | SETTINGS(설정) 메뉴를 통해 InfoCenter 디스플레이의 설정을 수정할 수 있습니다. Settings(설정) 표를 참조하십시오. |
| MACHINE SETTINGS(장비 설정) | MACHINE SETTINGS(장비 설정) 메뉴를 통해 릴 속도, 최대 예초 속도, 최대 이동 속도와 같은 장비 설정을 조정할 수 있습니다. Machine Settings(장비 설정) 표를 참조하십시오. |
| ABOUT(정보) | ABOUT(정보) 메뉴는 장비의 모델 번호, 일련번호 및 소프트웨어 버전을 나열합니다. About(정보) 표를 참조하십시오. |
| 메뉴 항목 | 설명 |
| HOURS | 키, 엔진, 릴 및 백업이 작동한 총 시간과 다음 정비 일정을 표시합니다. |
| COUNTS | 시동, 예초, 탭오프, 백랩의 횟수와 엔진이 30초 이상 크랭킹된 횟수를 표시합니다. |
| BACKLAP | 커팅 유닛 백랩 절차의 체결/해제(이 절차를 체결하면, 설정에서 모드를 해제하거나, 키를 OFF(꺼짐) 위치로 돌려 해제할 수 있습니다). |
CALIBRATION(보정) ![]() | 스티어링 시스템, 트랙션 시스템 및 리프트 액추에이터의 보정 작업을 할 수 있습니다. 보정에 대한 자세한 내용은 정비 설명서를 참조하십시오. |
| 메뉴 항목 | 설명 |
| ENTER PIN(PIN 입력) | PIN 코드로 회사가 승인한 사람(감독관/정비공)이 보호 메뉴로 들어가는 것을 허용합니다. |
| BACKLIGHT(백라이트) | LCD 디스플레이의 밝기를 제어합니다. |
| LANGUAGE(언어) | InfoCenter에서 사용되는 언어를 제어합니다. |
| FONT SIZE(글꼴 크기) | InfoCenter의 글꼴 크기를 제어합니다. |
| UNITS(단위) | InfoCenter에서 사용되는 단위를 제어합니다. 영국 단위(English) 또는 미터법(Metric)을 선택할 수 있습니다. |
PROTECT SETTINGS(보호 설정) ![]() | 보호 메뉴를 관리합니다. |
RESET DEFAULTS(기본값 리셋) ![]() | InfoCenter를 기본 설정으로 리셋합니다. |
| 메뉴 항목 | 설명 |
TAPOFF TIME(탭오프 시간) ![]() | 탭오프 지연을 제어합니다. |
REEL SPEED(릴 속도) ![]() | 커팅 유닛의 블레이드 속도를 제어합니다. |
LOWER SPEED(저속)![]() | 예초를 위해 커팅 유닛을 지면에 내린 상태의 속도를 설정합니다. |
BACKLAP SPEED(백랩 속도) ![]() | 백랩 속도를 제어합니다. |
CLIP CONTROL(클립 제어) ![]() | 자동 클립 제어 기능을 켜거나 끕니다. |
BLADE COUNT(블레이드 카운트) ![]() | 각 릴의 블레이드 개수를 설정합니다. CLIP CONTROL(클립 제어)가 ON(켜짐)으로 설정된 경우에만 이 설정이 필요합니다. |
HEIGHT OF CUT(예고)![]() | 원하는 예고를 설정합니다. CLIP CONTROL(클립 제어)가 ON(켜짐)으로 설정된 경우에만 이 설정이 필요합니다. |
MAX MOW(최고 예초) ![]() | 예초 시 장비의 최고 속도를 설정합니다. |
MAX TRANSPORT(최고 이동) ![]() | 차량 운행 시 최고 속도를 설정합니다. |
MAX MOW(최고 후진) ![]() | 장비가 후진할 때 최고 속도를 설정합니다. |
SLOW & TURN(저속 회전) ![]() | 저속 회전 기능을 사용 또는 사용 중단합니다. |
3WD KIT(3WD 키트) ![]() | 3륜 구동 키트를 체결하거나 해제합니다. |
배터리 비축![]() | 배터리 레벨이 낮아졌을 때 장비가 정비소로 돌아가는 데 필요한 거리를 설정합니다. |
| 메뉴 항목 | 설명 |
| MODEL | 장비의 모델 번호를 나열합니다. |
| SN | 장비의 일련번호를 나열합니다. |
| S/W REV(소프트웨어 버전) | 마스터 컨트롤러의 소프트웨어 개정 사항을 나열합니다. |
XDM-2700 ![]() | InfoCenter의 소프트웨어 개정 사항을 나열합니다. |
CUTTING UNIT 1(커팅 유닛 1)![]() | 중앙 커팅 유닛 모터의 소프트웨어 개정 사항을 나열합니다. |
CUTTING UNIT 2(커팅 유닛 2)![]() | 좌우측 커팅 유닛 모터의 소프트웨어 개정 사항을 나열합니다. |
CUTTING UNIT 3(커팅 유닛 3)![]() | 전방 우측 커팅 유닛 모터의 소프트웨어 개정 사항을 나열합니다. |
PRECHARGE(선충전)![]() | 제너레이터의 일련번호를 나열합니다. |
LIFT LOWER 1(아래로 내리기 1)![]() | 선충전 컨트롤러의 소프트웨어 부품 번호와 개정 버전을 나열합니다. |
LIFT LOWER 2(아래로 내리기 2)![]() | 전방 좌측 커팅 유닛의 소프트웨어 부품 번호와 개정 버전을 나열합니다. |
LIFT LOWER 3(아래로 내리기 3)![]() | 전방 우측 커팅 유닛의 소프트웨어 부품 번호와 개정 버전을 나열합니다. |
TRACTION1![]() | 전방 우측 트랙션 모터의 소프트웨어 부품 번호와 개정 버전을 나열합니다. |
TRACTION2![]() | 전방 좌측 트랙션 모터의 소프트웨어 부품 번호와 개정 버전을 나열합니다. |
TRACTION3(트랙션3)![]() | 3륜 구동 키트의 소프트웨어 부품 번호와 개정 버전을 나열합니다(장착된 경우). |
STEERING(스티어링)![]() | 후방 스티어링 모터의 소프트웨어 부품 번호와 개정 버전을 나열합니다. |
BATTERY TB(배터리 TB)![]() | 장비에 장착된 각 배터리의 소프트웨어 부품 번호와 개정 버전을 나열합니다. |
Note:
보호
메뉴로 보호—PIN을 입력해야만 액세스 가능, 보호 메뉴 액세스를 참조하십시오.
Note: 장비 제작 시 기본 PIN 코드는 0000 또는 1234입니다.PIN 코드를 변경한 후 코드를 잊었다면, Toro 공식 판매 대리점에 연락하여 도움을 받으십시오.
MAIN MENU(메인 메뉴)에서 아래로 스크롤하여 SETTINGS(설정) 메뉴로 이동한 다음 오른쪽 버튼(그림 28)을 누르십시오.

SETTINGS(설정) 메뉴에서 ENTER PIN(PIN 입력)으로 스크롤한 다음 선택 버튼을 누릅니다(그림 29A).

PIN 코드를 입력하려면 올바른 첫 번째 숫자가 나타날 때까지 위쪽/아래쪽 탐색 버튼을 누른 후 오른쪽 탐색 버튼을 눌러 다음 숫자로 이동합니다(그림 29B 및 그림 29C). 마지막 숫자를 입력할 때까지 이 단계를 반복합니다.
선택 버튼을 누릅니다(그림 29D).
Note: 디스플레이가 PIN 코드를 승인하여 보호 메뉴가 잠금 해제되면 화면 우측 상단 모서리에
이라고 표시됩니다.
보호 메뉴를 잠그려면 키 스위치를 OFF(꺼짐) 위치로 돌린 다음 ON(켜짐) 위치로 돌립니다.
다음SETTINGS(설정)에서 PROTECT SETTINGS(보호 설정)으로 스크롤 다운합니다.
PIN 코드를 입력하지 않거나 설정 내용을 보고 변경하려면, 선택 버튼을 사용하여 PROTECT SETTINGS(보호 설정)를
(꺼짐)으로 변경합니다.
PIN 코드를 사용하여 설정을 열어 보고 변경하려면, 선택 버튼을 사용하여 PROTECT SETTINGS(보호 설정)를
(켜짐)으로 변경하고, PIN 코드를 설정하고,
시동 스위치의 키를 OFF(꺼짐) 위치로 돌렸다가 ON(켜짐) 위치로 돌립니다.

빨간색으로 깜박임 - 고장 발생
빨간색으로 켜짐 - 주의 요망 상태
파란색으로 켜짐 - 보정/대화 상자 메시지
녹색으로 켜짐 - 정상 작동
장비를 충전하거나, 장비에서 정비하거나, 커팅 유닛을 장착, 분리, 또는 정비 작업을 하기 전에 트랙션 유닛의 좌측 롤바 바닥에 있는 주전원 커넥터(그림 31)의 커넥터 커버를 들어 올리고 주전원 커넥터를 분리하여 장비의 전원 공급을 차단하십시오. 장비를 작동하기 전에 커넥터를 다시 꽂으십시오.

장비에 연결된 전원을 차단하지 않으면 누군가가 실수로 장비를 작동시켜 신체에 심각한 부상을 입을 수 있습니다.
항상 커넥터를 분리한 후에 장비를 정비하십시오.
트랙션 유닛의 치수와 중량에 대해 그림 32 및 트랙션 유닛 규격표을 참조하십시오.
Note: 규격과 설계는 통보 없이 변경될 수 있습니다.

| 작업폭 | 151cm |
| 휠 트랙 | 126cm |
| 휠 베이스 | 127cm |
| 전장(바스켓 포함) | 249cm |
| 전폭 | 180cm |
| 전고 | 205cm |
| 중량* | 705 kg |
| *11중 블레이드 커팅 유닛 장착, 협폭 wiehle 롤러, 운전자 공석, 표준 시트 장착 조건의 트랙션 유닛. | |
| 배터리 수량 | 5 |
| 정격 전압 | 최고 60 VDC 및 공칭 55.2 VDC 사용량 |
| 암페어시 | 199.85 |
Toro가 승인한 부속 장치와 액세서리를 사용하여 장비의 성능을 확장하거나 향상시킬 수 있습니다. 승인된 부착 장치와 액세서리 전체 목록을 보려면 지정 서비스점이나 Toro 지정 판매 대리점에 연락하거나 www.Toro.com을 방문하십시오.
장비를 최적 성능으로 사용하거나 안전 인증을 계속 보장 받으려면 순정 Toro 교체 부품과 액세서리만 사용하십시오. 다른 제조사에서 만든 교체 부품 및 액세서리는 위험할 수 있으며, 그러한 제품을 사용하면 제품 보증이 무효가 될 수 있습니다.
아이들이나 교육받지 않은 사람이 장비를 운전하거나 정비하는 것은 절대로 허용하지 마십시오. 현지 규정에 의해 작업자의 나이가 제한될 수 있습니다. 소유자는 모든 작업자 및 기술자를 교육할 책임이 있습니다.
장비 안전 운전, 작업자 제어 장치 및 안전 표시를 잘 알아 두십시오.
주차 브레이크를 체결하고, 장비를 끄고 키를 뺀 다음 모든 움직임이 멈출 때까지 기다려 운전석에서 내리십시오. 장비가 식은 후에 장비를 조정, 정비, 청소 또는 보관하십시오.
장비를 정지하고 신속하게 시동을 끄는 방법을 숙지하십시오.
운전자 감지 제어 장치, 안전 스위치 및 안전 보호 장치가 부착되어 올바르게 작동하고 있는지 확인하십시오. 이들 장치가 제대로 작동하지 않으면 운전하지 마십시오.
예초하기 전에, 항상 장비를 점검하여 커팅 유닛이 양호한 작업 상태인지 확인하십시오.
장비를 사용할 장소를 점검하고 장비에 의해 튕겨 나갈 가능성이 있는 모든 물체를 제거하십시오.
InfoCenter를 사용하여 다음 장비 설정을 조정할 수 있습니다.
탭오프 지연, 탭오프 지연 조정을 참조하십시오.
예초 중 릴 속도, 예초 릴 속도 조정을 참조하십시오.
커팅 유닛 저속, 커팅 유닛 저속 설정을 참조하십시오.
커팅 유닛 백래핑 중 릴 속도, 백랩 릴 속도 조정을 참조하십시오.
클립 제어, 클립 제어 기능 설정을 참조하십시오.
예고(HOC), 예고(HOC) 조정을 참조하십시오.
커팅 유닛 블레이드 개수, 커팅 유닛 블레이드 개수 조정을 참조하십시오.
최고 예초 속도, 최고 예초 속도 조정을 참조하십시오.
최고 이동 속도, 최고 이동 속도 조정을 참조하십시오.
최고 후진 속도, 최고 후진 속도 조정을 참조하십시오.
저속 및 회전, 저속 및 회전 기능 설정을 참조하십시오.
장착된 3륜 구동 키트 사용 중지, 장착된 3륜 구동 키트 사용 중지를 참조하십시오.
배터리 비축 용량; 배터리 비축 용량 설정을 참조하십시오.
Note: 각 설정은 암호로 보호됩니다. 설정을 변경하기 위해서는 암호를 입력해야 합니다.
TAPOFF TIME(탭오프 시간) 옵션으로 이동하여 탭오프 지연을 조정합니다. 탭오프 지연 기능을 사용하면 올리지 않고도 커팅 유닛을 끌 수 있습니다. 지연 설정은 올림/내림 조이스틱을 뒤쪽으로 유지하여 이 기능을 활성화하는 최고 시간을 의미합니다.
다음 표에 표시된 지연 시간 옵션과 증가값을 참조하십시오.
| 증가값 | 지연 시간(초) |
| 1 | 꺼짐 |
| 2 | 0.050 |
| 3 | 0.100 |
| 4 | 0.150 |
| 5 | 0.200 |
| 6 | 0.250 |
| 7 | 0.300 |
| 8 | 0.350 |
| 9 | 0.400 |
| 10 | 0.450 |
Note: 공장 기본 설정값은 1이며, 기능을 비활성합니다.
REEL SPEED(릴 속도) 옵션을 통해 예초 시 릴 속도를 조정할 수 있습니다. 클립 제어 설정을 OFF(꺼짐)로 놓아 이 설정을 조정할 수 있습니다. 클립 제어 기능 설정을 참조하십시오.
다음 표에 표시된 릴 속도 옵션과 증가값을 참조하십시오.
| 증가값 | 릴 속도(RPM) |
| 1 | 800 |
| 2 | 950 |
| 3 | 1100 |
| 4 | 1250 |
| 5 | 1400 |
| 6 | 1550 |
| 7 | 1700 |
| 8 | 1850 |
| 9 | 2000 |
Note: 공장 기본 설정값은 2000 rpm입니다(증가치 9).
LOWER SPEED(저속) 옵션을 검색하여 예초를 위해 커팅 유닛을 지면에 내린 상태의 속도를 설정합니다. 1단(최저 속도)에서 9단(최고 속도)까지 전환할 수 있습니다.
예초하기 전에 저속을 테스트합니다. 원하는 대로 속도를 조정합니다.
Note: 출하 기본 설정값은 5입니다.
BACKLAP(백랩) RPM 옵션을 통해 백랩 작업 시 릴 속도를 조정할 수 있습니다.
다음 표에 표시된 릴 속도 옵션과 증가값을 참조하십시오.
| 증가값 | 릴 속도(RPM) |
| 1 | 200 |
| 2 | 240 |
| 3 | 280 |
| 4 | 320 |
| 5 | 360 |
| 6 | 400 |
| 7 | 440 |
| 8 | 480 |
| 9 | 520 |
Note: 공장 기본 설정값은 200 rpm입니다(증가치 1).
일관되고 우수한 커팅 품질과 고른 잔디 모양을 얻기 위해 장비에 특허 출원 중인 Radius Dependent Speed™(반경 의존형 속도) 시스템이 장착되어 있습니다. RDS 시스템은 각각의 릴 모터와 트랙션 모터의 속도에 따라 변하는 클립 제어 및 독립형 휠 속도 기능으로 지속적인 예초를 유지하고 커팅 중 회전할 때 잔디의 벗겨짐을 줄입니다.
커팅 중 장비가 회전할 때(예: 수리지를 통과할 때), 회전 반경 내부의 릴이 회전 반경 외부의 릴보다 느린 rpm으로 회전합니다. 중앙 릴을 기준으로 내부 및 외부 릴 속도가 다르기 때문에 모든 3개의 커팅 유닛이 같은 정도의 예초 결과를 보입니다. 회전을 더 급하게 할수록 릴 속도의 차이가 커집니다. 또한, 커팅하는 중 장비 속도가 변경되면 RDS 시스템이 릴 속도를 조정하여 일관된 예초를 유지합니다. 이러한 기능은 내부 릴에 의한 잔디 솎음 현상을 줄여(다른 탑승식 그린 모어에 비하여) 3중 링 자국을 줄일 수 있습니다.
RDS 시스템은 또한 회전 중 릴 모터 속도의 변화와 유사하게 회전 중 각 휠 모터의 속도를 조정합니다. 내부 휠 모터는 외부 휠 모터보다 느린 rpm으로 회전합니다. 회전 중 휠 벗겨짐 현상을 최소화하고 3중 링 자국을 없앱니다.
CLIP CONTROL(클립 제어) 옵션을 검색하여 RDS 시스템 기능을 설정합니다.
ON(켜짐)으로 설정된 클립 제어: 장비는 HEIGHT OF CUT(예고, HOC) 및 BLADE COUNT(블레이드 카운트) 옵션과 좌우측 휠 속도를 사용하여 각 릴의 속도를 결정합니다.
OFF(꺼짐)으로 설정된 클립 제어: 장비가 REEL SPEED(릴 속도) 옵션의 설정을 사용합니다. 릴은 일정한 속도로 회전합니다.
Note: 출하 기본 설정값은 ON(켜짐)입니다.
HEIGHT OF CUT(예고, HOC) 옵션을 통해 예고를 조정합니다. 이 기능을 사용하려면 클립 제어 기능을 ON(켜짐)으로 설정해야 합니다. 클립 제어 기능 설정을 참조하십시오.
Note: 공장 기본 설정값은 3.2 mm입니다.
BLADE COUNT(블레이드 카운트) 옵션을 통해 커팅 유닛 블레이드 개수를 조정할 수 있습니다. 장착한 커팅 유닛의 블레이드 수를 확인하고 적절한 값을 선택하십시오(5, 8, 11, 또는 14).
Note: 출하 기본 설정값은 11입니다.
MAX MOW(최고 예초) 옵션을 통해 최고 예초 속도를 조정합니다. 0.3 km/h 단위로 4.8~8.0 km/h 속도 범위로 조정할 수 있습니다.
Note: 출하 기본 설정값은 6.1 km/h입니다.
MAX TRANSPORT(최고 이동) 옵션을 통해 최고 이동 속도를 조정합니다. 0.8 km/h 단위로 8.0~16.0 km/h 속도 범위로 조정할 수 있습니다.
Note: 출하 기본 설정값은 16.0 km/h입니다.
MAX REVERSE(최고 후진) 옵션을 통해 최고 후진 속도를 조정합니다. 0.8 km/h 단위로 3.2~8.0 km/h 속도 범위로 조정할 수 있습니다.
Note: 출하 기본 설정값은 4.0 km/h입니다.
Note: 장비 소프트웨어 버전 A에서 D까지 최고 속도는 4.8 km/h입니다. 기능과 관련하여 장비 소트프웨어를 업데이트하면 최고 속도를 8.0 km/h로 설정할 수 있습니다.
SLOW & TURN(저속 및 회전) 옵션을 검색하여 저속 및 회전 기능을 설정합니다. 저속 및 회전 기능은 장비가 그린의 다른 커팅 패스로 회전할 때 장비 속도를 줄입니다.
Note: 출하 기본 설정값은 OFF(꺼짐)입니다.
3WD KIT(3WD 키트) 옵션을 검색하여 장착된 3WD 구동 키트를 사용 중지합니다.
이 옵션을 사용 중지하였지만 3륜 구동 키트를 장착한 상태에서 키 스위치를 돌리면(즉, 장비를 끈 다음 켭니다) 키트가 다시 활성화됩니다.
Note: 3륜 구동 키트를 설정하면 키트가 자동으로 활성화됩니다.
배터리 비축 옵션으로 이동한 후 장비가 정비소로 이동하는 데 필요한 거리를 설정합니다. 재충전을 위해 장비를 정비소로 이동하는 데 충분한 배터리 전력을 확보할 수 있습니다(배터리 레벨이 너무 낮아진 경우). 배터리 시스템 충전 레벨 모니터링을 참조하십시오.
Note: 0.8 km 단위로 0.8 km ~ 8 km까지 거리를 조정할 수 있습니다.
장비를 보정할 때 InfoCenter에 대화 메시지가 표시됩니다. 이러한 메시지는 보정 절차를 설명합니다.
각 대화 메시지의 목록은 다음 표를 참조하십시오.
| 메시지 번호 | InfoCenter 메시지 문장 |
| 1 | 페달을 중립으로 되돌리십시오 |
| 4 | 페달을 최대 전진으로 이동하여 그대로 유지하십시오 |
| 5 | 최대 전진 보정 합격 |
| 9 | 최대 전진 보정 불합격. 전압이 규격을 벗어남 |
| 13 | 페달을 최대 후진으로 이동하여 그대로 유지하십시오 |
| 14 | 최대 후진 보정 합격 |
| 16 | 최대 후진 보정 불합격. 전압이 규격을 벗어남 |
| 17 | 보정 실패 페달 위치를 알 수 없음 |
| 18 | 페달을 중립으로 되돌리십시오. 계속하시겠습니까? |
| 100 | 보정이 실행됨 |
| 101 | 보정이 완료됨 |
| 102 | 키 스위치를 껐다 켜십시오 |
| 110 | 보정이 정지됨. 구성품이 응답하지 않음 |
| 111 | 보정이 정지됨. 구성품이 준비되지 않음 |
| 112 | 보정이 정지됨. 오류 발생 |
| 113 | 보정이 정지됨. 운전자 착석하지 않음 |
| 114 | 보정이 정지됨. 중립이 아님 |
| 115 | 보정이 정지됨. 중립 상태 |
| 116 | 보정이 정지됨. 주차 브레이크가 체결됨 |
| 300 | 페달을 중립으로 되돌리십시오 |
| 301 | 스티어링 휠의 중심을 맞추십시오. 계속하시겠습니까? |
| 302 | 수동으로 뒷바퀴의 중심을 맞추십시오. 계속하시겠습니까? |
| 303 | 뒷바퀴를 최대한 왼쪽으로 움직이십시오. 계속하시겠습니까? |
| 304 | 뒤바퀴를 최대한 오른쪽으로 움직이십시오. 계속하시겠습니까? |
| 305 | 뒷바퀴 중앙이 범위를 벗어남 |
| 306 | 뒷바퀴 각도가 범위를 벗어남 |
| 400 | 경고: 잭 스탠드가 장비 아래에 있어야 합니다. 계속하시겠습니까? |
| 401 | 보정이 정지됨. 컨택터가 열림 |
| 402 | 보정이 정지됨. 중립 페달 |
| 403 | 페달을 중립으로 되돌리십시오 |
| 404 | 휠이 멈출 때까지 기다리십시오. |
| 405 | 페달을 최대 전진으로 이동하여 그대로 유지하십시오 |
| 406 | 보정 작동 중. 페달 유지 |
| 500 | 확장하여 올림/내림 작동 중 |
| 501 | 접어서 올림/내림 작동 중 |
| 502 | 조이스틱을 내림 위치로 이동하십시오 |
| 503 | 조이스틱을 올림 위치로 이동하십시오 |
| 504 | 커팅 유닛이 장착되었습니까? 계속하시겠습니까? |
| 1100 | 트랙션 진단 메시지가 활성화됨 |
| 1101 | 스티어링 진단 메시지가 활성화됨 |
| 유지보수 서비스 간격 | 유지보수 절차 |
|---|---|
| 매번 사용하기 전 또는 매일 |
|
매일 장비를 켜기 전에, 다음 방법을 사용하십시오.
릴-베드나이프 접촉 상태를 점검합니다. 릴-베드나이프 접촉 점검을 참조하십시오.
타이어 공기압을 점검합니다. 타이어 공기압 점검을 참조하십시오.
안전 인터록 시스템을 점검합니다. 안전 인터록 시스템 점검를 참조하십시오.
주차 브레이크를 작동하여 제대로 체결되는지 확인하여 주차 브레이크 기능을 점검합니다. 주차 브레이크을 참조하십시오.
소유자/작업자는 사람이 다치거나 재산이 손상되는 사고를 막을 수 있으며, 이에 대해 책임이 있습니다.
보안경, 긴 바지, 잘 미끄러지지 않는 튼튼한 신발 및 청력 보호구를 포함하여, 적절한 의복을 착용하십시오. 긴 머리는 뒤로 묶고 헐렁한 옷이나 보석류는 착용하지 마십시오.
아프거나 지친 상태, 또는 음주나 약물 복용 후에는 장비를 운전하지 마십시오.
장비를 작동하는 동안에는 온전히 주의를 기울이십시오. 주의력을 산만하게 하는 활동을 하면, 부상 또는 재산 피해가 발생할 수 있습니다.
장비를 켜기 전에 모든 구동 장치가 중립 위치에 있고 주차 브레이크가 걸려 있는지 확인하고, 운전 위치에 앉으십시오.
장비에 다른 사람을 태우지 마십시오.
주변 사람들과 아이들은 작업 공간에 들어오지 못하게 하십시오. 주변에 다른 작업자가 있어야 한다면 특히 주의를 기울이고 장비에 잔디 수거함을 장착했는지 확인하십시오.
시야가 잘 보이는 곳에서만 장비를 운전하고 움푹 패인 곳이나 숨겨진 위험 요소를 피하십시오.
젖은 잔디에서는 예초하지 마십시오. 마찰력이 감소하여 장비가 미끄러질 수 있습니다.
손이나 발은 커팅 유닛에서 거리를 두십시오.
후진 시에는 후방과 아래쪽을 주시하여 장애물이 없는지 확인하십시오.
사각 지대, 관목, 나무 또는 그 외의 시야를 방해하는 물체에 접근할 때에는 주의하십시오.
잔디를 깎지 않을 경우에는 항상 커팅 유닛을 멈추십시오.
방향을 바꾸거나 장비를 가지고 차도나 인도를 건널 때에는 속도를 줄이고 주의를 기울이십시오. 항상 다른 차량에 양보하십시오.
장비를 작동한 채 자리를 비우지 마십시오.
운전석을 떠나기 전에 다음 절차를 수행하십시오.
장비를 평지에 주차합니다.
커팅 유닛을 지면으로 내려 체결 해제합니다.
주차 브레이크를 체결합니다.
장비를 끄고 키를 뺍니다.
모든 움직임이 멈출 때까지 기다립니다.
가시성이 좋고 기상 상태가 적절한 경우에만 장비를 운전하십시오. 번개가 칠 위험이 있는 상태에서는 장비를 운전하지 마십시오.
장비에서 ROPS 구성품을 분리하지 마십시오.
안전 벨트가 부착되어 있는지, 그리고 긴급 상황이 발생하면 안전 벨트를 신속하게 풀 수 있는지 확인하십시오.
항상 좌석 벨트를 착용하십시오.
머리 위의 장애물을 주의 깊게 확인하고 닿지 않게 하십시오.
손상 여부를 주기적으로 철저하게 검사하고 모든 장착 패스너를 단단히 조여 ROPS를 안전하게 작동하는 상태로 관리하십시오.
손상된 모든 ROPS 구성품을 교체하십시오. 수리 또는 개조하지 마십시오.
통제력을 잃거나 뒤집혀서 심하게 다치거나 사망하는 사고는 주로 비탈길에서 일어납니다. 작업자는 경사로 작업을 안전하게 할 책임이 있습니다. 비탈길에서 장비를 운전할 때에는 특별히 주의해야 합니다.
작업자는 현장 측량을 포함하여 현장 조건을 평가하여 경사로가 장비 운전에 안전한지 판단해야 합니다. 측량할 때 항상 상식과 좋은 판단력을 사용하십시오.
경사로에서 장비를 작동하려면 아래 나오는 경사로 지침을 검토하십시오. 장비를 작동하기 전에, 현장 조건을 검토하여 해당일에 해당 현장에서 장비를 작동할 수 있는지 판단하십시오. 지형이 바뀌면 장비의 경사로 운전에 변화가 생길 수 있습니다.
경사로에서는 장비를 시동하거나 정지하거나 회전하지 마십시오. 속도나 방향을 갑자기 변경하지 마십시오. 방향 전환은 천천히 점진적으로 하십시오.
트랙션, 스티어링, 안정성 등에 의문이 있으면 어떤 경우에도 장비를 작동하지 마십시오.
배수로, 파인 부분, 바퀴 자국, 융기, 돌, 그 밖의 숨겨진 물체 등 장애물이 있으면 제거하거나 표시하십시오. 잔디가 길어서 장애물이 보이지 않을 수 있습니다. 지형이 고르지 않으면 장비가 뒤집힐 수 있습니다.
젖은 잔디에서 장비를 작동하거나 경사로를 가로지르거나 내리막에서 장비를 작동하면 장비가 구동력을 잃게 될 수 있다는 점에 유의하십시오. 구동 휠이 구동력을 잃으면 미끄러져 제동이 되지 않고 스티어링도 되지 않을 수 있습니다.
급경사로, 배수로, 둑, 물웅덩이 또는 기타 위험 요소 근처에서 장비를 작동할 때 매우 주의하십시오. 바퀴가 가장자리를 넘어가거나 가장자리가 함몰하면 장비가 갑자기 뒤집힐 수 있습니다. 장비와 위험 요소 사이에 안전 영역을 정하십시오.
경사로의 아랫 부분에 있는 위험 요소를 확인하십시오. 위험 요소가 있으면, 보행자를 통제한 장비로 경사로를 예초하십시오.
가능한 경우, 경사로에서 작업하는 동안 커팅 유닛을 지면으로 내린 상태로 유지하십시오. 경사로에서 운전하는 동안 커팅 유닛을 올리면 장비가 불안정해질 수 있습니다.
잔디 수거 시스템 또는 기타 부착 장치를 다룰 때 매우 주의하십시오. 그런 것이 있으면 장비 안정성이 바뀌어 통제할 수 없게 될 수 있습니다.
길들이는 데 필요한 작업에는 8시간이 필요합니다.
처음 몇 시간의 작업이 앞으로의 장비 신뢰성에 큰 영향을 미치므로 기능과 성능을 자세히 관찰하십시오. 그렇게 하면 큰 문제로 발전할 수도 있는 사소한 이상을 찾아내어 교정할 수 있습니다. 장비를 길들이는 동안, 패스너가 느슨하지는 않은지 그 밖의 다른 고장은 없는지 자주 점검하십시오.
Note: 커팅 유닛 밑의 영역에 잔해물이 없는지 확인합니다.
운전석에 앉아 안전 벨트를 맵니다.
키를 스위치에 꽂고 ON(켜짐) 위치까지 돌립니다.
기능 제어 스위치를 MOW(예초) 위치로 옮깁니다.
주차 브레이크를 풉니다.
올림/내림 조이스틱을 앞쪽으로 잠깐 움직입니다.
커팅 유닛이 내려오고 모든 릴이 회전합니다.
올림/내림 조이스틱을 뒤로 이동시킵니다.
커팅 릴이 회전을 멈추고 커팅 유닛이 전속력 이동 위치로 올라갑니다.
| 유지보수 서비스 간격 | 유지보수 절차 |
|---|---|
| 매번 사용하기 전 또는 매일 |
|
안전 인터록 스위치가 해제되거나 손상된 경우, 장비가 예상치 않게 작동할 수 있고 심각한 부상을 당하거나 사망에 이를 수 있습니다.
인터록 스위치를 함부로 만지지 마십시오.
인터록 스위치의 작동 상태를 매일 점검하고 손상된 스위치가 있으면 장비를 운전하기 전에 교체하십시오.
안전 인터록 시스템의 목적은 작업자가 다치거나 장비가 손상될 가능성이 있는 경우 장비가 작동되지 않게 하는 것입니다.
안전 인터록 시스템은 다음 상태에서만 장비를 움직입니다.
주차 브레이크가 해제된 상태.
작업자가 운전석에 앉은 상태.
기능 제어 스위치가 MOW(예초) 위치이거나 TRANSPORT(이동) 위치인 상태.
또한 안전 인터록 시스템은 기능 제어 스위치가 MOW(예초) 위치인 경우에만 릴을 작동합니다(장비가 백랩 모드인 경우는 예외).
다음 단계를 거쳐 인터록 시스템을 검검합니다.
운전석에서 일어나서 장비를 켜고, 주차 브레이크를 풀고, 기능 제어 스위치를 MOW(예초) 또는 TRANSPORT(이동) 위치로 옮긴 다음 트랙션 페달을 겁니다.
운전석에 착석하지 않으면 장비가 움직이지 않아야 합니다. 움직이지 않으면 인터록 시스템이 제대로 작동하는 것입니다. 제대로 작동하지 않을 경우 문제를 해결합니다.
운전석에 앉아서 장비를 켜고, 주차 브레이크를 걸고, 기능 제어 스위치를 MOW(예초) 또는 TRANSPORT(이동) 위치로 옮긴 다음 트랙션 페달을 겁니다.
주차 브레이크가 걸렸기 때문에 장비가 움직이지 않아야 합니다. 움직이지 않으면 인터록 시스템이 제대로 작동하는 것입니다. 제대로 작동하지 않을 경우 문제를 해결합니다.
운전석에 앉아서 장비를 켜고, 주차 브레이크를 풀고, 기능 제어 스위치를 NEUTRAL(중립) 위치로 옮긴 다음 트랙션 페달을 겁니다.
기능 제어 스위치를 NEUTRAL(중립) 위치로 옮겼기 때문에 장비자 움직이지 않아야 합니다. 움직이지 않으면 인터록 시스템이 제대로 작동하는 것입니다. 제대로 작동하지 않을 경우 문제를 해결합니다.
시트에 앉아 트랙션 페달을 NEUTRAL(중립) 위치로 옮기고 기능 제어 스위치를 NEUTRAL(중립)으로 놓고 주차 브레이크를 걸고, 징비를 켠 다음 올림/내림 조이스틱을 앞으로 움직여 커팅 유닛을 내립니다.
커팅 유닛이 내려오지만 회전하지는 않아야 합니다. 회전한다면, 인터록 시스템에 올바르게 작동하는 것이 아닙니다. 문제를 시정한 다음 장비를 작동합니다.
커팅 유닛이 최대한 올라가 있는지 확인합니다.
운전석에 앉아서 안전 벨트를 풀고 주차 브레이크를 해제하고, 기능 제어 스위치를 TRANSPORT(이동) 위치로 옮긴 다음 예초 없이 장비를 운전합니다.
거친 지형에 접근할 때는 항상 속도를 줄이고 불규칙한 곳은 주의하여 지나십시오.
장비의 폭을 잘 익혀 두십시오. 폭이 좁아지는 물체 사이는 통과하려고 하지 마십시오. 그렇게 하면 비용이 많이 드는 손상이나 고장 시간이 발생할 수 있습니다.
그린을 예초하기 전에 비어 있는 영역을 찾아 기본적인 장비 기능(예: 장비를 켜고 멈추는 것, 커팅 유닛을 올리고 내리는 것, 회전하는 것 등)을 수행하는 연습을 합니다.
그린에 잔해물이 있는지 검사하고 예초 작업 중 커팅 유닛을 손상시킬 수 있는 것을 제거하고, 컵에서 플래그를 뺍니다. 그리고 예초하기 가장 좋은 방향을 결정합니다. 예초할 방향은 이전의 예초 방향을 기준으로 정하십시오. 항상 이전 예초 작업과 다른 패턴으로 예초하여 잔디 잎이 눕지 않도록 하고 더 잘 예초되도록 하십시오.
리본 커팅 방법을 사용할 수 있도록 그린의 한쪽 가장자리에서 시작합니다.
Note: 이렇게 하면 최대한 간결하게 커팅이 되어 그린에 단정하고 멋진 패턴이 남습니다.
기능 제어 스위치를 MOW(예초) 위치로 옮깁니다.
잔디 수거함의 전방 가장자리가 그린의 바깥쪽 가장자리를 넘어가면 올림/내림(예초) 레버를 앞으로 밉니다.
Note: 이렇게 하면 커팅 유닛이 잔디에 떨어져 릴을 시동합니다.
Important: 가운데 커팅 유닛은 전방 커팅 유닛보다 약간 지연하여 내려오고 올라가므로, 정리 예초 작업을 최대한 줄이는 데 필요한 시간이 생기도록 연습해야 합니다.중앙 커팅 유닛의 올림과 내림은 이동 속도에 따라 달라집니다. 이동 속도를 느리게 하면 올림 또는 내림 지연 시간이 커지고, 이동 속도가 빨라지면 올림 또는 내림 지연 시간이 줄어듭니다. 장비는 이동 속도를 모니터링하여 모든 3개의 커팅 유닛이 일렬로 하강하도록 이러한 지연 시간을 조정합니다.
되돌아오며 예초할 때 이전 커팅 영역과 중첩되는 부분을 최대한 줄입니다.
Note: 그린에서 직선을 유지하고 이전 커팅의 가장자리에서 장비가 동일한 거리를 유지하는 데 도움이 되도록, 장비 전방의 약 1.8~3 m 쯤에서 그린의 커팅되지 않은 부위의 가장자리(그림 36)까지 가상으로 가느다란 선을 그으십시오. 직선의 일부로 스티어링 휠의 바깥쪽 가장자리를 포함하십시오. 즉, 스티어링 휠 가장자리를 장비 앞쪽에서 항상 동일한 거리를 유지하는 지점에 일치시키십시오.
바스켓의 전방 가장자리가 그린 가장자리를 넘으면, 올림/내림 조이스틱을 뒤로 당기고 모든 커팅 유닛이 올라갈 때까지 그대로 유지합니다. 이렇게 하면 릴이 멈추고 커팅 유닛이 올라갑니다.
Important: 이 단계의 타이밍을 정확하게 맞추어, 주변부를 커팅하지 않으면서도 바깥쪽 주변부 주위에 남는 아직 예초할 잔디의 양이 최대한 적게 남도록 최대한 그린을 많이 예초하십시오.
작업 시간을 줄이고 다음 작업에 맞추어 쉽게 정돈하려면, 장비를 반대 방향으로 순간적으로 돌린 다음 예초되지 않는 부분의 방향으로 회전합니다. 이렇게 움직이는 것이 눈물 방울 모양 회전(그림 35)입니다. 이렇게 하면 장비가 다음 경로에 맞추어 빠르게 줄을 맞춥니다.
Note: 저속 및 회전 기능이 체결되었다면, 트랙션 페달의 압력을 풀 필요가 없이 회전 중에 장비가 느려집니다.

Note: 따뜻한 날씨인 경우 이외에는 최대한 짧게 회전해보십시오. 반경을 더 넓게 돌면 잔디를 상하는 것을 최대한 줄일 수 있습니다.

Important: 특히 커팅 유닛이 결합된 상태에서는 절대로 그린에서 장비를 멈추지 마십시오. 잔디가 손상될 수 있습니다. 그린 위에서 장비를 멈추면 휠로 인해 자국이나 눌린 부분이 생길 수 있습니다.
바깥쪽 주변부를 예초하여 그린 커팅을 마무리하십시오. 이전 예초 작업과 다른 커팅 방향으로 변경하십시오.
예초 후 외관을 향상시키고 3중 링 자국을 줄이려면 반경 의존형 속도(RDS) 시스템의 이해를 참조하십시오.
Note: 항상 날씨 및 잔디 상태를 염두에 두고 이전 예초 작업과 다른 커팅 방향으로 반드시 변경하십시오.
바깥쪽 주변부 예초 작업을 마무리할 때, 올림/내림 조이스틱을 뒤쪽으로 툭 쳐서 릴을 멈춘 다음(탭오프 지연 기능이 작동된 경우) 그린 밖으로 운전합니다. 모든 커팅 유닛이 그린에서 벗어나면 올림/내림 조이스틱을 뒤로 이동시켜 커팅 유닛을 올립니다.
Note: 이렇게 하면 잔디가 뭉쳐져서 그린에 남는 양이 최대한 줄어듭니다.
플래그를 교체합니다.
장비를 다음 그린으로 이동하기 전에 잔디 수거함에서 예지물을 전부 비웁니다.
Note: 젖고 무거운 예지물은 수거함과 서스펜션, 액추에이터에 부하를 줄 수 있습니다. 장비에 불필요한 무게를 가하여 에너지 효율성을 감소시킵니다.
InfoCenter의 메인 정보 화면을 참조하여 배터리 시스템 충전 레벨을 판단합니다. InfoCenter 디스플레이 사용을 참조하십시오.
배터리 레벨이 낮은 범위에 도달하면 InfoCenter에 배터리 낮음 경보가 켜집니다. 이 배터리 범위에서 작업하고 있는 경우, 현재 그린의 예초 작업을 마친 다음 장비를 지정된 배터리 충전 장소로 이동하여 배터리를 충전하십시오. 리튬 이온 배터리 충전을 참조하십시오.
장비를 운전하는 동안 배터리 레벨이 너무 낮으면(즉, 10% 미만) InfoCenter에 경보가 표시됩니다. 이 배터리 범위에서 작업하고 있는 경우 저속으로만 장비를 이동할 수 있습니다. 커팅 유닛을 체결할 수 었습니다. 장비를 지정된 배터리 충전 장소로 이동한 다음 배터리를 충전합니다. 리튬 이온 배터리 충전을 참조하십시오.
평평한 곳으로 장비를 옮깁니다.
기능 제어 스위치를 NEUTRAL(중립) 위치로 옮깁니다.
주차 브레이크를 겁니다.
키를 OFF(꺼짐) 위치로 돌려 장비를 정지시킵니다.
키를 뺍니다.
주차 브레이크를 체결하고, 장비를 끄고 키를 뺀 다음 모든 움직임이 멈출 때까지 기다려 운전석에서 내리십시오. 장비가 식은 후에 장비를 조정, 정비, 청소 또는 보관하십시오.
특히 커팅 유닛 및 구동부 등 장비에 붙어 있는 잔디와 부스러기를 제거하여 화재를 예방하십시오.
장비를 보관하거나 견인할 때 주전원 커넥터를 분리하십시오.
견인하거나 사용하지 않을 때에는 부착 장치에서 구동부를 분리하십시오.
장비를 밀폐된 곳에 보관하기 전에 장비를 식히십시오.
필요한 경우 안전 벨트(들)을 정비하고 청소하십시오.
온수기나 기타 기구 등 노출된 화염, 불꽃, 불이 붙을 수 있는 불씨 등이 있는 곳에는 장비를 보관하지 마십시오.
경고: 화재 및 감전 위험 - 배터리에는 사용자가 정비할 수 있는 부품이 없습니다.
충전기를 사용하기 전에 사용자 국가에서 통용되는 전압을 확인하십시오.
장비가 젖은 상태에서 충전하지 마십시오. 빗물이나 눈으로부터 보호하십시오.
Toro가 권장하지 않거나 판매하지 않은 액세서리를 사용하면 화재나 감전 사고가 발생하거나 부상을 당할 수 있습니다.
배터리 폭발 위험을 줄이려면 이러한 지침과 충전기 근방에서 사용하고자 하는 장비의 지침을 따르십시오. 배터리 폭발 위험을 줄이려면 이러한 지침과 충전기 근방에서 사용하고자 하는 장비의 지침을 따르십시오.
배터리는 심각하게 과충전되면 폭발성 가스를 방출할 수 있습니다.
Toro 공식 판매대리점에 문의하여 배터리를 정비하거나 교체하십시오.
아이들이나 교육받지 않은 사람이 충전기를 작동하거나 정비하는 것은 절대로 허용하지 마십시오. 현지 규정에 의해 작업자의 나이가 제한될 수 있습니다. 소유자는 모든 작업자 및 기술자를 교육할 책임이 있습니다.
충전기를 작동하기 전에 충전기의 모든 지침과 사용 설명서를 읽고 이해하고 따르십시오. 충전기의 적절한 사용 방법을 익히시기 바랍니다.
충전 중에 주변 사람들 및 아이들이 가까이 오지 않도록 하십시오.
충전하기 전에 장비를 끄고 장비가 완전히 종료될 때까지 기다립니다. 이 지침을 따르지 않으면 아크가 발생할 수 있습니다.
충전 중 충전 구역에 통기가 잘 되도록 하십시오.
본 사용 설명서에서 지정된 전압 범위 내에서만 충전기를 사용하고 Toro가 승인한 전선만을 사용하십시오.
적절한 충전기 및 전선은 Toro 공식 판매대리점에 문의하십시오.
얼어붙은 배터리를 충전하지 마십시오.
전선을 무리하게 사용하지 마십시오. 전선으로 충전기를 운반하거나 콘센트에서 충전기를 분리할 때 전원 공급장치 전선을 잡아당기지 마십시오. 열기, 오일, 날카로운 모서리에서 먼 곳에 전선을 보관하십시오.
접지된 콘센트에 충전기를 직접 연결하십시오. 어댑터가 접지되어 있더라도 접지되지 않은 콘센트에 충전기를 사용하지 마십시오.
제공된 전선이나 플러그를 개조하지 마십시오.
리튬 이온 배터리를 사용할 때는 반지, 팔찌, 목걸이, 시계 등 금속 제품을 제거하십시오. 리튬 이온 배터리는 심각한 화상을 유발할 정도로 충분한 전류를 발생할 수 있습니다.
본 사용 설명서에 명시된 충전 암페어에 적합한 연장 코드를 사용하십시오. 야외에서 충전할 경우, 야외용 등급의 연장 코드를 사용하십시오.
콘센트에 끼울 때 전원 공급장치 전선이 손상된 경우, 벽 콘센트에서 전선을 분리한 다음 교체를 위해 Toro 공식 판매대리점에 문의하십시오.
사용하지 않을 경우, 다른 위치로 이동하기 전에 또는 정비하기 전에 전기 콘센트에서 충전기를 빼시기 바랍니다.
무허가 사용자의 손이 닿지 않는 건조하고 안전한 실내에 충전기를 보관하십시오.
충전기를 분해하지 마십시오.
정비나 수리가 필요한 경우, Toro 공식 판매대리점으로 충전기를 가지고 오십시오.
감전 위험을 줄이려면 유지보수 또는 청소를 시작하기 전에 콘센트에서 전선을 빼시기 바랍니다.
필요에 따라 안전 및 지침 라벨을 관리하거나 교체하십시오.
손상된 전선이나 플러그가 포함된 충전기를 작동하지 마십시오. 교체용 전선을 얻기 위해 Toro 공식 판매대리점에 문의하십시오.
충전기가 손상되면 사용하지 마십시오. Toro 공식 판매대리점으로 가지고 가십시오.
견인용으로 고안된 히치가 있는 장비로만 견인하십시오. 견인되는 장비는 히치 포인트에만 연결하십시오.
견인되는 장비 및 경사로의 견인 중량 한도는 제조사의 권장사항을 따르십시오. 경사로에서는 견인되는 장비의 무게로 인해 미끄러져 제어력을 잃을 수 있습니다.
아이나 다른 사람이 견인되는 장비에 타는 것은 절대로 허용하지 마십시오.
견인할 때는 천천히 주행하고 정지 거리를 더 길게 잡으십시오.
| 유지보수 서비스 간격 | 유지보수 절차 |
|---|---|
| 매번 사용하기 전 또는 매일 |
|
예초 작업이 끝나면 과도한 수압으로 씰이나 베어링, 전자부품이 오염 및 손상되지 않도록 노즐이 없는 정원용 호스를 사용하여 장비를 꼼꼼히 세척하십시오. 물로 전기 연결부를 세척하지 마십시오.
Important: 소금기가 있는 물이나 재생된 물을 사용하여 장비를 청소하지 마십시오.
Important: 압력 세척 장비를 사용하여 장비를 세척하지 마십시오. 압력 세척 장비는 전기 시스템을 손상시키거나 중요한 데칼이 느슨해지게 하거나 마찰 지점에서 꼭 필요한 그리스를 씻어낼 수 있습니다. 씰 아래로 물이 침투하여 하우징에 함유된 오일이나 그리스를 오염시킬 수 있습니다. 제어판 및 배터리 근처에서는 물을 과도하게 사용하지 마십시오.
장비를 세척한 후 커팅 유닛이 예리한지 점검합니다.
트레일러나 트럭에 장비를 싣거나 내릴 때에는 주의하십시오.
트레일러나 트럭에 장비를 싣는 경우 전폭 램프를 사용하십시오.
끈, 체인, 케이블, 로프 등을 사용하여 장비를 단단히 묶으십시오. 전방 끈과 후방 끈은 모두 장비에서 볼 때 아래쪽과 바깥쪽을 향해야 합니다 (그림 37).

Note: 이 절차는 그림 38에 나와 있습니다.

장비를 견인하려면 다음 절차를 수행하여 브레이크 액추에이터를 해제해야 합니다.
주차 브레이크를 겁니다.
키를 빼고 주전원 커넥터를 분리합니다.
Important: 주전원 커넥터가 연결된 상태에서 견인하면 전기부품이 손상될 수 있습니다.
3륜 구동 키트가 장착된 경우, 메인 와이어 하니스에서 키트 와이어 하니스 커넥터를 분리합니다.
Important: 키트와 장비의 와이어 하니스가 연결된 상태에서 견인하면 전기부품이 손상될 수 있습니다.
앞 타이어 양쪽에 받침목을 댑니다.
아이볼트를 스프링 브래킷에 고정하는 너트를 풀어서 스프링의 장력을 해제합니다(그림 38).
스프링을 제거합니다.
암 브래킷 구멍을 통해 랫치(3/8 인치)를 끼우고 액추에이터 샤프트를 밀어 냅니다.
액추에이터가 브레이크에서 분리되면, 장비의 바퀴가 자유롭게 회전합니다. 자유롭게 굴러가는 장비에 의해 주변 사람이 중상을 당할 수 있습니다.
장비를 견인하지 않을 때는 주차 브레이크를 채우십시오.
장비를 견인할 때 조수를 태우고 안전 벨트를 채우고 브레이크를 사용하십시오.
Note: 이렇게 해야 장비를 견인할 때 장비를 제대로 제어할 수 있습니다.
타이어 받침목을 제거합니다.
장비를 견인할 준비가 되었다면, 주차 브레이크를 풉니다.
후방 캐스터 포크를 사용하여 장비를 견인하십시오(그림 39).
Important: 장비를 견인할 때 5 km/h를 초과하지 마십시오. 전자 부품이 손상될 수 있습니다.

원하는 목적지로 장비를 견인한 후 다음 절차를 수행하십시오.
배터리에는 화상을 유발하거나 감전시킬 수 있는 고전압이 포함되어 있습니다..
배터리를 열려고 시도하지 마십시오.
케이스에 균열이 있는 배터리를 취급할 때 매우 주의하십시오.
배터리를 위해 설계된 충전기만을 사용하십시오.
리튬 이온 배터리는 사용 수명 동안 의도한 작업을 수행할 정도로 충분한 전하를 보유합니다. 처음 4년 동안에는 한 번의 완전 충전으로 예초할 수 있는 총 면적은 13,006 m2((140,000 ft2)입니다. 이 성능은 다음 조건을 기반으로 합니다.
릴 블레이드와 베드나이프가 날카로운 상태입니다.
사용 설명서에 따라 베드나이프와 릴 접촉부가 조정되었습니다.
그루머는 예고의 절반 이하로 설정되었습니다.
후방 롤러 브러시가 가장 가벼운 접촉으로 설정되었습니다.
이동 거리 13 km가 필요합니다.
작업을 진행하는 골프 코스는 기복이 심하지 않습니다.
배터리가 단일 충전으로 완료할 수 있는 총 작업량은 점차적으로 감소합니다.
Note: 장비를 이동하는 데 필요한 거리, 가로지르는 기복, 베드나이프와 릴의 접촉 설정 및 날카로움, 본 섹션에서 논의된 기타 요소에 따라 결과가 달라질 수 있습니다.
배터리 사용 수명을 최대화하려면 다음 가이드라인을 따르십시오.
배터리에 열지 마십시오.
장비를 깨끗하고 건조한 차고나 보관 장소에 보관하거나/주차하고 직사광선, 열원, 빗물, 젖은 조건을 피합니다.온도 요건은 배터리 보관 요건을 참조하십시오.
뜨거운 환경이나 햇빛 아래에서 예초 작업할 경우, 배터리가 과열될 수 있습니다. 과열될 경우, 고온 경보가 InfoCenter에 표시됩니다. 이 상태가 되면 커팅 유닛이 해제되고 장비가 느려집니다.
장비를 시원한 장소로 즉시 운전하고 장비를 끄고, 배터리를 완전히 식힌 다음 작업을 재개합니다.
릴과 베드나이프의 접촉부를 최대한 가볍게 조정합니다. 이렇게 하면 커팅 유닛을 작동하는 데 필요한 전력이 줄어 들고 충전 후 장비가 수행하는 작업량이 늘어납니다. 릴-베드나이프 접촉 점검을 참조하십시오.
베드나이프와 릴의 날카로움을 유지하십시오. 블레이드가 무뎌지면 전력 소비량이 증가하고 충전 후 장비가 수행하는 작업량이 줄어듭니다.
그루머를 사용하는 경우, 그루머 높이는 예고의 절반 이하여야 합니다. 예고가 12.7 mm이면 그루머 높이는 6.3 mm 이하여야 합니다.
후방 롤러 브러시 접촉부를 최대한 가볍게 조정합니다. 이렇게 하면 커팅 유닛을 작동하는 데 필요한 전력이 줄어 들고 충전 후 장비가 수행하는 작업량이 늘어납니다.
필요 할 경우에만 조명을 사용합니다(장비에 조명 키트가 설치된 경우).
미국 교통부 및 국제 운송 기관의 규정에 따라 리튬 이온 배터리는 특수 패키징을 사용하여 운송해야 하고 운송 인증을 받은 운송업체만이 운송해야 합니다. 미국에 있는 사용자의 경우, 배터리가 배터리 구동 장치로서 장비에 설치된 경우, 몇 가지 규제 요건을 준수하면 배터리를 운송할 수 있습니다. 배터리 또는 배터리가 장착된 장비의 운송과 관련된 상세한 규정은 미국 교통부 또는 해당 국가의 적절한 정부 기관에 문의하십시오.
배터리 배송에 대한 상세 정보는 Toro 공식 판매대리점에 문의하십시오.
배터리 충전기 디스플레이와 전선의 개요는 그림 40을 참조하십시오.

감전 위험을 줄이기 위하여 이 충전기에는 3-prong 접지 플러그(타입 B)가 구비되어 있습니다. 플러그가 벽 콘센트에 맞지 않는 경우, 다른 접지 플러그 타입을 사용할 수 있습니다. Toro 공식 판매대리점에 문의하십시오.
어떠한 방식으로든 충전기나 전원 공급장치 전선을 변경하지 마십시오.
장비를 충전하는 동안 물과 접촉하면 감전을 유발하여 부상을 당하거나 사망에 이를 수 있습니다.
손이 젖어 있거나 물 위에 서 있는 경우 플러그나 충전기를 취급하지 마십시오.
빗물이나 젖은 환경에서 배터리를 충전하지 마십시오.
Important: 구멍이나 균열이 있는지 전원 공급장치 전선을 주기적으로 점검하십시오. 손상된 전선은 사용하지 마십시오. 고인 물이나 젖은 잔디를 통과하도록 전선을 연결하지 마십시오.
전원 공급장치 전선의 충전기 플러그를 일치하는 충전기의 입력 소켓에 끼웁니다.
손상된 충전기 전선은 감전이나 화재를 유발할 수 있습니다.
충전기를 사용하기 전에 전원 공급장치 전선을 철저히 검사하십시오. 전선이 손상된 경우, 교체품을 얻기 전에 충전기를 작동하지 마십시오.
전원 공급장치 전선의 벽 플러그를 접지된 전기 콘센트에 끼웁니다.
Toro가 공급하지 않은 충전기로 배터리를 충전하는 경우, 과도한 열이나 기타 관련 제품 고장이 발생하여 재산상 손해를 보거나 부상을 당할 수 있습니다.
Toro가 제공한 충전기를 사용하여 배터리를 충전하십시오.
권장 충전 온도 범위: 0° ~ 45°C
Important: 권장 범위 내의 온도에서만 배터리를 충전하십시오.
Note: 최소 또는 최대 온도를 초과하는 온도에서는 충전기가 작동하지 않습니다.
충전을 위해 지정된 장소에 장비를 주차하십시오.
주차 브레이크를 체결하고 기능 제어 스위치를 NEUTRAL(중립) 위치로 옮깁니다.
커팅 유닛을 해제하고 지면으로 낮춥니다.
장비를 끄고 키를 뺍니다.
주전원 커넥터를 분리하여 장비에서 전원을 차단합니다. 주전원 커넥터을 참조하십시오.
커넥터에 먼지와 부스러기가 없도록 하십시오.
커넥터 커버를 들어 올린 다음 장비의 충전기 커넥터에 충전기 출력 커넥터를 밀어 넣습니다(그림 41).
Note: 장비 커넥터는 장비에 장착된 주전원 커넥터 밑에 위치합니다.

충전기 전선을 전원에 연결합니다. 전원에 연결을 참조하십시오.
충전기를 관찰하여 배터리가 충전되고 있는지 확인합니다.
Note: 주전원 커넥터를 연결하여 InfoCenter에서 현재 배터리 충전 비율과 암페어를 볼 수 있습니다. 충전 프로세스 및 문제 해결 모니터링을 참조하십시오.장비를 충전하는 동안 충전기가 녹색으로 켜집니다.
장비가 충분한 수준에 도달하면 충전기를 분리합니다. 충전 프로세스 완료을 참조하십시오.
InfoCenter는 배터리 충전 비율과 암페어를 표시합니다.
낮은 전압을 가진 배터리가 먼저 충전되고, 다른 배터리 전압 수준에 도달하면 모든 배터리가 동시에 충전됩니다.
충전이 완료되면 장비의 InfoCenter에 10개의 막대가 표시됩니다.

오류가 발생하면 오류 메시지가 InfoCenter에 표시됩니다.
오류를 교정하려면 장비의 정비 설명서를 참조하십시오. 이러한 솔루션으로도 문제를 교정하지 못하는 경우 Toro 공식 판매대리점으로 문의하십시오.
충전이 완료되면 배터리 충전 표시등이 녹색으로 켜지고 충전 출력 표시등이 사라집니다.
장비 커넥터에서 충전기 커넥터를 분리합니다.
손상을 피하기 위해 충전기 커넥터와 전선을 보관 위치에 두십시오.
주전원 커넥터가 깨끗한지 확인합니다.
주전원 커넥터를 연결합니다. 주전원 커넥터를 참조하십시오.
장비를 켭니다. 장비 켜기을 참조하십시오.
충전 레벨을 점검합니다. InfoCenter 디스플레이 사용을 참조하십시오.
원래 장비, 부품, 및/또는 액세서리를 개조하면 장비의 보증, 제어력, 안전 수준이 변경될 수 있습니다. 원래 장비를 무단으로 개조하거나 Toro의 정품 부품을 사용하지 않으면 심각한 부상을 당하거나 사망 사고가 발생할 수 있습니다.
장비, 부품, 및/또는 액세서리를 무단으로 개조하지 마십시오.
Toro 순정 부품만 사용하십시오.
운전석을 떠나기 전에 다음을 이행하십시오:
장비를 평지에 주차합니다.
기능 제어 스위치를 NEUTRAL(중립) 위치로 옮깁니다.
커팅 유닛을 해제하고 지면으로 낮춥니다.
주차 브레이크를 체결합니다.
장비를 끄고 키를 뺍니다.
모든 움직임이 멈출 때까지 기다립니다.
장비를 관리하기 전에 장비 구성 부품을 식히십시오.
적격한 수리 기사만이 장비를 정비해야 합니다.
유지보수 작업을 수행하기 전에 주전원 커넥터를 분리합니다.
가능하다면, 장비 작동 중에는 장비를 정비하지 마십시오. 움직이는 부품에서 떨어지십시오.
기기 아래에서 작업할 때마다 잭 스탠드로 장비를 받치십시오.
에너지가 축적된 부품의 압력은 조심스럽게 빼십시오.
장비의 모든 부품을 양호한 작동 상태로 관리하고 모든 하드웨어를 조여진 상태로 관리하십시오.
닳거나 손상된 데칼은 모두 교체하십시오.
장비가 안전하게 최적 성능으로 작동하게 하려면, 순정 Toro 교체 부품만 사용하십시오. 다른 제조사에서 만든 교체 부품은 위험할 수 있으며, 그렇게 사용하면 제품 보증이 무효가 될 수 있습니다.
| 유지보수 서비스 간격 | 유지보수 절차 |
|---|---|
| 처음 8시간 후 |
|
| 매번 사용하기 전 또는 매일 |
|
| 매 50시간 |
|
| 매 200시간 |
|
| 매 800시간 |
|
이 페이지를 복사하여 사용하십시오.
| 유지보수 점검 항목 | 주 시작 날짜: | ||||||
|---|---|---|---|---|---|---|---|
| 월 | 화 | 수 | 목 | 금 | 토 | 일 | |
| 안전 인터록 작동 점검. | |||||||
| 계기 작동 점검. | |||||||
| 브레이크 작동 상태 점검. | |||||||
| 타이어 공기압을 점검합니다. | |||||||
| 릴-베드나이프 접촉 상태를 점검합니다. | |||||||
| 커팅 높이 조정 점검. | |||||||
| 벗겨진 페인트 복원. | |||||||
| 장비 세척. | |||||||
| 주의할 부분 표기 | ||
| 검사자: | ||
| 항목 | 날짜 | 정보 |
장비를 수리하기 전에 주전원 커넥터를 분리합니다.
불똥이나 화염이 없으며 통풍이 잘 되는 개방된 곳에서 배터리를 충전하십시오. 충전기를 배터리에 연결하거나 연결 해제하기 전에 충전기 플러그를 뽑으십시오. 보호복을 입고 절연된 도구를 사용하십시오.
주전원 커넥터가 배터리의 전력을 장비에 공급하십시오. 커넥터를 분리하여 전원을 분리하고 커넥터를 끼워서 전원을 연결하십시오. 주전원 커넥터를 참조하십시오.
Note: 장비에는 5개의 리튬 이온 배터리가 장착되어 있습니다.
리튬 이온 배터리는 지역 및 연방 규정에 따라 폐기하거나 재활용해야 합니다. 배터리 정비가 필요한 경우에는 Toro 공식 판매대리점에 연락하여 도움을 받으십시오.
배터리에서 사용자가 정비할 수 있는 부품은 라벨 뿐입니다. 배터리의 기본함을 열려고 시도한 경우, 보증이 무효화됩니다. 배터리 문제가 있는 경우, Toro 공식 판매대리점에 연락하여 도움을 받으십시오.
Important: 일체의 전기 수리는 Toro 공식 딜러만이 수행해야 합니다.
손상이나 기후로부터 보호하는 것 이외에 충전기에는 최소한의 유지보수가 필요합니다.
사용 후 물에 약간 적신 헝겊으로 배터리 충전기 전선과 케이스를 청소하십시오.
Note: 단자에 있는 절연체 그리스를 청소하지 마십시오.
사용하지 않을 경우, 코드를 감아두십시오.
전선이 손상되지 않았는지 정기적으로 검사하고 필요 시 Toro가 승인한 부품으로 교체하십시오.
| 유지보수 서비스 간격 | 유지보수 절차 |
|---|---|
| 매번 사용하기 전 또는 매일 |
|
잔디 상태에 따라 모든 바퀴 3개의 타이어 공기압을 최소 0.83 bar에서 최대 1.10 bar 사이로 조정하십시오.
Important: 각 바퀴의 타이어 공기압을 동일하게 만드십시오. 각 바퀴의 타이어 공기압이 다르면 장비 성능에 영향을 미칠 수 있습니다.
| 유지보수 서비스 간격 | 유지보수 절차 |
|---|---|
| 처음 8시간 후 |
|
| 매 200시간 |
|
휠 너트의 토크를 적절히 유지하지 않으면 부상을 입을 수 있습니다.
지정된 간격으로 휠 너트를 규정 토크로 조이십시오.
휠 너트 토크 규격: 108~122 N∙m
힘이 고르게 분산되도록 휠 너트를 그림 55에 나온 패턴으로 조이십시오.

| 유지보수 서비스 간격 | 유지보수 절차 |
|---|---|
| 처음 8시간 후 |
|
| 매 800시간 |
|
오일 규격: SAE 80W90
기어박스 오일 용량: 약 384 ml
장비를 올립니다. 장비 들어 올리기을 참조하십시오.
Important: 기어박스에 정확한 양의 오일을 보충하기 위해 장비를 수평으로 유지해야 합니다.장비를 잭 스탠드 위에 평평하게 유지합니다.
다음 절차를 수행하여 좌측 및 우측 타이어를 분리합니다.
휠 러그 너트를 풀어서 분리합니다(그림 56).

좌우측 타이어를 분리합니다.
휠 모터 어셈블리 아래에 드레인 팬을 놓습니다(그림 57).

드레인 포트에서 플러그를 분리합니다(그림 57).
Note: 드레인 포트는 기어박스 바닥에 있습니다.
Note: 기어박스에서 오일을 완전히 배출합니다.
플러그를 청소합니다.
드레인 포트에 드레인 플러그를 설치합니다(그림 57).
기어박스 상단에서 벤트 호스 및 피팅을 분리합니다(그림 58).

주입 포트를 통해 기어박스에 지정 오일을 384 ml 주입합니다.
주입 포트에 벤트 호스와 피팅을 설치합니다(그림 58).
다음 단계를 거쳐 타이어를 장착합니다.
좌우측 타이어를 휠 허브로 밀어 넣습니다.
휠 러그 너트를 장착합니다(그림 56).
휠 너트의 토크 점검에 설명된 대로 휠 러그 너트를 규정 토크로 조이십시오.
주차 중에 브레이크가 장비를 고정하지 못하면 브레이크를 조정할 수 있습니다. 자세한 내용은 Toro 공식 판매 대리점에 문의하거나 정비 설명서를 참조하십시오.
마모되거나 손상된 블레이드나 베드 나이프는 깨질 수 있으며, 블레이드 조각이 운전자나 주변에 있는 사람에게로 날아가 중상 또는 사망을 유발할 수 있습니다.
주기적으로 블레이드 및 베드 나이프가 지나치게 마모되거나 손상되지 않았는지 점검하십시오.
블레이드를 점검할 때에는 주의하십시오. 정비할 때에는 장갑을 착용하고 주의를 기울여야 합니다. 블레이드 및 베드 나이프를 교체하거나 이면 연마하는 작업만 하십시오. 절대 블레이드를 펴거나 용접하지 마십시오.
커팅 유닛이 여러 개인 장비에서는 커팅 유닛을 회전할 때 주의하십시오. 그렇게 하면 다른 커팅 유닛의 릴도 회전하게 됩니다.
Note: 커팅 유닛이 장비에 연결되지 않은 경우, 서스펜션 암 전방에 있는 보관 장소에 커팅 유닛 릴 모터를 보관하여 손상을 방지하십시오.
Important: 릴 모터가 장비 프레임의 홀더 내에 있을 때에는 서스펜션을 이동 위치로 올리지 마십시오. 모터나 호스가 손상될 수 있습니다.
Important: 커팅 유닛을 기울여야 할 때마다 커팅 유닛 뒤쪽을 받쳐 베드바 조정 나사의 너트가 작업대 표면에 닿지 않게 하십시오(그림 59).

커팅 유닛을 장착하기 위해 서스펜션을 내려야 합니다. 다음 단계를 거쳐 서스펜션을 내립니다.
깨끗하고 평평한 곳에 장비를 주차합니다.
기능 제어 스위치를 NEUTRAL(중립) 위치로 놓습니다.
키를 스위치에 꽂고 ON(켜짐) 위치까지 돌립니다.
올림/내림 조이스틱을 사용하여 서스펜션을 내립니다.
주차 브레이크를 걸고 장비를 끈 다음 키를 뺍니다.
다음 단계를 거쳐 커팅 유닛을 장착합니다.
주전원 커넥터를 분리합니다. 주전원 커넥터를 참조하십시오.
장비에 연결된 전원을 차단하지 않으면 누군가가 실수로 커팅 유닛을 작동시켜 손이나 발을 심하게 다칠 수 있습니다.
항상 주전원 커넥터를 분리한 후에 커팅 유닛으로 작업을 하십시오.
발판을 들어 올리고 흔들어서 연 다음 커팅 유닛 위치에 접근하십시오(그림 60).
닫힘 위치로 떨어질 경우 발판에 손이 끼일 수 있습니다.
열려 있는 발판이 내려오는 구역에 손가락을 가까이하지 마십시오.

중앙 서스펜션 암 아래에 커팅 유닛을 놓습니다.
서스펜션 암 바의 래치를 열고(그림 61) 서스펜션 암을 아래로 밀어서 바가 커팅 유닛의 양쪽 피치 암과 일치하도록 하고 래치가 커팅 유닛 크로스바 아래로 향하도록 합니다(그림 62).


래치를 커팅 유닛 바 주변의 아래로 내려 닫고 고정합니다(그림 61).
Note: 래치가 적절하게 고정되었다면 딸깍하는 소리가 들립니다.
커팅 유닛 모터의 스플라인 샤프트에 깨끗한 그리스를 칠합니다(그림 63).
커팅 유닛 좌측으로 모터를 삽입하고(운적석 기준) 모터 양쪽에서 딸깍 소리가 날 때까지 모터 방향으로 커팅 유닛의 모터 고정 바를 당깁니다(그림 63).

서스펜션 암의 수거함 후크에 잔디 수거함을 장착합니다.
다른 커팅 유닛에 대해 이 절차를 반복합니다.
주전원 커넥터를 연결합니다. 주전원 커넥터를 참조하십시오.
장비를 깨끗하고 평평한 곳에 주차하고, 기능 제어 스위치를 NEUTRAL(중립) 위치에 놓은 다음 올림/내림 조이스틱을 사용하여 커팅 유닛을 내립니다.
주차 브레이크를 걸고 장비를 끈 다음 키를 뺍니다.
주전원 커넥터를 분리합니다. 주전원 커넥터를 참조하십시오.
장비에 연결된 전원을 차단하지 않으면 누군가가 실수로 커팅 유닛을 작동시켜 손이나 발을 심하게 다칠 수 있습니다.
항상 주전원 커넥터를 분리한 후에 커팅 유닛으로 작업을 하십시오.
모터 고정 바를 커팅 유닛 방향의 모터 슬롯 밖으로 밀어내고 모터를 커팅 유닛에서 분리합니다.

모터를 서스펜션 암의 전면에 있는 보관 위치로 이동합니다(그림 65).

Note: 연삭하거나 예고를 설정하거나 커팅 유닛에서 기타 유지관리 절차를 수행하는 경우, 서스펜션 암 전방에 있는 보관 장소에 커팅 유닛 릴 모터를 보관하여 손상을 방지하십시오.
Important: 릴 모터가 장비 프레임의 홀더 내에 있을 때에는 서스펜션을 이동 위치로 올리지 마십시오. 모터나 전선이 손상될 수 있습니다. 설치한 커팅 유닛을 제거하지 않고 트랙션 유닛을 이동해야 한다면 케이블 타이를 이용하여 서스펜션 암을 고정하십시오.
제거할 커팅 유닛의 서스펜션 암 바에 있는 래치를 엽니다(그림 61).
커팅 유닛 바에서 래치를 분리합니다.
커팅 유닛을 서스펜션 암 아래로 굴려 빼냅니다.
필요 시 다른 커팅 유닛에 대해 4~8 단계를 반복합니다.
주전원 커넥터를 연결합니다. 주전원 커넥터를 참조하십시오.
| 유지보수 서비스 간격 | 유지보수 절차 |
|---|---|
| 매번 사용하기 전 또는 매일 |
|
커팅 품질이 이전에 좋았더라도 매일 장비를 운전하기 전에 릴-베드나이프 접촉 상태를 점검하십시오. 릴과 베드나이프가 전체 길이에 걸쳐 살짝 닿아야 합니다. 커팅 유닛 사용 설명서를 참조하십시오.
릴을 점검하기 전에 주전원 커넥터를 분리합니다. 주전원 커넥터를 참조하십시오. 점검을 완료한 다음 연결합니다.
베드나이프, 릴 블레이드나 움직이는 다른 부품에 닿으면 부상을 입을 수 있습니다.
손가락, 손 및 옷이 베드나이프, 릴 블레이드나 움직이는 부품에 닿지 않게 하십시오.
장비 작동 중에 절대로 릴을 손이나 발로 돌리려 하지 마십시오.
평평한 곳에 장비를 주차시켜 커팅 유닛을 내리고 기능 제어 스위치를 NEUTRAL(중립) 위치로 옮기고, 주차 브레이크를 걸고 장비를 멈춘 후 키를 뺍니다.
최초의 릴-베드나이프 조정은 백래핑해야 할 모든 커팅 유닛에서 백래핑을 하기에 적절해야 합니다. 커팅 유닛 사용 설명서를 참조하십시오.
키를 스위치에 꽂고 장비를 켭니다.
InfoCenter 제어 장치의 SERVICE(정비) 메뉴에서 BACKLAP(백랩)을 선택합니다.
BACKLAP(백랩)을 ON(켜짐)으로 설정합니다.
Main Menu(기본 메뉴)로 들어간 다음, Settings(설정)가 나올 때까지 아래로 스크롤합니다.
SETTINGS(설정) 메뉴에서 아래로 스크롤하여 BACKLAP RPM(백랩 RPM)으로 이동한 다음 ± 버튼을 사용하여 원하는 백랩 속도를 선택합니다.
기능 제어 스위치를 NEUTRAL(중립) 위치에 놓고, 올림/내림 조이스틱을 앞으로 움직여 지정된 릴에서 백래핑 동작을 시작합니다.
손잡이가 긴 솔로 래핑 컴파운드를 칠합니다. 손잡이가 짧은 솔은 사용하지 마십시오.
백래핑 중에 릴이 멈추거나 속도가 일정하지 않으면 속도가 안정화될 때까지 릴 고속 설정을 선택합니다.
백래핑 도중에 커팅 유닛을 조정하려면 올림/내림 조이스틱 뒤로 움직여 릴을 끈 다음 장비를 끕니다. 조정을 마친 후 3~9 단계를 반복합니다.
백래핑하려는 모든 커팅 유닛에 대해 이 절차를 반복합니다.
작업을 마치면, InfoCenter BACKLAP(백랩) 설정을 OFF(꺼짐)로 돌리거나, 키를 OFF(꺼짐) 위치로 돌려 장비로 계속 예초 작업을 합니다.
커팅 유닛에 묻은 모든 래핑 컴파운드를 닦아 냅니다. 필요에 따라 커팅 유닛의 릴-베드나이프 간격을 조정합니다. 커팅 유닛 릴 속도 제어 장치를 원하는 예초 위치로 옮깁니다.
Important: 커팅 유닛을 세척할 때 고압수를 사용하지 마십시오. 베어링과 씰이 손상될 수 있습니다.
장기간 장비를 보관하려는 경우 장비 보관 준비의 단계를 수행해야 합니다.
커팅 유닛을 내리고, 주차 브레이크를 걸고, 장비를 끄고 키를 뺀 다음 모든 움직임이 멈출 때까지 기다려 운전석에서 내리십시오. 장비가 식은 후에 장비를 조정, 정비, 청소 또는 보관하십시오.
온수기나 기타 기구 등 노출된 화염, 불꽃, 불이 붙을 수 있는 불씨 등이 있는 곳에는 장비를 보관하지 마십시오.
아이들의 손이 닿지 않으며 직사광선을 피할 수 있는 건조한 실내에 장비를 보관하십시오.
항상 장비를 끄고, 키를 빼고, 움직이는 모든 부품이 멈출 때까지 기다려서 장비가 식은 후에 장비를 조정, 청소, 보관 또는 수리하십시오.
쌓인 이물질 및 오래된 잔디 예지물을 제거합니다. 필요한 경우 릴과 베드나이프를 날카롭게 만듭니다. 커팅 유닛 사용 설명서를 참조하십시오. 계량봉 및 릴 블레이드를 방청제로 코팅합니다.
장비를 들어 올려 지지하여 타이어에 중량이 작용하지 않게 합니다.
장기 보관을 위해 배터리 보관 요건을 준수하십시오. 배터리 보관 요건을 참조하십시오.
Note: 보관을 위해 장비에서 배터리를 분리할 필요가 없습니다.
다음 표에서 보관 온도 한계를 참조하십시오.
| 보관 온도 | 적절한 보관 시간 |
| 45° ~ 55°C | 1주 |
| 25° ~ 45°C | 3주 |
| -20° ~ 25°C | 52주 |
Important: 이 범위 밖의 온도는 배터리를 손상시킵니다.배터리가 보관되는 온도는 장기적인 수명에 영향을 미칩니다. 극단적인 온도에서 오랫동안 보관하면 배터리 수명이 줄어듭니다. 25°C 이상 온도에서 표에 명시된 적절한 시간 동안만 장비를 보관하십시오.
장비를 보관하기 전에 배터리를 40%~60% 사이로 충전하거나 방전하십시오.
Note: 최적의 배터리 수명을 보장하려면 50% 충전이 가장 좋습니다. 보관 전에 배터리가 100%로 충전되면 배터리 수명이 짧아집니다.장비를 장시간 보관할 것으로 예상되면 배터리를 약 60% 정도 충전하십시오.
보관 중 6개월마다 배터리 충전 수준을 점검하고 40%~60% 사이인지 확인하십시오. 충전 수준이 40% 미만인 경우, 배터리를 40%~60% 사이로 충전하십시오.
장비가 꺼졌을 때 멀티미터로 충전 수준을 확인할 수 있습니다. 다음 표에서 충전 수준과 동일한 전압을 참조하십시오.
| 전압 | 충전 수준 |
| 57.3V | 60% |
| 55.4V | 50% |
| 54.3V | 40% |
배터리를 충전한 후 전원에서 배터리 충전기를 분리합니다. 배터리 방전을 최소화하기 위해 보관 중 전원 커넥터를 분리하십시오.
장비에 충전기에 놓아두면 배터리가 완전히 충전된 후 꺼지고 충전기를 분리하고 재연결할 때까지 다시 켜지지 않습니다.
장비의 전원을 분리합니다. 장비 전원의 분리 또는 연결을(를) 참조하십시오.
충전기에서 전원 코드를 분리한 다음 단단히 감아둡니다.
마모되거나 손상되지 않았는지 전원 코드를 철저히 검사합니다. 마모되거나 손상된 경우 교체하십시오.
마모, 느슨한 부위 또는 손상된 부품이 있는지 충전기를 철저히 검사합니다. 부품을 수리하거나 교체하려면 Toro 공식 판매대리점에 연락하여 도움을 받으십시오.
부딪히거나 손상되지 않으며 부식성 연기에 노출되지 않는 청결하고 건조한 장소에 전원 코드와 충전기를 보관하십시오.