| Cadenza di manutenzione | Procedura di manutenzione |
|---|---|
| Prima di ogni utilizzo o quotidianamente |
|
Questo è un tosaerba dotato di postazione per l'operatore e lame rotanti, pensato per essere utilizzato da professionisti e operatori del verde in applicazioni commerciali. Il suo scopo principale è quello di tagliare l'erba di parchi, campi sportivi e aree verdi commerciali. L'utilizzo di questo prodotto per scopi non conformi alle funzioni per cui è stato concepito può essere pericoloso per voi e gli astanti.
Leggete attentamente il presente manuale al fine di utilizzare e mantenere correttamente il prodotto ed evitare infortuni e danni. Siete responsabili dell'utilizzo del prodotto in maniera corretta e sicura.
Visitate il sito www.Toro.com per ricevere materiali di formazione sulla sicurezza e il funzionamento dei prodotti, avere informazioni sugli accessori, ottenere assistenza nella ricerca di un rivenditore o registrare il vostro prodotto.
Per assistenza, ricambi originali Toro o ulteriori informazioni, rivolgetevi a un Distributore Toro autorizzato o ad un Centro Assistenza Toro ed abbiate sempre a portata di mano il numero del modello ed il numero di serie del prodotto. La Figura 1 indica la posizione del numero del modello e del numero di serie sul prodotto. Scrivete i numeri negli spazi previsti.
Important: Con il vostro dispositivo mobile, potete scansionare il codice QR sull'adesivo del numero di serie (se presente) per accedere a informazioni su garanzia, ricambi e altre informazioni sui prodotti.

Il simbolo di avviso di sicurezza (Figura 2) che compare sia in questo manuale sia sulla macchina richiama la vostra attenzione su importanti messaggi di sicurezza di cui dovrete seguire le indicazioni per evitare incidenti.

Il simbolo di avvertimento compare sopra l'informazione che vi avverte di azioni o situazioni non sicure ed è seguito dalla parola PERICOLO, AVVERTENZA o ATTENZIONE.
PERICOLO indica una situazione di pericolo imminente che, se non evitata, determina la morte o gravi infortuni.
AVVERTENZA indica una situazione di pericolo potenziale che, se non evitata, potrebbe determinare la morte o gravi infortuni.
ATTENZIONE indica una situazione di pericolo potenziale che, se non evitata, potrebbe determinare la morte o lievi infortuni.
Per evidenziare le informazioni vengono utilizzate anche altre due parole. Importante: indica informazioni meccaniche di particolare importanza; Nota evidenzia informazioni generali di particolare rilevanza.
Questo prodotto è conforme a tutte le direttive europee pertinenti. Per informazioni dettagliate, consultate la Dichiarazione di Conformità (DICO) specifica del prodotto, fornita a parte.
Costituisce una trasgressione al Codice delle Risorse Pubbliche della California, Sezione 4442 o 4443, utilizzare o azionare questo motore su terreno forestale, sottobosco o prateria a meno che non sia dotato di parascintille, come definito nella Sezione 4442, mantenuto in efficace stato di funzionamento, o a meno che il motore sia realizzato, attrezzato o mantenuto per la prevenzione di incendi.
Il manuale d'uso del motore allegato fornisce informazioni sull'Environmental Protection Agency (EPA) degli Stati Uniti e sul regolamento del Controllo delle Emissioni dello stato della California riguardante sistemi di emissione, manutenzione e garanzia. I ricambi possono essere ordinati tramite il produttore del motore.
Se questa macchina è dotata di un dispositivo telematico, fate riferimento al vostro distributore Toro autorizzato per le istruzioni di attivazione del dispositivo.
|
Certificazione di compatibilità elettromagnetica |
|
Uso domestico: questo dispositivo è conforme alle norme FCC, parte 15. Il funzionamento è soggetto alle seguenti due condizioni: (1) il presente dispositivo non deve causare interferenze dannose e (2) il presente dispositivo deve accettare qualsiasi interferenza ricevuta, incluse le interferenze che potrebbero comprometterne il funzionamento. |
|
ID FCC: APV-3640LB IC: 5843C-3640LB |
|
Questa apparecchiatura è stata testata ed è risultata conforme ai limiti previsti per un dispositivo digitale di Classe B, ai sensi della parte 15 delle norme FCC. Tali limiti sono volti a fornire una protezione ragionevole da interferenze dannose in un'installazione residenziale. Questa apparecchiatura genera, utilizza e può emettere energia da radiofrequenza e, se non installata e utilizzata in modo conforme alle istruzioni, può causare interferenze dannose alle comunicazioni radio. Tuttavia, non è garantito che le interferenze non si verifichino in presenza di un'installazione specifica. Nel caso in cui l'apparecchiatura causi interferenze dannose alla ricezione radiofonica o televisiva, che possono essere determinate spegnendo e accendendo l'apparecchiatura, si consiglia all'utente di tentare di correggere le interferenze tramite una o più delle seguenti misure:
|
|
Argentina |
![]() |
|
Australia |
![]() |
|
Marocco |
|
|---|---|
|
AGREE PAR L’ANRT MAROC |
|
|
Numero d’agrement: |
MR00004789ANRT20024 |
|
Delivre d’agrement: |
04/11/2024 |
|
Nuova Zelanda |
|
|
|
Corea del Sud |
![]() |
CALIFORNIA
Avvertenza norma "Proposition 65"
I gas di scarico dei motori Diesel e alcuni dei loro elementi costitutivi sono noti allo Stato della California come cancerogeni e responsabili di difetti congeniti ed altri problemi riproduttivi.
I poli delle batterie, i morsetti e gli accessori attinenti contengono piombo e relativi composti, sostanze chimiche che nello Stato della California sono considerate cancerogene e causa di anomalie della riproduzione. Lavate le mani dopo aver maneggiato la batteria.
L'utilizzo del presente prodotto potrebbe esporre a sostanze chimiche che nello Stato della California sono considerate cancerogene e causa di anomalie congenite o di altre problematiche della riproduzione.
Questo prodotto è in grado di amputare mani e piedi, e di scagliare oggetti. Rispettate sempre tutte le norme di sicurezza per evitare gravi lesioni personali.
Leggete attentamente il contenuto di questo Manuale dell'operatore prima di avviare il motore.
Prestate la massima attenzione mentre utilizzate la macchina. Per evitare il rischio di lesioni personali o danni materiali, non impegnatevi in attività che possano causare distrazioni.
Non utilizzate la macchina senza che tutti gli schermi e gli altri dispositivi di protezione siano montati e funzionanti.
Tenete mani e piedi a distanza dalle parti rotanti. Restate lontani dall'apertura di scarico.
Tenete lontani le persone presenti e i bambini dall'area di lavoro. Non consentite mai che l'uso della macchina a ragazzi e bambini.
Spegnete il motore, togliete la chiave e attendete che tutte le parti in movimento si arrestino prima di abbandonare la posizione dell'operatore. Lasciate raffreddare la macchina prima di eseguire interventi di regolazione, manutenzione, pulizia o prima del rimessaggio.
L'errato utilizzo o l'errata manutenzione di questa
macchina può causare infortuni. Per ridurre il rischio di incidenti,
rispettate le seguenti norme di sicurezza e fate sempre attenzione
al simbolo di avviso di sicurezza
che riporta l'indicazione di Attenzione,
Avvertenza o Pericolo – istruzioni per la sicurezza personale.
Il mancato rispetto di queste istruzioni può provocare lesioni
personali anche fatali.
![]() |
Gli adesivi di sicurezza e quelli con le istruzioni sono chiaramente visibili e sono affissi accanto a zone particolarmente pericolose. Sostituite gli adesivi danneggiati o smarriti. |





















Apposto su n. cat. 112-5297 per la CE* per le macchine serie 4500 (Modello n. 30885)

Apposto su n. cat. 112-5297 per la CE per le macchine serie 4700(Modello n. 30887)

Note: Stabilite i lati sinistro e destro della macchina rispetto alla normale posizione di guida.
Parti necessarie per questa operazione:
| Adesivo di avvertenza | 1 |
| Adesivo CE | 1 |
| Adesivo dell'anno di produzione | 1 |
Sulle macchine che richiedono la conformità CE, sostituite l'adesivo di avvertenza (127-6647 [per il modello 30885] o 127-6648 [per il modello 30887]), l'adesivo CE e quello dell'anno di produzione (Figura 3).

Parti necessarie per questa operazione:
| Staffa del fermo del cofano | 1 |
| Rivetto | 2 |
| Rondella | 1 |
| Vite (¼" x 2") | 1 |
| Dado di bloccaggio (¼") | 1 |
Sganciate il fermo del cofano dalla staffa.
Rimuovete i 2 rivetti che fissano la staffa del fermo del cofano al cofano (Figura 4).

Rimuovete la staffa del fermo del cofano dal cofano.
Mentre allineate i fori di montaggio, posizionate la staffa di bloccaggio CE e la staffa del fermo del cofano sul cofano (Figura 5).
Note: La staffa di bloccaggio deve essere contro il cofano. Non togliete il bullone e il dado dal braccio della staffa di bloccaggio.

Allineare le rondelle con i fori all'interno del cofano.
Rivettate le staffe e le rondelle al cofano (Figura 5).
Agganciate il fermo sulla relativa staffa (Figura 6).

Montate il bullone nell'altro braccio della staffa del fermo del cofano per bloccare il fermo in posizione (Figura 7). Serrate il bullone ma non serrate il dado.

Il raschiarulli posteriore opzionale funziona meglio quando tra di esso e il rullo vi è una distanza, costante da lato a lato, compresa tra 0,5 e 1 mm.
Allentate il raccordo d'ingrassaggio e la vite di montaggio (Figura 8).

Fate oscillare il raschiarulli su o giù fino a ottenere una distanza compresa tra 0,5 e 1 mm tra la barra e il rullo.
Serrate il raccordo d'ingrassaggio e la vite a 41 N∙m, agendo alternativamente sull'uno e sull'altra.
Contattate il vostro distributore Toro autorizzato per il deflettore per mulching corretto.
Eliminate completamente i detriti dai fori di montaggio sulle pareti posteriore e sinistra dell’alloggiamento.
Montate il deflettore per mulching nell'apertura posteriore e fissatelo con 5 bulloni a testa flangiata (Figura 9).

Verificate che il deflettore per mulching non interferisca con la punta della lama e non penetri nella parete posteriore dell’alloggiamento.
L'utilizzo di una lama per alto sollevamento con il deflettore per mulching può causare la rottura della lama e provocare infortuni o la morte.
Non usate la lama ad alto sollevamento insieme al deflettore.
Parcheggiate la macchina su un terreno pianeggiante.
Per le macchine Groundsmaster 4500 e 4700, rilasciate i cavi degli apparati di taglio n. 4 e 5 (Figura 39).
Per le macchine Groundsmaster 4700, rilasciate i fermi degli apparati di taglio n. 6 e 7 (Figura 42).
Abbassate gli apparati di taglio.
Inserite il freno di stazionamento.
Spegnete il motore e togliete la chiave.
Controllate la pressione degli pneumatici prima dell'uso; vedere Controllo della pressione degli pneumatici.
Important: Per garantire un’ottima qualità di taglio e le prestazioni previste per questa macchina, mantenete la pressione in tutti gli pneumatici. Non usate una insufficiente pressione di gonfiaggio degli pneumatici.
Prima di avviare il motore per la prima volta, controllate il livello del lubrificante dell’assale posteriore; fate riferimento a Controllo del lubrificante dell'assale posteriore.
Controllate il livello dell'olio motore prima dell'avviamento del motore; vedere Controllo del livello dell'olio motore.
Controllate il livello del fluido idraulico prima dell'avviamento del motore; vedere Controllo del livello del fluido idraulico.
Controllate l'impianto di raffreddamento prima di avviare il motore; vedere Verifica dell'impianto di raffreddamento.
Ingrassate la macchina prima dell'uso; vedere Ingrassaggio di cuscinetti e boccole.
Important: In caso di mancato corretto ingrassaggio della macchina, si verificherà l'avaria prematura di componenti importanti.

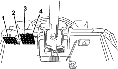
Il pedale di comando della trazione (Figura 10) controlla il funzionamento in marcia avanti e retromarcia. Premete la parte superiore del pedale per fare marcia avanti, e la parte inferiore per la retromarcia. Quando gli apparati di taglio sono completamente sollevati, il pedale controlla il motore e la velocità di trazione come un'auto.
Note: In situazioni di frenata di emergenza, togliete il piede dal pedale della trazione, quindi premete i pedali del freno. Questo è il modo più rapido per arrestare la macchina.
Due pedali dei freni azionano i singoli freni delle ruote per agevolare la guida in curva, il parcheggio e ottenere una migliore trazione su pendii. Un perno di bloccaggio consente di collegare i pedali per l'azionamento del freno di stazionamento e il trasferimento (Figura 10).
Il perno di bloccaggio dei pedali collega i pedali per l'inserimento del freno di stazionamento (Figura 10).
Per inclinare il volante verso di voi premete il pedale, tirate il volante verso di voi nella posizione più comoda e rilasciate il pedale (Figura 10). Per allontanare da voi il volante premete il pedale e rilasciatelo quando il volante raggiunge la posizione di guida desiderata.
Per innestare il freno di stazionamento (Figura 10) connettete insieme i pedali tramite il fermo di bloccaggio pedali e premete a fondo il pedale del freno di destra mentre innestate la punta del pedale. Per rilasciare il freno di stazionamento, premete uno dei pedali del freno finché il fermo non si ritira.
L'interruttore di accensione (Figura 11) ha 3 posizioni: SPEGNIMENTO, ACCENSIONE/PRERISCALDAMENTO e AVVIAMENTO.

L'interruttore PDF ha 2 posizioni: FUORI (INNESTATA) e DENTRO (DISINNESTATA). Estraete il pulsante PDF per innestare le lame dell'apparato di taglio. Spingete in dentro il pulsante per disinnestare le lame dell'apparato di taglio (Figura 11).
Questo interruttore (Figura 11) controlla i 2 intervalli di velocità della macchina: massima e minima.
Selezionate la posizione H/L AUTO per consentire alla macchina di selezionare automaticamente la velocità massima o minima.
Selezionate la posizione MINIMA per impostare manualmente solo la velocità minima.
È possibile cambiare la posizione dell'interruttore in qualsiasi momento, ma la macchina commuterà tra intervalli di velocità solo quando il pedale di trazione è in folle e la macchina è ferma.
Note: Per passare alla velocità massima nella posizione H/L AUTO, disinnestate la PDF e sollevate completamente gli apparati di taglio.
Note: Se l'interruttore è in posizione H/L AUTO, non è possibile abbassare i piatti di taglio dalla posizione completamente sollevata, a meno che il pedale della trazione non sia in folle e la macchina non sia ferma.
Il comando elettronico della velocità blocca il controllo della velocità per mantenere la velocità di trasferimento desiderata (Figura 12). La parte posteriore del comando disattiva il comando elettronico della velocità, la parte intermedia ne abilita il funzionamento e quella anteriore imposta la velocità di trasferimento desiderata.
Una volta inserito il comando elettronico della velocità, potete modificare la velocità utilizzando l’InfoCenter (Figura 34).

I comandi di sollevamento sollevano e abbassano gli apparati di taglio (Figura 11). Premete i comandi in avanti per abbassare gli apparati di taglio e indietro per sollevarli. All'avviamento della macchina con gli apparati di taglio abbassati, premete il comando di sollevamento verso il basso per far in modo che gli apparati di taglio fluttuino e taglino.
Note: Gli apparati di taglio non si abbassano nell'intervallo di velocità massima e non si sollevano né abbassano se non vi trovate sul sedile. Quindi gli apparati di taglio si abbasseranno con la chiave in posizione di ACCENSIONE e voi dovete trovarvi alla guida.
Premete l'interruttore delle luci verso l'alto per attivare i fari in posizione di ACCENSIONE (Figura 11).
Premete l'interruttore delle luci verso il basso per disattivare i fari in posizione di SPEGNIMENTO.
Utilizzate la presa elettrica (Figura 13) per alimentare accessori elettrici optional a 12 V.

Utilizzate il supporto del cesto per il rimessaggio (Figura 13).
Spostate la leva di regolazione del sedile sul lato del sedile verso l'esterno, fate scorrere il sedile alla posizione desiderata e rilasciate la leva per bloccare il sedile in posizione (Figura 14).

Ruotate la manopola per regolare l'inclinazione del bracciolo (Figura 14).
Spostate la leva per regolare l'inclinazione dello schienale (Figura 14).
L’indicatore del peso indica quando il sedile è regolato secondo il peso dell'operatore (Figura 14). Regolate l'altezza posizionando la sospensione all'interno dei parametri della zona verde.
Usate questa leva per regolare il sedile in base al vostro peso (Figura 14). Tirate la leva verso l’alto per aumentare la pressione dell'aria e spingete la leva verso il basso per diminuire la pressione dell'aria. La regolazione corretta si ottiene quando l'indicatore del peso è nella zona verde.
Il display LCD InfoCenter (Figura 11) mostra i dati relativi alla macchina, come lo stato operativo, le varie diagnostiche e altre informazioni sulla macchina stessa.
Le schermate che vengono visualizzate dipendono dai pulsanti selezionati. Lo scopo di ogni pulsante può variare a seconda della necessità del momento.

| Descrizione | 4500-D | Figura 15 riferimento | 4700-D | Figura 15 riferimento | |
|---|---|---|---|---|---|
| Larghezza di taglio | 280 cm | D | 380 cm | F | |
| Larghezza totale | |||||
| Apparati di taglio abbassati | 286 cm | E | 391 cm | G | |
| Apparati di taglio sollevati (trasferimento) | 224 cm | A | 224 cm | A | |
| Carreggiata | |||||
| Anteriore | 224 cm | B | 224 cm | B | |
| Posteriore | 141 cm | M | 141 cm | M | |
| Altezza con rollbar di protezione | |||||
| Alzato | 226 cm | C | 226 cm | C | |
| Abbassato | 165 cm | 165 cm | |||
| Lunghezza totale | |||||
| Apparati di taglio abbassati | 370 cm | H | 370 cm | H | |
| Apparati di taglio sollevati (trasferimento) | 370 cm | L | 370 cm | L | |
| Distanza da terra | 15 cm | 15 cm | |||
| Interasse | 171 cm | K | 171 cm | K | |
| Peso netto | 1937 kg | 2277 kg | |||
| (con apparati di taglio, senza carburante) | |||||
Note: Specifiche e disegno sono soggetti a variazione senza preavviso.
| Lunghezza | 86,4 cm |
| Larghezza | 86,4 cm |
| Altezza | 24,4 cm dal suolo alla struttura portante |
| 26,7 cm a un'altezza di taglio di 1,9 cm | |
| 34,9 cm a un'altezza di taglio di 10 cm | |
| Peso | 88 kg |
Per ottimizzare e ampliare le applicazioni della macchina, è disponibile una gamma di attrezzi e accessori approvati da Toro per l'uso con la macchina. Richiedete l'elenco degli attrezzi e accessori approvati a un Centro Assistenza Toro o a un Distributore autorizzato, oppure visitate www.Toro.com
Adoperate solo ricambi e accessori originali Toro. Ricambi e accessori di altri produttori potrebbero risultare pericolosi e il loro impiego potrebbe far decadere la garanzia del prodotto.
Note: Stabilite i lati sinistro e destro della macchina rispetto alla normale posizione di guida.
Non consentite l'uso e la manutenzione della macchina a ragazzi, bambini o adulti senza adeguata formazione. Le normative locali possono imporre limiti all'età dell'operatore. Il proprietario è responsabile della formazione di tutti gli operatori e i meccanici.
Familiarizzate con il funzionamento sicuro dell'apparecchiatura, dei comandi dell'operatore e degli adesivi di sicurezza.
Spegnete il motore, togliete la chiave e attendete che tutte le parti in movimento si arrestino prima di abbandonare la posizione dell'operatore. Lasciate raffreddare la macchina prima di eseguire interventi di regolazione, manutenzione, pulizia o prima del rimessaggio.
Imparate come arrestare la macchina e spegnere rapidamente il motore.
Verificate che i comandi di presenza dell'operatore, gli interruttori di sicurezza e le protezioni siano fissati e correttamente funzionanti. Se non funzionano correttamente, non azionate la macchina.
Prima della tosatura, ispezionate sempre la macchina per accertarvi che le lame, i bulloni delle lame e i gruppi di taglio siano in condizioni di funzionamento ottimali. Sostituite in serie lame e bulloni usurati o danneggiati per mantenere il bilanciamento.
Ispezionate l'area dove utilizzerete la macchina e rimuovete tutti gli oggetti che potrebbero essere scagliati via dalla macchina.
Questo prodotto genera un campo elettromagnetico. Se indossate un dispositivo medico elettronico impiantabile, consultate il vostro medico prima di utilizzare il prodotto.
Prestate estrema cautela quando maneggiate il carburante. È infiammabile e produce vapori esplosivi.
Spegnete sigarette, sigari, pipe e altre fonti di ignizione.
Utilizzate soltanto taniche per carburanti approvate.
Non rimuovete il tappo del carburante e non rabboccate il serbatoio del carburante mentre il motore è in funzione o è caldo.
Non rabboccate e non spurgate il carburante in uno spazio chiuso.
Non rimessate la macchina o la tanica del carburante in luoghi in cui siano presenti fiamme aperte, scintille o spie, come uno scaldabagno o altri apparecchi.
Se del carburante dovesse fuoriuscire, non tentate di avviare il motore, evitate di creare fonti di ignizione fino a quando i vapori di carburante non saranno evaporati.
Prima di avviare il motore e di utilizzare la macchina, controllate il livello dell'olio nella coppa; vedere Controllo del livello dell'olio motore.
Prima di avviare il motore e di utilizzare la macchina, controllate l'impianto di raffreddamento; vedere Verifica dell'impianto di raffreddamento.
Prima di avviare il motore e di utilizzare la macchina, controllate l'impianto idraulico; vedere Controllo del livello del fluido idraulico.
Spurgate l'acqua e altre sostanze contaminanti dal separatore di condensa; fate riferimento a Spurgo della condensa dal separatore di condensa/carburante.
Controllate l'assale posteriore e la relativa scatola ingranaggi per escludere la presenza di perdite; fate riferimento a Controllo dell'assale posteriore e della scatola ingranaggi per escludere la presenza di perdite.
Capacità del serbatoio del carburante: 83 litri
Important: Utilizzate solamente gasolio con un contenuto di zolfo molto bassa. Il carburante con valori superiori di zolfo degrada il catalizzatore dell'ossidazione del diesel (DOC), causando problemi operativi e abbreviando la durata operativa dei componenti del motore.La mancata osservanza delle seguenti precauzioni può danneggiare il motore.
Non utilizzate mai cherosene o benzina al posto di carburante diesel.
Non miscelate mai cherosene o olio motore già usato con il gasolio.
Non conservate mail il carburante in contenitori con rivestimento interno in zinco.
Non utilizzate additivi per il carburante.
Valore nominale di cetano: 45 o superiore
Contenuto di zolfo: zolfo ultra basso (<15 ppm)
| Specifiche del carburante diesel | Posizione |
| ASTM D975 | USA |
| N. 1-D S15 | |
| N. 2-D S15 | |
| EN 590 | Unione europea |
| ISO 8217 DMX | Internazionale |
| JIS K2204 grado n. 2 | Giappone |
| KSM-2610 | Corea |
Utilizzate solo carburante diesel o carburanti biodiesel freschi e puliti.
Acquistate il carburante in quantità tali che ne consentano il consumo entro 180 giorni in modo da garantirne la freschezza.
Utilizzate gasolio per uso estivo (n. 2-D) a temperature superiori a -7 °C e gasolio per uso invernale (n. 1-D o miscela n. 1-D/2-D) a temperature inferiori a -7 °C.
Note: L'uso di carburante per uso invernale a basse temperature assicura un punto di infiammabilità inferiore e caratteristiche di flusso a freddo che agevolano l'avvio e riducono la chiusura del filtro del carburante.L'uso del carburante per uso estivo a temperature superiori a -7 °C contribuisce a una più lunga durata della pompa del carburante e a una maggiore potenza rispetto al carburante per uso invernale.
Questa macchina può anche funzionare con una miscela di biodiesel fino a B20 (20% biodiesel, 80% gasolio).
Contenuto di zolfo: zolfo ultra basso (<15 ppm)
Specifiche del carburante biodiesel: ASTM D6751 o EN 14214
Specifiche della miscela di carburante: ASTM D975, EN 590 o JIS K2204
Important: La porzione di diesel deve avere un contenuto ultra basso di zolfo.
Prendete le seguenti precauzioni:
Le miscele di biodiesel possono danneggiare le superfici verniciate.
In caso di condizioni atmosferiche fredde utilizzate miscele B5 (contenuto di biodiesel pari al 5%) o inferiori.
Monitorate le guarnizioni di tenuta, i flessibili e le guarnizioni a contatto con il carburante, poiché con il tempo potrebbero degradarsi.
Dopo la conversione a miscele di biodiesel, per un certo periodo il filtro del carburante potrebbe risultare intasato.
Per maggiori informazioni sul biodiesel contattate il vostro distributore Toro autorizzato.


Rabboccate il serbatoio fino a circa 6-13 cm sotto la parte superiore del serbatoio, non nel collo del bocchettone, con gasolio numero 2-D.
Note: Se possibile, rabboccate sempre i serbatoi del carburante dopo l'uso; in tal modo ridurrete al minimo l'accumulo di condensa all'interno del serbatoio.
| Cadenza di manutenzione | Procedura di manutenzione |
|---|---|
| Prima di ogni utilizzo o quotidianamente |
|
La pressione giusta dell'aria negli pneumatici è di 1,38 bar.
Important: Per garantire un'ottima qualità di taglio e le prestazioni previste per questa macchina, mantenete la pressione raccomandata in tutti gli pneumatici. Non usate una insufficiente pressione di gonfiaggio degli pneumatici.Verificate la pressione dell'aria in tutti gli pneumatici prima di utilizzare la macchina.

| Cadenza di manutenzione | Procedura di manutenzione |
|---|---|
| Dopo la prima ora |
|
| Dopo le prime 10 ore |
|
| Ogni 200 ore |
|
Serrate i dadi ad alette delle ruote a 115–136 N∙m secondo l'ordine illustrato nella Figura 18 e nella Figura 19.


Il serraggio dei dadi ad alette delle ruote a una coppia errata può causare infortuni.
Serrate i dadi ad alette delle ruote al giusto valore di coppia.
Per evitare ferite ed anche la morte, tenete il roll bar alzato ed allacciate la cintura di sicurezza.
Accertatevi che il sedile sia fissato mediante l'apposito fermo.
Quando il roll bar è abbassato, non esistono altre protezioni antiribaltamento.
Non utilizzate la macchina su terreni dissestati o in pendenza con il roll bar in posizione abbassata.
Abbassate il roll bar solo se è assolutamente necessario.
Non allacciate la cintura di sicurezza quando il roll bar è abbassato.
Guidate lentamente e con prudenza.
Alzate il roll bar appena l'altezza lo consente.
Controllate attentamente lo spazio libero superiore prima di passare con la macchina sotto qualsiasi oggetto (rami, varchi, fili elettrici) ed evitate urti.
Important: Tenete sempre la cintura di sicurezza allacciata quando il roll bar è alzato e bloccato. Non allacciate la cintura di sicurezza se il roll bar è abbassato.
Important: Abbassate il roll bar soltanto se necessario.
Important: Accertatevi che il sedile sia fissato mediante l'apposito fermo.


Important: Gli apparati di taglio rotativi spesso falciano a un'altezza di circa 6 mm inferiore a quella di un apparato di taglio a cilindri con la stessa impostazione di riferimento. Può essere necessario impostare la misura di riferimento degli apparati di taglio rotativi a 6 mm al di sopra di quella degli apparati di taglio a cilindri per la stessa zona.
Important: Grazie alla possibilità di staccare l'apparato di taglio dalla macchina è molto più facile accedere agli apparati posteriori.
Parcheggiate la macchina su terreno pianeggiante, inserite il freno di stazionamento, abbassate l’apparato di taglio a terra, spegnete il motore e togliete la chiave.
Allentate il bullone che fissa ogni staffa dell'altezza di taglio alla relativa piastra (lati anteriore e laterali), come illustrato nella Figura 22.
Rimuovete i bulloni iniziando da quello dell'elemento di regolazione anteriore.

Supportate l’alloggiamento e togliete il distanziale (Figura 22).
Spostate l’alloggiamento all’altezza di taglio opportuna e montate il distanziale nel foro e nella scanalatura dell’altezza di taglio prescelta (Figura 23).

Posizionate la piastra forata in linea con il distanziale.
Montate il bullone serrandolo a mano.
Ripetete i passi da 4 a 7 per regolare ciascun lato.
Serrate tutti e 3 i bulloni a 41 N∙m. Serrate sempre per primo il bullone anteriore.
Note: Nel caso di regolazioni di oltre 3,8 cm, per impedire il grippaggio è talvolta necessario assemblare provvisoriamente l'apparato ad un’altezza intermedia (ad es. variando l'altezza di taglio da 3,1 a 7 cm).
| Cadenza di manutenzione | Procedura di manutenzione |
|---|---|
| Prima di ogni utilizzo o quotidianamente |
|
Se gli interruttori di sicurezza sono scollegati o guasti, la macchina può muoversi improvvisamente e causare incidenti.
Non manomettete i microinterruttori di sicurezza.
Il funzionamento degli interruttori di interblocco deve essere controllato ogni giorno; prima di azionare la macchina, sostituite eventuali interruttori guasti.
Gli interruttori a interblocchi sono progettati per spegnere la macchina quando vi alzate dal sedile mentre è premuto il pedale di trazione. Tuttavia, potete alzarvi dal sedile mentre il motore è in funzione e il pedale della trazione è in posizione di FOLLE. Benché il motore continui a funzionare quando disinnestate l'interruttore della PDF e rilasciate il pedale della trazione, spegnete il motore prima di alzarvi dal sedile.
Parcheggiate la macchina su terreno pianeggiante, inserite il freno di stazionamento, abbassate gli apparati di taglio e girate la chiave in posizione di SPEGNIMENTO.
Premete il pedale della trazione e girate la chiave in posizione di ACCENSIONE.
Note: Se il motore si avvia, il sistema degli interruttori di sicurezza a interblocchi non funziona correttamente. Correggete questo malfunzionamento prima dell'utilizzo della macchina.
Girate la chiave in posizione di ACCENSIONE, alzatevi dal sedile e spostate l'interruttore della PDF in posizione di ACCENSIONE.
Note: La PDF non deve innestarsi. Se la PDF si innesta, il sistema degli interruttori di sicurezza a interblocchi non funziona correttamente. Correggete questo malfunzionamento prima dell'utilizzo della macchina.
Inserite il freno di stazionamento, girate la chiave in posizione di ACCENSIONE e spostate il pedale di trazione dalla posizione di FOLLE.
Note: L'InfoCenter visualizza “trazione negata” e la macchina non si muove. Se la macchina invece si muove, c'è un malfunzionamento nel sistema del microinterruttore di sicurezza. Correggete questo malfunzionamento prima dell'utilizzo della macchina.
| Cadenza di manutenzione | Procedura di manutenzione |
|---|---|
| Prima di ogni utilizzo o quotidianamente |
|
Note: Abbassate gli apparati di taglio su una sezione pulita di tappeto erboso o una superficie rigida per evitare di sollevare polvere e detriti.
Per verificare questo tempo di arresto, sedetevi sul sedile e disinnestate la PDF. Ascoltate per sentire il rumore delle lame rotanti e registrate il tempo che occorre perché le lame si arrestino completamente. Se sono necessari più di 7 secondi, regolate la valvola del freno. Contattate il vostro distributore Toro autorizzato per ricevere assistenza nell'effettuare questa regolazione.
Questa lama è stata progettata per fornire un sollevamento e una dispersione eccellenti in quasi tutte le condizioni possibili. Qualora siano necessari un sollevamento e una velocità di scarico maggiori o minori, utilizzate lame diverse.
Caratteristiche: Sollevamento e dispersione eccellenti nella maggior parte delle condizioni
In linea di massima la lama offre le migliori prestazioni alle altezze di taglio inferiori da 1,9 a 6,4 cm.
Caratteristiche:
Lo scarico rimane più regolare con altezze di taglio inferiori.
Lo scarico tende meno a gettare sulla sinistra, e produce quindi un aspetto più pulito attorno a bunker e fairway.
Utilizza meno energia ad altezze inferiori e con tappeti erbosi fitti.
In linea di massima la lama offre le migliori prestazioni ad altezze di taglio superiori comprese tra 7 e 10 cm.
Caratteristiche:
Maggiore sollevamento e velocità di scarico più elevata
L’erba rada o floscia viene raccolta più agevolmente ad altezze di taglio superiori
Lo sfalcio bagnato o vischioso viene scaricato con maggiore efficienza, riducendo gli accumuli nell'apparato di taglio.
Richiede una maggiore potenza per funzionare
Tende a scaricare più a sinistra, e talvolta tende a ranghinare ad altezze di taglio inferiori
L'utilizzo della lama per alto sollevamento con il deflettore per mulching può causare la rottura della lama, causando infortuni o la morte.
Non usate la lama ad alto sollevamento insieme al deflettore per mulching.
Questa lama è stata progettata per eseguire un mulching eccellente.
Attributo: eccellente mulching delle foglie
| Lama a costa angolata | Lama a costa parallela per alto sollevamento(Non utilizzare con il deflettore per mulching) | Deflettore per mulching | Raschiarullo | |
| Taglio dell'erba: altezza di taglio da 1,9 a 4,4 cm | Consigliata per la maggioranza delle applicazioni | Può funzionare bene con tappeti erbosi leggeri o radi | Ha dimostrato di migliorare la dispersione e la resa dell’erba tipica dei freddi climi settentrionali tosati almeno 3 volte la settimana, quando viene falciato meno di un terzo del filo d’erba. Non utilizzare con la lama a costa parallela per alto sollevamento | Utilizzatelo ogniqualvolta sono visibili accumuli di erba sui rulli o grandi blocchi piatti di erba. Con alcune applicazioni, i raschiarulli possono aumentare il deposito di mucchi di erba tagliata. |
| Taglio dell'erba: altezza di taglio da 5 a 6,4 cm | Consigliata per tappeti erbosi fitti o lussureggianti | Consigliata per tappeti erbosi leggeri o radi | ||
| Taglio dell'erba: altezza di taglio da 7 a 10 cm | Può funzionare bene su tappeti erbosi lussureggianti | Consigliata per la maggioranza delle applicazioni | ||
| Mulching | Consigliata per l'impiego col deflettore per mulching | Vietato | Usate soltanto con lama a costa combinata o angolata o una lama Atomic | |
| Pro | Scarico uniforme con altezza di taglio inferiore; aspetto più pulito attorno a bunker e fairway; minori requisiti di potenza | Maggiore sollevamento e velocità di scarico più elevata; l'erba rada o floscia viene raccolta più agevolmente ad altezze di taglio superiori; lo sfalcio bagnato o vischioso viene scaricato con maggiore efficienza | Può migliorare la dispersione e l'aspetto di certi tagli; ottimo per il mulching delle foglie | In alcune applicazioni riduce i depositi sui rulli. |
| Contro | Non solleva bene l'erba nelle applicazioni con altezze di taglio elevate; l’erba bagnata o vischiosa tende a depositarsi nell’alloggiamento, con conseguente qualità di taglio scadente e maggiore consumo | Con alcune applicazioni necessita di più potenza; tende a ranghinare ad altezze di taglio inferiori con tappeti erbosi fitti; non utilizzare con il deflettore per mulching. | Se cercate di rimuovere troppa erba con il deflettore montato, lo sfalcio si accumula nell'alloggiamento |
Il display mostra i dati relativi alla macchina, come lo stato operativo, le varie diagnostiche e altre informazioni sulla macchina stessa. Sul display sono presenti varie schermate. In qualsiasi momento potete passare da una schermata all'altra premendo uno dei pulsanti del display e selezionando la freccia di direzione appropriata.

Note: Lo scopo di ogni pulsante può variare a seconda della necessità del momento. Ogni pulsante è contrassegnato con un'icona che ne visualizza la funzione corrente.
![]() | Contaore |
![]() | Impostazioni di arresto pedale virtuale |
![]() | L'operatore deve essere seduto alla guida |
![]() | Il freno di stazionamento è inserito |
![]() | Temperatura del refrigerante motore (°C o °F) |
![]() | Trazione o pedale di comando della trazione |
![]() | Il comando elettronico della velocità è inserito |
![]() | Richiesta di rigenerazione di ripristino/stand by |
| Richiesta di rigenerazione parcheggiata o di recupero | |
![]() | È in corso una rigenerazione parcheggiata o di recupero |
![]() | Temperatura di scarico elevata |
![]() | Avaria diagnostica controllo NOx; riportate la macchina all'officina e contattate il vostro distributore Toro autorizzato (versione software U e successive) |
![]() | La presa di forza è disabilitata |
![]() | La presa di forza è innestata |
![]() | Batteria |
![]() | Avvertenza |
![]() | Attivo |
![]() | Inattivo |
![]() | Precedente |
![]() | Successiva |
![]() | Aumento |
![]() | Riduzione |
![]() | Schermata precedente |
![]() | Schermata successiva |
![]() | Aumenta valore |
![]() | Riduci valore |
![]() | Menu |
![]() | Scorri in su/giù |
![]() | Scorri a sinistra/destra |
![]() | Temperatura del fluido idraulico (°C o °F) |
![]() | Intervallo di velocità massima (trasferimento) |
![]() | Intervallo di velocità minima (falciatura) |
![]() | Ventola (inversione della ventola) |
![]() | Sollevamento di tutti gli apparati di taglio |
![]() | Abbassamento di tutti gli apparati di taglio |
![]() | Sollevamento degli apparati di taglio centrali |
![]() | Abbassamento degli apparati di taglio centrali |
![]() | Sollevamento degli apparati di taglio di sinistra |
![]() | Abbassamento degli apparati di taglio di sinistra |
![]() | Sollevamento degli apparati di taglio di destra |
![]() | Abbassamento degli apparati di taglio di destra |
![]() | Bloccato |
Accessibile
solo inserendo il PIN
Per accedere al sistema di menu InfoCenter, premete il pulsante di accesso ai menu dalla schermata principale. Si passa così al Menu principale. Consultate le tabelle seguenti per un riepilogo delle opzioni disponibili nei menu:
| Menu principale – Voce menu | Descrizione |
| Faults | Il menu Faults (Guasti) contiene un elenco dei guasti recenti della macchina. Consultate il Manuale di manutenzione o contattate il distributore Toro autorizzato per maggiori informazioni sul menu Faults (Guasti) e sulle informazioni in esso contenute. |
| Service | Il menu Service (Manutenzione) contiene dati sulla macchina, come il contatore delle ore di utilizzo e altri valori analoghi. |
| Diagnostics | Il menu Diagnostics (Diagnostica) mostra lo stato di ogni interruttore, sensore e uscita di controllo della macchina. Si può utilizzare per risolvere determinate problematiche in quanto indica rapidamente quali comandi della macchina sono ATTIVI e quali sono INATTIVI. |
| Settings | Il menu Settings (Impostazioni) consente di personalizzare e modificare le opzioni di configurazione sul display. |
| Impostazioni macchina | Il menu Machine Settings (Impostazioni macchina) consente di regolare le soglie di accelerazione, velocità e contrappeso. |
| About | Il menu About (Informazioni) elenca il numero del modello, il numero di serie e la versione software della macchina. |
| Service – Voce menu | Descrizione |
| Hours | Riporta il numero totale di ore di funzionamento di macchina, motore e PDF, nonché il numero di ore di trasporto della macchina e la manutenzione prevista. |
| Counts | Riporta i vari conteggi a cui è stata sottoposta la macchina. |
Traction Pedal![]() | |
Traction Pump![]() | |
| Fan | Indica se la ventola è attiva nei seguenti casi: temperatura motore alta, temperatura olio alta, temperatura motore o circuito idraulico alta e ventola attiva |
| Fuel Rate | Mostra il tasso di carburante utilizzato. |
| DPF Regeneration | Opzione di rigenerazione del filtro antiparticolato diesel e sottomenu FAP |
| Diagnostics - Voce menu | Descrizione |
| Left Cutting Unit | Fate riferimento al Manuale di manutenzione o al vostro distributore Toro autorizzato per maggiori informazioni sul menu Funzionamento motore e sulle informazioni in esso contenute. |
| Center Cutting Unit | |
| Right Cutting Unit | |
| Traction | |
| HI/LO Range | |
| Engine | |
CAN Statistics![]() |
| Settings – Voce menu | Descrizione |
| Enter PIN (inserire PIN) | Consente a una persona autorizzata dalla vostra azienda (sovrintendente/meccanico) e in possesso del codice PIN di accedere ai menu protetti. |
| Backlight | Imposta la luminosità del display LCD. |
| Lingua | Imposta la lingua usata nell'InfoCenter*. |
| Font Size | Imposta le dimensioni dei caratteri sul display. |
| Units | Imposta le unità di misura usate nell'InfoCenter (sistema metrico o anglosassone). |
Menu protetti![]() | Consente a una persona autorizzata dalla vostra azienda e in possesso del codice PIN di accedere ai menu protetti |
Impostazioni di protezione![]() | Consente di modificare le impostazioni protette. |
Note: Il menu Machine Settings (Impostazioni della macchina) viene visualizzato solo dopo l'inserimento del PIN.
Machine Settings – Voce menu![]() | Descrizione |
Mow Speed ![]() | Controlla la velocità massima di lavoro (range inferiore) |
Trans. Speed ![]() | Controlla la velocità massima di trasferimento (range superiore) |
Smart Power ![]() | Accensione/spegnimento di Smart Power |
Counterbalance ![]() | Controlla la quantità di contrappeso applicata agli apparati di taglio |
Turnaround ![]() | Attivazione/disattivazione della modalità di manovra |
Acceleration ![]() | Le impostazioni minima, media e massima controllano la rapidità di reazione della velocità di trazione quando spostate il pedale della trazione. |
Impostazioni
protette nei menu Protected – Accessibili solo inserendo il
PIN
| Informazioni – Voce menu | Descrizione |
| Model | Elenca il numero di modello della macchina. |
| SN | Elenca il numero di serie della macchina. |
| Machine Controller Revision | Elenca la revisione software del controller master. |
| S/W Revision | Elenca la versione software del controller principale. |
InfoCenter Revision![]() | Riporta la versione software dell'InfoCenter |
Secondary software![]() | Mostra il numero di catalogo e la revisione del controller degli apparati di taglio per il modello Groundsmaster 4700. |
| Stage V | Riporta la dicitura "Sì" o "No" a seconda del motore. |
Ci sono impostazioni di configurazione operative che sono regolabili all’interno del menu SETTINGS (IMPOSTAZIONI) dell’InfoCenter. Per bloccare queste impostazioni, utilizzate il PROTECTED MENU (MENU PROTETTO).
Note: Al momento della consegna, la password iniziale è programmata dal distributore.
Note: Il codice PIN predefinito per la vostra macchina è 0000 o 1234.Se avete modificato il codice PIN e lo avete dimenticato, contattate il vostro distributore Toro autorizzato per assistenza.
Dal MAIN MENU (MENU PRINCIPALE), scorrete verso il basso fino al menu SETTINGS (IMPOSTAZIONI) e premete il pulsante seleziona (Figura 25).

Nel menu SETTINGS (IMPOSTAZIONI), scorrete fino alla voce ENTER PIN (INSERISCI PIN) e premete il pulsante seleziona (Figura 26A).

Per inserire il codice PIN, premete i pulsanti di navigazione su/giù finché non compare la prima cifra del numero corretto, quindi premete il pulsante di navigazione destro per passare alla cifra successiva (Figura 26B e Figura 26C). Ripetete questo passaggio fino all'inserimento dell'ultima cifra.
Premete il pulsante seleziona.
Note: Se il sistema ha accettato il codice PIN e il menu protetto è stato sbloccato, viene visualizzata la parola “PIN” nell'angolo in alto a destra della schermata.
Per bloccare il menu protetto, girate l'interruttore a chiave in posizione di SPEGNIMENTO e poi in posizione di ACCENSIONE.
Nel menu SETTINGS (IMPOSTAZIONI), scorrete in basso fino alla voce PROTECT SETTINGS (PROTEZIONE IMPOSTAZIONI).
Per visualizzare e modificare le impostazioni senza
inserire un codice PIN, utilizzate il pulsante seleziona per impostare PROTECT SETTINGS (PROTEZIONE IMPOSTAZIONI) su
(disattiva).
Per visualizzare e modificare le impostazioni con
un codice PIN, utilizzate il pulsante seleziona per impostare PROTECT SETTINGS (PROTEZIONE IMPOSTAZIONI) su
(attiva), impostate il codice
PIN e girate la chiave nell'interruttore di accensione in posizione
di SPEGNIMENTO e poi in posizione di ACCENSIONE.
Il timer della revisione azzera le ore mancanti per la revisione dopo che è stata effettuata una procedura di manutenzione programmata.
Nel menu SETTINGS (IMPOSTAZIONI) , scorrete fino alla voce ENTER PIN (INSERISCI PIN) e premete il pulsante seleziona.
Inserite il PIN; fate riferimento ad Accesso ai menu protetti.
Nel menu SERVICE (REVISIONE) , scorrete fino alla voce HOURS (ORE) e premete il pulsante seleziona.
Scorrete in basso fino alla voce SERVICE DUE (REVISIONE).
Note: Se è tempo della revisione, accanto a SERVICE DUE (REVISIONE) comparirà il termine NOW (ORA).
Selezionate l’intervallo di revisione e premete il pulsante seleziona.
Note: L'intervallo di revisione (250 ore, 500 ore, e così via) si trova accanto alla voce SERVICE DUE (REVISIONE). L’intervallo di revisione è una voce del menu protetto.
Quando viene visualizzata la schermata RESET SERVICE TIMER? (REIMPOSTARE TIMER DELLA REVISIONE?), premete il pulsante seleziona per CONFERMARE o il pulsante indietro per ANNULLARE.
Dopo aver CONFERMATO, la schermata dell’intervallo scompare e si ritorna alle selezioni delle ore prima della manutenzione.
L'impostazione selezionata viene visualizzata come una X nel grafico della barra di velocità della trazione insieme alle impostazioni di comando elettronico della velocità e arresto a pedale. Una X in una barra mostra che la velocità massima è limitata dal supervisore (Figura 31).
Note: Questa impostazione viene mantenuta in memoria e applicata alla velocità di trazione fino a quando non la si cambia.
Nel menu MACHINE SETTINGS (IMPOSTAZIONI MACCHINA), scorrete fino a MOW SPEED.
Utilizzate i pulsanti di spostamento destro e sinistro per aumentare la velocità di tosatura massima in incrementi del 5% nella schermata principale e in incrementi del 10% nel menu MACHINE SETTINGS (IMPOSTAZIONI MACCHINA). L'intervallo nella schermata principale va dal 10 al 100%, e l'intervallo del menu MACHINE SETTINGS (IMPOSTAZIONI MACCHINA) va dal 30 al 100%.
L'impostazione selezionata viene visualizzata come una X nel grafico della barra di velocità della trazione insieme alle impostazioni di comando elettronico della velocità e arresto a pedale. Una X in una barra mostra che la velocità massima è limitata dal supervisore (Figura 31).
Note: Questa impostazione viene mantenuta in memoria e applicata alla velocità di trazione fino a quando non la si cambia.
Nel menu MACHINE SETTINGS (IMPOSTAZIONI MACCHINA), scorrete fino a TRANSPORT SPEED.
Utilizzate i pulsanti di spostamento destro e sinistro per aumentare la velocità di tosatura massima in incrementi del 5% nella schermata principale e in incrementi del 10% nel menu MACHINE SETTINGS (IMPOSTAZIONI MACCHINA). L'intervallo nella schermata principale va dal 10 al 100%, e l'intervallo del menu MACHINE SETTINGS (IMPOSTAZIONI MACCHINA) va dal 30 al 100%.
Nel menu SETTINGS (IMPOSTAZIONI), scorrete in basso fino alla voce SMART POWER.
Premete il pulsante di navigazione destro per passare da ACCENSIONE a SPEGNIMENTO.
Nel menu MACHINE SETTINGS (IMPOSTAZIONI MACCHINA), scorrete fino a COUNTERBALANCE.
Premete il pulsante di spostamento destro per selezionare il contrappeso e selezionare le impostazioni LOW (BASSO), MEDIUM (MEDIO) o HIGH (ALTO).
Nel menu MACHINE SETTINGS (IMPOSTAZIONI MACCHINA), scorrete fino ad ACCELERATION.
Premete il pulsante di spostamento destro per commutare tra LOW (MINIMA), MEDIUM (MEDIA) e HIGH (MASSIMA).
Nel menu SETTINGS (IMPOSTAZIONI), scorrete verso il basso fino a TURNAROUND (INVERSIONE).
Premete il pulsante destro per passare da ACCENSIONE a SPEGNIMENTO.
Note: Per questioni di comodità operativa potete decidere di eseguire una rigenerazione parcheggiata prima che il carico di fuliggine raggiunga il 100%, purché il motore sia stato in funzione per oltre 50 ore dall'ultima rigenerazione di ripristino, parcheggiata o di recupero andata a buon fine.
Utilizzate il menu Technician (Tecnico) per visualizzare lo stato attuale del controllo di rigenerazione del motore e il livello di fuliggine attuale.
Nel menu SETTINGS (IMPOSTAZIONI), scorrete fino alla voce DPF REGENERATION (RIGENERAZIONE DEL DPF) e premete il pulsante seleziona.
Nel menu DPF REGENERATION (RIGENERAZIONE DEL DPF), scorrete fino alla voce TECHNICIAN (TECNICO) e premete il pulsante seleziona.


Rossa lampeggiante: guasto presente
Rossa fissa: avviso presente
Blu fissa: messaggi di taratura/dialogo
Verde fissa: funzionamento normale
La macchina mostra delle velocità di trazione stimate secondo valori percentuali.
La velocità viene mostrata con un valore che va dal 10 al 100% per le schermate di comando elettronico della trazione e dell'arresto del pedale virtuale, e con un valore che va dal 30 al 100% nel menu MACHINE SETTINGS (IMPOSTAZIONI MACCHINA).
Quando avviate la macchina a basse temperature, la modalità riscaldamento limita il regime del motore tenendolo alla minima inferiore per un breve periodo di tempo dopo l'avvio del motore, impedendo potenziali danni ai componenti dati dall'uso della macchina mentre l'olio è freddo.
L'attivazione della modalità riscaldamento è
indicata dalla presenza di un'icona a forma di fiocco di neve
sullo schermo dell'InfoCenter.
Non utilizzate la macchina fino a quando non è terminato il
periodo di riscaldamento.
Il proprietario/operatore è tenuto a evitare incidenti che possano causare lesioni personali o danni materiali.
Indossate un abbigliamento idoneo, inclusi occhiali di protezione, pantaloni lunghi, calzature antiscivolo robuste e protezioni per le orecchie. Legate i capelli lunghi e non indossate indumenti larghi o gioielli pendenti.
Non utilizzate la macchina se siete malati, stanchi o sotto l'effetto di alcol o droghe.
Prestate la massima attenzione mentre utilizzate la macchina. Non svolgete nessuna attività che vi possa distrarre; in caso contrario potrebbero verificarsi infortuni o danni.
Prima di avviare il motore, accertatevi che tutte le trasmissioni siano in posizione di folle, che il freno di stazionamento sia innestato e che vi troviate nella posizione operativa.
Non trasportate passeggeri sulla macchina e tenete lontane le persone presenti e i bambini dall'area operativa.
Utilizzate la macchina solo in buone condizioni di visibilità, in modo tale da poter evitare buche o pericoli nascosti.
Evitate la tosatura sull'erba bagnata. La trazione ridotta può causare lo slittamento della macchina.
Tenete mani e piedi a distanza dalle parti rotanti. Restate lontani dall'apertura di scarico.
Prima di fare marcia indietro, guardate indietro e abbassate lo sguardo per accertarvi che il percorso sia libero.
Prestate attenzione quando vi avvicinate ad angoli ciechi, cespugli, alberi o altri oggetti che possano ostacolare la visuale.
Fermate le lame ogni volta che non state effettuando la tosatura.
Spegnete la macchina, togliete la chiave e attendete che tutte le parti in movimento si arrestino prima di ispezionare l'attrezzo dopo avere urtato un oggetto o in caso di vibrazioni anomale della macchina. Effettuate tutte le riparazioni necessarie prima di riprendere le operazioni.
Rallentate e fate attenzione quando eseguite curve o attraversate strade e marciapiedi con la macchina. Date sempre la precedenza.
Disinnestate la trasmissione all'apparato di taglio, spegnete il motore, togliete la chiave e attendete che si arresti ogni movimento prima di regolare l'altezza di taglio (a meno che non possiate regolarla dalla posizione operativa).
Azionate il motore solo in aree ben ventilate. I gas di scarico possono contenere monossido di carbonio, che è letale se inalato.
Non lasciate incustodita la macchina in funzione.
Prima di abbandonare la posizione dell'operatore, effettuate le seguenti operazioni:
Parcheggiate la macchina su terreno pianeggiante.
Disinnestate la presa di forza e abbassate al suolo l'attrezzatura.
Inserite il freno di stazionamento.
Spegnete il motore e togliete la chiave.
Attendete che tutte le parti in movimento si arrestino.
Utilizzate la macchina solo quando la visibilità è ottimale. Non utilizzate la macchina se c'è rischio di fulmini.
Non usate la macchina come veicolo di traino.
Utilizzate solo accessori, attrezzi e ricambi approvati da Toro.
Utilizzate la trazione elettronica (se presente) solo quando potete utilizzare la macchina in un'area aperta e pianeggiante, priva di ostacoli e dove la macchina possa procedere a velocità costante, senza interruzioni.
Il sistema di protezione antiribaltamento (ROPS) è un dispositivo di sicurezza integrato ed efficace.
Non rimuovete alcuno dei componenti del sistema di protezione antiribaltamento (ROPS) dalla macchina.
Accertatevi che la cintura di sicurezza sia fissata alla macchina.
Tirate la cinghia della cintura sulle ginocchia e allacciatela all'alloggiamento sull'altro lato del sedile.
Per scollegare la cintura di sicurezza, tenetela ferma, premete il pulsante sull'alloggiamento per rilasciarla e guidatela nell'apertura di ritrazione automatica. Accertatevi di poter rilasciare rapidamente la cintura in caso di emergenza.
Verificate con attenzione l'eventuale presenza di ostacoli al di sopra della macchina e non entrate a contatto con tali ostacoli.
Mantenete il sistema di protezione antiribaltamento (ROPS) in condizioni operative sicure effettuando periodicamente ispezioni accurate e accertandovi che i fermi di montaggio siano stretti.
Sostituite i componenti del sistema di protezione antiribaltamento (ROPS) danneggiati. Non effettuate riparazioni o modifiche.
Una cabina installata da Toro è un roll bar.
Mettete sempre la cintura di sicurezza.
Mantenete il roll bar pieghevole in posizione sollevata e bloccata e indossate la cintura di sicurezza quando utilizzate la macchina con il roll bar in posizione sollevata.
Abbassate temporaneamente il roll bar pieghevole solo quando è necessario. Non indossate la cintura di sicurezza quando il roll bar ripiegato.
Siate consapevoli che quando il roll bar ripiegato è in posizione abbassata, non siete protetti dal ribaltamento.
Controllate l'area di tosatura e non ripiegate mai un roll bar pieghevole in aree in cui siano presenti discese, scarpate o corsi d'acqua.
Le pendenze sono un importante fattore che influisce su incidenti causati da perdita di controllo e ribaltamento che possono provocare lesioni personali gravi o fatali. Siete responsabili del funzionamento sicuro in pendenza. L'utilizzo della macchina in pendenza richiede un livello di attenzione superiore.
Valutate le condizioni del sito per determinare se la pendenza è sicura per l'utilizzo della macchina, effettuando anche un sopralluogo del sito. Basatevi sempre su buon senso e giudizio quando effettuate questa ricognizione.
Consultate le istruzioni relative alle pendenze elencate di seguito per l'utilizzo della macchina in pendenza e per determinare se potete utilizzare la macchina nelle condizioni di un particolare giorno e su un particolare sito. I cambiamenti del terreno possono determinare un cambiamento del funzionamento in pendenza della macchina.
Evitate di avviare, arrestare o sterzare quando la macchina procede in pendenza. Evitate repentini cambiamenti di velocità o direzione. Svoltate lentamente e in maniera graduale.
Non azionate la macchina in condizioni in cui la trazione, la sterzata o la stabilità possono essere compromessi.
Rimuovete o segnalate le ostruzioni, come fossati, buche, solchi, dossi, rocce o altri pericoli nascosti. L'erba alta può nascondere ostacoli. Su terreni accidentati la macchina potrebbe ribaltarsi.
Siate consapevoli che l'utilizzo della macchina su erba bagnata, trasversalmente su pendenze o in discesa può causare una perdita di trazione della macchina. La perdita di trazione delle ruote motrici può comportare uno slittamento e una perdita di capacità frenante e sterzante.
Prestate estrema cautela durante l'utilizzo della macchina in prossimità di scarpate, fossati, terrapieni, zone d'acqua pericolose o altri pericoli. La macchina potrebbe ribaltarsi improvvisamente nel caso in cui una ruota supera il ciglio o se il ciglio cede. Individuate un margine di sicurezza tra la macchina ed eventuali pericoli.
Individuate i pericoli alla base della pendenza. In presenza di pericoli, tosate il terreno in pendenza con una macchina a spinta.
Se possibile, tenete abbassati gli apparati di taglio a terra durante l'uso della macchina in pendenza. Il sollevamento degli apparati di taglio durante l'uso in pendenza può causare l'instabilità della macchina.
Prestate estrema cautela con i sistemi di raccolta dello sfalcio o altri attrezzi. Tali attrezzi possono influire sulla stabilità della macchina e farvi perdere il controllo.
Questa macchina è dotata di acceleratore in stile automobilistico controllato dal pedale della trazione.
Questa macchina non è dotata di un interruttore dell'acceleratore o di una leva dell'acceleratore separati.
Quando togliete il piede dal pedale della trazione, la macchina frena dinamicamente fino ad arrestarsi.
I comandi a pedale sono ottimizzati per fornire una risposta reattiva ma stabile, consentendovi di mantenere un controllo uniforme su terreno accidentato e, al contempo, una frenata rapida e fluida.
Durante il trasferimento, il pedale della trazione funzionerà come in un'auto e cambierà il regime del motore e della trazione a seconda della posizione del pedale della trazione.
Durante la tosatura, il regime del motore verrà automaticamente aumentato al minimo superiore.
Se il motore si trova alla minima inferiore, l'esecuzione di una funzione come il sollevamento degli apparati di taglio o la pressione del pedale di trazione aumenta il regime del motore a una velocità operativa minima, fornendo potenza sufficiente ad eseguire la funzione in modo efficiente.
Limitate la durata del minimo della macchina come raccomandato per la rigenerazione del filtro antiparticolato diesel (FAP). Spegnete la macchina per evitare una durata prolungata del minimo.
Le velocità massime impostate nelle impostazioni del menu protetto da PIN sono definite dal supervisore per limitare la velocità massima di trazione della macchina.
Le velocità di utilizzo del pedale di trazione, comando elettronico della velocità e arresto a pedale sono tutte limitate dalle velocità massime impostate nel menu protetto da PIN.
Quando avviate il motore e la temperatura del fluido idraulico è bassa, il regime del motore aumenta automaticamente per ottimizzare il funzionamento e riscaldare la macchina. Il regime del motore torna automaticamente al minimo inferiore quando la temperatura del fluido idraulico torna al normale intervallo operativo.
In normali condizioni operative, questa macchina è intesa per il funzionamento in posizione H/L AUTO sull'interruttore del range di velocità (Figura 29). Questa posizione consente alla macchina di commutare automaticamente tra i range di velocità minima e massima, a seconda del fatto che la macchina sia utilizzata per la tosatura o il trasferimento.
Quando si seleziona la posizione MINIMA nell'interruttore del range di velocità (Figura 29), la macchina funzionerà sempre all'intervallo di velocità minima. Tale impostazione è preferibile per il funzionamento in un'officina, per carico o scarico da un rimorchio, per la salita lungo pendenze ripide o per qualsiasi altra operazione in cui non si desiderano le velocità di trazione superiori del range di velocità massima.
Se vi imbattete in un ostacolo, sollevate gli apparati di taglio per tosarvi attorno.
Quando trasferite la macchina tra zone di lavoro, attivate il range AUTO HI/LOW, spegnete la PDF e sollevate gli apparati di taglio alla posizione massima. Questo fa sì che il pedale della trazione funzioni come in un'auto.
Guidate sempre lentamente in zone accidentate.
Per familiarizzare con le caratteristiche della macchina, esercitatevi nell'utilizzo della macchina.
Sollevate gli apparati di taglio, disinserite il freno di stazionamento, premete il pedale della trazione in avanti e guidate con cautela verso un'area aperta.
Esercitatevi a guidare la macchina poiché è dotata di trasmissione idrostatica e le sue funzionalità possono differire da quelle di altre macchine per la manutenzione dei tappeti erbosi.
Esercitatevi a fare marcia avanti e la retromarcia, e ad avviare e fermare la macchina. Per fermare la macchina togliete il piede dal pedale della trazione e lasciate che il pedale ritorni in FOLLE.
Note: Quando procedete in discesa con la macchina, potreste avere bisogno di usare il pedale di retromarcia per fermarvi.
Togliete il piede dal pedale della trazione e premete i pedali del freno per un arresto rapido.
Esercitatevi a guidare attorno ad ostacoli, con gli apparati di taglio sollevati ed abbassati. Prestate la massima attenzione quando guidate fra spazi limitati, al fine di non danneggiare la macchina o gli apparati di taglio.
Questa macchina è dotata di 2 intervalli della velocità di trazione: minima e massima. L'interruttore dell'intervallo di velocità consente di selezionare le seguenti posizioni (Figura 29):
Intervallo di massima/minima automatica:
La selezione della posizione H/L AUTO permette alla macchina di selezionare automaticamente gli intervalli di velocità minima e massima. La posizione H/L AUTO è comparabile alla selezione di D (drive) nella vostra auto con trasmissione automatica.
Note: Per evitare potenziali danni al tappeto erboso, la macchina cambierà tra l'intervallo di minima e massima solo quando il pedale della trazione è in posizione di FOLLE e le ruote hanno cessato il movimento.
Note: Gli apparati di taglio non possono essere abbassati dalla posizione di trasferimento mentre guidate la macchina nell'intervallo di velocità massima.
Quando si seleziona la posizione H/L AUTO e gli apparati di taglio vengono abbassati per la tosatura, l'intervallo di velocità è limitato all'intervallo di velocità minima.
Per passare al range di velocità massima, selezionate la posizione H/L AUTO nell'interruttore dell'intervallo di velocità, disinnestate la PDF e sollevate completamente gli apparati di taglio.
Quando viene selezionata la posizione H/L AUTO, la macchina commuta automaticamente tra gli intervalli di trazione massima e minima in base alla posizione degli apparati di taglio e/o alla posizione dell'interruttore della PDF.
Intervallo di minima:
La selezione della posizione di MINIMA sull'interruttore mantiene la macchina nell'intervallo di velocità minima in ogni momento. La posizione di MINIMA è comparabile alla selezione di 2, 1 O L nella vostra auto con trasmissione automatica.
Quando si seleziona la posizione di MINIMA, la macchina funziona solo nell'intervallo di minima.
Utilizzate la posizione di MINIMA durante il carico della macchina su un rimorchio o lo spostamento in aree ristrette come un'officina.

Questo pedale controlla la velocità in marcia avanti e retromarcia della macchina e la frenata dinamica quando si ritorna in folle.
Il pedale della trazione è un acceleratore in stile automobilistico: il regime del motore e la velocità della macchina rispondono al movimento del pedale.
Durante il trasferimento, il pedale della trazione funzionerà come in un’auto e cambierà il regime del motore e della trazione a seconda della posizione del pedale della trazione.
Durante la tosatura, il motore aumenta automaticamente la velocità al minimo superiore per ottimizzare le prestazioni di tosatura e il pedale di trazione controlla solo la velocità di trazione.
Più lontano si spinge il pedale in marcia avanti o in retromarcia, più veloce sarà il movimento della macchina.
Per controllare la macchina fino a un arresto uniforme durante il trasferimento o la tosatura, utilizzate il piede per riportare il pedale della trazione in folle alla velocità desiderata.
Per innestare la massima frenata, togliete il piede dal pedale della trazione, lasciando che torni in folle. La macchina frenerà dinamicamente fino ad arrestarsi.
Questo sistema di trazione vi consente di personalizzare le impostazioni di accelerazione in base al comfort dell’operatore e alle condizioni del campo. Fate riferimento a Descrizione della modalità di accelerazione per la modifica delle impostazioni.

La funzionalità arresto del pedale virtuale consente di impostare i limiti massimi temporanei della velocità di trazione sia per l'intervallo di falciatura sia per quello di trasferimento.
Per accedere a questa funzionalità, utilizzate il pulsante di spostamento su o giù dell'InfoCenter dal menu principale (Figura 31).
Utilizzate l'arresto del pedale virtuale per regolare la velocità di trazione massima secondo le vostre preferenze o l'applicazione specifica.
Non è possibile impostare un limite di velocità dell'arresto del pedale virtuale superiore alla velocità di trazione massima protetta impostata dal supervisore.
L'arresto del pedale virtuale è un'impostazione temporanea. Questa funzionalità torna alle impostazioni di velocità del supervisore quando la chiave viene spostata in posizione di SPEGNIMENTO.
Quando la velocità di trazione viene modificata dal supervisore nelle impostazioni del menu protetto o da voi tramite l'arresto del pedale virtuale, il pedale di comando della trazione viene automaticamente riprogrammato in modo che utilizzi l'intera corsa del pedale tra la posizione di folle e la nuova velocità massima impostata.
Impostare una velocità di trazione massima inferiore vi consente di controllare con precisione il sistema di trazione.

Quando utilizzate l'arresto del pedale virtuale, abbassate temporaneamente la velocità massima per le seguenti attività:
Passata di rifinitura sul fairway.
Utilizzo della macchina all'interno o nei pressi della rimessa.
Caricamento della macchina su un rimorchio.
Note: Una velocità massima inferiore consente un maggiore controllo della macchina durante queste attività.
Important: In situazioni di frenata di emergenza, togliete il piede dal pedale della trazione, quindi premete i pedali del freno.
Solo nell'intervallo di velocità minima potete utilizzare i freni singolarmente per sterzare o migliorare la trazione. Effettuate quanto segue durante l’utilizzo individuale dei freni:
Scollegate il fermo di bloccaggio dei pedali (Figura 32).
Per la sterzata assistita, premete il pedale del freno corrispondente al lato di sterzata. Questo consente un raggio di sterzata più stretto.
Note: Usate i singoli freni con attenzione, in particolare su erba morbida o bagnata, poiché potreste strappare accidentalmente il manto erboso.
Per la trazione assistita, applicate una leggera pressione al pedale del freno corrispondente allo pneumatico anteriore che slitta. Ad esempio, in alcune condizioni di pendenza, la ruota a monte slitta e perde di trazione. Se questa situazione dovesse verificarsi, premete il pedale del freno a monte gradualmente e in modo intermittente, fino a quando la ruota a monte non smette di slittare. Questa azione aumenta la trazione sulla ruota a valle.

Il comando elettronico della velocità blocca il controllo della velocità per mantenere la velocità di trasferimento desiderata. Premendo la parte posteriore dell'interruttore si spegne il comando elettronico della velocità, la posizione centrale dell'interruttore consente la funzione di comando elettronico della velocità, mentre la parte anteriore dell'interruttore imposta la velocità di trasferimento desiderata.
Una volta inserito il comando elettronico della velocità e regolata la velocità (Figura 33), utilizzate l’InfoCenter per regolare l’impostazione della velocità del comando elettronico della velocità (Figura 31 e Figura 34).
Per disinnestare il comando elettronico della velocità, effettuate quanto segue:
Nell'intervallo di velocità massima, premete il pedale di trazione in retromarcia, premete i freni di servizio o l’interruttore di comando elettronico della velocità in posizione di SPEGNIMENTO.
Nell'intervallo di velocità minima, premete il pedale di trazione in retromarcia, premete i freni di servizio, spegnete l’interruttore della PDF o premete l’interruttore di comando elettronico della velocità in posizione di SPEGNIMENTO.

Impostate una velocità di crociera per le lunghe distanze senza troppi ostacoli.
Su terreno accidentato, utilizzate l'InfoCenter per controllare la velocità.
Utilizzate il comando elettronico della velocità per le manovre come segue:
Impostate il comando elettronico della velocità a una velocità inferiore in cui vi sentiate comodi e sicuri in fase di inversione.
Premete il pedale della trazione per aumentare la velocità per la tosatura durante la passata di tosatura.
Togliete il piede dal pedale durante l'inversione per la passata di tosatura successiva.
La macchina rallenterà all'impostazione bassa del comando elettronico della velocità, permettendovi di effettuare una manovra efficiente a velocità costante.
Dopo l'inversione, utilizzate il pedale della trazione per aumentare nuovamente la velocità della macchina per la passata di tosatura successiva.
Questa impostazione determina la rapidità con cui la macchina cambia velocità di trazione e influisce sulla decelerazione della macchina nell'intervallo di velocità minima. Accedete ai menu protetti nell'InfoCenter per cambiare la modalità di accelerazione. La modalità di accelerazione presenta le 3 seguenti posizioni:
Minima – accelerazione e decelerazione inferiore
Media – accelerazione e decelerazione media
Massima – accelerazione e decelerazione superiore
La modalità manovra consente di sollevare con una sola, comoda azione, gli apparati di taglio al di sopra del tappeto erboso, arrestando temporaneamente le lame: in tal modo vi potete concentrare sulla guida della macchina alla fine di una passata di falciatura oppure per aggirare eventuali ostacoli.
Note: La modalità manovra è una caratteristica delle impostazioni protette.
Quando la modalità manovra è impostata su ON (attivata) potete spingere temporaneamente indietro il comando di sollevamento (Figura 11) per sollevare automaticamente tutti gli apparati di taglio dalla posizione di fluttuazione a un'altezza predefinita, disinnestando automaticamente la PDF. Per riprendere la falciatura, spingete avanti il comando di sollevamento. Tutti gli apparati di taglio si abbassano e la PDF entra di nuovo in funzione.
Quando la modalità manovra è impostata su OFF (disattivata), potete sollevare manualmente gli apparati di taglio dalla posizione di fluttuazione spingendo indietro e mantenendo in tale posizione tutti i comandi di sollevamento, fino a quando gli apparati di taglio non raggiungono l’altezza desiderata. Per le macchine Groundsmaster 4700, premete tutti e 3 i comandi di sollevamento per sollevare tutti e 7 gli apparati di taglio (Figura 11). La PDF non si disinnesta fino a quando gli apparati di taglio non raggiungono la stessa altezza predefinita raggiunta dagli apparati quando la modalità manovra è impostata su ON.
Note: La modalità manovra è ON (attivata) come predefinita.
Il sistema di contrappeso mantiene la contropressione idraulica sui cilindri di sollevamento dell’apparato di taglio. Il sistema di contrappeso monitora la pressione di trazione in tempo reale, modificando dinamicamente la contropressione del cilindro di sollevamento per ottimizzare la capacità di trazione e l’aspetto dopo il taglio. La pressione del contrappeso è stata impostata in stabilimento per garantire l'equilibrio ottimale tra aspetto dopo il taglio e capacità di trazione nella maggiore parte delle condizioni del tappeto erboso. La riduzione del contrappeso impostato può migliorare la stabilità dell’apparato di taglio, ma ridurre la capacità di trazione. L'aumento dell'impostazione del contrappeso può aumentare la capacità di trazione, ma potrebbe comportare difetti nell'aspetto finale dopo il taglio; fate riferimento a Impostazione del contrappeso.
I comandi delle impostazioni personalizzabili di contrappeso sono i seguenti:
Minima – la quantità massima di peso sugli apparati di taglio e il peso minimo sulle ruote di trasmissione
Media – peso medio sugli apparati di taglio e sulle ruote di trasmissione
Massima – la quantità minima di peso sugli apparati di taglio e il peso massimo sulle ruote di trasmissione della macchina
Con Smart Power l'operatore non dovrà servirsi dell'udito per capire se il motore è sotto sforzo. Lo Smart Power impedisce al motore di impantanarsi in condizioni di manto erboso denso controllando automaticamente la velocità della macchina e ottimizzando le prestazioni di taglio.
Note: La funzionalità Smart Power è ON (attivata) come predefinita.
Important: Spurgate l'impianto del carburante se si verifica una delle seguenti situazioni:
Il motore si è spento a causa dell'esaurimento del carburante.
È stato eseguito un intervento di manutenzione sui componenti dell’impianto di alimentazione.
Togliete il piede dal pedale della trazione e assicuratevi che il pedale sia in FOLLE. Verificate che il freno di stazionamento sia inserito.
Girate la chiave in posizione di FUNZIONAMENTO. La spia della candela a incandescenza dovrebbe illuminarsi.
Quando l'intensità della spia della candela a incandescenza si affievolisce, girate la chiave in posizione di AVVIAMENTO.
Important: Non fate girare il motorino di avviamento per più di 15 secondi per volta perché può danneggiarsi. Se il motore non si avvia dopo 15 secondi, girate la chiave in posizione di SPEGNIMENTO, controllate la posizione dei comandi e le procedure, attendete altri 15 secondi e ripetete la procedura di avviamento.
Rilasciate immediatamente la chiave quando il motore si avvia e lasciate che torni in posizione di FUNZIONAMENTO.
Se la temperatura è inferiore a -7 °C, è possibile azionare il motorino d'avviamento per 30 secondi seguiti da 60 secondi in posizione di spegnimento per due tentativi.
Important: Spegnete il motore e attendete che si raffreddi prima di controllare l'assenza di perdite d'olio, componenti allentati o altri malfunzionamenti.
Important: Al termine di un'operazione a pieno carico, lasciate girare il motore al minimo per cinque minuti prima di spegnerlo. Ciò consente al turbocompressore di raffreddarsi prima di spegnere il motore. La mancata osservanza di questa istruzione può causare l’avaria prematura del turbocompressore.
Note: Abbassate gli apparati di taglio al suolo ogni volta che parcheggiate la macchina, per scaricare il carico idraulico dal sistema, impedendo l'usura delle parti del sistema e l'abbassamento accidentale degli apparati stessi.
Spostate l’interruttore PDF in posizione di SPEGNIMENTO.
Inserite il freno di stazionamento.
Ruotate la chiave di accensione in posizione di SPEGNIMENTO.
Togliete la chiave per evitare l'avviamento accidentale del motore.
Note: Il taglio dell'erba a una frequenza che carica il motore promuove la rigenerazione FAP.
Disinnestate il freno e la PDF e sollevate gli apparati di taglio.
Selezionate la posizione H/L AUTO o MINIMA con l'interruttore dell'intervallo di velocità. Fate riferimento a Utilizzo dell'interruttore dell'intervallo di velocità massima e minima.
Note: Quando si seleziona la posizione H/L AUTO e gli apparati di taglio sono sollevati, la macchina selezionerà automaticamente l'intervallo di velocità massima.
Utilizzando il pedale della trazione come un pedale dell'acceleratore su un'auto, guidate la macchina sul sito di lavoro.
Allineate la macchina all'esterno dell'area di taglio per la prima passata di taglio.
Abbassate gli apparati di taglio con l'interruttore o gli interruttori a bilanciere.
Premete l'interruttore di sollevamento (GM4500) o l'interruttore di sollevamento centrale (GM4700) indietro per sollevare gli apparati di taglio in posizione di manovra.
Note: La posizione di manovra è disponibile solo se attivata nei menu protetti nell'InfoCenter. Premendo l'interruttore a bilanciere senza tenerlo premuto si sollevano gli apparati di taglio alla posizione di manovra e si arresta la rotazione delle lame fino a quando gli apparati di taglio non vengono abbassati.
Tirate l'interruttore della PDF per innestare gli apparati di taglio.
Note: Il regime del motore aumenta automaticamente al minimo superiore quando si abbassano gli apparati di taglio e si attiva l'interruttore della PDF.
Utilizzando il pedale della trazione, avvicinatevi all'area di tosatura lentamente e abbassate gli apparati di taglio con l'interruttore a bilanciere una volta che gli apparati di taglio anteriori non si trovano sull'area di tosatura.
Note: Fate pratica per garantire che gli apparati di taglio non si abbassino precocemente o tosino un'area indesiderata.
Iniziate a tosare l'area.
Quando completate la passata di tosatura, premete l'interruttore di sollevamento (GM4500) o l'interruttore di sollevamento centrale (GM4700) indietro per sollevare gli apparati di taglio in posizione di manovra.
Curvate seguendo una traiettoria approssimativamente a forma di goccia per allinearvi per la passata successiva.
Premete l'interruttore di sollevamento (GM4500) o l'interruttore di sollevamento centrale (GM4700) verso il basso per abbassare automaticamente gli apparati di taglio dalla posizione di manovra e continuare a tosare.
Il filtro antiparticolato (DPF) rimuove la fuliggine dal gas di scarico del motore.
Il processo di rigenerazione del DPF utilizza il calore proveniente dallo scarico del motore che viene amplificato dal catalizzatore per ridurre la fuliggine accumulata in cenere.
Per mantenere pulito il DPF occorre tenere a mente quanto segue.
Fate girare il motore al regime massimo tutte le volte che è possibile per favorire l'autopulizia del DPF.
Utilizzate olio motore appropriato.
Riducete il più possibile la quantità di tempo con il motore al minimo.
Utilizzate solo diesel con bassissimo tenore di zolfo.
Azionate la vostra macchina e manutenetela tenendo presente la funzione del DPF. Il motore sotto carico produce in genere una temperatura di scarico idonea alla rigenerazione del DPF.
Important: Riducete il più possibile la quantità di tempo con il motore al minimo, oppure azionate il motore a basso regime per contribuire a ridurre l'accumulo di fuliggine nel DPF.
Durante la rigenerazione DPF, la temperatura di scarico è molto alta (circa 600 °C. Il gas di scarico caldo può causare danni a voi o ad altre persone.
Non azionate il motore in un'area chiusa.
Accertatevi che non vi siano materiali infiammabili in prossimità del sistema di scarico.
Accertatevi che il gas di scarico caldo non venga a contatto con superfici che potrebbero venire danneggiate dal calore.
Non toccate un componente del sistema di scarico caldo.
Non posizionatevi vicino o attorno al tubo di scarico della macchina.
| Icona | Definizione delle icone |
![]() | • Icona Rigenerazione parcheggiata o di recupero: la rigenerazione è necessaria. |
| • Eseguite immediatamente la rigenerazione. | |
![]() | • La rigenerazione è stata riconosciuta e la richiesta è in elaborazione. |
![]() | • La rigenerazione è in corso e la temperatura di scarico è elevata. |
![]() | • Avaria del sistema di controllo NOx; la macchina necessita di assistenza. |
| Tipo di rigenerazione | Condizioni che causano la rigenerazione del FAP | Descrizione del funzionamento del DPF |
|---|---|---|
| Passivo | Si verifica durante il normale funzionamento della macchina ad alto regime del motore o ad alto carico del motore | • L'InfoCenter non visualizza un'icona indicante la rigenerazione passiva. |
| • Durante la rigenerazione passiva, il FAP tratta gas di scarico con temperatura elevata, ossidando le emissioni nocive e bruciando la fuliggine in cenere. | ||
| Assistito | Si verifica a causa del basso regime del motore, basso carico del motore o quando il computer rileva la crescente ostruzione del FAP da parte della fuliggine | • L'InfoCenter non visualizza un'icona indicante la rigenerazione assistita. |
| • Durante la rigenerazione assistita, il computer del motore regola le impostazioni del motore al fine di aumentare la temperatura di scarico. | ||
| Ripristino | Ha luogo ogni 100 ore | • Quando nell'InfoCenter viene visualizzata
l'icona della temperatura di scarico elevata , è in corso una
rigenerazione. |
| Ha luogo anche quando a fronte di un normale funzionamento del motore la quantità di fuliggine accumulata supera quella consentita all'interno del filtro. | ||
| • Durante la rigenerazione di recupero, il computer del motore mantiene elevati i giri del motore per garantire la rigenerazione del filtro. |
| Tipo di rigenerazione | Condizioni che causano la rigenerazione del FAP | Descrizione del funzionamento del DPF |
|---|---|---|
| Parcheggiata | Ha luogo perché il computer stabilisce che la pulizia automatica del DPF è insufficiente. | • Quando viene visualizzata l'icona
della rigenerazione di ripristino in stand by o della rigenerazione
parcheggiata o di recupero è necessario procedere alla rigenerazione. |
| Ha luogo anche perché avviate una rigenerazione parcheggiata. | ||
| Può aver luogo perché è stata avviata l'inibizione della rigenerazione che ha disattivato la pulizia automatica del DPF | • Effettuate la rigenerazione parcheggiata appena possibile per evitare la necessità di una rigenerazione di recupero. | |
| Potrebbe essere dovuta all'uso di un carburante o un olio motore non corretti | • Il completamento di una rigenerazione parcheggiata richiede da 30 a 60 minuti. | |
| • Il serbatoio deve contenere almeno 1/4 di carburante. | ||
| • Dovete parcheggiare la macchina per effettuare una rigenerazione parcheggiata. | ||
| Recupero | Ha luogo perché la richiesta di rigenerazione parcheggiata è stata ignorata, consentendo al DPF di raggiungere un punto critico di intasamento. | • Quando viene visualizzata l'icona della
rigenerazione di ripristino in stand by o della rigenerazione parcheggiata
o di recupero , è necessario procedere alla rigenerazione di recupero. |
| • Il completamento di una rigenerazione di recupero richiede fino a 3 ore. | ||
| • La macchina deve avere almeno ½ serbatoio di carburante. | ||
| • Dovete parcheggiare la macchina per effettuare una rigenerazione di recupero. |
Dal MAIN MENU (MENU PRINCIPALE), scorrete verso il basso fino alla voce SERVICE (REVISIONE) e premete il pulsante seleziona.
Nel menu SERVICE (REVISIONE), scorrete fino alla voce DPF REGENERATION (RIGENERAZIONE DEL DPF) e premete il pulsante seleziona.
Selezionate la funzione di rigenerazione desiderata.

Accedete al menu DPF REGENERATION (RIGENERAZIONE DEL DPF) e scorrete fino all'opzione LAST REGEN (ULTIMA RIGENERAZIONE).
Selezionate la voce LAST REGEN (ULTIMA RIGENERAZIONE).
Utilizzate il campo LAST REGEN per sapere per quante ore è stato in funzione il motore dall’ultima rigenerazione di ripristino, parcheggiata o di recupero.
Usate il pulsante indietro per tornare alla schermata DPF REGENERATION (RIGENERAZIONE DEL DPF).

Una rigenerazione di ripristino produce un'elevata quantità di scarichi. Se state utilizzando la macchina vicino ad alberi, cespugli, erba alta o a piante e materiali sensibili alla temperatura, potete usare l'impostazione INHIBIT REGEN (Inibisci rigenerazione) per impedire al computer del motore di eseguire una rigenerazione di ripristino.
Note: L'opzione INHIBIT REGEN viene utilizzata sempre quando si esegue la manutenzione in un'area chiusa.
Note: Se è impostato per inibire la rigenerazione, ogni 15 minuti l’InfoCenter visualizza un avviso mentre il motore richiede una rigenerazione di ripristino.
Important: Quando spegnete e riavviate il motore, l’inibizione della rigenerazione si imposta di default su SPEGNIMENTO.
Accedete al menu DPF REGENERATION (RIGENERAZIONE DEL DPF) e scorrete in basso fino all'opzione INHIBIT REGEN (INIBISCI RIGENERAZIONE).
Selezionate la voce INHIBIT REGEN.
Modificate l'impostazione di inibizione della rigenerazione da OFF a ON.
Accertatevi che la macchina abbia carburante sufficiente nel serbatoio per il tipo di rigenerazione che eseguite:
Parked Regeneration (Rigenerazione parcheggiata): Accertatevi di avere 1/4 di serbatoio di carburante prima di eseguire la rigenerazione assistita.
Recovery Regeneration (Rigenerazione di recupero): Accertatevi di avere 1/2 serbatoio di carburante prima di eseguire la rigenerazione di recupero.
Spostate la macchina all'aperto, lontano da materiali combustibili o da cose che il calore potrebbe danneggiare.
Parcheggiate la macchina su una superficie pianeggiante, portate tutti i comandi in posizione di FOLLE, disinnestate la PDF e abbassate gli apparati di taglio.
Innestate il freno di stazionamento e lasciate che il motore raggiunga il minimo inferiore.
Quando il computer del motore richiede una rigenerazione parcheggiata, seguite le indicazioni dei messaggi dell'InfoCenter.
Important: Se aumentate il regime del motore oltre il minimo inferiore oppure disinserite il freno di stazionamento, il computer della macchina cancella la rigenerazione DPF.
Accedete al menu DPF REGENERATION (RIGENERAZIONE DEL DPF) e scorrete verso il basso fino all'opzione PARKED REGEN (RIGENERAZIONE PARCHEGGIATA) o RECOVERY REGEN (RIGENERAZIONE DI RECUPERO).
Selezionate la voce PARKED REGEN o RECOVERY REGEN.
Note: L'avvio di una rigenerazione di recupero richiede l'inserimento del codice PIN.
Nella schermata REGEN PARAMETERS (PARAMETRI RIGENERAZIONE) verificate che, se state eseguendo una rigenerazione parcheggiata, il serbatoio sia pieno di carburante per 1/4 della sua capacità o, se state eseguendo una rigenerazione di recupero, sia pieno di carburante per la metà della sua capacità. Verificate che il freno di stazionamento sia inserito e che la velocità del motore sia impostata sul minimo inferiore. Premete il pulsante seleziona per continuare.
Nella schermata INITIATE DPF REGEN (AVVIO RIGENERAZIONE DPF) selezionate il pulsante successiva per continuare.
L’InfoCenter visualizza il messaggio INITIATE DPF REGEN (AVVIO RIGENERAZIONE DPF).
Note: Se opportuno, selezionate l'icona annulla per annullare il processo di rigenerazione.
L’InfoCenter visualizza il messaggio relativo al tempo di completamento.
L’InfoCenter visualizza la schermata Home e
l’icona di acquisizione della rigenerazione (
).
Note: Mentre è in corso la rigenerazione DPF l’InfoCenter
visualizza l’icona della temperatura di scarico elevata
.
Dopo che il computer del motore ha terminato una rigenerazione parcheggiata o di recupero, sull'InfoCenter viene visualizzato un avviso. Premete qualsiasi pulsante per uscire dalla schermata Home.
Note: Se non riuscite a completare la rigenerazione, seguite gli avvisi e premete uno qualsiasi dei pulsanti per uscire dalla schermata Home.
Usate l’impostazione PARKED REGEN CANCEL (Annulla rigenerazione parcheggiata) o RECOVERY REGEN CANCEL (Annulla rigenerazione di recupero) per annullare un processo di rigenerazione parcheggiata o di recupero in esecuzione.
Accedete al menu DPF REGENERATION (RIGENERAZIONE DEL DPF) e scorrete fino all'opzione PARKED REGEN (RIGENERAZIONE PARCHEGGIATA) o RECOVERY REGEN (RIGENERAZIONE DI RECUPERO).
Premete il pulsante seleziona per annullare una rigenerazione parcheggiata o di recupero.

La ventola di raffreddamento del motore è normalmente controllata dalla macchina. La macchina ha la capacità di invertire la ventola per soffiare via i detriti dalla griglia posteriore. In normali condizioni operative, la macchina controlla la velocità e la direzione della ventola in base alla temperatura del refrigerante e del fluido idraulico e la ventola inverte automaticamente la direzione per soffiare via i detriti dalla griglia posteriore.
Potete invertire manualmente la ventola premendo i 2 pulsanti esterni o i 2 pulsanti interni destro e sinistro dell'InfoCenter (Figura 38) per 2 secondi: la ventola completa un ciclo inverso inizializzato manualmente. Invertite la ventola quando la griglia posteriore è ostruita o prima di portare la macchina in officina o in una zona di rimessaggio.

Modificate spesso gli schemi di tosatura per ridurre al minimo i problemi di aspetto dopo il taglio dovuti agli interventi ripetuti in un'unica direzione.
Fate riferimento alla Guida alla risoluzione dei problemi dopo il taglio, disponibile sul sito www.Toro.com.
Per iniziare la tosatura innestate gli apparati di taglio ed avvicinatevi lentamente all'area da tosare. Non appena gli apparati di taglio anteriori si trovano sull'area da tosare, abbassate gli apparati di taglio.
Per ottenere un taglio professionale in linea retta e le strisce richieste in alcuni casi, scegliete un albero o un altro oggetto lontano e guidate diritti verso di esso.
Non appena gli apparati di taglio anteriori raggiungono il bordo dell'area di tosatura, sollevate gli apparati di taglio ed effettuate una svolta a forma di lacrima per allinearvi rapidamente per la passata successiva.
Sono disponibili deflettori imbullonati per mulching per gli apparati di taglio. I deflettori per mulching sono molto efficaci quando mantenete il tappeto erboso a intervalli regolari, per evitare di falciare più di 25 mm di crescita per taglio. Quando sono montati i deflettori di mulching e lo sfalcio tagliato è troppo lungo, l'aspetto del tappeto erboso tosato può deteriorare e si registra un aumento della potenza di taglio del tappeto erboso. I deflettori di mulching sono efficaci anche per trinciare le foglie in autunno.
Durante la tosatura, rimuovete un'altezza dell'erba non superiore a circa 25 mm o 1/3 dell'altezza del filo d'erba. Nel caso di tappeti erbosi lussureggianti e fitti è talvolta necessario sollevare l'altezza di taglio alla regolazione.
La lama affilata falcia con precisione, senza strappare o sminuzzare i fili d'erba come nel caso delle lame smussate. Quando l'erba viene strappata o spezzata, tende a scurirsi all'estremità; questo ne indebolisce la crescita e aumenta la vulnerabilità alle malattie. Verificate che la lama sia in buone condizioni e che la costa sia intatta; fate riferimento a Revisione della lama.
Verificate che gli alloggiamenti di taglio siano in buono stato. Raddrizzate i componenti nell'alloggiamento che si sono eventualmente piegati, per mantenere la corretta luce fra la punta della lama e l'alloggiamento. Assicuratevi che tutti i rulli e i giunti articolati non presentino gioco per evitare danni al tappeto erboso o un aspetto dopo il taglio di scarsa qualità.
Dopo la tosatura, lavate accuratamente la macchina con un tubo di gomma da giardino, senza ugello, in modo da evitare la contaminazione e danni alle guarnizioni e ai cuscinetti causati da una pressione eccessiva dell'acqua. Verificate che il radiatore ed il radiatore dell'olio siano esenti da morchia e sfalcio. Terminata la pulizia, ispezionate la macchina per accertare che non vi siano perdite di fluido idraulico, danni o usura dei componenti idraulici o meccanici e controllate l'affilatura delle lame degli apparati di taglio.
Spegnete il motore, togliete la chiave e attendete che tutte le parti in movimento si arrestino prima di abbandonare la posizione dell'operatore. Lasciate raffreddare la macchina prima di eseguire interventi di regolazione, manutenzione, pulizia o prima del rimessaggio.
Per contribuire a ridurre il rischio di incendi, accertatevi che gli apparati di taglio, gli scarichi, le griglie di raffreddamento e il vano motore non presentino accumuli di erba o detriti. Pulite eventuali fuoriuscite di olio o carburante.
Se gli apparati di taglio sono in posizione di trasferimento, utilizzate il blocco meccanico positivo (se disponibile) prima di lasciare la macchina incustodita.
Lasciate raffreddare il motore prima di riporre la macchina in un ambiente chiuso.
Togliete la chiave (se in dotazione) e interrompete l'erogazione di carburante prima di rimessare o trainare la macchina.
Non depositate mai la macchina o la tanica del carburante in presenza di fiamme libere, scintille o spie (ad es. vicino a uno scaldabagno o altre apparecchiature).
Effettuate la manutenzione e la pulizia delle cinture di sicurezza in base alla necessità.
Utilizzate i cordini di rimessaggio degli apparati di taglio per evitare che gli apparati di taglio anteriori esterni si abbassino quando la macchina è parcheggiata in rimessa durante la notte o quando non viene utilizzata per un tempo prolungato. Potete utilizzare i cordini di rimessaggio degli apparati di taglio anche per evitare che gli apparati di taglio si abbassino mentre la macchina viene trasferita da un’area di tosatura a un’altra.

Assicuratevi che la PDF sia disinnestata.
Parcheggiate la macchina su terreno pianeggiante.
Inserite il freno di stazionamento.
Sollevate completamente gli apparati di taglio.
Allineate il cordino all’albero portante del braccio di sollevamento dell’apparato di taglio anteriore esterno (Figura 40).

Fate scorrere l’occhiello del cordino sull’albero portante fino a quando non è completamente inserito nella scanalatura sull’albero (Figura 40).
Ripetete i passaggi 5 e 6 per l’apparato di taglio anteriore esterno sull’altro lato della macchina.
Important: Prima di abbassare gli apparati di taglio, sfilate i cordini dagli alberi portanti
Note: Riponete i cordini quando non li utilizzate.
Assicuratevi che la PDF sia disinnestata.
Parcheggiate la macchina su terreno pianeggiante.
Inserite il freno di stazionamento.
Con gli apparati di taglio abbassati, infilate l’occhiello del cordino nella fessura presente nella piastra di rinforzo del supporto del rullo (Figura 41).

Utilizzate i 2 fermi di trasferimento posteriori per gli apparati di taglio n. 6 e 7 (Figura 15) quando spostate la macchina su lunghe distanze, terreno accidentato, durante il trasferimento o il rimessaggio della macchina.

Togliete la chiave e interrompete l’erogazione di carburante (se in dotazione) prima di rimessare o trainare la macchina.
Prestate la massima attenzione durante il carico e lo scarico della macchina da un rimorchio o da un autocarro.
Utilizzate rampe a tutta larghezza per caricare la macchina su un rimorchio o un autocarro.
Fissate la macchina in sicurezza.
In caso di emergenza, potete spostare la macchina in avanti azionando la funzione di bypass situata nella pompa idraulica a portata variabile e spingendo o trainando la macchina.
Important: Non spingete né trainate la macchina a velocità superiori a 3-4,8 km/h. Se spingete o trainate a velocità maggiore, la trasmissione interna può danneggiarsi.Le valvole di sfogo devono essere aperte ogni volta che spingete o trainate la macchina.
Aprite il cofano e individuate le valvole di sfogo (Figura 43) sopra alla pompa, dietro alla cassetta della batteria/al vano portaoggetti.
Girate ogni valvola di 3 giri in senso antiorario per aprirla e consentire al fluido di bypassare internamente.
Note: Non aprite la valvola più di 3 giri. Dal momento che il fluido viene bypassato, potete spostare lentamente la macchina senza danneggiare la trasmissione.


Spingete o trainate la macchina in avanti.
Important: Se dovete spingere o trainare la macchina in retromarcia, fate riferimento al Kit di traino in retromarcia (componente n. 136-3620).
Dopo aver terminato di spingere o di trainare la macchina, chiudete le valvole di sfogo. Serrate la valvola a 70 N∙m.
Note: Utilizzate cinghie idonee e approvate dal Dipartimento dei trasporti sui 4 angoli per ancorare la macchina.
Su ciascun lato del telaio, accanto alla piattaforma dell'operatore
Sul paraurti posteriore


Note: Stabilite i lati sinistro e destro della macchina rispetto alla normale posizione di guida.
Important: Per ulteriori interventi di manutenzione si rimanda al manuale d'uso del motore.
Important: Se state eseguendo la manutenzione della macchina e il motore funziona con un condotto di estrazione dello scarico, impostate la funzione di inibizione della rigenerazione su ON; fate riferimento a Impostazione dell’inibizione della rigenerazione.
Note: Per scaricare una copia gratuita dello schema elettrico o idraulico visitate il sito www.Toro.com e cercate la vostra macchina al link Manuali sulla home page.
Prima di abbandonare la posizione dell'operatore, effettuate le seguenti operazioni:
Parcheggiate la macchina su terreno pianeggiante.
Disinnestate la presa di forza e abbassate al suolo l'attrezzatura.
Inserite il freno di stazionamento.
Spegnete il motore e togliete la chiave.
Attendete che ogni movimento si arresti.
Indossate indumenti appropriati, incluse protezioni per gli occhi, pantaloni lunghi e calzature antiscivolo robuste. Tenete mani, piedi, indumenti, gioielli e capelli lunghi lontano dalle parti in movimento.
Se lasciate la chiave nell'interruttore, qualcuno potrebbe accidentalmente avviare il motore e ferire gravemente voi o altre persone. Togliete la chiave dall'interruttore prima di eseguire qualunque intervento di manutenzione.
Lasciate che i componenti della macchina si raffreddino prima di eseguire la manutenzione.
Se gli apparati di taglio sono in posizione di trasferimento, utilizzate il blocco meccanico positivo (se in dotazione) prima di lasciare la macchina incustodita.
Se possibile, non effettuate la manutenzione con il motore in funzione. Tenetevi a distanza dalle parti in movimento.
Azionate il motore solo in aree ben ventilate. I gas di scarico possono contenere monossido di carbonio, che è letale se inalato.
Sostenete la macchina con cavalletti metallici ogni qualvolta lavorate sotto la macchina.
Scaricate con cautela la pressione dai componenti che hanno accumulato energia.
Mantenete tutte le parti della macchina in buone condizioni di funzionamento e tutti i componenti adeguatamente serrati, soprattutto la bulloneria degli accessori delle lame.
Sostituite tutti gli adesivi consumati o danneggiati.
Per garantire prestazioni sicure e ottimali della macchina, adoperate solo ricambi Toro originali. L'uso di ricambi di altri costruttori può essere pericoloso e può annullare la garanzia del prodotto.
| Cadenza di manutenzione | Procedura di manutenzione |
|---|---|
| Dopo la prima ora |
|
| Dopo le prime 10 ore |
|
| Dopo le prime 50 ore |
|
| Dopo le prime 200 ore |
|
| Prima di ogni utilizzo o quotidianamente |
|
| Ogni 50 ore |
|
| Ogni 100 ore |
|
| Ogni 200 ore |
|
| Ogni 400 ore |
|
| Ogni 500 ore |
|
| Ogni 800 ore |
|
| Ogni 1000 ore |
|
| Ogni 2000 ore |
|
| Ogni 3000 ore |
|
| Prima del rimessaggio |
|
| Ogni 2 anni |
|
Se lasciate la chiave nel relativo interruttore, qualcuno potrebbe accidentalmente avviare il motore e ferire gravemente voi o gli astanti.
Togliete la chiave prima di ogni intervento di manutenzione.
Fotocopiate questa pagina e utilizzatela quando opportuno.
| Punto di verifica per la manutenzione | Per la settimana di: | ||||||
|---|---|---|---|---|---|---|---|
| Lunedì | Martedì | Mercoledì | Giovedì | Venerdì | Sabato | Domenica | |
| Controllate il funzionamento dei microinterruttori di sicurezza. | |||||||
| Verificate il funzionamento dei freni. | |||||||
| Controllate il livello dell'olio motore. | |||||||
| Controllate il livello del fluido dell'impianto di raffreddamento. | |||||||
| Spurgate il separatore di condensa/carburante. | |||||||
| Controllate il filtro dell'aria, il cappuccio antipolvere e la valvola di sfogo. | |||||||
| Controllate i rumori insoliti del motore.1 | |||||||
| Verificate che non vi siano detriti nel radiatore o nella griglia | |||||||
| Controllate se l'uso produce rumori anomali. | |||||||
| Controllate il livello del fluido idraulico. | |||||||
| Accertatevi che i tubi idraulici non siano danneggiati. | |||||||
| Verificate che non ci siano perdite di liquido. | |||||||
| Controllate il livello del carburante. | |||||||
| Controllo della pressione degli pneumatici. | |||||||
| Verificate il funzionamento degli strumenti. | |||||||
| Controllate la regolazione dell'altezza di taglio. | |||||||
| Lubrificate i raccordi di ingrassaggio.2 | |||||||
| Pulite la macchina. | |||||||
| Ritoccate eventuale vernice danneggiata. | |||||||
|
1Controllate la candela a incandescenza e gli ugelli dell'iniettore, se notate un avviamento difficile, fumo eccessivo o il funzionamento anomalo del motore. 2Immediatamente dopo ogni lavaggio, indipendentemente dalla cadenza indicata. |
|||||||
Important: Per ulteriori interventi di manutenzione si rimanda al manuale per l'uso del motore.
| Ispezione eseguita da: | ||
| Art. | Data | Informazioni |
Utilizzate i seguenti punti di sollevamento per la macchina:
Parte anteriore della macchina: sul telaio della macchina, davanti ai motori di trasmissione delle ruote (Figura 46)
Important: Non supportate la macchina dai motori di trasmissione delle ruote. Mantenete l'attrezzatura di sollevamento lontano da tubazioni e flessibili idraulici.

Parte posteriore della macchina: al centro dell'assale (Figura 47)
Individuate i cavalletti metallici della capacità specificata su entrambi i lati della scatola degli ingranaggi e sotto l'assale.
Important: Non supportate la macchina dal tirante.

Inclinate il cofano per avere accesso al telaio, come illustrato nella Figura 48.

Inclinate il sedile per avere accesso al vano di sollevamento idraulico, come illustrato nella Figura 49.

| Cadenza di manutenzione | Procedura di manutenzione |
|---|---|
| Ogni 50 ore |
|
Specifiche del grasso: grasso n. 2 al litio
Posizione e numero di raccordi per ingrassaggio:
Cuscinetti orientabili dell'albero del freno (5) come illustrato nella Figura 50

Boccole orientabili dell'assale posteriore (2) come illustrato nella Figura 51

Giunti a sfera del cilindro di sterzo (2) come illustrato nella Figura 52

Giunti a sfera del tirante (2) come illustrato nella Figura 52
Boccole del perno del fuso a snodo (2) come illustrato nella Figura 52
Important: Lubrificate il raccordo superiore sul perno del fuso a snodo non più di una volta all'anno (2 pompe).
Boccole del braccio di sollevamento (1 per apparato di taglio) come illustrato nella Figura 53

Boccole del cilindro di sollevamento (2 per apparato di taglio) come illustrato nella Figura 53
Cuscinetti dell'asse del fusello dell'apparato di taglio (2 per apparato di taglio) come illustrato nella Figura 54
Note: Potete utilizzare qualsiasi raccordo, in base a quale è più accessibile. Pompate il grasso nel raccordo finché non fuoriesce leggermente dalla base della sede del fusello (sotto l’apparato di taglio).

Boccole del braccio portante dell'apparato di taglio (1 per apparato di taglio) come illustrato nella Figura 54
Cuscinetti del rullo posteriore (2 per apparato di taglio) come illustrato nella Figura 55

Important: Assicuratevi che la scanalatura di ingrassaggio in ogni supporto del rullo sia allineata con il foro di ingrassaggio di ogni estremità dell'albero del rullo. Per rendere più semplice l'allineamento di scanalatura e foro, è presente un apposito segno su 1 estremità dell'albero del rullo.
Prima di controllare l'olio o di rabboccare la coppa, spegnete il motore e togliete la chiave.
Non cambiate la velocità del regolatore e non utilizzate il motore a velocità eccessiva.
| Cadenza di manutenzione | Procedura di manutenzione |
|---|---|
| Ogni 400 ore |
|
Verificate che il corpo del filtro dell'aria sia privo di danni che possano causare una fuoriuscita d'aria. Sostituitelo se è danneggiato. Verificate che l'intero sistema di presa d'aria non sia danneggiato, non accusi perdite e che le fascette stringitubo non siano allentate.
Effettuate la manutenzione del filtro dell'aria quando l'indicatore (Figura 56) lo richiede. Sostituendo il filtro dell’aria prima del necessario si aumenta il rischio che la morchia penetri nel motore quando si toglie il filtro.

Important: Verificate che il coperchio si chiuda ermeticamente intorno al corpo del filtro.
Sostituite il filtro dell’aria (Figura 57).


Note: Non pulite un elemento usato perché la pulizia potrebbe danneggiare il mezzo filtrante.
Important: Non cercate mai di pulire il filtro di sicurezza (Figura 58). Sostituitelo ogni 3 interventi di manutenzione sul filtro primario.

Se la spia (Figura 56) è rossa, resettatela.
Utilizzate olio motore di alta qualità e basso contenuto di cenere che soddisfi o superi le seguenti specifiche:
Categoria API Service CJ-4 o superiori
Categoria ACEA Service E6
Categoria JASO Service DH-2
Important: L'utilizzo di olio motore diverso da API CJ-4 o superiori, ACEA E6 o JASO DH-2 può causare l'otturazione del filtro antiparticolato o danni al motore.
Utilizzate il seguente grado di viscosità dell'olio motore:
Olio di preferenza: SAE 15W-40 (sopra -18 ° F)
Olio alternativo: SAE 10W-30 o 5W-30 (tutte le temperature)
L'olio motore premium Toro è disponibile presso il vostro distributore Toro autorizzato nei gradi di viscosità 15W-40 o 10W-30. Vedere i numeri delle parti nel Catalogo ricambi.
| Cadenza di manutenzione | Procedura di manutenzione |
|---|---|
| Prima di ogni utilizzo o quotidianamente |
|
Al momento della fornitura la coppa del motore contiene dell'olio, il cui livello deve tuttavia essere controllato prima e dopo il primo avvio del motore.
Important: Controllate l'olio motore quotidianamente. Se il livello dell'olio è superiore alla tacca di pieno sull'asta di livello, l'olio motore potrebbe essere diluito con carburante;Se il livello dell'olio motore è superiore alla tacca di pieno, occorre cambiare l'olio motore.
Il momento migliore per controllare l'olio del motore è a motore freddo prima che venga avviato per la giornata. Se è già stato avviato, lasciate che l'olio ritorni nel pozzetto per almeno 10 minuti prima di controllarlo. Se il livello dell'olio è pari o sotto la tacca di aggiunta sull'asta, aggiungere olio fino a portarne il livello alla tacca di pieno. Non riempite eccessivamente il motore d'olio
Important: Mantenete il livello dell'olio motore entro i limiti superiore e inferiore dell'asta di livello; il motore potrebbe danneggiarsi se lo azionate con troppo o troppo poco olio.
Controllate il livello dell'olio del motore; fate riferimento a Figura 59.


Note: Quando utilizzate un olio differente dal precedente, drenate completamente l'olio usato dalla coppa prima di aggiungere quello nuovo.
Circa 5,7 litri con il filtro.
| Cadenza di manutenzione | Procedura di manutenzione |
|---|---|
| Ogni 500 ore |
|
Note: Per ripristinare la spia della revisione nell'InfoCenter; fate riferimento a Impostazione del timer della revisione.
Avviate il motore e lasciatelo in moto per circa 5 minuti per far riscaldare l'olio.
Parcheggiate la macchina su terreno pianeggiante, inserite il freno di stazionamento, spegnete il motore e togliete la chiave.
Sostituite l’olio motore e il filtro (Figura 60).


Aggiungete olio nella coppa; fate riferimento alla sezioneCapacità della coppa dell'olio e Controllo del livello dell'olio motore.
| Cadenza di manutenzione | Procedura di manutenzione |
|---|---|
| Ogni 3000 ore |
|
Fate riferimento alla sezione Motore nel Manuale di manutenzione per le informazioni su smontaggio e montaggio del catalizzatore di ossidazione diesel e del filtro antifuliggine del FAP.
Contattate il vostro distributore Toro autorizzato per i ricambi o la manutenzione del catalizzatore di ossidazione diesel e il filtro antifuliggine.
Contattate il vostro distributore Toro autorizzato per resettare l'ECU del motore dopo l'installazione di un FAP pulito.
In determinate condizioni, il gasolio e i vapori del carburante sono estremamente infiammabili ed esplosivi. Un incendio o un'esplosione causati dal carburante possono ustionare voi o altre persone e causare danni.
Utilizzate un imbuto per rabboccare il serbatoio del carburante all'aperto, in una zona spaziosa e a motore spento e freddo, e tergete il carburante versato.
Non riempite completamente il serbatoio. Versate del carburante nel serbatoio fino a 6–13 mm sotto la base del collo del bocchettone di riempimento. Questo spazio consentirà l'espansione del carburante.
Non fumate mai quando maneggiate il carburante, e state lontani da fiamme libere o dove i fumi di carburante possano essere accesi da una scintilla.
Conservate il carburante in una tanica pulita ed omologata ai fini di sicurezza, con il tappo chiuso.
| Cadenza di manutenzione | Procedura di manutenzione |
|---|---|
| Ogni 800 ore |
|
| Prima del rimessaggio |
|
Oltre all'intervallo di manutenzione indicato, eseguite questa operazione se l'impianto di alimentazione viene contaminato o se la macchina non sarà utilizzata per un lungo periodo. Utilizzate del carburante pulito per lavare il serbatoio.
| Cadenza di manutenzione | Procedura di manutenzione |
|---|---|
| Ogni 400 ore |
|
Controllate i tubi di alimentazione per accertarvi dell'assenza di deterioramenti, danni o raccordi allentati.

| Cadenza di manutenzione | Procedura di manutenzione |
|---|---|
| Prima di ogni utilizzo o quotidianamente |
|
Spurgate la condensa dal separatore di condensa/carburante come illustrato nella Figura 62.

| Cadenza di manutenzione | Procedura di manutenzione |
|---|---|
| Ogni 400 ore |
|
Sostituite la scatola del filtro del carburante come illustrato nella Figura 63.

| Cadenza di manutenzione | Procedura di manutenzione |
|---|---|
| Ogni 400 ore |
|
Pulite le superfici circostanti la testa del filtro del carburante (Figura 64).

Togliete il filtro e pulite la superficie di montaggio della testa del filtro (Figura 64).
Lubrificate la guarnizione del filtro con olio motore di lubrificazione pulito; fate riferimento al manuale d'uso del motore per ulteriori informazioni.
Montate a mano la scatola del filtro asciutto finché la guarnizione non tocca la testa del filtro, poi ruotatela per un altro mezzo giro.
Innescate il filtro e le linee alla pompa ad alta pressione; fate riferimento a Innesco dell'impianto del carburante.
Avviate il motore e ispezionate nuovamente per escludere fuoriuscite attorno alla testa del filtro.
Il tubo di adduzione del carburante, situato all'interno del serbatoio carburante, è provvisto di una griglia che contribuisce ad impedire a corpi estranei di entrare nell'impianto di alimentazione. Togliete il tubo di adduzione del carburante e pulite la griglia come opportuno.
Rimuovete la fascetta stringitubo che fissa il flessibile di alimentazione del carburante al raccordo del tubo di adduzione del carburante (Figura 65).

Separate il flessibile dal raccordo (Figura 65).
Sollevate il tubo di adduzione del carburante dal serbatoio del carburante (Figura 65).
Note: Sollevate il tubo in linea retta dalla boccola nel serbatoio.
Pulite eventuali detriti dalla griglia all'estremità del tubo di adduzione del carburante (Figura 65).
Inserite il tubo di adduzione del carburante attraverso la boccola in gomma e nel serbatoio (Figura 65).
Note: Assicuratevi che il tubo di adduzione del carburante sia completamente in sede nella boccola in gomma.
Montate il flessibile di alimentazione sul raccordo del tubo di adduzione del carburante e fissate il flessibile con la fascetta stringitubo che avete rimosso al passaggio 1.
Innescate l'impianto del carburante prima di avviare il motore per la prima volta, una volta esaurito il carburante o dopo un intervento di manutenzione all'impianto del carburante (ad es., spurgo del filtro/separatore di condensa, sostituzione di un flessibile del carburante).
Per innescare l’impianto del carburante eseguite i passaggi seguenti:
Verificate che il serbatoio contenga carburante.
Effettuate i seguenti passaggi per innescare il filtro e le linee alla pompa ad alta pressione per evitare usura o danni alla pompa:
Girate la chiave in posizione di ACCENSIONE per 15-20 secondi.
Girate la chiave in posizione di SPEGNIMENTO per 30-40 secondi.
Note: Questo consente di spegnere l’ECU.
Girate la chiave in posizione di ACCENSIONE per 15-20 secondi.
Ispezionate per escludere fuoriuscite attorno al filtro e ai flessibili.
Important: Non utilizzate il motorino di avviamento del motore per avviare il motore e innescare l'impianto del carburante.
Scollegate la batteria prima di riparare la macchina. Scollegate prima il morsetto negativo, poi quello positivo. Collegate prima il morsetto positivo, poi quello negativo.
Caricate la batteria in un'area aperta e ben ventilata, lontano da fiamme e scintille. Togliete la spina del caricabatterie prima di collegare o scollegare la batteria. Indossate indumenti di protezione e adoperare utensili isolati.
| Cadenza di manutenzione | Procedura di manutenzione |
|---|---|
| Ogni 50 ore |
|
Important: Prima di effettuare interventi di saldatura sulla macchina, scollegate il cavo negativo dalla batteria per evitare di danneggiare l’impianto elettrico. Inoltre, dovete scollegare il motore, l'InfoCenter e i controller della macchina prima di effettuare operazioni di saldatura sulla macchina.
Note: Mantenete puliti i morsetti e la scatola della batteria, poiché le batterie sporche si scaricano lentamente. Per pulire la batteria, lavate la scatola completa con una soluzione di bicarbonato di sodio e acqua. Risciacquate con acqua pulita. Per impedire la corrosione, ricoprite i morsetti della batteria e i connettori dei cavi con grasso Grafo 112X (rivestimento) (n. di parte Toro 505-47) o vaselina.
Allentate il fermo del coperchio del vano portaoggetti di destra e sollevate il coperchio (Figura 68).
L'elettrolito della batteria contiene acido solforico, che è fatale se consumato e causa gravi ustioni.
Non bevete l’elettrolito, e non lasciate che venga a contatto con la pelle, gli occhi o gli indumenti. Indossate occhiali di protezione per proteggere gli occhi, e guanti di gomma per proteggere le mani.
Riempite la batteria nelle vicinanze di acqua pulita, per lavare la pelle.
Togliete la protezione di gomma dal morsetto positivo e ispezionate la batteria.
Rimuovete il cavo negativo (nero) dal morsetto negativo (-) e il cavo positivo (rosso) dal morsetto positivo (+) della batteria (Figura 66).
In caso di errato percorso dei cavi della batteria, la macchina ed i cavi possono venire danneggiati e causare scintille che possono fare esplodere i gas delle batterie e provocare infortuni.
Scollegate sempre il cavo negativo (nero) della batteria prima di quello positivo (rosso).
Collegate sempre il cavo positivo (rosso) della batteria prima di quello negativo (nero).
I morsetti della batteria e gli attrezzi metallici possono creare cortocircuiti contro i componenti metallici e provocare scintille Eventuali scintille possono fare esplodere i gas delle batterie e provocare lesioni personali.
Quando la batteria viene smontata o montata, evitate che i morsetti entrino a contatto con le parti metalliche della macchina.
Evitate cortocircuiti fra i morsetti della batteria e le parti metalliche della macchina causati da utensili metallici.

Collegate un caricabatterie da 3-4 A ai poli della batteria. Caricate la batteria a 3-4 A per 4-8 ore.
Durante la ricarica della batteria si sviluppano gas esplosivi.
Non fumate mai nelle adiacenze della batteria e tenetela lontano da scintille e fiamme.
Quando la batteria è carica, staccate il caricabatterie dalla presa di alimentazione e dai poli della batteria.
Collegate il cavo positivo (rosso) al terminale positivo (+) e il cavo negativo (nero) al terminale negativo (-) della batteria (Figura 66).
Fissate i cavi ai poli con bulloni e dadi.
Note: Assicuratevi che il morsetto positivo (+) sia completamente inserito sul polo e che il cavo sia posizionato comodamente nella batteria. Il cavo non deve toccare il coperchio della batteria.
Per impedire la corrosione, spalmate i due collegamenti della batteria con grasso Grafo 112X (rivestimento), n. cat. 505-47, vaselina o grasso leggero.
Infilate il cappuccio in gomma sul morsetto positivo.
Chiudete il pannello comandi e fissate con il fermo.
Il portafusibili della macchina è situato nel vano portaoggetti di destra

Allentate il fermo del coperchio del vano portaoggetti di destra e sollevate il coperchio (Figura 68) per esporre il portafusibili (Figura 69).

Sostituite il fusibile aperto (o fusibili aperti) come opportuno (Figura 69).

Chiudete il coperchio del vano portaoggetti di destra e fissatelo con il dispositivo di chiusura (Figura 68).

| Cadenza di manutenzione | Procedura di manutenzione |
|---|---|
| Ogni 400 ore |
|
Non deve esserci gioco nelle trasmissioni/ruote motrici a ruotismo planetario (cioè le ruote non devono muoversi se tirate o spinte in una direzione parallela all'assale).
Parcheggiate la macchina su terreno pianeggiante, inserite il freno di stazionamento, abbassate gli elementi di taglio, spegnete il motore e togliete la chiave.
Immobilizzate le ruote posteriori con zeppe e sollevate la parte anteriore della macchina, sostenendo l'assale/il telaio anteriore su cavalletti metallici.
Una macchina su un cavalletto può essere instabile e scivolare dal cavalletto stesso, causando lesioni a chiunque si trovi al di sotto.
Non avviate il motore quando la macchina si trova su un cavalletto.
Togliete sempre la chiave dall'interruttore prima di abbandonare la macchina.
Bloccate gli pneumatici quando sollevate la macchina su un cavalletto.
Supportate la macchina con i cavalletti.
Afferrate una delle ruote motrici anteriori e spingete/tirate verso e via dalla macchina, prendendo nota di qualsiasi movimento.

Ripetete il passaggio 3 per l'altra ruota motrice.
Se una delle ruote si muove, rivolgetevi al vostro distributore Toro autorizzato, che provvederà alla ricostruzione della trasmissione a ruotismo planetario.
| Cadenza di manutenzione | Procedura di manutenzione |
|---|---|
| Ogni 400 ore |
|
Specifiche del lubrificante: lubrificante per ingranaggi SAE 85W-140 di alta qualità
Parcheggiate la macchina su una superficie pianeggiante e posizionate la ruota in modo che il tappo di riempimento si trovi nella posizione a ore 12, il tappo di controllo nella posizione a ore 3 e il tappo di spurgo nella posizione a ore 6 (Figura 72).

Rimuovete il tappo di controllo nella posizione a ore 3 (Figura 72).
L'olio deve essere in fondo al foro del tappo di controllo.

Se il livello dell'olio è basso, rimuovete il tappo di riempimento a ore 12 e aggiungete olio finché non inizia a fuoriuscire dal foro a ore 3.
Verificate l’eventuale presenza di tracce di usura o danni sugli anelli toroidali del tappo o dei tappi.
Note: Sostituite gli anelli toroidali al bisogno.
Montate il o i tappi.
Ripetete i passaggi da 1 a 5 sul gruppo degli ingranaggi a ruotismo planetario sull’altro lato della macchina.
| Cadenza di manutenzione | Procedura di manutenzione |
|---|---|
| Dopo le prime 50 ore |
|
| Ogni 800 ore |
|
Specifiche del lubrificante: lubrificante per ingranaggi SAE 85W-140 di alta qualità
Capacità di lubrificazione dell’alloggiamento degli ingranaggi planetari e della scatola del freno: 0,65 litri
Parcheggiate la macchina su una superficie pianeggiante, posizionate la ruota in modo che il tappo di riempimento si trovi nella posizione a ore 12, il tappo di controllo nella posizione a ore 3 e il tappo di spurgo nella posizione a ore 6; fate riferimento alla Figura 72 in Controllo del lubrificante della trasmissione degli ingranaggi a ruotismo planetario.
Rimuovete il tappo di riempimento nella posizione a ore 12 e il tappo di controllo nella posizione a ore 3 (Figura 74).

Mettete una bacinella sotto il mozzo del planetario, togliete il tappo di spurgo nella posizione a ore 6 e lasciate defluire l'olio (Figura 74).
Verificate l’eventuale presenza di tracce di usura o danni sugli anelli toroidali dei tappi di riempimento, controllo e spurgo.
Note: Sostituite gli anelli toroidali al bisogno.
Inserite il tappo di spurgo nel foro di spurgo dell’alloggiamento degli ingranaggi planetari (Figura 74).
Mettete una bacinella sotto la scatola del freno, togliete il tappo di spurgo e lasciate defluire completamente l'olio (Figura 75).

Verificate l’eventuale presenza di tracce di usura o danni sull’anello toroidale del tappo e inserite il tappo di spurgo nella scatola del freno.
Note: Sostituite l’anello toroidale, se necessario.
Attraverso il foro del tappo di riempimento riempite lentamente il planetario con 0,65 litri di lubrificante per ingranaggi di alta qualità SAE 85W-140.
Important: Se il planetario si riempie prima di aggiungere 0,65 litri di olio, attendete un'ora o montate il tappo e spostate la macchina di circa 3 metri per distribuire l'olio attraverso l'impianto frenante. In seguito rimuovete il tappo e aggiungete l'olio rimanente.

Montate il tappo di riempimento e il tappo di controllo.
Pulite l’alloggiamento degli ingranaggi planetari e la scatola del freno (Figura 77).

Ripetete i passaggi da 1 a 7 in Spurgo della trasmissione degli ingranaggi a ruotismo planetario e i passaggi da 1 a 3 di questa procedura per il gruppo ingranaggi planetari/freno sull’altro lato della macchina.
| Cadenza di manutenzione | Procedura di manutenzione |
|---|---|
| Prima di ogni utilizzo o quotidianamente |
|
Verificate visivamente l'assale posteriore e la relativa scatola ingranaggi per escludere la presenza di perdite.

| Cadenza di manutenzione | Procedura di manutenzione |
|---|---|
| Ogni 400 ore |
|
L'assale posteriore è riempito di lubrificante per ingranaggi SAE 85W-140. La capacità è pari a 2,4 litri. Ogni giorno, controllate a vista che non vi siano perdite.
Parcheggiate la macchina su terreno pianeggiante, inserite il freno di stazionamento, abbassate gli elementi di taglio, spegnete il motore e togliete la chiave.
Rimuovete un tappo di controllo da un'estremità dell'assale e assicuratevi che il lubrificante raggiunga la parte inferiore del foro (Figura 79).
Note: Se il livello è basso, togliete il tappo di riempimento e rabboccate con lubrificante finché non raggiunge la base del foro del tappo di controllo.

| Cadenza di manutenzione | Procedura di manutenzione |
|---|---|
| Dopo le prime 200 ore |
|
| Ogni 800 ore |
|
Specifiche del lubrificante: lubrificante per ingranaggi SAE 85W-140 di alta qualità
Capacità dell'assale: 2,4 litri
Parcheggiate la macchina su terreno pianeggiante, inserite il freno di stazionamento, abbassate gli elementi di taglio, spegnete il motore e togliete la chiave.
Pulite attorno ai 3 tappi di spurgo, 1 per lato ed 1 in centro (Figura 80).

Rimuovete i tappi di controllo del livello dell'olio e il tappo di sfiato dell'assale principale per facilitare lo spurgo del lubrificante per ingranaggi.
Rimuovete i tappi di spurgo e lasciate che il lubrificante defluisca nelle bacinelle.
Montate i tappi.
Togliete un tappo di spurgo e riempite l'assale con 2,4 litri circa di lubrificante per ingranaggi 85W-140, o fin quando il lubrificante non raggiunge la base del foro.
Montate il tappo di controllo.
| Cadenza di manutenzione | Procedura di manutenzione |
|---|---|
| Ogni 400 ore |
|
La scatola ingranaggi è riempita di lubrificante per ingranaggi SAE 85W-140. La capienza è di 0,5 litri. Ogni giorno, controllate a vista che non vi siano perdite.
Parcheggiate la macchina su terreno pianeggiante, inserite il freno di stazionamento, abbassate gli elementi di taglio, spegnete il motore e togliete la chiave.
Togliete il tappo di controllo/riempimento dal lato sinistro del riduttore e verificate che il lubrificante raggiunga la base del foro (Figura 81).
Note: Se il livello è basso, rabboccate con lubrificante fino a portarlo alla base del foro.

| Cadenza di manutenzione | Procedura di manutenzione |
|---|---|
| Ogni 800 ore |
|
Parcheggiate la macchina su terreno pianeggiante, inserite il freno di stazionamento, abbassate gli elementi di taglio, spegnete il motore e togliete la chiave.
Misurate l'interasse (all'altezza dell'assale) sulla parte anteriore e posteriore dei pneumatici di sterzo (Figura 82).
Note: La misurazione anteriore deve risultare di 3 mm inferiore a quella posteriore.

Per regolare, togliete la coppiglia e il dado da uno dei giunti a sfera del tirante (Figura 83). Togliete il giunto a sfera del tirante dal supporto della scatola del ponte.

Allentate i fermi su entrambe le estremità dei tiranti (Figura 83).
Ruotate il giunto a sfera staccato verso l'interno o verso l'esterno di un giro completo e serrate il morsetto all'estremità libera del tirante.
Ruotate l'intero gruppo del tirante nella stessa direzione (verso l'interno o verso l'esterno) di un giro completo e serrate il morsetto all'estremità collegata del tirante.
Montate il giunto a sfera nella scatola dell'assale, serrate a mano il dado e misurate la convergenza.
All'occorrenza regolate di nuovo.
Quando la regolazione è esatta, serrate il dado e montate una nuova coppiglia.
L'ingestione di refrigerante del motore può causare avvelenamento, per cui tenetelo fuori dalla portata di bambini e animali domestici.
Se viene scaricato refrigerante caldo sotto pressione o si tocca il radiatore o le parti adiacenti calde, possono verificarsi gravi ustioni.
Lasciate sempre raffreddare il motore per almeno 15 minuti prima di rimuovere il tappo del radiatore.
Aprite il tappo del radiatore con uno straccio, agendo lentamente per lasciare fuoriuscire il vapore.
Non usate la macchina se le coperture non sono montate.
Tenete dita, mani e abiti lontano dalla ventola e dalla cinghia di trasmissione quando girano.
Il serbatoio del refrigerante è riempito in fabbrica con una soluzione al 50/50 di acqua e refrigerante a lunga durata a base di glicole etilenico.
Important: Utilizzate solo refrigeranti disponibili in commercio conformi alle specifiche elencate nella tabella Standard per refrigeranti a lunga durata.Non utilizzate refrigerante tradizionale (verde) con tecnologia ad acidi inorganici (IAT) nella vostra macchina. Non miscelate refrigerante tradizionale con refrigerante a lunga durata.
|
Tipologia di refrigerante con glicole etilenico |
Tipologia con inibitore della corrosione |
|
Antigelo a lunga durata |
Tecnologia con acidi organici (OAT) |
|
Important: Non basatevi sul colore del refrigerante per individuare la differenza tra refrigerante tradizionale (verde) con tecnologia agli acidi inorganici (IAT) e refrigerante a lunga durata.I produttori di refrigerante possono colorare il refrigerante a lunga durata in una delle seguenti tinte: rosso, rosa, arancione, giallo, blu, verde acqua, viola e verde. Utilizzate refrigeranti conformi alle specifiche elencate nella tabella Standard per refrigeranti a lunga durata. |
|
|
ATSM Internazionale |
SAE internazionale |
|
D3306 e D4985 |
J1034, J814 e 1941 |
Important: La concentrazione di refrigerante dovrebbe corrispondere a una miscela 50/50 di refrigerante e acqua.
Consiglio: Quando miscelate il refrigerante da un concentrato, utilizzate acqua distillata
Scelta consigliata: Se non disponete di acqua distillata, utilizzate un refrigerante premiscelato invece di un concentrato.
Requisito minimo: Se non disponete di acqua distillata e di refrigerante premiscelato, miscelate refrigerante concentrato con acqua potabile pulita.
| Cadenza di manutenzione | Procedura di manutenzione |
|---|---|
| Prima di ogni utilizzo o quotidianamente |
|
Capacità dell'impianto refrigerante: circa 8,5 litri.
Le ventole rotanti e le cinghie di trasmissione possono causare infortuni.
Non usate la macchina se le protezioni non sono montate.
Tenete dita, mani e abiti lontano dalla ventola e dalla cinghia di trasmissione quando girano.
Spegnete il motore e togliete la chiave prima di ogni intervento di manutenzione.
Parcheggiate la macchina su terreno pianeggiante, inserite il freno di stazionamento, abbassate gli elementi di taglio, spegnete il motore e togliete la chiave.
Togliete il tappo del radiatore con cautela.

Controllate il livello del refrigerante nel radiatore. Il radiatore deve essere riempito fino alla parte superiore del collo del bocchettone ed il serbatoio di espansione fino al segno di pieno FULL (Figura 84).
Se il livello del refrigerante è basso, aggiungete una miscela 50/50 di acqua e anticongelante glicol etilico; fate riferimento alla Specifiche del refrigerante. Non usate solo acqua o liquidi frigorigeni a base di alcol o metanolo.
Montate il tappo del radiatore e quello del serbatoio di espansione.
| Cadenza di manutenzione | Procedura di manutenzione |
|---|---|
| Prima di ogni utilizzo o quotidianamente |
|
Questa macchina è provvista di sistema di trasmissione ventola con azionamento idraulico che va automaticamente (o manualmente) in retromarcia per ridurre l'accumulo dei detriti sulla griglia e sul refrigeratore/radiatore dell'olio. Se da un lato questa funzione permette di ridurre il tempo necessario per la pulizia del refrigeratore/radiatore dell'olio, non elimina la necessità della pulizia ordinaria. La pulizia e l'ispezione periodica del radiatore/refrigeratore è comunque necessaria.
Parcheggiate la macchina su terreno pianeggiante, inserite il freno di stazionamento, abbassate gli elementi di taglio, spegnete il motore e togliete la chiave.
Lasciate raffreddare la macchina; fate riferimento a Sicurezza della manutenzione e Sicurezza dell'impianto di raffreddamento.
Sbloccate la griglia posteriore ed apritela (Figura 85).
Note: Per togliere la griglia sollevatela dai perni d'incernieramento.
Ripulite accuratamente la griglia da tutti i detriti.

Pulite accuratamente entrambi i lati del refrigeratore dell'olio e il radiatore con aria compressa (Figura 86).
Note: Iniziate dal lato anteriore ed eliminate i detriti spingendoli verso la parte posteriore. Successivamente eseguite la pulizia partendo dalla parte posteriore e soffiando l'aria verso la parte anteriore. Ripetete la procedura più volte fino a rimuovere completamente sporcizia e detriti.

Important: L'uso di acqua per la pulizia del refrigeratore o del radiatore dell'olio favorisce la precoce corrosione e danni ai componenti e la compattazione di detriti.
Chiudete la griglia posteriore e fissatela con il fermo.
Regolate questi freni se il pedale ha un “gioco” superiore a 25 mm, o quando i freni non funzionano in modo efficace. Per gioco s'intende la distanza che il pedale percorre prima che si avverta la resistenza della frenata.
Parcheggiate la macchina su terreno pianeggiante, inserite il freno di stazionamento, abbassate gli elementi di taglio, spegnete il motore e togliete la chiave.
Sganciate il perno di bloccaggio dai pedali del freno, in modo che i due pedali operino indipendentemente l'uno dall'altro.
Per ridurre il gioco dei pedali del freno serrate i freni come segue:
Allentate il dado anteriore sull'estremità filettata del cavo del freno (Figura 87).

Serrate il dado posteriore per spostare indietro il cavo, finché i pedali dei freni non hanno un gioco di 13–25 mm.
Serrate i dadi anteriori dopo avere regolato correttamente i freni.
| Cadenza di manutenzione | Procedura di manutenzione |
|---|---|
| Ogni 100 ore |
|
La tensione corretta della cinghia consente uno scostamento di 10 mm quando viene applicata sulla cinghia una forza pari a 4,5 kg a metà tra le pulegge.
Se la flessione non è di 10 mm, allentate i bulloni di fissaggio dell'alternatore (Figura 78).
Note: Aumentate o riducete la tensione della cinghia dell'alternatore e serrate i bulloni. Controllate di nuovo l'inflessione della cinghia per accertare che sia esatta.

Se il fluido penetra nella pelle, rivolgetevi immediatamente a un medico. Il fluido idraulico penetrato sotto la pelle deve essere asportato da un medico entro poche ore.
Prima di mettere l'impianto sotto pressione, accertatevi che tutti i circuiti e i tubi dell'olio idraulico siano in buone condizioni e che tutte le connessioni e i raccordi idraulici siano serrati saldamente.
Tenete corpo e mani lontano da perdite filiformi o da ugelli che emettono fluido idraulico pressurizzato.
Usate carta o cartone per individuare eventuali perdite di fluido idraulico.
Rilasciate in maniera sicura la pressione dall'impianto idraulico prima di eseguire qualunque intervento sull'impianto.
Il serbatoio viene rifornito in fabbrica con liquido idraulico di qualità elevata. Controllate il livello del fluido idraulico prima di avviare il motore per la prima volta e in seguito ogni giorno; fate riferimento a Controllo del livello del fluido idraulico.
Fluido idraulico consigliato: Toro PX Extended Life Hydraulic Fluid (fluido idraulico per prolungare la durata); disponibile in fustini da 19 litri o in contenitori da 208 litri.
Note: Una macchina che utilizza il fluido di ricambio raccomandato richiede cambi meno frequenti di fluido e filtro.
Fluidi idraulici alternativi: qualora il fluido Toro PX Extended Life non fosse disponibile, si potranno utilizzare altri fluidi idraulici di tipo tradizionale a base di petrolio con specifiche che rientrino nell'intervallo indicato per tutte le seguenti proprietà materiali e siano conformi agli standard di settore. Non usate fluidi sintetici. Il distributore di lubrificanti vi consiglierà sulla scelta di un prodotto soddisfacente.
Note: Toro non si assume alcuna responsabilità per danni causati da sostituzioni non idonee, pertanto si raccomanda di utilizzare solo prodotti di costruttori di buona reputazione, che rispondano delle proprie raccomandazioni.
| Proprietà materiali: | ||
| Viscosità, ASTM D445 | cSt a 40 °C da 44 a 48 | |
| Indice di viscosità ASTM D2270 | 140 o superiore | |
| Punto di scorrimento, ASTM D97 | da -37 °C a -45 °C | |
| Caratteristiche industriali: | Eaton Vickers 694 (I-286-S, M-2950-S/35VQ25 o M-2952-S) | |
Note: Molti fluidi idraulici sono praticamente incolori, e rendono difficile il rilevamento di fuoriuscite. Un additivo con colorante rosso per il fluido idraulico è disponibile in flaconi da 20 ml. Una confezione è sufficiente per 15–22 litri di fluido idraulico. Per ottenerlo, ordinate il n. cat. 44-2500 presso il Distributore Toro autorizzato di zona.
Important: Toro Premium Synthetic Biodegradable Hydraulic Fluid è l'unico fluido biodegradabile sintetico approvato da Toro. Questo fluido è compatibile con gli elastomeri utilizzati negli impianti idraulici Toro ed è adatto ad una vasta gamma di temperature. Questo fluido è compatibile con oli minerali tradizionali; tuttavia, per ottenere la massima biodegradabilità e i migliori risultati, occorre lavare accuratamente l’impianto idraulico eliminando il fluido tradizionale. L'olio è disponibile in fustini da 19 litri o in contenitori da 208 litri del vostro distributore Toro autorizzato.
| Cadenza di manutenzione | Procedura di manutenzione |
|---|---|
| Prima di ogni utilizzo o quotidianamente |
|
Parcheggiate la macchina su terreno pianeggiante, inserite il freno di stazionamento, abbassate gli elementi di taglio, spegnete il motore e togliete la chiave.
Controllate il livello del fluido idraulico (Figura 89).


| Cadenza di manutenzione | Procedura di manutenzione |
|---|---|
| Ogni 800 ore |
|
| Ogni 2000 ore |
|
| Ogni 2 anni |
|
Capacità fluido idraulico: 28,4 litri
Nel caso in cui il fluido si contamini, rivolgetevi al vostro distributore Toro autorizzato, che provvederà al lavaggio dell'impianto. L'olio contaminato ha un aspetto lattiginoso o nero a confronto dell'olio pulito.
Parcheggiate la macchina su terreno pianeggiante, inserite il freno di stazionamento, abbassate gli elementi di taglio, spegnete il motore e togliete la chiave.
Sollevate il cofano.
Scollegate il tubo di ritorno della cassa dal fondo del serbatoio e lasciate defluire il fluido idraulico in una bacinella grande.
Quando il fluido idraulico sarà completamente scaricato, montate il flessibile.
Riempite il serbatoio di fluido idraulico; fate riferimento a Manutenzione del fluido idraulico.
Important: Usate soltanto i fluidi idraulici specificati. Altri fluidi possono danneggiare l'impianto.
Montate il tappo sul serbatoio.
Girate la chiave nel relativo interruttore in posizione di ACCENSIONE per avviare il motore. Utilizzate tutti i comandi idraulici per distribuire il fluido idraulico per tutto l'impianto e verificate l'assenza di fuoriuscite.
Girate la chiave nel relativo interruttore in posizione di SPEGNIMENTO.
Controllate il livello del fluido e rabboccate fino a raggiungere la tacca PIENO sull'asta di livello. Non riempite troppo.
| Cadenza di manutenzione | Procedura di manutenzione |
|---|---|
| Ogni 800 ore |
|
| Ogni 1000 ore |
|
Utilizzate filtri di ricambio Toro n. cat. 94-2621 per la parte posteriore (apparati di taglio) della macchina e n. cat. 75-1310 per la parte anteriore (carica) della macchina.
Important: L'uso di filtri diversi può invalidare la garanzia di alcuni componenti.
Inclinate il sedile dell'operatore per avere accesso al filtro di pressione del tosaerba; fate riferimento a Accesso al vano di sollevamento idraulico.

Sostituite il filtro idraulico di carica nel vano di sollevamento idraulico, come illustrato nella Figura 91.


Abbassate e fissate il sedile dell'operatore.
Sostituite il filtro di ritorno sul lato destro della macchina (Figura 91).
Avviate il motore e lasciatelo funzionare per 2 minuti circa, per spurgare l’aria dall’impianto. Spegnete il motore e verificate che non ci siano fuoriuscite.
| Cadenza di manutenzione | Procedura di manutenzione |
|---|---|
| Prima di ogni utilizzo o quotidianamente |
|
| Ogni 2 anni |
|
Controllate i tubi idraulici e i flessibili ogni giorno per rilevare fuoriuscite, tubi attorcigliati, attacchi allentati, usura, raccordi allentati e deterioramento causato dalle condizioni atmosferiche e da agenti chimici. Riattate completamente prima di usare la macchina.
Se il fluido idraulico fuoriesce sotto pressione, può penetrare la pelle e causare infortuni.
Se il fluido viene iniettato nella pelle, rivolgetevi immediatamente ad un medico.
Verificate che tutti i tubi e i flessibili dell'olio idraulico siano in buone condizioni e che tutte le connessioni e i raccordi idraulici siano saldamente serrati, prima di mettere l'impianto sotto pressione.
Tenete corpo e mani lontano da perdite filiformi o da ugelli che emettono fluido idraulico pressurizzato.
Usate carta o cartone per individuare eventuali perdite di fluido idraulico.
Rilasciate in maniera sicura la pressione dall'impianto idraulico prima di eseguire qualunque intervento sull'impianto.
Parcheggiate la macchina su terreno pianeggiante, inserite il freno di stazionamento, abbassate gli elementi di taglio, spegnete il motore e togliete la chiave.
Scollegate e staccate il motore idraulico dall’apparato di taglio (Figura 92). Coprite la parte superiore del fusello per impedire che venga contaminato.

Rimuovete l'acciarino (per macchine Groundsmaster 4500) o il dado di fissaggio (per macchine Groundsmaster 4700) che fissa il telaio portante dell’apparato di taglio al perno girevole del braccio di sollevamento (Figura 93).

Allontanate l’apparato di taglio dalla macchina.
Spostate l’apparato di taglio in posizione, nella parte anteriore della macchina.
Fate scorrere il telaio portante dell’apparato di taglio sul perno girevole del braccio di sollevamento (Figura 93). Fissate l’apparato di taglio al perno con l'acciarino (per macchine Groundsmaster 4500) o il dado di fissaggio (per macchine Groundsmaster 4700).
Montate il motore idraulico sull’apparato di taglio (Figura 92). Verificate che l’anello toroidale sia in sede e non sia danneggiato.
Lubrificate il fusello.
Ispezionate il rullo anteriore per verificarne l'eventuale usura, vibrazione eccessiva o grippaggio. Aggiustate o sostituite il rullo o i suoi componenti qualora siano presenti le suddette condizioni.
Rimuovete il bullone di montaggio del rullo (Figura 94).
Inserite il cacciachiodi nell’estremità dell’alloggiamento del rullo, e spingete fuori il cuscinetto opposto picchiettando alternativamente sul lato opposto della pista interna del cuscinetto. Il bordo della pista interna dovrebbe sporgere di 1,5 mm.

Spingete fuori il secondo cuscinetto.
Verificate la presenza di eventuali danni sull'alloggiamento, sui cuscinetti e sul distanziale del cuscinetto del rullo (Figura 94). Sostituite tutti i componenti danneggiati e procedete con il loro montaggio.
Montate il primo cuscinetto premendolo nell'alloggiamento all'interno del rullo (Figura 94). Premete soltanto sulla pista esterna o, in misura uguale, sulla pista interna ed esterna.
Inserite il distanziale (Figura 94).
Montate il secondo cuscinetto premendolo nell'alloggiamento all'interno del rullo (Figura 94). Premete in misura uguale sulla pista interna ed esterna, fino a quando la pista interna non tocca il distanziale.
Montate il gruppo del rullo sul telaio dell’apparato di taglio.
Verificate che lo spazio tra il gruppo del rullo e le relative staffe di montaggio sul telaio dell’apparato di taglio non superi gli 1,5 mm. Se lo spazio supera gli 1,5 mm, montate un numero di rondelle diametro ⅝" sufficiente a ridurlo.
Important: Se si fissa il gruppo del rullo mantenendo una distanza tra questo e le staffe di montaggio maggiore di 1,5 mm, sul cuscinetto si genera un carico laterale che può provocare rapidamente la rottura del cuscinetto stesso
Serrate il bullone di montaggio a 108 N∙m.
Controllate la lama a intervalli regolari, per accertarvi che non sia consumata o danneggiata.
Prestate la massima attenzione quando controllate le lame. Durante gli interventi di manutenzione, avvolgete le lame o indossate guanti adatti allo scopo, prestando molta attenzione. Le lame possono essere solo affilate o sostituite, ma non raddrizzate né saldate.
Su macchine multilama, tenete presente che la rotazione di una lama può provocare la rotazione di altre lame.
L’apparato di taglio è fornito di fabbrica con una preimpostazione dell'altezza di taglio di 5 cm e dell’angolo di spoglia della lama di 7,9 mm. L’altezza sinistra e destra sono preimpostate con uno scarto di ± 0,7 mm fra di loro.
L’apparato di taglio è in grado di far fronte a urti della lama senza deformazione dell’alloggiamento. Se una lama urta un corpo solido, verificate se la lama ha subito danni e la precisione del piano della lama.
Staccate il motore idraulico dall’apparato di taglio, e quest’ultimo dalla macchina.
Utilizzate un paranco (o almeno 2 persone) per collocare l’apparato di taglio su un banco piano.
Marcate una estremità della lama con un pennarello o un marcatore. Controllate tutte le altezze utilizzando questa estremità della lama.
Orientate il tagliente dell'estremità marcata della lama sulle ore 12 (esattamente in avanti, nel senso di falciatura) (Figura 95) e misurate l'altezza tra il banco e il tagliente della lama.

Ruotate l'estremità marcata della lama sulle ore 3 e sulle ore 9 (Figura 95) e misurate le rispettive altezze.
Confrontate l'altezza misurata sulle ore 12 con l'impostazione dell'altezza di taglio. Dovrebbe essere compresa entro gli 0,7 mm. Le altezze a ore 3 e a ore 9 devono essere più alte di 1,6–6,0 mm rispetto all'impostazione a ore 12 e a una distanza tra loro non superiore a 2,2 mm.
Se una qualsiasi di queste misurazioni non soddisfa le specifiche, passate alla fase Regolazione del piano della lama.
Iniziate con la regolazione anteriore (cambiate una staffa per volta).
Togliete la staffa dell’altezza di taglio (anteriore, sinistra o destra) dal telaio dell’apparato di taglio (Figura 96).
Regolate gli spessori da 1,5 mm e/o gli spessori da 0,7 mm tra il telaio dell’apparato di taglio e la staffa per ottenere l'impostazione dell'altezza desiderata (Figura 96).

Montate la staffa dell’altezza di taglio sul telaio dell’apparato di taglio, lasciando gli spessori rimasti sotto la staffa.
Fissate l'insieme bullone a brugola/distanziale e il dado flangiato.
Note: L'insieme bullone a brugola/distanziale è tenuto unito da un adesivo bloccafiletti per evitare che il distanziale cada dentro il telaio dell’apparato di taglio.
Verificate l'altezza a ore 12 e regolatela, se necessario.
Stabilite se occorre regolare una o entrambe (destra e sinistra) le staffe dell’altezza di taglio.
Note: Se il lato a ore 3 o a ore 9 è più alto di 1,6–6,0 mm rispetto alla nuova altezza anteriore, allora non è necessario effettuare la regolazione per il lato in questione. Regolate l'altezza dell'altro lato in modo tale che differisca da quella del lato conforme al massimo di 2,2 mm.
Regolate le staffe dell'altezza di taglio destra e/o sinistra ripetendo i passi dall'1 al 4.
Fissate i bulloni a testa tonda e i dadi flangiati.
Verificate le altezze nelle posizioni a ore 12, 3 e 9.
Sostituite la lama se colpisce un corpo solido, se è sbilanciata o curva. Utilizzate solo lame di ricambio originali Toro per garantire sicurezza e prestazioni ottimali.
Parcheggiate la macchina su terreno pianeggiante, sollevate l’apparato di taglio alla posizione di trasferimento, inserite il freno di stazionamento, spegnete il motore e togliete la chiave.
Note: Bloccate o serrate l’apparato di taglio per impedire che cada accidentalmente.
Afferrate l’estremità della lama con un cencio o un guanto bene imbottito.
Togliete il bullone, la coppa antistrappo e la lama dall’asse del perno (Figura 97).

Montate la lama, la coppa antistrappo e il bullone della lama e serrate quest'ultimo a un valore compreso tra 115 e 149 N∙m.
Important: Perché tagli correttamente, il lato curvo della lama deve essere rivolto verso l'interno dell'apparato di taglio.
Note: Dopo avere urtato un corpo estraneo, serrate tutti i dadi della puleggia del perno a un valore compreso tra 115 e 149 N·m.
Due aree devono essere prese in considerazione durante la verifica e la manutenzione della lama di taglio: la costa e il tagliente. Sia i taglienti sia la costa, cioè la parte rivolta in alto opposta al tagliente, contribuiscono alla buona qualità del taglio. La costa è importante perché solleva l’erba in verticale, consentendo in questo modo un taglio uniforme. La costa si consuma, tuttavia, con l'utilizzo. Con l'usura della costa, la qualità di taglio si deteriora, benché i taglienti siano affilati. Il tagliente della lama deve essere affilato, in modo che l’erba venga tagliata anziché strappata. Quando le estremità dell'erba sono marroni e sminuzzate è evidente che il tagliente è ormai smussato. Per correggere questa condizione, affilate i taglienti.
Parcheggiate la macchina su una superficie pianeggiate, sollevate l'apparato di taglio, inserite il freno di stazionamento, mettete in FOLLE il pedale di comando della trazione, mettete la leva della PDF in posizione OFF, spegnete il motore e togliete la chiave dall'accensione.
Verificate accuratamente i taglienti, con particolare attenzione ai punti d'incontro delle sezioni piatta e curva della lama (Figura 98).
Note: Sabbia e materiali abrasivi possono consumare il metallo che connette le sezioni piatta e curva della lama, per cui si consiglia di controllare la lama prima di usare il tosaerba. Se riscontrate segni di usura (Figura 98), sostituite la lama.

Esaminate l'affilatura di tutte le lame e affilate se risultano smussate o scheggiate (Figura 99).
Note: Affilate soltanto la parte superiore del tagliente e mantenete l'angolo di taglio originale per garantire l'affilatura (Figura 99). La lama rimane bilanciata se rimuovete la stessa quantità di metallo da entrambi i taglienti.

Note: Togliete le lame ed affilatele su un’affilatrice. Dopo avere affilato i taglienti, montate la lama insieme alla coppa antistrappo e al bullone della lama; fate riferimento a Rimozione e montaggio della lama o delle lame dell’apparato di taglio.
Spegnete il motore, togliete la chiave e attendete che tutte le parti in movimento si arrestino prima di abbandonare la posizione dell'operatore. Lasciate raffreddare la macchina prima di eseguire interventi di regolazione, manutenzione, pulizia o prima del rimessaggio.
Non rimessate la macchina o la tanica del carburante in luoghi in cui siano presenti fiamme aperte, scintille o spie, come uno scaldabagno o altri apparecchi.
Important: Non utilizzate acqua salmastra o rigenerata per pulire la macchina.
Pulite accuratamente il trattorino, gli elementi di taglio e il motore.
Controllate la pressione degli pneumatici. Gonfiate tutti gli pneumatici del trattorino a un valore compreso tra 0,83 e 1,03 bar.
Controllate tutti gli elementi di fissaggio per eventuali allentamenti; all'occorrenza serrateli.
Lubrificate con grasso tutti i raccordi di ingrassaggio e i punti di articolazione. Tergete il lubrificante superfluo.
Carteggiate leggermente e ritoccate le aree verniciate graffiate, scheggiate o arrugginite. Riparate ogni intaccatura nel metallo.
Revisionate la batteria e i cavi come segue:
togliete i morsetti della batteria dai poli;
Note: Scollegate sempre prima il morsetto negativo, per ultimo quello positivo. Collegate sempre prima il morsetto positivo, per ultimo quello negativo.
Pulite la batteria, i morsetti e i poli con una spazzola metallica e una soluzione di bicarbonato di sodio;
per impedire la corrosione, ricoprite i morsetti e i poli della batteria con grasso di rivestimento Grafo 112X (numero cat. 505-47) o vaselina
per impedire la solfatazione di piombo della batteria, caricatela lentamente ogni 60 giorni per 24 ore.
Spurgate l'olio del motore dalla coppa e montate il tappo di spurgo.
Togliete il filtro dell'olio e scartatelo. Montate un nuovo filtro dell'olio.
Riempite la coppa dell'olio con la giusta quantità di olio motore.
Girate la chiave nell'interruttore in posizione di ACCENSIONE, avviate il motore e lasciatelo in funzione al minimo per circa 2 minuti.
Girate la chiave nell'interruttore in posizione di SPEGNIMENTO.
Spurgate tutto il carburante dal serbatoio del carburante, dai tubi di alimentazione e dal filtro del carburante/separatore di condensa.
Lavate il serbatoio del carburante con gasolio nuovo e pulito.
Fissate tutti i raccordi dell'impianto di carburante.
Pulite accuratamente il gruppo filtro dell'aria e revisionatelo.
Sigillate l'entrata del filtro dell'aria e l'uscita di scarico con un nastro resistente agli agenti atmosferici.
Verificate la protezione antigelo, e rabboccate per far fronte alla temperatura minima prevista nella vostra zona.
Se gli apparati di taglio vengono separati dal trattorino per qualsiasi periodo di tempo, montate un tappo nella parte superiore dei fuselli, per proteggerli da polvere e acqua.
