| Częstotliwość serwisowania | Procedura konserwacji |
|---|---|
| Przed każdym użyciem lub codziennie |
|
Ten pojazd użytkowy jest przeznaczony głównie do przewozu osób i ładunków poza drogami publicznymi. Używanie produktu w celach niezgodnych z jego przeznaczeniem może okazać się niebezpieczne dla operatora i osób postronnych.
Należy przeczytać uważnie poniższe informacje, aby poznać zasady właściwej obsługi i konserwacji urządzenia, nie uszkodzić go i uniknąć obrażeń ciała. Odpowiedzialność za prawidłowe i bezpieczne użytkowanie produktu spoczywa na użytkowniku.
Odwiedź www.Toro.com w kwestiach dotyczących materiałów szkoleniowych z zakresu bezpieczeństwa oraz eksploatacji produktu, informacji na temat akcesoriów, pomocy w znalezieniu autoryzowanego sprzedawcy lub rejestracji urządzenia.
Aby skorzystać z serwisu, zakupić oryginalne części Toro lub uzyskać dodatkowe informacje, należy skontaktować się z autoryzowanym przedstawicielem serwisowym lub biurem obsługi klienta firmy Toro. Przygotuj numer modelu i numer seryjny produktu. Rysunek 1 przedstawia położenie oznaczenia modelu oraz numeru seryjnego na urządzeniu. Zapisz te numery w przeznaczonym do tego miejscu na niniejszej stronie.
Important: Urządzeniem mobilnym zeskanuj kod QR na tabliczce z numerem seryjnym (jeżeli występuje), aby uzyskać informacje o gwarancji, częściach zamiennych i innych kwestiach związanych z produktem.

W niniejszej instrukcji występują dwa słowa podkreślające wagę informacji. Ważne zwraca uwagę na istotne informacje techniczne, a Uwaga odnosi się do ogólnych informacji, które warto mieć na uwadze.
Ten symbol ostrzegawczy (Rysunek 2) występuje zarówno w instrukcji, jak i na maszynie, i oznacza ważne informacje dotyczące bezpieczeństwa, których należy przestrzegać, aby uniknąć wypadków. Ten symbol występuje ze słowem Niebezpieczeństwo, Ostrzeżenie lub Uwaga.
Niebezpieczeństwo: Wskazuje na sytuację bezpośredniego zagrożenia, która, jeśli się jej nie zapobiegnie, doprowadzi do śmierci lub poważnych obrażeń ciała.
Ostrzeżenie: Wskazuje na sytuację potencjalnego zagrożenia, która, jeśli się jej nie zapobiegnie, może doprowadzić do śmierci lub poważnych obrażeń ciała.
Uwaga: Wskazuje na sytuację potencjalnego zagrożenia, która, jeśli się jej nie zapobiegnie, może doprowadzić do niewielkich lub średnich obrażeń ciała.

Ten produkt jest zgodny z odpowiednimi dyrektywami europejskimi. Szczegółowe informacje można znaleźć w osobnej deklaracji zgodności produktu (DOC) dotyczącej tego wyrobu.
Jeżeli maszyna jest wyposażona w moduł telematyki, uzyskaj instrukcję aktywacji modułu od autoryzowanego dystrybutora Toro.
|
Certyfikacja zgodności elektromagnetycznej |
|
Krajowa: To urządzenie jest zgodne z przepisami FCC część 15. Działanie maszyny ograniczone jest dwoma warunkami: (1) urządzenie nie może powodować szkodliwych zakłóceń i (2) urządzenie musi przyjmować wszelkie zakłócenia, które może odebrać, łącznie z zakłóceniami mogącymi powodować działanie niepożądane. |
|
FCC ID: OF7RTS24 IC: 3575A-RTS24 |
|
Urządzenie przeszło badania potwierdzające jego zgodność z limitami dla urządzeń cyfrowych klasy B określonymi w części 15 przepisów FCC. Limity te służą zapewnieniu rozsądnej ochrony przed szkodliwymi zakłóceniami z instalacji w obiektach mieszkalnych. Urządzenie generuje, wykorzystuje i może emitować energię częstotliwości radiowej oraz, jeżeli nie będzie zamontowane i używane zgodnie z instrukcją, może powodować szkodliwe zakłócenia w łączności radiowej. Jednak nie ma gwarancji, że zakłócenia nie wystąpią w konkretnej instalacji. Jeżeli urządzenie powoduje szkodliwe zakłócenia w odbiorze radiowym lub telewizyjnym, co można ustalić, wyłączając i włączając urządzenie, użytkownik powinien spróbować usunąć zakłócenia, stosując przynajmniej jedną z następujących metod:
|
|
Argentyna |
![]() |
|
Australia |
![]() |
|
Maroko |
|
|---|---|
|
AGREE PAR L’ANRT MAROC |
|
|
Numero d’agrement: |
MR00003613ANRT2024 |
|
Delivre d’agrement: |
22.08.2024 r. |
Stosowanie lub eksploatowanie w obszarach zalesionych, zakrzewionych lub trawiastych silnika bez działającego tłumika z iskrochronem według punktu 4442 kodeksu dotyczącego ochrony dóbr publicznych stanu Kalifornia lub silnika zaprojektowanego z myślą o ochronie przeciwpożarowej i odpowiednio wyposażonego oraz utrzymywanego jest naruszeniem punktu 4442 lub 4443 tegoż kodeksu.
Dołączona instrukcja obsługi silnika zawiera informacje dotyczące wymagań amerykańskiej Agencji Ochrony Środowiska (EPA) oraz prawa stanu Kalifornia dotyczącego kontroli emisji w systemach emisji, konserwacji i gwarancji. Egzemplarze zastępcze zamówić można u producenta silnika.
KALIFORNIA
Propozycja 65 ostrzeżenie
Układ wydechowy tego urządzenia zawiera substancje chemiczne, które mogą być przyczyną powstawania raka, chorób układu oddechowego i innych schorzeń.
Bieguny akumulatora, listwy zaciskowe i podobne elementy zawierają ołów i związki ołowiu, substancje chemiczne uznane przez stan Kalifornia za rakotwórcze i powodujące zaburzenia rozrodu. Myj ręce po kontakcie z nimi.
Produkt może spowodować obrażenia ciała. Aby uniknąć poważnych obrażeń ciała, zawsze przestrzegaj wszystkich instrukcji dotyczących bezpieczeństwa.
Przed pierwszym uruchomieniem maszyny zapoznaj się niniejszą instrukcją obsługi. Każdy użytkownik tego urządzenia musi zaznajomić się ze sposobem jego obsługi i z podanymi ostrzeżeniami.
Podczas obsługi maszyny zachowaj pełne skupienie. Nie podejmuj żadnych rozpraszających czynności, w przeciwnym razie możesz spowodować obrażenia lub wyrządzić szkody w mieniu.
Nie zbliżaj dłoni ani stóp do ruchomych części maszyny.
Zabronione jest używanie maszyny bez założonych i działających wszystkich osłon oraz innych urządzeń ochronnych.
Nie zezwalaj osobom postronnym ani dzieciom na podchodzenie w pobliże obszaru pracy. Nigdy nie pozwalaj dzieciom obsługiwać maszyny.
Przed serwisowaniem lub dolewaniem paliwa należy wyłączyć maszynę i wyjąć kluczyk.
Nieprawidłowe używanie tej maszyny może być
przyczyną obrażeń. Aby zmniejszyć ryzyko
urazu, należy postępować zgodnie z niniejszymi
instrukcjami bezpieczeństwa i zawsze zwracać uwagę
na symbol dotyczący bezpieczeństwa
, który oznacza:
uwaga, ostrzeżenie lub niebezpieczeństwo – instrukcja
dotycząca bezpieczeństwa osobistego. Nieprzestrzeganie
powyższych zasad może doprowadzić do obrażeń
ciała lub do śmierci.
![]() |
Etykiety dotyczące bezpieczeństwa oraz instrukcje są wyraźnie widoczne dla operatora i znajdują się w pobliżu wszystkich miejsc potencjalnego zagrożenia. Uszkodzone i brakujące etykiety należy wymienić. |









Note: Należy ustalić lewą i prawą stronę maszyny ze standardowego stanowiska operatora.
Części potrzebne do tej procedury:
| Kierownica | 1 |
| Osłona | 1 |
| Podkładka (½ cala) | 1 |
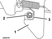
Jeżeli pokrywa jest zamontowana, zdejmij ją z piasty koła kierownicy (Rysunek 3).
Odkręć nakrętkę zabezpieczającą (½ cala) z wału kierownicy (Rysunek 3).
Wsuń kierownicę i podkładkę (½ cala) na wał kierownicy (Rysunek 3).
Zamocuj kierownicę do wału nakrętką zabezpieczającą (½ cala) i dokręć ją z momentem od 27 do 34 N∙m.
Zamocuj pokrywę na kierownicę (Rysunek 3).

Nieprawidłowe poprowadzenie przewodów akumulatora może spowodować uszkodzenie maszyny i przewodów oraz powodować iskrzenie. Iskrzenie może spowodować wybuch gazów akumulatora, co będzie skutkowało obrażeniami ciała.
Zawsze odłączaj najpierw ujemny przewód akumulatora (czarny), a następnie przewód dodatni (czerwony).
Zawsze podłączaj najpierw przewód dodatni (czerwony).
Ściśnij pokrywę akumulatora, aby uwolnić zaczepy z podstawy akumulatora (Rysunek 4).

Zdejmij pokrywę akumulatora z podstawy akumulatora (Rysunek 4).
Podłącz dodatni (czerwony) przewód akumulatora do dodatniego (+) zacisku akumulatora i zamocuj przewód przy użyciu śrub i nakrętek (Rysunek 5).

Nasuń osłonę izolacyjną na zacisk dodatni.
Note: Osłona izolacyjna zapobiega wystąpieniu zwarcia do ziemi.
Podłącz ujemny (czarny) przewód akumulatora do ujemnego (-) zacisku akumulatora i zamocuj przewód przy użyciu śrub i nakrętek.
Dopasuj pokrywę akumulatora do podstawy akumulatora (Rysunek 4).
Ściśnij pokrywę akumulatora, dopasuj zaczepy do podstawy akumulatora i puść pokrywę akumulatora (Rysunek 4).
Sprawdź poziom oleju silnikowego przed pierwszym uruchomieniem i po pierwszym uruchomieniu silnika; patrz rozdział Sprawdzanie poziomu oleju w silniku.
Sprawdź poziom płynu hamulcowego przed pierwszym uruchomieniem silnika; patrz rozdział Sprawdzenie poziomu płynu hamulcowego.
Sprawdź poziom oleju w skrzyni biegów przed pierwszym uruchomieniem silnika; patrz rozdział Sprawdzanie poziomu oleju w skrzyni biegów..
Sprawdź ciśnienie powietrza w oponach, patrz rozdział Sprawdzanie ciśnienia w oponach.
Aby zapewnić optymalną wydajność układu hamulcowego, dotrzyj hamulce przed rozpoczęciem użytkowania.
Rozpędź maszynę do pełnej prędkości i włącz hamulce, aby gwałtownie ją zatrzymać bez blokowania kół.
Powtórz tę procedurę 10 razy, odczekując 1 minutę między zatrzymaniami, aby uniknąć przegrzania hamulców.
Important: Procedura ta jest najskuteczniejsza, gdy maszyna jest obciążona ładunkiem 227 kg.
Części potrzebne do tej procedury:
| Instrukcja obsługi | 1 |
| Instrukcja obsługi silnika | 1 |
| Karta rejestracyjna | 1 |
| Formularz inspekcji przed dostawą | 1 |
| Świadectwo jakości | 1 |
| Kluczyk | 2 |
Przeczytaj instrukcję obsługi oraz instrukcję obsługi silnika.
Wypełnij kartę rejestracyjną.
Wypełnij formularz inspekcji przed dostawą.
Zapoznaj się ze świadectwem jakości.

Zanim uruchomisz silnik i rozpoczniesz pracę z maszyną, zapoznaj się ze wszystkimi elementami sterowania.

Pedał przyspieszania (Rysunek 7) służy do zmiany prędkości jazdy pojazdu. Naciśnięcie pedału przyspieszania spowoduje uruchomienie silnika. Dalsze wciśnięcie pedału spowoduje zwiększenie prędkości jazdy. Zwolnienie pedału spowoduje zmniejszenie prędkości jazdy pojazdu, a następnie wyłączenie silnika.
Note: Maksymalna prędkość jazdy do przodu to 26 km/h.
Pedał hamulca służy do zatrzymania lub spowolnienia pojazdu (Rysunek 7).
Eksploatacja pojazdu ze zużytymi lub nieprawidłowo wyregulowanymi hamulcami może spowodować obrażenia ciała.
Jeśli pedał hamulca daje się nacisnąć do punktu oddalonego o 25 mm od podłogi maszyny, należy wyregulować lub naprawić hamulce.
Dźwignia hamulca postojowego znajduje się między fotelami (Rysunek 6 oraz Rysunek 7). Aby zapobiec niekontrolowanemu ruchowi maszyny, po każdym wyłączeniu jej silnika załącz hamulec postojowy. Aby załączyć hamulec postojowy, pociągnij dźwignię hamulca postojowego do góry. Aby zwolnić hamulec postojowy, popchnij dźwignię w dół.
Element sterujący ssania znajduje się poniżej z prawej strony fotela operatora. Przy uruchamianiu zimnego silnika użyj przełącznika ssania poprzez wyciągnięcie dźwigni regulującej ssanie (Rysunek 8). Po uruchomieniu silnika należy wyregulować ssanie w celu zapewnienia płynnej pracy silnika. W trakcie rozgrzewania się silnika ustaw dźwignię ssania w położeniu WYłąCZENIA.

Wybierak zmiany biegów znajduje się między fotelami, poniżej dźwigni hamulca postojowego. Wybierak zmiany biegów ma 3 położenia: DO PRZODU, DO TYłU oraz NEUTRALNE (Rysunek 8).
Note: Uruchomienie silnika i jego praca są możliwe w każdym z tych 3 położeń.
Important: Zatrzymuj pojazd zawsze przed zmianą przełożenia.
Przełącznik klaksonu znajduje się na panelu sterowania (Rysunek 7). Naciśnij przełącznik, aby uruchomić klakson.
Stacyjka znajduje się w prawym dolnym rogu tablicy rozdzielczej (Rysunek 7).
Wyłącznik zapłonu ma 3 położenia: WYłąCZENIE, ZAPłON oraz ROZRUCH.
Możliwe są 2 sposoby uruchomienia maszyny; patrz Uruchamianie silnika.
Użyj przełącznika świateł (Rysunek 7), aby włączyć reflektory przednie. Popchnij przełącznik świateł w górę, aby załączyć światła. Popchnij przełącznik świateł w dół, aby wyłączyć światła.
Licznik godzin wskazuje całkowitą liczbę godzin pracy maszyny. Licznik godzin (Rysunek 7) uruchamia się po przekręceniu kluczyka do położenia WłąCZENIA zapłonu lub podczas pracy silnika.
Lampka ciśnienia oleju silnikowego (Rysunek 7) ostrzega operatora, gdy ciśnienie oleju w silniku spadnie poniżej wartości umożliwiającej bezpieczną pracę silnika. Jeśli lampka zaświeci się i nie będzie gasnąć, wyłącz silnik i sprawdź poziom oleju. W razie potrzeby dolej olej do silnika; patrz rozdział Wymiana oleju silnikowego.
Note: Lampka ciśnienia oleju może migać; jest to normalne i nie jest wymagane żadne działanie.
Punkt zasilania USB (Rysunek 7) służy do zasilania urządzeń mobilnych.
Important: Jeżeli punkt zasilania USB nie jest używany, włóż w niego gumową wtyczkę, aby ochronić gniazdo przed uszkodzeniem.
Wskaźnik poziomu paliwa (Rysunek 9) znajduje się na zbiorniku paliwa obok korka wlewu po lewej stronie maszyny. Wskaźnik paliwa wskazuje ilość paliwa w zbiorniku.

Uchwyty dla pasażera znajdują się po prawej stronie tablicy rozdzielczej oraz na zewnątrz każdego z foteli (Rysunek 10).

Note: Specyfikacje i konstrukcja mogą ulec zmianie bez wcześniejszego powiadamiania.
| Masa podstawowa | 544 kg na sucho |
| Ładowność nominalna (na równym podłożu) | całkowita 749 kg, w tym 90,7 kg przypadające na operatora i 90,7 kg na pasażera, ładunek, obciążenie dyszla, masa całkowita przyczepy, akcesoria oraz osprzęt. |
| Masa całkowita pojazdu – na równym podłożu | całkowita 1292 kg, w tym wszystkie podane powyżej masy |
| Maksymalna ładowność nominalna (na równym podłożu) | całkowita 567 kg, w tym obciążenie dyszla oraz masa całkowita przyczepy |
| Masa całkowita holowanego zespołu: | |
| Hak standardowy | Pionowy nacisk na hak: 45 kg |
| Masa całkowita przyczepy: 363 kg | |
| Hak o podwyższonej wytrzymałości | Pionowy nacisk na hak: 45 kg |
| Masa całkowita przyczepy: 544 kg | |
| Szerokość całkowita | 150 cm |
| Długość całkowita | 303 cm |
| Prześwit | 25 cm z przodu bez obciążenia i operatora, 18 cm z tyłu bez obciążenia i operatora |
| Rozstaw osi | 206 cm |
| Rozstaw kół (od osi środkowej do osi środkowej) | 125 cm z przodu, 120 cm z tyłu |
| Długość platformy ładunkowej | 117 cm od wewnątrz, 133 cm od zewnątrz |
| Szerokość platformy ładunkowej | 125 cm od wewnątrz, 150 cm od zewnątrz profilowanych błotników |
| Wysokość platformy ładunkowej | 25 cm od wewnątrz |
Dostępna jest szeroka gama osprzętu i akcesoriów zatwierdzonych przez firmę Toro i przeznaczonych do stosowania z urządzeniem oraz zwiększających jego możliwości. Skontaktuj się z autoryzowanym przedstawicielem serwisowym lub dystrybutorem lub odwiedź stronę www.Toro.com, aby uzyskać listę wszystkich zatwierdzonych akcesoriów i osprzętu.
Dla zagwarantowania wydajnej i bezpiecznej pracy maszyny stosuj wyłącznie części zamienne/akcesoria zalecane przez firmę Toro. Części zamienne i akcesoria wykonane przez innych producentów mogą być niebezpieczne. Stosowanie ich mogłoby unieważnić gwarancję na produkt.
Note: Należy ustalić lewą i prawą stronę maszyny ze standardowego stanowiska operatora.
Użytkowanie lub serwisowanie maszyny przez dzieci lub osoby nieprzeszkolone albo niezdolne fizycznie jest zabronione. Lokalne przepisy prawa mogą ograniczać wiek operatora. Za szkolenie operatorów i mechaników odpowiada właściciel.
Należy zapoznać się z zasadami bezpiecznego użytkowania sprzętu, elementami sterującymi oraz symbolami bezpieczeństwa.
Zanim opuścisz stanowisko operatora, wyłącz maszynę, wyjmij kluczyk i zaczekaj, aż wszystkie ruchome części się zatrzymają. Przed przystąpieniem do regulacji, obsługi technicznej, czyszczenia lub przed przechowywaniem maszyny odczekaj aż ostygnie.
Dowiedz się, jak szybko zatrzymać i wyłączyć maszynę.
Upewnij się, że liczba osób w maszynie (operator wraz z pasażerami) nie przekracza liczby uchwytów zamontowanych w maszynie.
Upewnij się, że wszystkie urządzenia zabezpieczające i etykiety znajdują się na swoich miejscach. Wszystkie urządzenia zabezpieczające naprawiaj lub wymieniaj na nowe, a nieczytelne lub brakujące etykiety zastępuj nowymi. Nie używaj maszyny, jeśli nie znajdują się one na swoich miejscach i nie działają prawidłowo.
Podczas posługiwania się paliwem zachowaj szczególną ostrożność. Paliwo jest wysoce palne, a jego opary mają właściwości wybuchowe.
Zgasić wszelkie źródła ognia, takie jak papieros, cygaro lub fajka.
Używaj wyłącznie odpowiednich pojemników na paliwo.
Nie zdejmuj korka zbiornika paliwa ani nie uzupełniaj paliwa w trakcie pracy silnika lub gdy jest on rozgrzany.
Nie dolewaj ani nie spuszczaj paliwa w zamkniętym pomieszczeniu.
Nie przechowuj maszyny ani kanistra na paliwo w miejscach występowania otwartego ognia, tam gdzie występuje iskrzenie lub stosowany jest płomyk dyżurny, na przykład przy piecykach gazowych lub innych urządzeniach.
W przypadku rozlania paliwa nie próbuj włączać silnika, unikaj możliwości spowodowania zapłonu do czasu rozproszenia oparów paliwa.
| Częstotliwość serwisowania | Procedura konserwacji |
|---|---|
| Przed każdym użyciem lub codziennie |
|
Każdego dnia przed uruchomieniem maszyny wykonuj wymienione w rozdziale czynności kontrolne wykonywane codzienne lub przy każdym użyciu.
| Częstotliwość serwisowania | Procedura konserwacji |
|---|---|
| Przed każdym użyciem lub codziennie |
|
Zakres ciśnienia w oponach: od 0,55 do 1,03 bara
Important: Nie przekraczaj maksymalnego ciśnienia zaznaczonego na boku opony.
Note: Niezbędne ciśnienie powietrza jest uzależnione od masy przewożonego ładunku.
Sprawdź ciśnienie powietrza w oponach.
Note: Właściwe ciśnienie w przednich i tylnych oponach wynosi od 0,55 do 1,03 bara.
Stosuj niższe ciśnienie w oponach przy lżejszych ładunkach, mniej ubitym podłożu w celu poprawy komfortu jazdy oraz ograniczenia śladów po oponach.
Stosuj wyższe ciśnienie w oponach przy cięższych ładunkach oraz podczas jazdy z większą prędkością.
W razie potrzeby dostosuj ciśnienie powietrza w oponach poprzez dopompowanie lub spuszczenie powietrza.

Zalecane paliwo:
Aby uzyskać najlepsze rezultaty, używaj tylko czystej, świeżej (poniżej 30 dni) benzyny bezołowiowej o liczbie oktanowej 87 lub wyższej (metoda klasyfikacji [R+M)/2]).
Etanol: Można stosować benzynę zawierającą do 10% objętości etanolu (gazohol) lub 15% MTBE (eteru tert-butylowo-metylowego). Etanol i MTBE to nie to samo. Nie można stosować benzyny zawierającej 15% objętości etanolu (E15). Nigdy nie należy stosować benzyny, zawierającej w objętości ponad 10% etanolu, takiej jak E15 (zawiera 15% etanolu), E20 (zawiera 20% etanolu), czy E85 (zawiera do 85% etanolu). Stosowanie niezatwierdzonej benzyny może doprowadzić do problemów z pracą maszyny i może uszkodzić silnik, przy czym takie uszkodzenia mogą nie być objęte gwarancją.
Nie wolno stosować benzyny zawierającej metanol.
Nie należy przechowywać paliwa w zbiornikach czy kanistrach w okresie zimowym bez zastosowania środka stabilizującego paliwo.
Nie dolewaj oleju do benzyny.
Zbiornik paliwa mieści ok. 26,5 litra paliwa.
Zaparkuj maszynę na równej powierzchni.
Zaciągnij hamulec postojowy.
Wyłącz silnik i wyjmij kluczyk ze stacyjki.
Oczyść obszar wokół korka wlewu paliwa (Rysunek 12).

Odkręć korek zbiornika paliwa.
Napełnij zbiornik do wysokości ok. 25 mm poniżej górnej części zbiornika (podstawy szyjki wlewu).
Note: Ta przestrzeń w zbiorniku umożliwia rozszerzanie się paliwa. Nie wlewaj nadmiernej ilości paliwa do zbiornika.
Dokręć dobrze korek zbiornika paliwa.
Wytrzyj rozlane paliwo.
| Częstotliwość serwisowania | Procedura konserwacji |
|---|---|
| Po pierwszych 100 godzinach |
|
Zastosuj poniższe wskazówki, aby uzyskać lepszą wydajność maszyny.
Upewnij się, że hamulce są dotarte; patrz rozdział Docieranie hamulców.
Regularnie sprawdzaj poziomy płynów i oleju silnikowego. Zwracaj uwagę na oznaki mogące świadczyć o przegrzewaniu się pojazdu lub jego podzespołów.
Po uruchomieniu zimnego silnika pozostaw go do rozgrzania na około 15 sekund przed rozpoczęciem pracy.
Note: Odczekaj więcej czasu na rozgrzanie się silnika podczas pracy przy niskich temperaturach.
Zmieniaj prędkość pojazdu podczas pracy. Unikaj gwałtownego przyspieszania i nagłego hamowania.
Do docierania silnika nie jest wymagany specjalny olej. Użyty oryginalnie olej silnikowy jest tego samego typu, co określony dla regularnych wymian oleju.
Wszelkie specjalne kontrole przy niewielkich liczbach przepracowanych godzin można znaleźć w rozdziale .
Sprawdź i w razie potrzeby skoryguj ustawienie przedniego zawieszenia; patrz rozdział Ustawianie zbieżności kół przednich.
Właściciel/operator może zapobiegać wypadkom i jest odpowiedzialny za obrażenia ciała innych osób i uszkodzenia mienia wynikłe wskutek wypadków.
Pasażerowie mogą siedzieć wyłącznie w przeznaczonych do tego miejscach. Nie przewoź pasażerów na platformie ładunkowej. Nie zezwalaj osobom postronnym ani dzieciom na podchodzenie w pobliże obszaru pracy.
Noś odpowiednią odzież, w tym ochronę oczu, długie spodnie, pełne obuwie robocze z podeszwą antypoślizgową i ochronniki słuchu. Zwiąż włosy, jeżeli są długie, i nie noś luźnej odzieży ani zwisającej biżuterii.
Podczas obsługi maszyny zachowaj pełne skupienie. Nie podejmuj żadnych rozpraszających czynności; w przeciwnym razie możesz spowodować obrażenia lub wyrządzić szkody w mieniu.
Nie używaj maszyny będąc chorym, zmęczonym lub pod wpływem alkoholu lub narkotyków.
Maszynę można użytkować jedynie na zewnątrz lub w dobrze wentylowanym obszarze.
Nie wolno przekraczać dopuszczalnej masy całkowitej (DMC) pojazdu.
Zachowaj szczególną ostrożność podczas prowadzenia maszyny z ciężkim ładunkiem na platformie ładunkowej, hamowania lub skręcania nią.
Przewożenie na platformie ładunków o nadmiernych wymiarach zmienia stabilność maszyny. Nie przekraczaj znamionowego obciążenia platformy.
Zdolność kierowania, hamowania i stabilność maszyny ulegają pogorszeniu podczas przewożenia materiałów, których masa nie jest ściśle powiązana z maszyną. Zachowaj ostrożność przy kierowaniu lub hamowaniu, jeżeli przewozisz materiał, który nie może być przymocowany do maszyny.
Podczas użytkowania maszyny na nierównym terenie oraz w pobliżu krawężników, dziur i innych miejsc o nagłej zmianie ukształtowania przewoź mniejszy ładunek i zmniejsz prędkość jazdy maszyny. Może dojść do przemieszczenia się ładunku i utraty stabilności pojazdu.
Przed uruchomieniem maszyny upewnij się, że przekładnia jest w położeniu neutralnym, hamulec postojowy jest załączony i siedzisz w fotelu operatora.
Operator i pasażerowie powinni zawsze siedzieć, gdy maszyna jest w ruchu. Trzymaj obie ręce na kierownicy, a pasażerowie powinni korzystać z zamontowanych uchwytów do rąk. Zawsze trzymaj ramiona i nogi wewnątrz maszyny.
Korzystaj z urządzenia tylko przy dobrej widoczności. Uważaj na dziury, koleiny, garby, kamienie lub inne ukryte obiekty. Na nierównym terenie istnieje ryzyko przewrócenia się maszyny. Wysoka trawa może zakrywać przeszkody. Zachowaj ostrożność przy zbliżaniu się do zakrętów, krzewów, drzew i innych obiektów, które mogą utrudniać widoczność.
Nie jedź maszyną w pobliżu skarp, rowów lub nasypów. Nagłe przejechanie kołem przez obrzeże lub obsunięcie się obrzeża mogłoby spowodować wywrócenie się maszyny.
Zwracaj uwagę na nisko położone elementy, takie jak konary drzew, ościeża drzwi, kładki dla pieszych itp., i staraj się ich unikać.
Przed jazdą do tyłu spójrz do tyłu i w dół, aby upewnić się, że droga jest wolna.
Jeśli maszyna kiedykolwiek zacznie drgać w sposób odbiegający od normy, natychmiast się zatrzymaj, wyłącz silnik, poczekaj na zatrzymanie wszystkich ruchów roboczych i sprawdź uszkodzenie. Napraw wszystkie uszkodzenia maszyny przed wznowieniem pracy.
Droga hamowania na mokrych nawierzchniach jest dłuższa niż na suchych. Aby osuszyć mokre hamulce, jedź powoli po poziomym terenie, lekko naciskając pedał hamulca.
Jazda maszyną z dużą prędkością, a następnie gwałtowne hamowanie może spowodować zablokowanie kół tylnych, co może wpływać na kontrolę nad maszyną.
Nie dotykaj silnika, skrzyni biegów, tłumika ani kolektora wydechowego, gdy silnik jest włączony lub krótko po jego zatrzymaniu, ponieważ elementy te mogą być na tyle gorące, aby spowodować oparzenia.
Nie wolno pozostawiać uruchomionej maszyny bez nadzoru.
Przed opuszczeniem stanowiska operatora:
Zaparkuj maszynę na równej powierzchni.
Ustaw skrzynię biegów w przełożenie NEUTRALNE.
Zaciągnij hamulec postojowy.
Należy wyłączyć silnik i wyjąć kluczyk ze stacyjki.
Poczekaj na zatrzymanie wszystkich ruchów roboczych.
Nie używaj maszyny, jeżeli występuje ryzyko wystąpienia wyładowań atmosferycznych.
Używaj wyłącznie akcesoriów i osprzętu zatwierdzonych przez firmę The Toro® Company.
Note: Wśród akcesoriów dostępnych dla tej maszyny znajduje się 2-słupkowy pałąk systemu zabezpieczenia przed przewróceniem (ROPS). Zastosuj pałąk ROPS podczas pracy w pobliżu urwisk, wody, na trudnym terenie lub zboczu, gdzie występuje ryzyko przewrócenia się maszyny. Aby uzyskać szczegółowe informacje, skontaktuj się z autoryzowanym dystrybutorem firmy Toro.
Zbocza są głównym czynnikiem powodującym utratę kontroli i przewracanie się maszyny, co może skutkować poważnymi obrażeniami ciała lub śmiercią.
Sprawdź teren, aby określić, które zbocza są bezpieczne dla pracy maszyny i wyznacz własne procedury i zasady pracy na tych zboczach. Podczas dokonywania takiej oceny należy kierować się zdrowym rozsądkiem i umiejętnością oceny sytuacji.
Jeśli podczas pracy na zboczu czujesz się nieswojo, zaniechaj pracy.
Wszystkie ruchy na zboczach wykonuj w sposób powolny i stopniowy. Nie dokonuj nagłych zmian prędkości ani kierunku jazdy.
Należy unikać użytkowania maszyny na mokrej nawierzchni. Może nastąpić utrata przyczepności kół. Maszyna może się stoczyć ze zbocza wcześniej niż nastąpi utrata przyczepności kół.
Po terenie stromym jeździj w linii prostej zarówno pod górę jak i z górki.
Jeżeli maszyna straci prędkość niezbędną do wjechania pod górę, stopniowo naciśnij pedał hamulca, a następnie jadąc powoli do tyłu, zjedź ze zbocza.
Zawracanie podczas wjeżdżania na wzniesienia lub zjeżdżania z nich może być niebezpieczne. Jeśli musisz skręcić na zboczu, zrób to powoli i z zachowaniem ostrożności.
Ciężki ładunek wpływa na stabilność na zboczu. Zmniejsz masę ładunku i prędkość jazdy podczas poruszania się po wzniesieniach lub jeśli ładunek ma wysoko umieszczony środek ciężkości. Zamocuj ładunek do platformy ładunkowej maszyny, aby zapobiec jego przemieszczaniu się. Zachowaj szczególną ostrożność podczas przewożenia ładunków mogących się łatwo przemieścić (na przykład ciecze, kamienie, piasek itp.).
Unikaj ruszania, zatrzymywania i skręcania na pochyłym terenie, w szczególności, jeśli przewozisz ładunek. Zatrzymanie maszyny podczas zjazdu ze zbocza wymaga dłuższej drogi niż na płaskim terenie. Jeżeli musisz zatrzymać maszynę, unikaj gwałtownych zmian prędkości, gdyż mogą stać się one prowadzić do przewrócenia lub stoczenia się maszyny. Nie hamuj gwałtownie podczas toczenia się w tył, gdyż mogłoby to spowodować przewróceniem się maszyny.
Przy przewożeniu ładunków na platformie ładunkowej i/lub holowaniu przyczepy nie przekraczaj nominalnej ładowności maszyny, patrz Specyfikacje.
Ładunek na platformie ładunkowej należy rozmieścić równomiernie, pozwoli to uzyskać lepszą stabilność i kontrolę nad maszyną.
Przed rozładunkiem upewnij się, że za maszyną nikt nie stoi.
Nigdy nie wyładowuj ładunku z platformy, gdy maszyna stoi na pochyłości bokiem do szczytu. Zmiana rozkładu masy mogłaby spowodować przewrócenie się maszyny.
Uniesiona platforma może opaść i zranić pracujące pod nią osoby.
Zawsze przed rozpoczęciem pracy pod platformą używaj podpórki do podparcia uniesionej platformy.
Przed uniesieniem platformy zdejmij z niej cały ładunek.
Jazda z uniesioną platformą ładunkową powoduje, że maszyna jest bardziej podatna na przewrócenie. Korzystanie z maszyny z uniesioną platformą może spowodować uszkodzenie konstrukcji platformy.
Podczas użytkowania maszyny platforma ładunkowa musi być zawsze opuszczona do końca.
Opuść platformę ładunkową po wyładowaniu z niej ładunku.
W razie skupienia się masy ładunku w tylnej części platformy ładunkowej w momencie zwolnienia zaczepów platforma może się nagle przechylić i spowodować uszkodzenia ciała operatora lub osób postronnych.
W miarę możliwości staraj się umieszczać ładunki blisko środka platformy.
Przytrzymaj platformę podczas zwalniania zaczepów i upewnij się, że nikt nie opiera się o jej burty.
Przed uniesieniem platformy w górę w celu przeprowadzenia prac przy maszynie zdejmij z platformy wszystkie ładunki.
Platforma ma dużą masę. Występuje ryzyko zmiażdżenia dłoni lub innych części ciała.
Podczas opuszczania platformy nie zbliżaj rąk ani innych części ciała.
Upewnij się, że platforma ładunkowa jest opuszczona do końca i zabezpieczona zaczepami.
Unieś tylną burtę, chwytając palcami za wgłębienia w tylnej ściance burty (Rysunek 15).

Ustaw obrzeże blokujące tylnej burty równo z wycięciami w obrzeżu platformy ładunkowej na tylną burtę (Rysunek 15).
Obróć tylną burtę do tyłu i w dół (Rysunek 15).
Po wyładowaniu z platformy ładunkowej materiału przewożonego luzem, na przykład piasku, kamieni ozdobnych lub wiórów drzewnych, pewna ilość przewożonego materiału może dostać się do obszaru zawiasów tylnej burty. Przed zamknięciem tylnej burty wykonaj następujące czynności.
Usuń rękoma możliwie dużo materiału z obszaru zawiasów.
Ustaw tylną burtę w pozycji około 45° (Rysunek 16).

Wykonuj krótkie wstrząsane ruchy i poruszaj kilkukrotnie tylną burtą w górę i w dół (Rysunek 16).
Note: Pomoże to usunąć materiał z obszaru zawiasów.
Opuść tylną burtę i sprawdź, czy w obszarze zawiasów nadal znajduje się materiał.
Powtarzaj czynności od 1 do 4 aż do usunięcia materiału z obszaru zawiasów.
Obróć tylną burtę w górę i do przodu, aż obrzeże blokujące tylnej burty zrówna się z wgłębieniami na tylną burtę w platformie ładunkowej (Rysunek 15).
Note: Unieś lub opuść tylną burtę w celu ustawienia obrzeża blokującego tylnej burty równo z pionowymi wycięciami między obrzeżami platformy ładunkowej na tylną burtę.
Opuść tylną burtę, aż zostanie osadzona z tyłu platformy ładunkowej (Rysunek 15).
Note: Obrzeże blokujące tylnej burty zostanie całkowicie zamocowane w obrzeżu platformy ładunkowej na tylną burtę.
Usiądź w fotelu operatora, włóż kluczyk do stacyjki i przekręć go w prawo do położenia ZAPłONU lub ROZRUCHU.
Możliwe są 2 sposoby uruchomienia maszyny:
Uruchomienie za pomocą pedału — przekręć kluczyk w stacyjce w pozycję ON (ZAł.) i naciśnij pedał przyspieszenia.
Note: Po zdjęciu stopy z pedału przyspieszania silnik wyłącza się.
Uruchomienie za pomocą kluczyka—przekręć kluczyk w położenie ROZRUCHU, a silnik pozostanie włączony, dopóki kluczyk nie zostanie przekręcony do położenia WYłąCZENIA.
Note: Po uruchomieniu za pomocą kluczyka możesz załączyć hamulec postojowy i pracować z dala od maszyny, której silnik będzie nadal pracował, a akumulator będzie nadal przechowywał energię.
Note: Jeśli przekręcisz kluczyk do położenia ROZRUCHU, silnik będzie się obracał, aż się uruchomi. Jeżeli silnik obraca się przez ponad 10 sekund, wróć do położenia WYłąCZENIA i zbadaj problem (np. należy uruchomić ssanie, sprawdź, czy filtr powietrza jest drożny, upewnij się, że zbiornik paliwa jest pełny, świeca nie działa poprawnie itp.) przed ponownym uruchomieniem maszyny.
Note: W przypadku pojazdu wyposażonego w opcjonalny alarm cofania jeżeli przesuniesz dźwignię zmiany biegów na położenie COFANIA, gdy kluczyk znajduje się w położeniu ZAPłONU lub ROZRUCHU, sygnał dźwiękowy poinformuje operatora, że maszyna jest na biegu wstecznym.
Przesuń dźwignię zmiany biegów w pożądanym kierunku jazdy maszyny.
Wyłącz hamulec postojowy.
Powoli naciśnij pedał przyspieszania.
Note: Jeśli silnik jest zimny, wciśnij i przytrzymaj pedał przyspieszania mniej więcej do połowy i wyciągnij gałkę włącznika ssania do pozycji WłąCZONEJ. Po rozgrzaniu się silnika ustaw dźwignię ssania w pozycji WYłąCZENIA.
Important: W przypadku zatrzymywania maszyny na pochyłości użyj hamulca zasadniczego do zatrzymania pojazdu, a następnie zaciągnij hamulec postojowy w celu unieruchomienia pojazdu. Używanie pedału przyspieszenia w celu zatrzymania maszyny na zboczu wzniesienia może uszkodzić pojazd.
Zdejmij stopę z pedału przyspieszenia.
Powoli naciśnij pedał hamulca, aby uruchomić hamulec zasadniczy i spowodować całkowite zatrzymanie maszyny.
Note: Długość drogi hamowania może się zmieniać w zależności od obciążenia maszyny i prędkości.
Przy ładowaniu platformy ładunkowej i użytkowaniu pojazdu stosuj poniższe instrukcje:
Przestrzegaj ładowności pojazdu i nie przekraczaj masy ładunku przewożonego na platformie ładunkowej powyżej wartości podanej w rozdziale Specyfikacje oraz na tabliczce z dopuszczalną masą całkowitą pojazdu.
Note: Podana ładowność dotyczy użytkowania maszyny na poziomym podłożu.
Podczas eksploatacji maszyny na pochyłościach i nierównym terenie zmniejsz ciężar ładunków przewożonych na platformie ładunkowej.
Zmniejsz ciężar przewożonych ładunków, jeśli są one wysokie (i mają wysoko umieszczony środek ciężkości), takie jak stosy cegieł, drewno ozdobne lub worki z nawozem. Rozmieść ładunek tak nisko, jak się da. Upewnij się, że ładunek nie wpływa na widoczność z tyłu podczas używania pojazdu.
Umieszczaj ładunki na środku; podczas ładowania platformy ładunkowej stosuj poniższe zasady:
Rozłóż ciężar ładunku równomiernie na całej szerokości platformy.
Important: Umieszczenie ładunku po jednej ze stron zwiększa prawdopodobieństwo przewrócenia się pojazdu.
Rozłóż ciężar ładunku równomiernie na całej długości platformy.
Important: Umieszczenie ładunku za tylną osią może spowodować utratę możliwości kierowania pojazdem lub przewrócenie się pojazdu oraz pogorszenie przyczepności przednich opon.
Podczas przewożenia ponadwymiarowych ładunków na platformie ładunkowej zachowaj szczególną ostrożność, zwłaszcza jeżeli ciężar ładunku nie wypada na środku platformy ładunkowej.
Zawsze gdy to możliwe, zabezpiecz ładunek przed przemieszczaniem się poprzez przywiązanie go do platformy ładunkowej.
Podczas przewożenia cieczy zachowaj ostrożność przy wjeżdżaniu na wzniesienie lub zjeżdżaniu z niego, przy nagłych zmianach prędkości lub zatrzymywaniu się oraz podczas jazdy po nierównej nawierzchni.
Pojemność skrzyni ładunkowej wynosi 0,37 m3. Ilość (objętość) materiałów, którą można umieścić na platformie bez przekroczenia ładowności maszyny, zależy w dużym stopniu od gęstości tych materiałów.
W poniższej tabeli podane są dopuszczalne objętości różnych materiałów:
| Materiał | Gęstość | Maksymalna ładowność platformy ładunkowej(na równym podłożu) |
| Żwir suchy | 1522 kg/m3 | Pełna |
| Żwir mokry | 1922 kg/m3 | ¾ platformy |
| Piasek suchy | 1442 kg/m3 | Pełna |
| Piasek mokry | 1922 kg/m3 | ¾ platformy |
| Drewno | 721 kg/m3 | Pełna |
| Kora drzewna | <721 kg/m3 | Pełna |
| Ziemia ubita | 1602 kg/m3 | ¾ platformy (w przybliżeniu) |
Przed opuszczeniem stanowiska operatora:
Zaparkuj maszynę na równej powierzchni.
Ustaw skrzynię biegów w przełożenie NEUTRALNE.
Zaciągnij hamulec postojowy.
Należy wyłączyć silnik i wyjąć kluczyk ze stacyjki.
Poczekaj na zatrzymanie wszystkich ruchów roboczych.
Przed przystąpieniem do regulacji, obsługi technicznej, czyszczenia lub przed przechowywaniem maszyny odczekaj aż ostygnie.
Nie przechowuj maszyny w miejscach występowania otwartego ognia, tam gdzie występuje iskrzenie lub stosowany jest płomyk dyżurny, na przykład przy piecykach gazowych lub innych urządzeniach.
Utrzymuj wszystkie części maszyny w nienagannym stanie, a wszystkie elementy montażowe dobrze dokręcone.
Konserwację i czyszczenie pasów bezpieczeństwa przeprowadzaj wedle potrzeb.
Należy wymieniać/uzupełniać wszystkie zużyte, uszkodzone oraz brakujące naklejki.
Zachowaj ostrożność podczas załadunku urządzenia na przyczepę lub ciężarówkę i rozładunku z nich.
Do ładowania maszyny na przyczepę i zdejmowania jej z przyczepy używaj platformy o pełnej szerokości.
Zamocuj maszynę w pewny sposób.
Rozmieszczenie punktów mocowania jest podane na Rysunek 17 i Rysunek 18.
Note: Załaduj pojazd na przyczepę przodem pojazdu skierowanym do przodu. Jeśli nie jest to możliwe, zamocuj maskę pojazdu do ramy pasem lub zdejmij maskę oraz transportuj ją i zamocuj oddzielnie, w przeciwnym razie maska może zostać zdmuchnięta podczas transportu.


W sytuacji awaryjnej dopuszczalne jest holowanie maszyny na niewielkie odległości, jednakże nie należy tej możliwości stosować w normalnych warunkach.
Holowanie z nadmierną prędkością może spowodować utratę kontroli nad pojazdem i grozi powstaniem obrażeń ciała.
Nie wolno holować maszyny z prędkością większą niż 8 km/h.
Holowanie maszyny wymaga dwóch osób. Pojazd wymagający przemieszczenia na znaczne odległości należy transportować na ciężarówce lub przyczepie; patrz rozdział Holowanie przyczepy
Zdemontuj pas napędowy pojazdu; patrz rozdział Wymiana paska napędowego.
Zamocuj linę holowniczą do haka holowniczego z przodu ramy maszyny (Rysunek 17).
Ustaw dźwignię zmiany biegów w położeniu NEUTRALNYM i zwolnij hamulec postojowy.
Ten pojazd może holować przyczepy. Dla tej maszyny dostępny jest hak holowniczy. W celu uzyskania wsparcia należy skontaktować się z przedstawicielem autoryzowanego serwisu.
Podczas przewożenia ładunku lub holowania przyczepy nie wolno przeciążać pojazdu ani przyczepy. Przeciążenie maszyny lub przyczepy może pogorszyć sprawność lub uszkodzić hamulce, oś, silnik, skrzynię biegów, układ kierowniczy, zawieszenie, konstrukcję nadwozia lub opony.
Zawsze ładuj przyczepę, umieszczając do 60% masy ładunku z przodu przyczepy. Dzięki temu około 10% masy całkowitej przyczepy (MCP) będzie obciążać hak holowniczy pojazdu.
Aby zapewnić odpowiednią przyczepność i zdolność hamowania, zawsze podczas ciągnięcia przyczepy obciążaj platformę ładunkiem. Nie przekraczaj dopuszczalnych mas DMC lub MCP.
Unikaj parkowania pojazdu z przyczepą na pochyłości. Jeżeli parkowanie na pochyłości jest konieczne, zaciągnij hamulec postojowy i zablokuj koła przyczepy.
Note: Należy ustalić lewą i prawą stronę maszyny ze standardowego stanowiska operatora.
Nie pozwalać nieprzeszkolonym osobom serwisować maszyny.
Przed opuszczeniem stanowiska operatora:
Zaparkuj maszynę na równej powierzchni.
Ustaw skrzynię biegów w przełożenie NEUTRALNE.
Zaciągnij hamulec postojowy.
Należy wyłączyć silnik i wyjąć kluczyk ze stacyjki.
Poczekaj na zatrzymanie wszystkich ruchów roboczych.
Przed przystąpieniem do regulacji, obsługi technicznej, czyszczenia lub przed przechowywaniem maszyny odczekaj aż ostygnie.
Podeprzyj maszynę za pomocą podpórek zawsze, gdy zamierzasz pracować pod maszyną.
Nigdy nie pracuj pod uniesioną platformą bez umieszczenia podpory zabezpieczającej platformy.
Nie wolno ładować akumulatorów podczas serwisowania maszyny.
Aby mieć pewność, że maszyna jest w dobrym stanie, sprawdzaj, czy wszystkie elementy mocujące są właściwie dokręcone.
Aby zmniejszyć niebezpieczeństwo pożaru, usuwaj z maszyny nadmiar smaru, trawę, liście i nagromadzone zabrudzenia.
W miarę możliwości nie wykonuj czynności serwisowych przy pracującej maszynie. Nie zbliżaj się do ruchomych części.
Jeżeli istnieje konieczność uruchomienia maszyny w celu wykonania prac konserwacyjnych, trzymaj ręce, stopy, odzież i części ciała z dala od ruchomych części. Nie dopuszczaj osób postronnych w pobliże urządzenia.
Usuwać rozlany olej lub paliwo.
Sprawdź działanie hamulca postojowego zgodnie z zaleceniami zawartymi w harmonogramie konserwacji. Reguluj i serwisuj go wedle potrzeb.
Utrzymuj wszystkie części maszyny w nienagannym stanie, a wszystkie elementy montażowe dobrze dokręcone. Wymień wszystkie zużyte lub uszkodzone naklejki.
Nie ingeruj w działanie urządzeń zabezpieczających ani nie wykonuj czynności mogących ograniczać poziom bezpieczeństwa zapewniany przez urządzenie zabezpieczające.
Nie zmieniaj ustawień regulatora w celu zwiększenia obrotów silnika. W celu zapewnienia bezpieczeństwa i precyzji zleć przedstawicielowi autoryzowanego serwisu sprawdzenie maksymalnej wartości obrotów silnika za pomocą tachometru.
W razie konieczności przeprowadzenia poważnych napraw lub uzyskania pomocy skontaktuj się z autoryzowanym przedstawicielem firmy Toro.
Jakiekolwiek modyfikacje wprowadzane w maszynie mogą wpłynąć na jej działanie, osiągi i wytrzymałość, a użytkowanie zmodyfikowanej maszyny może spowodować obrażenia lub śmierć. Takie użytkowanie może unieważnić gwarancję na produkt udzielaną przez firmę The Toro® Company.
| Częstotliwość serwisowania | Procedura konserwacji |
|---|---|
| Po pierwszych 8 godzinach |
|
| Po pierwszych 25 godzinach |
|
| Po pierwszych 50 godzinach |
|
| Po pierwszych 100 godzinach |
|
| Przed każdym użyciem lub codziennie |
|
| Co 100 godzin |
|
| Co 200 godzin |
|
| Co 300 godzin |
|
| Co 400 godzin |
|
| Co 600 godzin |
|
| Co 800 godzin |
|
| Co 1000 godzin |
|
Note: Pobierz dostępną za darmo kopię schematu elektrycznego, wchodząc na stronę www.Toro.com i wyszukując odpowiednie schematy dla swojej maszyny po kliknięciu na łącze Manuals (Instrukcje) na stronie głównej.
Important: Dodatkowe procedury konserwacyjne zostały podane w instrukcji obsługi silnika.
Niewłaściwa konserwacja maszyny może doprowadzić do przedwczesnego uszkodzenia jej układów, co może stanowić zagrożenie dla operatora lub osób postronnych.
Maszynę należy regularnie konserwować i utrzymywać w dobrym stanie technicznym zgodnie ze wskazówkami w niniejszej instrukcji.
Tylko wykwalifikowany i upoważniony personel powinien być dopuszczony do konserwacji, napraw, regulacji i kontrolowania pojazdu.
Należy unikać zagrożeń pożarowych i upewnić się, aby na obszarze roboczym znajdował się sprzęt przeciwpożarowy. Podczas sprawdzania wycieków paliwa, elektrolitu akumulatora lub płynu chłodzącego nie wolno używać otwartego ognia.
Do czyszczenia części nie wolno używać otwartych misek z paliwem lub palnymi płynami do czyszczenia.
Jeśli pozostawisz kluczyk we włączniku, silnik może zostać przypadkowo uruchomiony przez osobę postronną, co może grozić poważnymi obrażeniami ciała operatora lub innych osób.
Przez przystąpieniem do wykonywania jakichkolwiek czynności konserwacyjnych wyłącz silnik i wyciągnij kluczyk ze stacyjki.
Należy powielić tę stronę do regularnego wykorzystywania.
| Element sprawdzany w ramach konserwacji | Na tydzień: | ||||||
|---|---|---|---|---|---|---|---|
| poniedziałek | wtorek | środa | czwartek | piątek | sobota | niedziela | |
| Sprawdź działanie hamulca zasadniczego oraz postojowego. | |||||||
| Sprawdź działanie skrzyni biegów/biegu neutralnego. | |||||||
| Sprawdź poziom paliwa. | |||||||
| Sprawdź poziom oleju w silniku. | |||||||
| Sprawdź poziom płynu hamulcowego. | |||||||
| Sprawdź poziom oleju w skrzyni biegów. | |||||||
| Sprawdź filtr powietrza. | |||||||
| Sprawdź żebra chłodzące silnik. | |||||||
| Sprawdź, czy z silnika nie dobiegają nietypowe odgłosy. | |||||||
| Sprawdź, czy podczas eksploatacji nie słychać żadnych nietypowych odgłosów. | |||||||
| Sprawdź ciśnienie w oponach. | |||||||
| Sprawdź maszynę pod kątem wycieków. | |||||||
| Sprawdzić działanie oprzyrządowania. | |||||||
| Sprawdź działanie pedału przyspieszenia. | |||||||
| Umyj maszynę. | |||||||
| Zamaluj miejsca z uszkodzonym lakierem. | |||||||
Important: Jeśli pojazd zostanie poddany działaniu jednego z poniższych warunków, konserwację należy wykonywać dwa razy częściej:
Praca na pustyni
Praca w zimnym klimacie – poniżej 10 °C
Holowanie przyczepy
Częsta praca w zapylonych warunkach
Prace budowlane
Po długim czasie pracy w błocie, piasku, wodzie lub w podobnych zapylonych środowiskach:
Jak najszybciej sprawdź i oczyść hamulce. Zapobiega to nadmiernemu zużyciu spowodowanemu przez materiały ścierne.
Do mycia maszyny należy stosować czystą wodę, ewentualnie z dodatkiem łagodnego środka myjącego.
Important: Do czyszczenia maszyny nie używaj wody słonej lub wody z odzysku.
Wiele tematów opisanych w tym rozdziale dotyczącym konserwacji wymaga podnoszenia i opuszczania platformy. Aby uniknąć poważnych obrażeń lub śmierci, stosuj następujące środki ostrożności:
Zaparkuj maszynę na równej powierzchni.
Ustaw skrzynię biegów w przełożenie NEUTRALNE.
Zaciągnij hamulec postojowy.
Wyłącz silnik i wyjmij kluczyk ze stacyjki.
Opróżnij i unieś platformę ładunkową.
Pojazd ustawiony na podnośniku może być niestabilny. Pojazd może ześlizgnąć się z podnośnika, powodując obrażenia u znajdujących się pod nim osób.
Nie uruchamiaj silnika pojazdu, gdy znajduje się on na podnośniku.
Przed opuszczeniem maszyny zawsze wyjmuj kluczyk ze stacyjki.
Zablokuj koła pojazdu, gdy jest on uniesiony.
Używaj podpórek, aby podeprzeć uniesiony pojazd.
Important: W przypadku uruchamiania silnika w celu przeprowadzenia rutynowych czynności konserwacyjnych i/lub diagnostyki unieś tylne koła pojazdu ok. 25 mm nad podłoże i podstaw podpory pod tylną oś.
Punkt podnoszenia z przodu maszyny znajduje się z przodu ramy za hakiem holowniczym (Rysunek 19).

Punkt podnoszenia z tyłu maszyny znajduje się pod tylną osią (Rysunek 20).

| Częstotliwość serwisowania | Procedura konserwacji |
|---|---|
| Co 300 godzin |
|
Rodzaj smaru: Smar Mobilgrease XHP™-222
Unieś maszynę i oprzyj ją na podporach.
Odkręć 4 nakrętki kół mocujących koło do piasty (Rysunek 22).

Odkręć śruby kołnierzowe (⅜ x ¾ cala) mocujące wspornik zespołu hamulca do osi, a następnie odłącz hamulec od osi (Rysunek 23).
Note: Przed przejściem do następnego kroku umieść podparcie pod zespołem hamulca.

Zdejmij pokrywkę przeciwpyłową z piasty koła (Rysunek 24).

Wyjmij zawleczkę i zdejmij element ustalający nakrętki z osi i nakrętki osi (Rysunek 24).
Odkręć nakrętkę osi z osi koła i zdejmij piastę wraz z tarczą hamulcową z osi (Rysunek 24 oraz Rysunek 25).

Wytrzyj oś do czysta za pomocą szmatki.
Powtórz czynności od 1 do 7 w odniesieniu do piasty i tarczy hamulcowej po przeciwnej stronie maszyny.
Zdejmij z piasty zewnętrzne łożysko wraz z bieżnią łożyska (Rysunek 26).

Zdejmij z piasty uszczelnienie oraz łożysko wewnętrzne (Rysunek 26).
Wytrzyj szmatką do czysta i sprawdź pod kątem zużycia i uszkodzeń.
Note: Do czyszczenia uszczelki nie stosuj rozpuszczalników czyszczących. Wymień uszczelkę jeśli jest zużyta lub uszkodzona.
Oczyść łożyska i bieżnie, a następnie sprawdź pod kątem zużycia i uszkodzeń.
Note: Wymień wszystkie zużyte lub uszkodzone części. Upewnij się, że łożyska i bieżnie są czyste i suche.
Oczyść wgłębienie w piaście ze smaru, ziemi i zanieczyszczeń (Rysunek 26).
Nasmaruj łożyska zalecanym smarem.
Napełnij wgłębienie zalecanym smarem w około 50 do 80% (Rysunek 26).
Zamontuj wewnętrzne łożysko w bieżni po wewnętrznej stronie piasty, a następnie zamontuj uszczelnienie (Rysunek 26).
Powtórz czynności od 1 do 8 w odniesieniu do łożysk drugiej piasty.
Nałóż cienką warstwę zalecanego smaru na oś (Rysunek 27).

Nałóż piastę z tarczą na oś z tarczą skierowaną do wewnątrz (Rysunek 27).
Załóż na oś łożysko zewnętrzne i osadź łożysko w zewnętrznej bieżni (Rysunek 27).
Załóż podkładkę odginaną na oś (Rysunek 27).
Nakręć nakrętkę osi na oś i dokręć nakrętkę z momentem 15 N∙m, obracając piastą w celu osadzenia łożyska (Rysunek 27).
Poluzuj nakrętkę osi, aż piasta będzie się obracać swobodnie.
Dokręć nakrętkę osi z momentem od 1,7 do 2,25 N∙m.
Załóż na nakrętkę element ustalający i ustaw wycięcie w elemencie ustalającym tak, aby wypadało równo z otworem w osi w celu włożenia zawleczki (Rysunek 28).
Note: Jeżeli wycięcie w elemencie ustalającym i otwór w osi nie pokrywają się, dokręć nakrętkę osi na tyle, aby zrównać wycięcie z otworem, używając momentu dokręcania nakrętki nieprzekraczającego 226 N·cm.

Załóż zawleczkę i zagnij wypustki na elemencie ustalającym (Rysunek 28).
Załóż na piastę pokrywkę przeciwpyłową (Rysunek 28).
Powtórz czynności od 1 do 10 w odniesieniu do piasty i tarczy hamulcowej po przeciwnej stronie maszyny.
Oczyść 2 śruby kołnierzowe (⅜ x ¾ cala) i pokryj gwinty cienką warstwą środka do zabezpieczania gwintów o średniej sile działania.
Umieść okładziny hamulcowe po obu stronach tarczy hamulcowej (Rysunek 23) i ustaw otwory we wsporniku zacisku równo z otworami w mocowaniu hamulca na wsporniku osi (Rysunek 27).
Zamocuj wspornik zacisku do wspornika osi (Rysunek 23) za pomocą 2 śrub kołnierzowych (⅜ x ¾ cala).
Dokręć 2 śruby kołnierzowe momentem od 47 do 54 N·m.
Ustaw otwory w kole równo z kołkami piasty i załóż koło na piastę z zaworem skierowanym do góry (Rysunek 22).
Note: Upewnij się, że powierzchnia montażowa koła przylega do powierzchni piasty.
Zamocuj koło do piasty za pomocą nakrętek do kół (Rysunek 22).
Dokręć nakrętki śrub kół momentem od 108 do 122 N·m.
Powtórz czynności od 1 do 5 w odniesieniu do hamulca i koła po przeciwnej stronie maszyny.
Przed sprawdzeniem poziomu lub dolaniem oleju do skrzyni korbowej wyłącz silnik, wyjmij kluczyk zapłonu i odczekaj, aż wszystkie części ruchome się zatrzymają.
Trzymaj ręce, stopy, twarz, inne części ciała i odzież w bezpiecznej odległości od tłumika i innych gorących powierzchni.
| Częstotliwość serwisowania | Procedura konserwacji |
|---|---|
| Co 100 godzin |
|
Note: Filtr powietrza serwisuj częściej (co kilka godzin), jeśli praca odbywa się w warunkach bardzo silnego zapylenia lub zapiaszczenia.
Unieś platformę ładunkową i podeprzyj ją podpórką.
Sprawdź, czy korpus filtra powietrza nie jest uszkodzony. Mogłoby to być przyczyną nieszczelności i uchodzenia powietrza (Rysunek 29 i Rysunek 30).
Note: Upewnij się, że pokrywa szczelnie obejmuje korpus filtra powietrza.
Note: Wymień uszkodzoną pokrywę lub obudowę filtra powietrza.


Zwolnij zaczepy mocujące pokrywę filtra powietrza do obudowy filtra powietrza (Rysunek 30).
Zdejmij pokrywę filtra powietrza z obudowy filtra powietrza i wyczyść wnętrze pokrywy (Rysunek 30).
Delikatnie wysuń wkład filtra powietrza z obudowy.
Note: W celu ograniczenia ilości uwalnianego pyłu unikaj uderzania filtrem o obudowę filtra powietrza.
Sprawdź wkład filtra powietrza.
Jeżeli wkład filtra jest czysty, zamontuj go; patrz rozdział Montaż filtra powietrza.
Jeżeli wkład filtra jest uszkodzony, wymień go; patrz rozdział Wymiana filtra powietrza.
Wyjmij wkład filtra powietrza.
Sprawdź nowy filtr pod kątem uszkodzeń powstałych podczas transportu.
Note: Sprawdź uszczelniony koniec filtra.
Important: Nie montuj uszkodzonego filtra.
Włóż nowy filtr powietrza; patrz rozdział Montaż filtra powietrza.
Important: Aby zapobiec uszkodzeniu silnika, należy go zawsze uruchamiać z zamontowanym kompletnym filtrem powietrza.
Important: Nie używaj uszkodzonego wkładu.
Note: Ze względu na możliwość uszkodzenia elementów filtrujących nie zaleca się czyszczenia zużytego wkładu filtra powietrza.
Oczyść otwór usuwania zanieczyszczeń znajdujący się w pokrywie filtra.
Wyjmij gumowy zawór wylotowy z pokrywy, oczyść wnętrze i wymień zawór wylotowy.
Włóż wkład filtra powietrza do obudowy filtra powietrza (Rysunek 30).
Note: Upewnij się, że filtr prawidłowo osiadł w obudowie, dociskając podczas montażu zewnętrzną obręcz wkładu. Nie dociskaj elastycznego środka filtra.
Umieścić pokrywę filtra powietrza na obudowie filtra (Rysunek 30).
Zamocuj pokrywę filtra do obudowy za pomocą zatrzasków (Rysunek 30).
Opuść platformę ładunkową.
| Częstotliwość serwisowania | Procedura konserwacji |
|---|---|
| Po pierwszych 25 godzinach |
|
| Co 100 godzin |
|
Note: Wymieniaj olej częściej, jeśli praca odbywa się w warunkach bardzo silnego zapylenia lub zapiaszczenia.
Note: Oddaj zużyty olej silnikowy i filtr oleju do odpowiedniego centrum recyklingu.
Rodzaj oleju: olej zawierający detergenty (klasa serwisowa API SL lub wyższa)
Pojemność skrzyni korbowej: 1,4 litra przy wymianie filtra
Lepkość: Patrz tabela poniżej.

| Częstotliwość serwisowania | Procedura konserwacji |
|---|---|
| Przed każdym użyciem lub codziennie |
|
Zaparkuj maszynę na równej nawierzchni, ustaw drążek zmiany biegów w położeniu NEUTRALNYM, załącz hamulec postojowy, wyłącz silnik i wyjmij kluczyk.
Unieś platformę ładunkową.
Oczyść szmatką obszar wokół wskaźnika poziomu oleju i korka wlewu (Rysunek 32), aby brud nie wpadł do otworu wskaźnika lub szyjki wlewu i nie uszkodził silnika.

Wyjmij wskaźnik poziomu i przetrzyj go do czysta (Rysunek 32).
Wsuń wskaźnik poziomu oleju do rurki wskaźnika i upewnij się, że jest dokładnie osadzony (Rysunek 32).
Wyjmij wskaźnik poziomu oleju i sprawdź końcówkę.
Jeśli poziom oleju jest niski, odkręć korek wlewu i dolewaj odpowiedniego oleju przez szyjkę, aż jego poziom wzrośnie do oznaczenia Full (pełny) na wskaźniku poziomu.
Note: Dolewaj olej powoli i w trakcie tej czynności sprawdzaj jego poziom. Nie dolewaj za dużo oleju.
Załóż korek wlewu (Rysunek 32).
Włóż wskaźnik poziomu oleju na swoje miejsce i dociśnij go (Rysunek 32).
Important: Dopilnuj, aby pętla wskaźnika poziomu oleju była skierowana w dół.
Opuść platformę ładunkową.
Zaparkuj maszynę na równej nawierzchni, ustaw drążek zmiany biegów w położeniu NEUTRALNYM i załącz hamulec postojowy.
Uruchom maszynę i pozwól silnikowi pracować przez kilka minut.
Wyłącz silnik i wyjmij kluczyk ze stacyjki.
Unieś platformę ładunkową i podeprzyj ją podpórką.
Odłącz ujemny przewód akumulatora, patrz rozdział Odłączanie akumulatora.
Umieścić miskę drenażową pod korkiem (Rysunek 33).

Zdejmij korek spustowy i uszczelkę (Rysunek 33).
Note: Odczekaj, aż olej spłynie całkowicie z silnika.
Wkręć korek spustowy z uszczelką i dokręć korek momentem 17,6 N·m.
Wlewaj olej przez otwór wlewu, aż poziom oleju osiągnie oznaczenie Full (pełny) na wskaźniku.
Note: Nie dolewaj za dużo oleju.
Zamocuj korek wlewu oleju i wsuń wskaźnik poziomu na swoje miejsce.
Podłącz akumulator i opuść platformę ładunkową.
| Częstotliwość serwisowania | Procedura konserwacji |
|---|---|
| Po pierwszych 25 godzinach |
|
| Co 100 godzin |
|
Spuść olej z silnika.
Zdemontuj dotychczasowy filtr oleju (Rysunek 33).
Nałóż cienką warstwę czystego oleju na uszczelkę nowego filtra.
Przykręcaj nowy filtr do adaptera, aż uszczelka zetknie się z płytką montażową; następnie dokręć filtr o dodatkowe ½ do ¾ obrotu (Rysunek 33).
Important: Nie dokręcaj filtra oleju zbyt mocno.
Wlej określony olej do skrzyni korbowej (Rysunek 31).
Uruchom silnik i pozostaw włączony, aby sprawdzić, czy nie ma wycieków oleju.
Wyłącz silnik i sprawdź poziom oleju silnikowego.
Note: W razie potrzeby dolewaj olej do silnika, aż poziom oleju osiągnie oznaczenie Full (pełny) na wskaźniku.
| Częstotliwość serwisowania | Procedura konserwacji |
|---|---|
| Co 100 godzin |
|
Typ: Champion RN14YC (lub zamiennik)
Szczelina powietrzna: 0,762 mm
Important: Pękniętą, zabrudzoną lub wadliwą świecę zapłonową należy wymienić. Nie wolno piaskować, drapać ani czyścić elektrod szczotką drucianą, ponieważ powstałe odpryski mogą przedostać się do cylindra. Skutkuje to zazwyczaj uszkodzeniem silnika.
Note: Świecę należy wyjąć i sprawdzić w przypadku awarii silnika.
Oczyść miejsce wokół świec zapłonowych, tak aby po wyjęciu świecy zapłonowej do cylindra nie dostały się ciała obce.
Odłącz przewód od świecy zapłonowej.
Wyjmij świecę zapłonową z głowicy cylindra.
Sprawdź stan elektrody bocznej, elektrody środkowej oraz izolatora elektrody środkowej pod kątem uszkodzeń (Rysunek 34).
Note: Nie używaj uszkodzonej ani zużytej świecy zapłonowej. Wymień ją na nową świecę wskazanego typu.

Szczelina powietrza pomiędzy elektrodą środkową i boczną powinna wynosić 0,762 mm, jak pokazano na rysunku Rysunek 34.
Wkręć świecę zapłonową do głowicy cylindra i dokręć ją z momentem 20 N∙m.
Podłącz przewód świecy zapłonowej.
Powtórz czynności od 1 do 7 dla drugiej świecy zapłonowej.
Unieś platformę ładunkową i podeprzyj ją podpórką w pozycji uniesionej.
Po wyłączeniu maszyny całkowicie wciśnij pedał przyspieszenia i zmierz odstęp między krawędzią prowadzącą dźwigni kątowej regulatora a wypustem wspornika.
Odstęp powinien wynosić od 0,8 do 2,0 mm
Na lince przepustnicy poluzuj przednią nakrętkę zabezpieczającą i dokręć tylną nakrętkę zabezpieczającą, aby zwiększyć niskie obroty biegu jałowego (Rysunek 35).

Zmierz wysokie obroty biegu jałowego za pomocą tachometru:
Obróć przełącznik do pozycji WłąCZONEJ.
Upewnij się, że dźwignia zmiany biegów znajduje się w położeniu NEUTRALNYM.
Całkowicie wciśnij pedał przyspieszania i zmierz prędkość silnika za pomocą tachometru; prędkość silnika powinna wynosić od 3 550 do 3 650 obr./min. W przeciwnym razie wyłącz silnik i wyreguluj nakrętki zabezpieczające linki.
Important: Nie zmniejszaj prędkości wysokich obrotów jałowych. Za pomocą tachometru sprawdź, czy wysokie obroty jałowe mieszczą się w przedziale od 3550 do 3650 obr./min.
Naciśnij podpórkę i opuść platformę ładunkową.
| Częstotliwość serwisowania | Procedura konserwacji |
|---|---|
| Co 400 godzin |
|
Sprawdź przewody paliwowe, złączki oraz obejmy pod kątem szczelności, zużycia, uszkodzeń lub obluzowanych połączeń.
Note: Przed użytkowaniem pojazdu napraw wszelkie uszkodzone lub nieszczelne elementy układu paliwowego.
| Częstotliwość serwisowania | Procedura konserwacji |
|---|---|
| Co 800 godzin |
|
Unieś platformę ładunkową i podeprzyj ją podpórką.
Przekręć przełącznik kluczykowy do pozycji WYł. (Off) i wyjmij kluczyk.
Odłącz akumulator; patrz rozdział Odłączanie akumulatora.
Pod filtrem paliwa umieść miskę drenażową.
Zdejmij obejmy mocujące filtr paliwa do przewodów paliwowych (Rysunek 36).

Wyjmij dotychczasowy filtr paliwa z przewodu paliwowego.
Note: Opróżnij dotychczasowy filtr i zutylizuj go w upoważnionym punkcie recyklingu.
Zainstaluj nowy filtr na przewodach paliwowych, tak aby strzałka była skierowana w stronę gaźnika.
Zamocuj filtr do przewodów paliwowych za pomocą obejm zdjętych w kroku 5.
Podłącz akumulator i opuść platformę ładunkową; patrz Podłączanie akumulatora.
| Częstotliwość serwisowania | Procedura konserwacji |
|---|---|
| Co 100 godzin |
|
Sprawdź otwór u dołu filtra powietrza węglowego pochłaniacza oparów i upewnij się, że jest czysty, drożny i wolny od zanieczyszczeń (Rysunek 37).

| Częstotliwość serwisowania | Procedura konserwacji |
|---|---|
| Co 200 godzin |
|
Odłącz przyłącze karbowane filtra w węglowym pochłaniaczu oparów od węża w dolnej części pochłaniacza, a następne zdejmij filtr.
Note: Wyrzucić stary filtr.

Włóż do końca przyłącze karbowane nowego filtra węglowego pochłaniacza oparów w wąż w dolnej części pochłaniacza.
Note: Węglowy pochłaniacz oparów należy wymieniać w razie jego uszkodzenia, zapchania lub gdy pojazd był używany bez filtra węglowego pochłaniacza oparów.
Note: Podczas wymiany węglowego pochłaniacza oparów należy również wymienić jego filtr.
Zdejmij znajdującą się na spodzie pojazdu opaskę kablową mocującą linkę hamulca postojowego do przewodu hamulca zasadniczego (Rysunek 40).
Zaznacz pozycję na przedniej nakrętce zabezpieczającej linki hamulca postojowego (Rysunek 40).
Note: Upewnij się, że przednia nakrętka zabezpieczająca nie obraca się.

Poluzuj tylną nakrętkę zabezpieczającą i wyjmij linkę z uchwytu linki hamulcowej (Rysunek 40).
Wyjmij zawleczkę i sworzeń jarzma mocujący jarzmo linki hamulca postojowego do dźwigni uruchamiającej hamulca, a następnie odłącz linkę od dźwigni (Rysunek 40).
Powtórz czynności od 1 do 4 dla linki hamulca postojowego po przeciwnej stronie maszyny.
Od spodu maszyny wykręć 8 śrub kołnierzowych i zdejmij 8 podkładek mocujących podstawę fotela do płyty podłogowej i tylnego kanału kabiny (Rysunek 41).

Ostrożnie wyjmij z pojazdu fotele wraz z podstawami foteli oraz linkami hamulca postojowego (Rysunek 41).
Important: Podczas wyjmowania foteli i podstaw foteli z pojazdu zwróć uwagę na poprowadzenie linek hamulca postojowego wzdłuż podwozia.

Odłącz przewód podciśnieniowy od złącza węglowego pochłaniacza oparów z oznaczeniem Purge (Oczyszczanie) (Rysunek 43).

Odłącz przewód do zbiornika paliwa od złącza węglowego pochłaniacza oparów z oznaczeniem Fuel Tank (Zbiornik paliwa) (Rysunek 43).
Wyjmij węglowy pochłaniacz oparów z mocowania pochłaniacza na zbiorniku paliwa (Rysunek 44).

Wyjmij filtr węglowego pochłaniacza oparów i odłącz krótki odcinek węża od dolnego złącza starego pochłaniacza oparów (Rysunek 45).

Zamocuj wąż do dolnego złącza nowego pochłaniacza oparów (Rysunek 45).
Wsuń do węża złącze nowego filtra węglowego pochłaniacza oparów (Rysunek 45).
Włóż nowy węglowy pochłaniacz oparów do mocowania węglowego pochłaniacza oparów na zbiorniku paliwa tak, aby złącza oczyszczania i zbiornika paliwa były skierowane do tyłu (Rysunek 44).
Podłącz przewód podciśnieniowy do złącza węglowego pochłaniacza oparów z oznaczeniem Purge (Oczyszczanie), natomiast przewód zbiornika paliwa podłącz do złącza z oznaczeniem Fuel Tank (Zbiornik paliwa) (Rysunek 43).
Wstaw fotele wraz z podstawami foteli do pojazdu i ułóż linki hamulców wzdłuż podwozia (Rysunek 41 oraz Rysunek 42).
Ustaw otwory w podstawie foteli równo z otworami w płycie podłogowej i tylnym kanale kabiny (Rysunek 41 oraz Rysunek 42).
Zamontuj podstawę fotela do płyty podłogowej i tylnego kanału kabiny za pomocą 8 śrub kołnierzowych i 8 podkładek wykręconych w kroku 1 rozdziału Demontaż foteli i podstaw foteli i dokręć śruby z momentem od 19,7 do 25,4 N∙m.
Poprowadź śrubę regulacyjną linki hamulca postojowego do wspornika linki i jarzma dźwigni uruchamiającej hamulca (Rysunek 40).
Zamocuj jarzmo do dźwigni uruchamiającej hamulca za pomocą wyjętych w kroku 4 procedury Odłączanie linki hamulca postojowego sworznia jarzma i zawleczki.
Zamocuj śrubę regulacyjną linki hamulca postojowego do wspornika linki i dokręć tylną nakrętkę zabezpieczającą (Rysunek 40).
Note: Uważaj, aby nie przekręcić przedniej nakrętki zabezpieczającej.
Powtórz czynności od 1 do 3 dla linki hamulca postojowego po przeciwnej stronie maszyny.
Podłącz złącze elektryczne do czujnika biegu wstecznego znajdującego się przy wsporniku dźwigni zmiany biegów.
Ustaw otwory we wsporniku mechanizmu zmiany biegów równo z otworami w podstawie maszyny i zamocuj płytę do podstawy 4 śrubami wykręconymi w kroku 3 procedury Odłączenie elementów sterujących przy podstawie fotela.
Ustaw otwory w płycie mechanizmu zmiany biegów równo z otworami we wsporniku mechanizmu zmiany biegów i zamocuj płytę do wspornika 4 śrubami wykręconymi w kroku 2 procedury Odłączenie elementów sterujących przy podstawie fotela.
Nakręć gałkę na dźwignię zmiany biegów i dokręć mocno gałkę ręką (Rysunek 39).
Przed przystąpieniem do naprawiania maszyny odłącz akumulator. W pierwszej kolejności odłączyć zacisk ujemny, a następnie dodatni. W pierwszej kolejności podłącz zacisk dodatni, a następnie ujemny.
Ładuj akumulator na otwartym, dobrze wentylowanym obszarze, z dala od źródeł iskier i ognia. Należy odłączać ładowarkę od zasilania przed podłączeniem lub odłączeniem od akumulatora. Należy nosić odzież ochronną i używaj narzędzi izolowanych.
Napięcie akumulatora: 12 V przy 300 amperach (zimny rozruch) w temp. -18 °C.
Zawsze utrzymuj akumulator w czystości i całkowicie napełniony.
Jeżeli zaciski akumulatora są zardzewiałe, oczyść je roztworem składającym się z 4 części wody i 1 części sody oczyszczonej.
Aby zmniejszyć korozję, nanieś cienką warstwę smaru na zaciski akumulatora.
Nieprawidłowe poprowadzenie przewodów akumulatora może spowodować uszkodzenie maszyny i przewodów z powodu iskrzenia. Iskrzenie może spowodować wybuch gazów akumulatora, co będzie skutkowało obrażeniami ciała.
Zawsze odłączaj najpierw ujemny przewód akumulatora (czarny), a następnie przewód dodatni (czerwony).
Zawsze podłączaj najpierw przewód dodatni (czerwony), a następnie przewód ujemny akumulatora (czarny).
Pasek mocujący akumulator musi być zawsze założony, gdyż chroni on i mocuje akumulator.
Zaciski akumulatora lub metalowe narzędzia mogą powodować zwarcia z metalowymi podzespołami maszyny, wywołując iskrzenie. Iskrzenie może spowodować wybuch gazów akumulatora, co grozi obrażeniami ciała.
Podczas demontażu lub montażu akumulatora nie należy dopuszczać do zetknięcia się zacisków akumulatora z jakimikolwiek metalowymi częściami maszyny.
Nie dopuścić do zwarcia pomiędzy zaciskami akumulatora a metalowymi częściami maszyny, wywołanego przez metalowe narzędzia.
Odłącz przewody akumulatora; patrz rozdział Odłączanie akumulatora.
Odkręć nakrętkę zabezpieczającą, wyjmij śrubę podsadzaną i zacisk akumulatora mocujący akumulator do tacy akumulatora (Rysunek 46).
Zdejmij akumulator z tacy akumulatora (Rysunek 46).
Ustaw akumulator na tacy akumulatora w pojeździe (Rysunek 46).
Note: Upewnij się, że dodatni i ujemny biegun akumulatora znajdują się jak na Rysunek 46.
Używając zacisku akumulatora, śruby podsadzanej i nakrętki zabezpieczającej zamocuj akumulator do tacy akumulatora (Rysunek 46).
Podłącz przewody akumulatora; patrz rozdział Podłączanie akumulatora.
W czasie ładowania akumulator wytwarza gazy, które mogą wybuchnąć.
Nie pal tytoniu w pobliżu akumulatora; utrzymuj akumulator z dala od źródeł iskier i płomieni.
Important: Akumulator musi być zawsze całkowicie naładowany. Jest to szczególnie ważne, aby zapobiec uszkodzeniu akumulatora, gdy temperatura spadnie poniżej 0 °C.
Zdemontuj akumulator z maszyny; patrz Odłączanie akumulatora.
Podłącz do biegunów akumulatora prostownik o prądzie ładowania od 3 do 4 A. Ładuj akumulator przez 4 do 8 godzin prądem od 3 do 4 A (12 V).
Note: Nie należy dopuszczać do przeładowania akumulatora.
Zamontuj akumulator, patrz Instalacja akumulatora.
Jeśli maszyna ma być przechowywana przez ponad 30 dni, wyjmij akumulator i całkowicie go naładuj. Naładowany akumulator można przechowywać na półce lub w maszynie. Jeśli jest on przechowywany w urządzeniu, należy odłączyć przewody. Akumulator należy przechowywać w chłodnym miejscu, aby zapobiec jego szybkiemu rozładowywaniu. Aby zapobiec zamarzaniu akumulatora, należy upewnić się, że jest on w pełni naładowany.
W układzie elektrycznym występują 4 bezpieczniki. Znajdują się one pod maską (Rysunek 47).
| Podnośnik skrzyni ładunkowej (otwarty; pakiet opcjonalny) | 15 A |
| Klakson/punkt zasilania USB | 20 A |
| Reflektory | 10 A |
| Bezpiecznik główny | 10 A |

Specyfikacja: Patrz Katalog części.
Odłącz akumulator; patrz rozdział Odłączanie akumulatora.
Otwórz maskę.
Odłącz złącze elektryczne wiązki przewodów od złącza zespołu żarówki (Rysunek 48).

Zdejmij szybkozapinacze mocujące reflektor przedni do wspornika reflektora (Rysunek 48).
Note: Zachowaj wszystkie części do montażu nowego reflektora.
Wyjmij zespół reflektora przesuwając go do przodu przez otwór w przednim zderzaku (Rysunek 48).
Włóż nowy reflektor przez otwór w zderzaku (Rysunek 48).
Note: Upewnij się, że kołki regulacyjne wchodzą w otwory we wsporniku montażowym za zderzakiem.
Zamocuj zespół reflektora za pomocą szybkozapinaczy usuniętych zgodnie z punktem 4.
Podłącz złącze elektryczne wiązki przewodów do złącza zespołu żarówki (Rysunek 48).
Wyreguluj reflektory, aby wiązka światła padała w określonym kierunku, patrz rozdział Regulacja reflektorów przednich.
Wyreguluj ustawienie wiązki światła przednich reflektorów według poniższej procedury za każdym razem po wymianie lub demontażu reflektora.
Zaparkuj maszynę na równym podłożu tak, aby reflektory znajdowały się około 7,6 m od ściany (Rysunek 49).
Zmierz odległość od podłoża do środka reflektora i oznacz taką samą wysokość na ścianie.
Przekręć kluczyk do położenia WłąCZENIA i włącz światła przednie.
Zwróć uwagę, jak światło reflektorów rozkłada się na ścianie.
Najjaśniejsza część wiązki świateł powinna znajdować się 20 cm poniżej oznaczenia umieszczonego na ścianie (Rysunek 49).

Przekręcaj śruby regulacyjne (Rysunek 48) z tyłu zespołu reflektora, aby odchylić zespół reflektora i ustawić właściwą pozycję rzucanej wiązki światła.
Podłącz akumulator i zamknij maskę; patrz rozdział Podłączanie akumulatora.
| Częstotliwość serwisowania | Procedura konserwacji |
|---|---|
| Co 100 godzin |
|
Sprawdź opony i obręcze pod kątem zużycia i uszkodzeń.
Note: Wypadki podczas pracy, takie jak uderzenia w krawężnik, mogą uszkodzić oponę lub obręcz oraz rozregulować zbieżność kół, należy więc sprawdzać stan opon po wypadku.
Dokręć nakrętki kół z momentem od 108 do 122 N·m.
| Częstotliwość serwisowania | Procedura konserwacji |
|---|---|
| Co 100 godzin |
|
Gdy kierownica ustawiona jest w środkowym położeniu (Rysunek 50), obracają nią w lewo lub w prawo. Jeżeli obrócisz kierownicę w lewo lub w prawo o więcej niż 13 mm, a koła się nie obrócą, sprawdź poniższe elementy układu kierowniczego i zawieszenia, aby upewnić się, że nie są poluzowane ani uszkodzone:
Połączenie wału kierownicy z zębatką kierowniczą
Important: Sprawdź stan i zabezpieczenie uszczelnienia wału i zębatki (Rysunek 51).
Drążki kierownicze zespołu zębatki kierowniczej


| Częstotliwość serwisowania | Procedura konserwacji |
|---|---|
| Co 100 godzin |
|
Sprawdź i upewnij się, że ciśnienie w oponach kół przednich wynosi 0,82 bar.
Umieść na fotelu operatora ciężar o masie równej masie ciała operatora korzystającego z tego pojazdu lub każ operatorowi usiąść na fotelu. Ciężar lub operator muszą pozostać w fotelu przez cały czas trwania procedury ustawiania.
Na poziomej nawierzchni przetocz maszynę 2 do 3 m do tyłu po linii prostej, a następnie do przodu po linii prostej w początkowe miejsce. Pozwala to na ułożenie się zawieszenia w pozycji roboczej.
Narzędzia właściciela: klucz oczkowy, część Toro nr 132-5069; skontaktuj się z autoryzowanym dystrybutorem Toro.
Important: Wyreguluj pochylenie kół jedynie wtedy, gdy korzystasz z przystawki z przodu lub jeżeli opony zużywają się nierównomiernie.
Sprawdź pochylenie każdego koła; ustawienie pochylenia powinno być możliwie jak najbardziej zbliżone do neutralnego (zerowego).
Note: Bieżniki opon powinny być ustawione równo na podłożu, aby ograniczyć nierównomierne ich zużycie.
Jeżeli pochylenie kół wymaga regulacji, za pomocą klucza oczkowego przekręć pierścień na amortyzatorze, aby ustawić koło (Rysunek 52).

Important: Przed dokonaniem regulacji zbieżności upewnij się, że pochylenie kół jest możliwie jak najbardziej zbliżone do zera; patrz rozdział Regulacja kąta pochylenia kół.
Zmierz odległość między obydwoma oponami kół przednich na wysokości osi z przedniej oraz tylnej strony kół przednich (Rysunek 53).

Jeżeli wynik pomiaru nie mieści się w zakresie od 0 do 6 mm, poluzuj nakrętki zabezpieczające na zewnętrznym końcu drążków kierowniczych (Rysunek 54).

Obracaj obie końcówki drążka, aby przesunąć przód opony do wewnątrz lub na zewnątrz.
Po zakończeniu regulacji dokręć nakrętki zabezpieczające drążków kierowniczych.
Upewnij się, że zapewniony jest pełen ruch skręcający kół w obu kierunkach.
| Częstotliwość serwisowania | Procedura konserwacji |
|---|---|
| Co 100 godzin |
|
Rodzaj oleju: SAE 10W30 (klasa serwisowa API SJ lub wyższa)
Zaparkuj maszynę na równej nawierzchni, ustaw drążek zmiany biegów w położeniu NEUTRALNYM, załącz hamulec postojowy, wyłącz silnik i wyjmij kluczyk.
Wykręć śrubę z otworu do kontroli poziomu oleju (Rysunek 55).
Note: Poziom oleju w skrzyni biegów powinien wypadać przy dolnej krawędzi otworu kontrolnego.

Jeżeli poziom oleju nie wypada przy dolnej krawędzi otworu, napełnij zbiornik olejem podanym w specyfikacji; patrz rozdział Sprawdzanie poziomu oleju w skrzyni biegów..
| Częstotliwość serwisowania | Procedura konserwacji |
|---|---|
| Co 800 godzin |
|
Rodzaj oleju: SAE 10W30 (klasa serwisowa API SJ lub wyższa)
Pojemność skrzyni biegów: 1,4 litra
Zaparkuj maszynę na równej nawierzchni, ustaw drążek zmiany biegów w położeniu NEUTRALNYM, załącz hamulec postojowy, wyłącz silnik i wyjmij kluczyk.
Wytrzyj szmatką do czysta obszar wokół korka wlewu i korka spustowego oleju (Rysunek 56).

Umieść miskę drenażową o pojemności 2 l lub większej pod korkiem spustowym.
Odkręć korek wlewu oleju, obracając go w lewo (Rysunek 56).
Note: Zachowaj korek wlewu wraz z uszczelką do wkręcenia w kroku 8.
Wykręć korek spustowy, obracając go w lewo (Rysunek 56).
Note: Zachowaj korek spustowy wraz z uszczelką do wkręcenia w kroku 6.
Note: Poczekaj, aż olej spłynie całkowicie ze skrzyni biegów.
Wkręć i dokręć korek spustowy wraz z uszczelką w otwór w obudowie skrzyni biegów (Rysunek 56).
Note: Oddaj zużyty olej do odpowiedniego centrum recyklingu.
Wlej do zbiornika (Rysunek 57) przez otwór wlewu około 1,4 litra oleju podanego w specyfikacji lub wlewaj olej, aż poziom oleju w skrzyni biegów znajdzie się na poziomie dolnej krawędzi gwintu (Rysunek 56).

Wkręć i dokręć korek napełniania wraz z uszczelką w otwór wlewu w obudowie skrzyni biegów (Rysunek 56).
Uruchom silnik i zacznij używać pojazd.
Sprawdź ponownie poziom oleju i dolej go, jeśli poziom oleju jest poniżej gwintu otworu wlewowego (Rysunek 56).
| Częstotliwość serwisowania | Procedura konserwacji |
|---|---|
| Przed każdym użyciem lub codziennie |
|
| Co 100 godzin |
|
Podczas wykonywania rutynowych prac konserwacyjnych i/lub diagnostyki silnika skrzynia biegów musi być na biegu NEUTRALNYM (Rysunek 58). NEUTRALNA pozycja wybieraka zmiany biegów pojazdu odpowiada neutralnemu przełożeniu skrzyni biegów. Wykonaj poniższe kroki, aby upewnić się, że ustawienie wybieraka w położeniu neutralnym załącza bieg neutralny skrzyni biegów:
Ustaw drążek zmiany biegów w położenie NEUTRALNE.
Upewnij się, że wspornik biegu neutralnego znajduje się w pozycji NEUTRALNEJ (na tym samym poziomie co wspornik montażowy linki poniżej wspornika zmiany przełożeń), w razie potrzeby przekręć sprzęgło napędzane (Rysunek 58).
Note: Pojazd nie może przemieszczać się do przodu ani do tyłu. Jeżeli tak się dzieje, ręcznie przesuń wspornik biegu neutralnego w położenie NEUTRALNE.

Obrócić 1 z przeciwnakrętek (Rysunek 58), aby uzyskać odstęp 0,762 do 1,524 mm między spodem nakrętki/podkładki a wspornikiem biegu neutralnego.
Note: W celu regulacji górnej przeciwnakrętki przytrzymaj trzpień gwintowany pod wspornikiem.
Obrócić drugą przeciwnakrętkę, aby uzyskać odstęp 0,76 do 1,52 mm między spodem nakrętki/podkładki a wspornikiem biegu neutralnego.
Pociągnij każdą z linek zmiany biegów i upewnij się, że między nakrętką/podkładką a wspornikiem biegu neutralnego występuje odstęp równy 0,76–1,52 mm (Rysunek 59).
Note: W razie braku odstępu wyreguluj nakrętki, aby uzyskać podany odstęp.

Uruchom silnik i kilkukrotnie przełącz skrzynię w położenia DO PRZODU, DO TYłU oraz NEUTRALNE, aby upewnić się, że wspornik biegu neutralnego działa poprawnie.
| Częstotliwość serwisowania | Procedura konserwacji |
|---|---|
| Co 400 godzin |
|
Kurz na sprzęgle uniesie się w powietrze i może spowodować obrażenia oczu lub dostać się do dróg oddechowych, powodując trudności w oddychaniu.
Przy wykonywaniu tej czynności stosuj gogle ochronne i maskę przeciwpyłową lub inne ochronniki oczu i dróg oddechowych.
Unieś i zabezpiecz platformę ładunkową.
Odkręć 3 śruby mocujące pokrywę do sprzęgła, a następnie zdejmij pokrywę (Rysunek 60).
Note: Zachowaj pokrywę i śruby do późniejszego zamocowania.

Dokładnie oczyść wnętrze pokrywy i wewnętrzne elementy sprzęgła za pomocą sprężonego powietrza.
Zamontuj pokrywę sprzęgła i przykręć ją za pomocą 3 śrub (Rysunek 60) uprzednio wykręconych w kroku 2.
Opuść platformę ładunkową.
Kurz na sprzęgle uniesie się w powietrze i może spowodować obrażenia oczu lub dostać się do dróg oddechowych, powodując trudności w oddychaniu.
Przy wykonywaniu tej czynności stosuj gogle ochronne i maskę przeciwpyłową lub inne ochronniki oczu i dróg oddechowych.
Unieś i zabezpiecz platformę ładunkową; patrz Podnoszenie platformy ładunkowej.
Wykręć śruby mocujące pokrywę sprzęgła pierwotnego, jak pokazano na rysunku Rysunek 61.
Important: Ostrożnie zdejmuj pokrywę sprzęgła; sprężyna jest ściśnięta.
Important: Zwróć uwagę na położenie symbolu X na pokrywach sprzęgieł i zespołach sprzęgieł pod kątem późniejszego mocowania.

Zdemontuj sprężynę.
Dodaj lub odejmij elementy dystansowe, aby wyregulować prędkość maksymalną. Korzystając z poniższej tabeli ustal liczbę potrzebnych elementów dystansowych.
| Elementy dystansowe | Prędkość maksymalna |
| 2 (standard) | 25,75 km/h (standard) |
| 3 | 19,31 km/h |
| 4 | 14,48 km/h |
| 5 | 9,66 km/h |
| 6 | 6,44 km/h |
Important: Nie używaj maszyny, jeżeli nie zamontowano w niej co najmniej 2 elementów dystansowych sprzęgła.
Zamontuj sprężynę i pokrywę sprzęgła.
Important: Upewnij się, że symbol X znajduje się w swoim pierwotnym położeniu.
Dokręć śruby z momentem od 179 do 228 N·m.
Połknięcie płynu chłodzącego silnik może spowodować zatrucie. Przechowuj go w miejscu niedostępnym dla dzieci i zwierząt.
Spuszczanie gorącego płynu chłodzącego pod ciśnieniem lub dotykanie gorącej chłodnicy i otaczających ją części może spowodować poważne obrażenia.
Przed odkręceniem korka chłodnicy poczekaj co najmniej 15 minut, aż silnik ostygnie.
Do odkręcania korka użyj szmatki i odkręcaj go powoli, pozwalając wydostać się nagromadzonej parze.
Nie używaj maszyny, jeżeli wszystkie pokrywy nie znajdują się na swoich miejscach.
Palce, ręce i odzież należy trzymać w bezpiecznej odległości od obracającego się wentylatora i paska napędowego.
Przed przeprowadzeniem czynności konserwacyjnych wyłącz silnik i wyjmij kluczyk z wyłącznika zapłonu.
| Częstotliwość serwisowania | Procedura konserwacji |
|---|---|
| Co 100 godzin |
|
Important: Praca z silnikiem z zablokowaną osłoną obrotową, brudnymi lub zablokowanymi żeberkami chłodzącymi lub zdjętymi osłonami chłodzenia spowoduje zniszczenie silnika na skutek przegrzania.
Important: Nigdy nie czyść silnika myjką ciśnieniową, gdyż może to spowodować zanieczyszczenie układu paliwowego wodą.
Oczyść osłonę obrotową, żeberka chłodzące i zewnętrzną powierzchnię silnika.
Note: Czyść elementy chłodzące silnika częściej przy eksploatacji w warunkach znacznego zapylenia i zanieczyszczenia.
| Częstotliwość serwisowania | Procedura konserwacji |
|---|---|
| Co 100 godzin |
|
Important: Hamulce są podzespołem pojazdu o krytycznym znaczeniu dla bezpieczeństwa. Sprawdzaj je dokładnie w zalecanych odstępach czasu, aby zapewnić ich optymalne działanie i bezpieczeństwo.
Sprawdź klocki hamulcowe pod kątem zużycia i uszkodzeń. Wymień klocki hamulcowe, jeżeli grubość ich okładzin wynosi mniej niż 1,6 mm.
Sprawdź płytę kotwiącą i inne elementy pod kątem nadmiernego zużycia lub odkształceń. Wymień wszystkie odkształcone elementy.
Sprawdź poziom płynu hamulcowego, patrz rozdział Sprawdzenie poziomu płynu hamulcowego.
| Częstotliwość serwisowania | Procedura konserwacji |
|---|---|
| Co 200 godzin |
|
Zdejmij uchwyt z dźwigni hamulca postojowego (Rysunek 62).

Poluzuj śrubę ustalającą mocującą pokrętło regulacyjne do dźwigni hamulca postojowego (Rysunek 62).
Przekręcaj pokrętło regulacyjne hamulca aż do zaciągnięcia dźwigni hamulca postojowego wymagana będzie siła od 133 do 156 N (Rysunek 62).
Note: Jeżeli mimo przekręcenia pokrętła regulacji hamulca do końca zakresu nie uda się osiągnąć siły zaciągnięcia dźwigni hamulca postojowego wynoszącej od 133 do 156 N, wykonaj czynności procedury regulacji linek hamulca, patrz rozdział Regulacja linek hamulca.
Dokręć śrubę ustalającą i załóż chwyt dźwigni (Rysunek 62).
Zdejmij uchwyt z dźwigni hamulca postojowego (Rysunek 62).
Poluzuj śrubę ustalającą (Rysunek 62) mocującą pokrętło regulacyjne do dźwigni hamulca postojowego, zwolnij hamulec postojowy i poluzuj pokrętło regulacyjne.
Od spodu maszyny poluzuj o 4 obroty tylną nakrętkę zabezpieczającą śruby regulacyjnej linki hamulca postojowego (Rysunek 63).

Dokręć przednią nakrętkę zabezpieczającą (Rysunek 63).
Przekręcaj pokrętło regulacyjne hamulca (Rysunek 62) aż do zaciągnięcia dźwigni hamulca postojowego wymagana będzie siła od 133 do 156 N.
Jeżeli nie uda się osiągnąć siły zaciągnięcia dźwigni hamulca postojowego wynoszącej od 133 do 156 N poprzez poluzowanie pokrętła regulacji hamulca, wykonaj następujące czynności:
Poluzuj przednią nakrętkę zabezpieczającą (Rysunek 63) śruby regulacyjnej linki hamulca postojowego o 1 obrót.
Dokręć tylną nakrętkę zabezpieczającą (Rysunek 63).
Przekręcaj pokrętło regulacyjne hamulca (Rysunek 62) aż do zaciągnięcia dźwigni hamulca postojowego wymagana będzie siła od 133 do 156 N.
Powtórz kroki od 1 do 3 jeszcze maksymalne 2 razy, aż do uzyskania siły oporu na dźwigni hamulca postojowego wynoszącej od 133 do 156 N.
Jeżeli nie uda się osiągnąć siły zaciągnięcia dźwigni hamulca postojowego wynoszącej od 133 do 156 N poprzez dokręcenie pokrętła regulacji hamulca, wykonaj następujące czynności:
Poluzuj tylną nakrętkę zabezpieczającą (Rysunek 63) śruby regulacyjnej linki hamulca postojowego o 1 obrót.
Dokręć przednią nakrętkę zabezpieczającą (Rysunek 63).
Przekręcaj pokrętło regulacyjne hamulca (Rysunek 62) aż do zaciągnięcia dźwigni hamulca postojowego wymagana będzie siła od 133 do 156 N.
Powtórz kroki od 1 do 3 jeszcze maksymalne 3 razy, aż do uzyskania siły oporu na dźwigni hamulca postojowego wynoszącej od 133 do 156 N.
Note: Jeżeli nie da się wyregulować linki hamulca postojowego na tyle, aby dało się ustawić pokrętło regulacji hamulca w podanym zakresie, sprawdź okładziny hamulcowe pod kątem nadmiernego zużycia.
Dokręć śrubę ustalającą i załóż uchwyt dźwigni (Rysunek 62).
| Częstotliwość serwisowania | Procedura konserwacji |
|---|---|
| Przed każdym użyciem lub codziennie |
|
Typ płynu hamulcowego: DOT 3
Zaparkuj maszynę na równej powierzchni.
Zaciągnij hamulec postojowy.
Wyłącz silnik i wyjmij kluczyk ze stacyjki.
Unieś maskę, aby uzyskać dostęp do zbiornika i pompy układu hamulcowego (Rysunek 64).

Spójrz na oznaczenia poziomu płynu z boku zbiornika (Rysunek 65).
Note: Poziom płynu powinien znajdować się powyżej poziomu minimalnego.

Jeżeli poziom płynu hamulcowego jest niski, wykonaj następujące czynności:
Zamknij maskę.
| Częstotliwość serwisowania | Procedura konserwacji |
|---|---|
| Co 1000 godzin |
|
Skontaktuj się z autoryzowanym dystrybutorem firmy Toro.
| Częstotliwość serwisowania | Procedura konserwacji |
|---|---|
| Po pierwszych 8 godzinach |
|
| Co 200 godzin |
|
Zaparkuj maszynę na równej nawierzchni, załącz hamulec postojowy, wyłącz silnik i wyjmij kluczyk.
Unieś platformę ładunkową i podeprzyj ją podpórką.
Ustaw skrzynię biegów w przełożenie NEUTRALNE.
Obróć i sprawdź pasek (Rysunek 66) pod kątem nadmiernego zużycia lub uszkodzeń.
Note: Jeśli pasek jest zużyty lub uszkodzony, wymień go; patrz rozdział Wymiana paska napędowego.

Opuść platformę ładunkową.
Unieś platformę ładunkową.
Przestaw bieg w położenie NEUTRALNE, zaciągnij hamulec postojowy, przekręć kluczyk w stacyjce do pozycji WYłąCZENIA i wyjmij kluczyk.
Obróć i poprowadź pasek nad sprzęgłem wtórnym (Rysunek 66).
Zdejmij pasek ze sprzęgła pierwotnego (Rysunek 66).
Note: Wyrzucić stary pasek.
Nałóż nowy pasek na sprzęgło pierwotne (Rysunek 66).
Obróć i poprowadź pasek nad sprzęgłem wtórnym (Rysunek 66).
Opuść platformę ładunkową.
| Częstotliwość serwisowania | Procedura konserwacji |
|---|---|
| Po pierwszych 8 godzinach |
|
| Co 200 godzin |
|
Unieś platformę ładunkową.
Odkręć nakrętkę obrotową rozrusznika z generatorem (Rysunek 67).

Wsuń łom między mocowanie silnika a rozrusznik.
Naciśnij łom w dół, aby przekręcić rozrusznik do dołu w otworze, dopóki napięcie paska nie wyniesie 6 mm przy przyłożeniu siły 44 N·m (Rysunek 67).
Dokręć ręką nakrętkę obrotową i wyjmij łom (Rysunek 67).
Dokręć nakrętkę obrotową z momentem od 88 do 115 N·m.
Opuść platformę ładunkową.
Jeżeli zaczepy nie są właściwie wyregulowane, platforma ładunkowa może w trakcie jazdy wpadać w pionowe wibracje. Słupki zaczepów posiadają regulację w celu takiego ustawienia zaczepów, aby sztywno mocowały platformę do podwozia.
| Częstotliwość serwisowania | Procedura konserwacji |
|---|---|
| Przed każdym użyciem lub codziennie |
|
Myj maszynę wedle potrzeb. Używaj w tym celu czystej wody, ewentualnie z dodatkiem łagodnego środka myjącego. Maszynę można myć szmatą.
Important: Do czyszczenia maszyny nie używaj wody słonej lub wody z odzysku.
Important: Do mycia maszyny nie należy używać myjek wysokociśnieniowych. Urządzenia do mycia wodą pod ciśnieniem mogą uszkodzić instalację elektryczną, spowodować odklejenie ważnych etykiet lub wypłukać niezbędny smar z punktów tarcia. Unikaj stosowania nadmiernej ilości wody, zwłaszcza w pobliżu panelu sterowania, silnika oraz akumulatora.
Important: Nie myj pojazdu przy włączonym silniku. Mycie maszyny przy włączonym silniku mogłoby spowodować wewnętrzne uszkodzenie silnika.
Zanim opuścisz stanowisko operatora, wyłącz maszynę, wyjmij kluczyk i zaczekaj, aż wszystkie ruchome części się zatrzymają. Przed przystąpieniem do regulacji, obsługi technicznej, czyszczenia lub przed przechowywaniem maszyny odczekaj aż ostygnie.
Nie przechowuj maszyny ani kanistra na paliwo w miejscach występowania otwartego ognia, tam gdzie występuje iskrzenie lub stosowany jest płomyk dyżurny, na przykład przy piecykach gazowych lub innych urządzeniach.
| Częstotliwość serwisowania | Procedura konserwacji |
|---|---|
| Po pierwszych 50 godzinach |
|
| Co 200 godzin |
|
| Co 400 godzin |
|
| Co 600 godzin |
|
Ustaw maszynę na równej nawierzchni, załącz hamulec postojowy, wyłącz silnik i wyjmij kluczyk.
Usuń zabrudzenia i zanieczyszczenia z całej maszyny łącznie z zewnętrzną częścią silnika.
Sprawdź hamulce, patrz rozdział Kontrola hamulców.
Wyczyścić filtr powietrza (patrz Konserwacja filtra powietrza).
Zaklej wlot powietrza i wylot układu wydechowego taśmą odporną na warunki atmosferyczne.
Wymień olej silnikowy, patrz rozdział Wymiana oleju silnikowego.
Przepłucz zbiornik paliwa świeżym i czystym paliwem.
Zamocuj wszystkie elementy mocujące układu paliwowego.
Sprawdź ciśnienie w oponach; patrz Sprawdzanie ciśnienia w oponach).
Sprawdź, czy roztwór przeciwko zamarzaniu składa się z glikolu etylenowego i wody w proporcjach 50:50 i czy jest to odpowiednie wobec oczekiwanej temperatury minimalnej w danym obszarze.
Zdemontuj akumulator z maszyny i całkowicie naładuj go, patrz Ładowanie akumulatora.
Note: Podczas przechowywania przewody akumulatory powinny być odłączone od biegunów akumulatora.
Important: Akumulator musi być w pełni naładowany, aby zapobiec jego zamarzaniu i uszkodzeniu w temperaturach poniżej 0 °C. W pełni naładowany akumulator pozostaje naładowany przez około 50 dni w temperaturach poniżej 4 °C. Jeśli temperatura spadnie poniżej 4°C, ładuj go co 30 dni.
Sprawdzić i dokręcić wszystkie śruby, nakrętki i wkręty. Napraw lub wymień wszystkie części, które są uszkodzone.
Pomaluj wszystkie porysowane i gołe powierzchnie metalowe.
Note: Lakier można kupić w autoryzowanym zakładzie serwisowym.
Maszynę należy przechowywać w czystym, suchym pomieszczeniu.
Przykryj urządzenie w sposób, który pozwoli ją ochronić i utrzymać w czystości.