Одржавање
Note: Utvrdite levu i desnu stranu mašine iz uobičajenog položaja operatera.
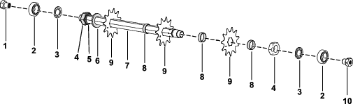
Rasklapanje sklopa sečiva jedinice za uklanjanje pokošene trave
Rasklopite sklop sečiva jedinice za uklanjanje pokošene trave svaki put kada treba da promenite sečivo ili zamenite ležajeve.
-
Stegnite u stegu kraj sklopa sa žlebastim umetkom i desnim navojem na kojem se nalazi kontranavrtka i koji sadrži podlošku.
Important: Ne uklanjajte podlošku ili navrtku na ovoj strani sklopa.
-
Uklonite ožlebljeni umetak sa navojem, ležaj i zaptivnu gumu.
-
Na drugom kraju osovine, uklonite ožlebljeni umetak sa levim navojem.
Пажња
Sečiva su izuzetno oštra i mogu imati hrapavu oštricu na koju se možete poseći.
Nosite rukavice i budite pažljivi prilikom uklanjanja sečiva sa osovine.
-
Uklonite ležaj, zaptivnu gumu, sečiva i odstojnike. Očistite i podmažite osovinu tankim slojem sredstva za podmazivanje kako biste pojednostavili sklapanje.

-
Prilikom sklapanja sklopa sečiva jedinice za uklanjanje pokošene trave, nanesite sredstvo za lepljenje navoja srednje jačine (kao što je Blue Loctite 243) na navoje ožlebljenih umetaka.
Important: Redosled rasklapanja je veoma važan. Nemojte okrenuti sečiva prilikom rasklapanja niti obrnuti redosled pri njihovom sklapanju. Obratite pažnju na indeksnu rupicu na svakom sečivu. Indeksna rupica je predviđena za sklapanje kako bi se postigla pravilna spirala. Okrenite sečivo pomoću indeksne rupice 1 ravne površine spirale suprotno od smera kretanja kazaljki na satu za svako uzastopno sečivo da biste pravilno sklopili spiralu sečiva jedinice za uklanjanje pokošene trave.

-
Zategnite ožlebljeni umetak sa navojem, zavrtanj sa šestougaonom glavom i kontranavrtku na 108 do 135 N∙m.
Rasklapanje sklopa sečiva jedinice za uklanjanje pokošene trave
Rasklopite sklop sečiva jedinice za uklanjanje pokošene trave svaki put kada treba da promenite sečivo ili zamenite ležajeve.
-
Stegnite u stegu kraj sklopa sa žlebastim umetkom i desnim navojem na kojem se nalazi kontranavrtka i koji sadrži podlošku.
Important: Ne uklanjajte podlošku ili navrtku na ovoj strani sklopa.
-
Uklonite ožlebljeni umetak sa navojem, ležaj i zaptivnu gumu.
-
Na drugom kraju osovine, uklonite ožlebljeni umetak sa levim navojem.
Пажња
Sečiva su izuzetno oštra i mogu imati hrapavu oštricu na koju se možete poseći.
Nosite rukavice i budite pažljivi prilikom uklanjanja sečiva sa osovine.
-
Uklonite ležaj, zaptivnu gumu, sečiva i odstojnike. Očistite i podmažite osovinu tankim slojem sredstva za podmazivanje kako biste pojednostavili sklapanje.
Note: Komplet čeličnog sečiva sa oprugom ima veliku podlošku i dodatno sečivo instalirano pre prvog odstojnika, kao što je prikazano ispod.

-
Prilikom sklapanja sklopa sečiva jedinice za uklanjanje pokošene trave, nanesite sredstvo za lepljenje navoja srednje jačine (kao što je Blue Loctite 243) na navoje ožlebljenih umetaka.
-
Zategnite ožlebljeni umetak sa navojem, zavrtanj sa šestougaonom glavom i kontranavrtku na 108 do 135 N∙m.
Servisiranje valjka
Greens komplet za remont valjaka (br. dela 140-5552) i Greens komplet alata za remont valjaka (br. dela 140-5553) (Слика 13) su dostupni za servisiranje valjaka. Komplet za remont valjaka uključuje sve ležaje, navrtke ležaja i zaptivke za remont valjaka.
Komplet za remont valjaka uključuje sve alate i uputstva za instalaciju potrebne za remont valjaka pomoću kompleta za remont valjaka. Pogledajte svoj katalog delova ili se obratite za pomoć ovlašćenom distributeru kompanije Toro.



, koje označava Pažnju,
Upozorenje ili Opasnost – uputstvo za ličnu bezbednost.
Nepoštovanje ovih uputstava može dovesti do telesne
povrede ili smrtnog ishoda.







