Întreţinere
Note: Determinați partea stângă și dreaptă a mașinii din poziția de operare normală.
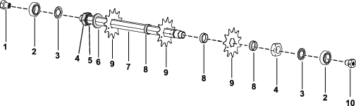
Demontarea ansamblului lamelor dispozitivului pentru înlăturarea ierbii uscate
Demontați ansamblul lamelor dispozitivului pentru înlăturarea ierbii uscate oricând trebuie să schimbați o lamă sau să înlocuiți rulmenții.
-
Fixați contrapiulița la capătul ansamblului cu inserția canelată cu filet pe partea dreaptă, care conține șaiba, cu o menghină.
Important: Nu îndepărtați șaiba sau piulița de pe această latură a ansamblului.
-
Scoateți inserția canelată filetată, rulmentul și garnitura de etanșare.
-
La celălalt capăt al arborelui, îndepărtați inserția canelată cu filet de stânga.
Avertisment
Lamele sunt extrem de ascuțite și pot prezenta bavuri care pot provoca tăieturi la nivelul mâinilor.
Purtați mănuși și îndepărtați lamele de pe arbore cu grijă.
-
Îndepărtați rulmentul, garnitura, lamele și distanțierele. Curățați și lubrifiați arborele cu un strat subțire de lubrifiant pentru a facilita montarea.

-
Aplicați un agent de blocare a filetului de duritate medie (cum ar fi Blue Loctite 243) pe filetele inserțiilor canelate atunci când asamblați ansamblul lamei unității de înlăturare a ierbii uscate.
Important: Ordinea în care se realizează demontarea este extrem de importantă. Nu inversați lamele în timpul demontării și nu schimbați ordinea de montare. Rețineți orificiul de reper de pe fiecare lamă. Orificiul de reper este realizat pentru montare, pentru a asigura obținerea arcului elicoidal corect. Rotiți lama folosind dispozitivul de măsurare plat pentru arcul elicoidal aferent orificiului de reper 1, în sensul acelor de ceasornic, pentru fiecare lamă consecutivă, pentru arcul elicoidal corect pentru montarea lamelor dispozitivului pentru înlăturarea ierbii uscate.

-
Strângeți inserția canelată filetată, șurubul cu cap hexagonal și contrapiulița la un cuplu de 108 - 135 N∙m.
Demontarea ansamblului lamelor dispozitivului pentru înlăturarea ierbii uscate
Demontați ansamblul lamelor dispozitivului pentru înlăturarea ierbii uscate oricând trebuie să schimbați o lamă sau să înlocuiți rulmenții.
-
Fixați contrapiulița la capătul ansamblului cu inserția canelată cu filet pe partea dreaptă, care conține șaiba, cu o menghină.
Important: Nu îndepărtați șaiba sau piulița de pe această latură a ansamblului.
-
Scoateți inserția canelată filetată, rulmentul și garnitura de etanșare.
-
La celălalt capăt al arborelui, îndepărtați inserția canelată cu filet de stânga.
Avertisment
Lamele sunt extrem de ascuțite și pot prezenta bavuri care pot provoca tăieturi la nivelul mâinilor.
Purtați mănuși și îndepărtați lamele de pe arbore cu grijă.
-
Îndepărtați rulmentul, garnitura, lamele și distanțierele. Curățați și lubrifiați arborele cu un strat subțire de lubrifiant pentru a facilita montarea.
Note: Setul de lame din oțel pentru arc are o șaibă mare și o lamă suplimentară instalată înaintea primului distanțier, așa cum se arată mai jos.

-
Aplicați un agent de blocare a filetului de duritate medie (cum ar fi Blue Loctite 243) pe filetele inserțiilor canelate atunci când asamblați ansamblul lamei unității de înlăturare a ierbii uscate.
-
Strângeți inserția canelată filetată, șurubul cu cap hexagonal și contrapiulița la un cuplu de 108 - 135 N∙m.
Lucrări de service pentru rolă
Setul pentru reconstrucția mașinii cu role pentru gazon (piesă nr. 140-5552) și Setul de unelte pentru reconstrucția mașinii cu role pentru gazon (piesă nr. 140-5553) (Figura 13) sunt disponibile pentru lucrările de service pentru rolă. Setul pentru reconstrucția mașinii cu role include rulmenții, piulițele pentru rulmenți și garniturile de etanșare pentru reconstruirea unei mașini cu role.
Setul de unelte pentru reconstrucția mașinii cu role pentru gazon include toate uneltele și instrucțiunile de instalare necesare reconstrucției unei mașini cu role, cu ajutorul setului pentru reconstrucția mașinii cu role. Consultați catalogul de piese sau contractați distribuitorul autorizat Toro pentru asistență.



, care înseamnă Atenție, Avertisment
sau Pericol – instrucțiune privind siguranța personală.
Nerespectarea acestor instrucțiuni poate cauza vătămări
corporale sau moartea.







