Vzdrževanje
Note: Ugotovite, katera stran je leva in katera desna, gledano s položaja za upravljanje stroja.
Razstavljanje sklopa rezil enote za prezračevanje trate
Sklop rezil enote za prezračevanje trate razstavite, kadar koli želite zamenjati rezilo ali zamenjati ležaje.
-
Varovalno matico na desnem koncu vstavnega vijaka z navojem sklopa, ki vsebuje podložko, pritrdite v primež.
Important: Ne odstranjujte podložke ali matice na tej strani sklopa.
-
Odstranite vstavni vijak z navojem, ležaj in tesnilo.
-
Na drugem koncu gredi odstranite vstavni vijak z levim navojem.
Pozor
Rezila so izredno ostra in imajo lahko zarobke, ki lahko povzročijo ureznine na rokah.
Pri odstranjevanju rezil z gredi nosite rokavice in bodite previdni.
-
Odstranite ležaj, tesnilo, rezila in distančnike. Gred očistite in namažite s tanko plastjo masti, da olajšate montažo.

-
Med sestavljanjem sklopa rezil enote za prezračevanje trate nanesite srednje močno sredstvo za zatesnitev navojev (kot je Blue Loctite 243) na navoje vstavnih vijakov.
Important: Vrstni red razstavljanja je zelo pomemben. Pri razstavljanju ne obračajte rezil in pri sestavljanju ne zamenjajte vrstnega reda. Upoštevajte označevalno luknjico v vsakem rezilu. Označevalna luknjica je namenjena za montažo, da bi dobili pravilno vijačnico. Da boste dobili pravilno vijačnico, pri sestavljanju rezil enote za prezračevanje trate zavrtite rezilo s pomočjo označevalne luknjice 1 plosko v smeri urinega kazalca pri vsakem naslednjem rezilu.

-
Privijte vstavni vijak z navojem, vijak s šestkotno glavo in protimatico z zateznim momentom od 108 do 135 N∙m.
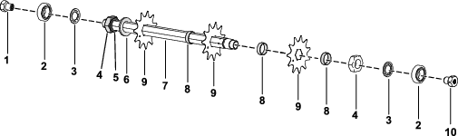
Razstavljanje sklopa rezil enote za prezračevanje trate
Sklop rezil enote za prezračevanje trate razstavite, kadar koli želite zamenjati rezilo ali zamenjati ležaje.
-
Varovalno matico na desnem koncu vstavnega vijaka z navojem sklopa, ki vsebuje podložko, pritrdite v primež.
Important: Ne odstranjujte podložke ali matice na tej strani sklopa.
-
Odstranite vstavni vijak z navojem, ležaj in tesnilo.
-
Na drugem koncu gredi odstranite vstavni vijak z levim navojem.
Pozor
Rezila so izredno ostra in imajo lahko zarobke, ki lahko povzročijo ureznine na rokah.
Pri odstranjevanju rezil z gredi nosite rokavice in bodite previdni.
-
Odstranite ležaj, tesnilo, rezila in distančnike. Gred očistite in namažite s tanko plastjo masti, da olajšate montažo.
Note: Komplet rezil iz vzmetnega jekla ima veliko podložko in dodatno rezilo, nameščeno pred prvim distančnikom, kot je prikazano spodaj.

-
Med sestavljanjem sklopa rezil enote za prezračevanje trate nanesite srednje močno sredstvo za zatesnitev navojev (kot je Blue Loctite 243) na navoje vstavnih vijakov.
-
Privijte vstavni vijak z navojem, vijak s šestkotno glavo in protimatico z zateznim momentom od 108 do 135 N∙m.
Servisiranje valja
Za servisiranje valja sta na voljo komplet za obnovo valja Greens Roller Rebuild Kit (št. dela 140-5552) in komplet orodij za obnovo valja Greens Roller Rebuild Tool Kit (št. dela 140-5553) (Diagram 13). Komplet za obnovo valja Roller Rebuild Kit vključuje vse ležaje, ležajne matice in tesnila za obnovo valja.
Komplet orodij za obnovo valja Roller Rebuild Tool Kit vključuje vsa orodja in navodila za namestitev, ki so potrebna za obnovo valja s kompletom za obnovo valja. Za pomoč glejte katalog delov ali se obrnite na pooblaščenega distributerja za izdelke Toro.



, ki lahko pomeni svarilo, opozorilo ali nevarnost
– navodila za osebno varnost, da preprečite nevarnosti
poškodb. Neupoštevanje teh navodil lahko privede do
telesnih poškodb ali smrti.







