Održavanje
Note: Odredite lijevu i desnu stranu uređaja s uobičajenog vozačevog položaja.
Rastavljanje sklopa noževa priključka za pročešljavanje
Rastavite sklop noževa priključka svaki put kad mijenjate noževe ili ležajeve.
-
S pomoću škripca učvrstite protumaticu na kraju sklopa s umetkom s desnim navojem, zajedno s podloškom.
Important: Nemojte ukloniti podlošku ili maticu s te strane sklopa.
-
Uklonite umetak s navojem, ležaj i brtveni prsten.
-
S druge strane osovine uklonite umetak s lijevim navojem.
Oprez
Noževi su vrlo oštri i mogu imati izbočine koje uzrokuju posjekline ruku.
Nosite rukavice i budite oprezni pri uklanjanju noževa s osovine.
-
Uklonite ležaj, brtveni prsten, noževe i odstojnike. Očistite i podmažite osovinu tankim slojem maziva kako biste olakšali sastavljanje.

-
Pri sastavljanju sklopa noževa priključka nanesite sredstvo za fiksiranje srednje jačine (kao što je plavi Loctite 243) na navoje umetaka.
Important: Redoslijed rastavljanja vrlo je važan. Nemojte mijenjati usmjerenje noževa pri rastavljanju ili njihov redoslijed pri sastavljanju. Obratite pažnju na referentnu rupicu na svakom nožu. Svrha je tih rupica pri sastavljanju omogućiti postizanje odgovarajućeg spiralnog položaja noževa. Koristite se rupicama kako biste okrenuli noževe u smjeru suprotnom od kazaljki na satu, po jedan dodatni okretaj za svaki sljedeći nož, kako biste postigli odgovarajući spiralni položaj noževa priključka.

-
Pritegnite umetak s navojem, šesterokutni vijak i protumaticu na 108 do 135 Nm.
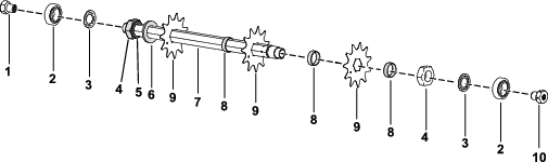
Rastavljanje sklopa noževa priključka za pročešljavanje
Rastavite sklop noževa priključka svaki put kad mijenjate noževe ili ležajeve.
-
S pomoću škripca učvrstite protumaticu na kraju sklopa s umetkom s desnim navojem, zajedno s podloškom.
Important: Nemojte ukloniti podlošku ili maticu s te strane sklopa.
-
Uklonite umetak s navojem, ležaj i brtveni prsten.
-
S druge strane osovine uklonite umetak s lijevim navojem.
Oprez
Noževi su vrlo oštri i mogu imati izbočine koje uzrokuju posjekline ruku.
Nosite rukavice i budite oprezni pri uklanjanju noževa s osovine.
-
Uklonite ležaj, brtveni prsten, noževe i odstojnike. Očistite i podmažite osovinu tankim slojem maziva kako biste olakšali sastavljanje.
Note: Komplet noževa od opružnog čelika ima veliku podlošku i još jedan nož prije prvog odstojnika kako je prikazano u nastavku.

-
Pri sastavljanju sklopa noževa priključka nanesite sredstvo za fiksiranje srednje jačine (kao što je plavi Loctite 243) na navoje umetaka.
-
Pritegnite umetak s navojem, šesterokutni vijak i protumaticu na 108 do 135 Nm.
Servisiranje valjka
Za servisiranje valjka dostupni su komplet za popravak valjka za travu (dio br. 140-5552) i komplet alata za popravak valjka za travu (dio br. 140-5553) (Slika 13). Komplet za popravak valjka za travu sadržava sve ležajeve, matice ležajeva i brtve potrebne za popravak valjka.
Komplet alata za popravak valjka za travu sadržava sve potrebne alate i upute za popravak valjka s pomoću kompleta za popravak. Pogledajte katalog dijelova ili se obratite ovlaštenom distributeru tvrtke Toro za pomoć.



, koji označava Oprez,
Upozorenje ili Opasnost – upute za osobnu sigurnost. Nepridržavanje
uputa može dovesti do tjelesnih ozljeda ili smrti.







