Ovaj je komplet električnog koluta za namatanje crijeva poseban priključak za traktorsku prskalicu za travnjak i namijenjen je profesionalnim korisnicima za komercijalnu upotrebu. Prvenstveno je namijenjen za prskanje na dobro održavanim travnjacima u parkovima i na golf-terenima, sportskim terenima i komercijalnim terenima
Pažljivo pročitajte ove informacije kako biste naučili ispravno upravljati uređajem i održavati ga te kako biste izbjegli tjelesne ozljede i oštećenja uređaja. Odgovorni ste za ispravno i sigurno upravljanje uređajem.
Na internetskoj stranici www.Toro.com možete dobiti više informacija, uključujući sigurnosne savjete, materijale za obuku rukovatelja, informacije o dodatnoj opremi i pomoć pri nalaženju distributera ili možete registrirati uređaj.
Ako vam je potreban servis, originalni dijelovi proizvođača Toro ili dodatne informacije, obratite se ovlaštenom serviseru ili službi za korisnike tvrtke Toro i pripremite broj modela i serijski broj svog uređaja. Slika 1 prikazuje lokaciju broja modela i serijskog broja na uređaju. Upišite brojeve na za to predviđeno mjesto.
Important: S pomoću mobilnog uređaja možete skenirati QR kod na naljepnici sa serijskim brojem (ako postoji) kako biste pristupili podacima o jamstvu i dijelovima te ostalim informacijama o proizvodu.

Note: Ovaj je uređaj u skladu sa svim relevantnim direktivama EU-a. Za više detalja pogledajte Izjavu o ugradnji na poleđini ove publikacije.Odredite lijevu i desnu stranu uređaja s uobičajenog vozačevog položaja.
Important: Za postavljanje ovog kompleta potrebna vam je politetraflouretilenska traka (npr. traka Teflon). Služi za omatanje navoja spojnica prije sastavljanja. Navoje treba omotati od dna prema vrhu kako bi se osigurao vodonepropustan spoj.
Important: Za postavljanje ovog kompleta potrebno je nemineralno mazivo, kao što je biljno ulje.
Ako rukovatelj ili vlasnik neispravno upotrebljavaju
ili održavaju uređaj, može doći do ozljeda.
Kako biste smanjili mogućnost ozljeda, pridržavajte
se ovih sigurnosnih uputa i uvijek obraćajte pažnju
na simbol sigurnosnog upozorenja
, koji označava Oprez, Upozorenje ili Opasnost –
upute za osobnu sigurnost. Nepridržavanje uputa može
dovesti do tjelesnih ozljeda ili smrti.
Radne i sigurnosne upute pročitajte i u Uputama za upotrebu vozila.
Ne usmjeravajte ručnu prskalicu prema ljudima ili životinjama. Tekućine pod visokim tlakom mogu prodrijeti kroz kožu i uzrokovati teške ozljede, a mogu dovesti i do amputacije uda ili smrti. Vruće tekućine i kemikalije mogu uzrokovati opekline ili ozljede. Ako bilo koji dio tijela dođe u kontakt s mlazom, odmah zatražite pomoć liječnika s iskustvom u liječenju ozljeda nastalih ubrizgavanjem tekućine.
Ruke ni bilo koji drugi dio tijela nemojte stavljati ispred mlaznice.
Ne ostavljajte opremu pod tlakom kad niste prisutni.
Ručnu prskalicu nemojte upotrebljavati ako je crijevo, blokada okidača, mlaznica ili bilo koji drugi dio oštećen ili ako nedostaje.
Nemojte upotrebljavati ručnu prskalicu ako na bilo kojem crijevu, spojnici ili bilo kojoj drugoj komponenti istječe tekućina.
Nemojte prskati u blizini električnih vodova.
Nemojte voziti dok prskate ručnom prskalicom.
Kad ručnom prskalicom raspršujete kemikalije, nosite kemijsko zaštitno odijelo, zaštitne naočale, respirator, gumene cipele i zaštitne rukavice.
Upravljajte uređajem samo kad je vidljivost dobra i u odgovarajućim vremenskim uvjetima. Ako postoji opasnost od munja, nemojte upravljati uređajem.
Kemikalije su opasne i mogu uzrokovati tjelesne ozljede.
Pročitajte upute na naljepnicama za kemikalije prije rukovanja kemikalijama te se pridržavajte svih preporuka i mjera opreza proizvođača.
Pazite da kemikalije ne dođu u dodir s kožom. Dođe li do kontakta, temeljito operite zahvaćeno područje sapunom i čistom vodom.
Nosite zaštitne naočale i drugu zaštitnu opremu koju je preporučio proizvođač kemikalije.
Ispraznite spremnik prskalice.
Očistite i isperite spremnik prskalice; pogledajte Upute za upotrebu za svoj uređaj.
Parkirajte uređaj na ravnoj površini, aktivirajte ručnu kočnicu, isključite pumpu, isključite motor, izvadite ključ i pričekajte da se svi pomični dijelovi zaustave.
Odspojite negativni kabel akumulatora.
Odspojite pozitivni kabel akumulatora.
Dijelovi potrebni za ovaj postupak:
| Kabelski svežanj | 1 |
| Prekidač | 1 |
| Čep i matica otporni na vremenske uvjete | 1 |
| Mala obujmica (tip R) | 1 |
| Prirubna matica (⅜) | 1 |
| Noseći vijak | 1 |
| Kabelski svežanj rastalnog uloška (108-9455) | 1 |
| Relej(99-7435) | 1 |
| Čepić za pričvršćivanje | 1 |
Uklonite pričvršćivače koji pričvršćuju prednje držače spremnika na vrhu spremnika.
Note: Zadržite sve dijelove.
Postavite noseći vijak u donju rupu na unutarnjoj desnoj strani držača spremnika.
Postavite pričvršćivače držača spremnika koje ste prethodno uklonili kako biste pričvrstili držače na spremnik.
Note: Provjerite je li držač pričvršćen za spremnik. Nemojte previše zategnuti.
Pričvrstite malu obujmicu (tip R) na noseći vijak s pomoću prirubne matice (⅜ inča) kako prikazuje Slika 2.
Kraj kabelskog svežnja za kolut usmjerite kroz obujmicu (tip R) kako prikazuje Slika 2.

Uklonite 4 šesterokutna vijka koji pričvršćuju poklopac upravljačke ploče na konzolu i lagano podignite ploču.
Note: Ako je potrebno, uklonite kuglastu ručicu sa šipke blokade diferencijala.

Uklonite okrugli čep s poklopca upravljačke ploče (Slika 4).

Postavite prekidač na poklopac upravljačke ploče s pomoću protumatice i pritegnite protumaticu rukom (Slika 5).

Postavite poklopac gumba na prekidač (Slika 6).

Spojite 2 konektora na kabelskom svežnju s 2-nožnim konektorom na prekidaču (Slika 7).
Pričvrstite poklopac upravljačke ploče na polugu konzole koristeći vijke koje ste prethodno uklonili.
Note: Postavite kuglastu ručicu na šipku blokade diferencijala, ako ste je prethodno uklonili.
Spojite obližnji konektor u utikač koluta na glavnom kabelskom svežnju, koji se nalazi ispod prednjeg dijela upravljačke poluge.
Umetnite sljedeći konektor u relej (Slika 7) i relej postavite u vanjsku rupu na okviru, pokraj postojećih releja.
Spojite rastalni uložak na crvenu žicu spojenu na pozitivni (+) priključak akumulatora (Slika 7).
Spojite negativni (–) priključak kabelskog svežnja na negativni (–) priključak akumulatora.
Spojite udaljeni kraj kabelskog svežnja na uzemljenje kutije osigurača (Slika 7).

Dijelovi potrebni za ovaj postupak:
| Nasadni okvir koluta | 1 |
| Matični vijak(5/16) | 10 |
| Prirubna matica (5/16 inča) | 10 |
| Okretna pločica | 1 |
| Crijevocrijevo | 1 |
| Veliki noseći vijak | 4 |
| Prirubna matica (⅜ inča) | 4 |
| Ručka | 1 |
| Štitnik od blata | 1 |
| Obujmica | 1 |
| Sigurnosna matica | 2 |
| Mali noseći vijak | 2 |
| Velika obujmica (tip R) | 2 |
| Držač prskalice | 1 |
| Odstojnik | 2 |
| Samourezni vijci | 2 |
| Aksijalni podložak | 1 |
| Prstenasti uskočnik | 1 |
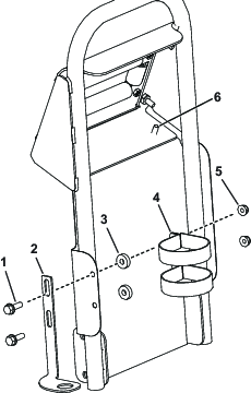
Nasadni okvir koluta montirajte na bočnu stranu uređaja s pomoću 4 vijka (5/16 inča) i 4 prirubne matice (5/16 inča) kako prikazuje Slika 8.

Pričvrstite okretnu pločicu na donji dio koluta s pomoću 4 noseća vijka i 4 prirubne matice (⅜ inča) (Slika 9).

Spustite okretnu pločicu u rupu u nasadnom okviru koluta (Slika 9).
Note: Pomaknite okretnu bravu ulijevo za lakše postavljanje.
S donje strane okvira koluta pričvrstite aksijalnu podlošku i prstenasti uskočnik za stupić na okretnoj pločici (Slika 10).

Labavo postavite ručku na okretnu pločicu s pomoću 4 vijka (5/16 inča) (Slika 11).

Pričvrstite štitnik od blata i ručku na okretnu pločicu s pomoću vijaka koje ste postavili u koraku 5 i 4 prirubne matice (5/16 inča) (Slika 11).
Pričvrstite gornji dio štitnika od blata za ručku s pomoću 2 samourezna vijka (Slika 12).

Pričvrstite držač prskalice na štitnik od blata kako prikazuje Slika 12.
Spojite kabelski svežanj na kolut.
Note: Sve uklonjene dijelove sačuvajte za kasnije postavljanje, osim ako je naznačeno drugačije.
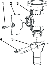
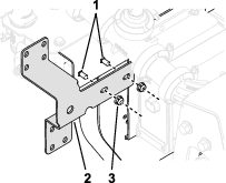
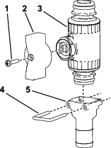
Skinite držač koji pričvršćuje aktuator na razvodnik ventila kraka ili ventila za mućkanje (Slika 13).
Note: Pritisnite 2 nožice držača jednu prema drugoj i pritišćite prema dolje.
Note: Zadržite aktuator i držač.

Uklonite aktuator s razvodnika.
Skinite držače koji drže sklop skupa optočnih ventila za krak, krajnji čep te sklop spojnice i crijeva kako prikazuje Slika 14.
Important: Ako vaš uređaj ima instaliran GeoLink, ovo napravite za skupove ventila na obje strane.
Note: Nećete upotrijebiti čep sa spojnim navojem, ali zadržite O-prsten koje je na njemu.

Zabilježite trenutne postavke lijevog i desnog gumba.
Important: Ako vaš uređaj ima instaliran GeoLink, zabilježite sve postavke gumba.
Skup optočnih ventila za krak zakrenite za 180° kako prikazuje Slika 15.

Podesite lijevi i desni gumb na prethodne postavke.
Important: Ako vaš uređaj ima instaliran GeoLink, podesite sve gumbe na njihove prethodne postavke.
Postavite skup ventila za krak s pomoću prethodno uklonjenih držača, kako prikazuje Slika 16.

Dijelovi potrebni za ovaj postupak:
| Prirubnički regulacijski ventil | 1 |
| Krilna ručka | 2 |
| Vijak ručke (6 – 32 × ⅝ inča) | 2 |
| Držač ventila | 2 |
| Koljeno od 90° | 1 |
| Prirubni prsten | 1 |
| Brtva | 1 |
| Čep spojnice (1/2 inča) | 2 |
| Ravna spojnica | 1 |
| Rašljasta obujmica | 3 |
| Ravni regulacijski ventil | 2 |
| Nosač regulacijskog ventila (serijski broj 415399999 i stariji) | 1 |
| Prirubni vijak (¼ × ⅝ inča) | 2 |
| Sigurnosna matica (¼ inča) | |
| Nosač regulacijskog ventila (serijski broj 415400000 i nadalje) | 1 |
| Nosač regulacijskog ventila (serijski broj 415400000 i nadalje sa sustavom GeoLink) | 1 |
| T-razvodnik | 1 |
| Noseći vijak (¼ × ⅝ inča) | 2 |
| Vijak (M6 x 12 mm) | 8 |
| Crijevo za dovod | 1 |
| Obujmica za crijevo | 1 |
Note: Sve uklonjene dijelove sačuvajte za kasnije postavljanje, osim ako je naznačeno drugačije.
Postavite nosač regulacijskog ventila na montažni okvir ventila s pomoću 2 prirubna vijka (¼ × ⅝ inča) kako prikazuje Slika 17.

Postavite crvenu krilnu ručku na regulacijski ventil kako prikazuje Slika 18.

Postavite držač ventila na regulacijski ventil kako prikazuje Slika 19 A.

Pričvrstite držač ventila na regulacijski ventil s pomoću prirubnog vijka (br. 6) i rukom pritegnite vijak (Slika 19 B).
Postavite sklop regulacijskog ventila na nosač regulacijskog ventila s pomoću 4 vijka (M6) kako prikazuje Slika 20.

Pričvrstite sklop regulacijskog ventila na ventil kraka s pomoću prethodno uklonjenog O-prstena i rašljaste obujmice (Slika 21).
Postavite čep (½ inča), O-prstene, spojnicu i sklop crijeva na regulacijski ventil s pomoću rašljastih obujmica koje ste prethodno uklonili kako prikazuje Slika 21.

Postavite aktuatore koje ste uklonili u koraku Slika 13 na razvodnik ventila s pomoću prethodno uklonjenih držača.
Skinite crijevo mjerača tlaka sa spojnika.
Postavite zelenu krilnu ručku i ravnu spojnicu na prirubnički regulacijski ventil s pomoću rašljaste obujmice kako prikazuje Slika 22.

Odspojite čep i spojnik od ulaza mjerača tlaka (Slika 23).

Postavite sklop regulacijskog ventila okomito kako prikazuje Slika 23.
Postavite spojnik u otvor na pravokutnoj spojnici (Slika 23).
Note: Čep se može baciti.
Spojite crijevo mjerača tlaka na spojnik.
Spojite dovodno crijevo za spremnik na vodoravni regulacijski ventil s pomoću obujmice za crijevo.
Pričvrstite otvoreni kraj crijeva za dovod na ravnu spojnicu s pomoću obujmice za crijevo.
Crijevo za dovod usmjerite kako prikazuje Slika 24 i pričvrstite ga za kolut s pomoću obujmice za crijevo.
Note: Ako je postavljen komplet za čišćenje i ispiranje spremnika, usmjerite crijevo iza pumpe za ispiranje.

Postavite aktuatore koje ste uklonili u koraku Slika 13 na razvodnik ventila s pomoću prethodno uklonjenih držača.
Postavite nosač regulacijskog ventila na montažni okvir ventila s pomoću 2 prirubna vijka (¼ × ⅝ inča) i sigurnosnih matica (¼ inča) kako prikazuje Slika 25.

Postavite crvenu krilnu ručku na ravni regulacijski ventil.

Postavite držač ventila na ravni regulacijski ventil kako prikazuje Slika 27 A.
Pričvrstite držač ventila na regulacijski ventil s pomoću prirubnog vijka (br. 6) i rukom pritegnite vijak (Slika 27 B).

Postavite sklop regulacijskog ventila na vrh nosača regulacijskog ventila s pomoću 4 vijka (M6) kako prikazuje Slika 28.

Pričvrstite sklop regulacijskog ventila na ventil kraka s pomoću prethodno uklonjenog O-prstena i rašljaste obujmice kako prikazuje Slika 29.
Postavite čep (½ inča), O-prstene, spojnicu i sklop crijeva na regulacijski ventil s pomoću rašljastih obujmica koje ste prethodno uklonili kako prikazuje Slika 29.

Uklonite rašljastu obujmicu koja pričvršćuje čep spojnice i spojnik s kraja ventila (Slika 30).
Postavite isporučeni T-razvodnik na kraj ventila s pomoću rašljaste obujmice koju ste uklonili u koraku 9.
Postavite čep spojnice na stranu T-razvodnika koji ste postavili u koraku 9.

Postavite ravnu spojnicu na drugi ravni regulacijski ventil s pomoću rašljaste obujmice kako prikazuje Slika 31.

Spojite crijevo za dovod na dno ravne spojnice.
Spojite sklop regulacijskog ventila s ravnom spojnicom na dnu T-razvodnika s pomoću isporučene rašljaste obujmice (Slika 32).
Postavite sklop regulacijskog ventila na dno nosača regulacijskog ventila s pomoću 4 vijka (M6) kako prikazuje Slika 32.

Spojite dovodno crijevo za spremnik na vodoravni regulacijski ventil s pomoću obujmice za crijevo.
Pričvrstite otvoreni kraj crijeva za dovod na ravnu spojnicu s pomoću obujmice za crijevo.
Crijevo za dovod usmjerite kako prikazuje Slika 33 i pričvrstite ga za kolut s pomoću obujmice za crijevo.
Note: Ako je postavljen komplet za čišćenje i ispiranje spremnika, usmjerite crijevo iza pumpe za ispiranje.

Postavite aktuatore koje ste uklonili u koraku Slika 13 na razvodnik ventila s pomoću prethodno uklonjenih držača.
Postavite nosač regulacijskog ventila na montažni okvir ventila s pomoću 2 noseća vijka (¼ inča – 20 × ⅝ inča) i 2 sigurnosne matice (¼ inča – 20), kako prikazuje

Uklonite rašljastu obujmicu koja pričvršćuje čep spojnice i spojnik s kraja ventila (Slika 35).
Postavite T-razvodnik kompleta na kraj ventila s pomoću rašljaste obujmice koju ste uklonili u koraku 3.

Postavite zelenu krilnu ručku na ravni regulacijski ventil Slika 36.

Postavite držač ventila na ravni regulacijski ventil kako prikazuje Slika 37 A.
Pričvrstite držač ventila na regulacijski ventil s pomoću prirubnog vijka (br. 6) i rukom pritegnite vijak (Slika 37 B).

Pričvrstite crijevo za dovod na ravnu spojnicu s pomoću obujmice za crijevo.
Pričvrstite sklop regulacijskog ventila na T-spojnicu s pomoću rašljaste obujmice kako prikazuje Slika 38.

Postavite držač ventila na nosač regulacijskog ventila s pomoću 4 prirubna vijka (M6 × 12 mm); pritegnite vijke na 10 do 12 Nm.

Postavite držač ventila na regulacijski ventil kako prikazuje A.
Pričvrstite držač ventila na regulacijski ventil s pomoću prirubnog vijka (br. 6) i rukom pritegnite vijak kako prikazuje B.

Postavite sklop regulacijskog ventila na skup ventila kako prikazuje Slika 41.

Postavite sklop regulacijskog ventila na vrh nosača regulacijskog ventila s pomoću 4 vijka (M6) kako prikazuje Slika 42.

Postavite čepove (½ inča), O-prstene, spojnice i sklopove crijeva na regulacijske ventile s pomoću rašljastih obujmica koje ste prethodno uklonili.
Uklonite rašljastu obujmicu kojom je crijevo pričvršćeno za kraj razvodnika.

Postavite zaporni ventil na crijevo i uređaj. Učvrstite ih rašljastim obujmicama.

Spojite dovodna crijeva za spremnik na vodoravni regulacijski ventil s pomoću obujmice za crijevo.
Crijevo za dovod usmjerite kako je prikazano i pričvrstite ga za kolut s pomoću obujmice za crijevo.

Note: Ako je postavljen komplet za čišćenje i ispiranje spremnika, usmjerite crijevo iza pumpe za ispiranje.
Dijelovi potrebni za ovaj postupak:
| Dugo crijevo sa spojnicom | 1 |
| Prskalica | 1 |
| Plastična obujmica za crijevo | 1 |
Pričvrstite kabelski svežanj za dovodno crijevo s pomoću 2 vezice za kabel.
Omotajte traku Teflon® oko navoja spojnice na dugoj cijevi i postavite je u spojnu cijev na kolutu (Slika 46).

Slobodan kraj dugog crijeva spojite na spojnicu prskalice (Slika 47).

Kraj crijeva učvrstite plastičnom obujmicom za crijevo.
Spojite pozitivnu žicu akumulatora na akumulator.
Spojite negativnu žicu akumulatora na akumulator.
Pritisnite gumb za namatanje crijeva i pažljivo usmjeravajte crijevo na kolut pomičući ga s jedne na drugu stranu kako bi se ravnomjerno namotalo.
Ruke, široka odjeća, duga kosa i nakit mogu zapeti u crijevu i kolutu tijekom uvlačenja i uzrokovati ozljede.
Držite ruke podalje od koluta i crijeva dok se uvlači.
Nemojte nositi široku odjeću ili nakit, a dugu kosu svežite.
Tekućina pod tlakom može prodrijeti kroz kožu i uzrokovati ozljede.
Držite ruke i tijelo podalje od mlaznica koje izbacuju tekućinu pod visokim tlakom.
Ne usmjeravajte prskalicu prema ljudima ili životinjama.
Prije stavljanja sustava pod pritisak provjerite jesu li sva crijeva za tekućinu u dobrom stanju i jesu li sve veze i spojnice zategnute.
Nađite mjesta propuštanja tekućine s pomoću kartona ili papira.
Prije obavljanja radova na sustavu sigurno otpustite sav pritisak u njemu.
Odmah potražite liječničku pomoć ako tekućina prodre kroz kožu.
Vruće tekućine i kemikalije mogu uzrokovati opekline i druge ozljede.
Important: Uvijek morate isprazniti i očistiti prskalicu neposredno nakon svake upotrebe. U suprotnom bi moglo doći do sušenja ili zgušnjavanja kemikalija u cijevima, a time i do začepljenja pumpe i ostalih komponenti.
Očistite sustav prskalice nakon svake upotrebe. Da biste dobro očistili sustav prskalice:
Isperite ga 3 puta.
Za svako ispiranje upotrijebite najmanje 189 l tekućine.
Upotrebljavajte sredstva za čišćenje i neutralizaciju u skladu s preporukom proizvođača kemikalije.
Upotrebljavajte čistu vodu (bez sredstava za čišćenje ili neutralizaciju) pri posljednjem ispiranju.
Zaustavite uređaj, isključite krakove i aktivirajte ručnu kočnicu.
Ako vozite dok upotrebljavate ručnu prskalicu, možete izgubiti kontrolu nad vozilom, što može dovesti do ozljeda ili smrti. Ne upravljajte ručnom prskalicom dok vozite.
Na stražnjoj strani uređaja provjerite je li zaključan okidač mlaznice.
Okrenite zelenu ručku regulacijskog ventila za 90°.
Uključite pumpu s vozačeva položaja.
UKLJUčITE glavni prekidač krakova.
Podesite željenu brzinu motora i aktivirajte opciju zaključavanja neutralne brzine motora.
Important: Pri upotrebi ručne prskalice nemojte primjenjivati tlak veći od 10,34 bara.
S koluta odmotajte potrebnu dužinu crijeva.
Important: Crijevo nemojte povlačiti za prskalicu. Držite i izravno povlačite crijevo. Ako crijevo povlačite prskalicom, spojnica prskalice može puknuti ili se crijevo može oštetiti.
Otpustite blokadu okidača.
Usmjerite mlaznicu prskalice prema području koje želite prskati i pritisnite okidač.
Otpustite okidač i ponovno aktivirajte blokadu kad završite.
Pritisnite gumb za uvlačenje na kolutu i uvlačite crijevo dok ne preostane samo nekoliko centimetara.
Note: Gumb za uvlačenje crijeva može se upotrebljavati samo kad je ključ nadzornika na konzoli prskalice u otključanom položaju.
Ruke, široka odjeća, duga kosa i nakit mogu zapeti u crijevu i kolutu tijekom uvlačenja i uzrokovati ozljede.
Držite ruke podalje od koluta i crijeva dok se uvlači.
Nemojte nositi široku odjeću ili nakit, a dugu kosu svežite.
Okrenite zelenu ručku regulacijskog ventila za 90°.
Usmjerite mlaznicu prema području koje je sigurno za prskanje, otključajte okidač te ga povucite i držite dok iz crijeva ne izađe sva tekućina i zatim zaključajte okidač.
Prskalicu vratite u držač na stražnjoj strani koluta.
Vratite brzinu motora na prazni hod.
Zaustavite pumpu.
Important: Isperite mlaznicu čistom vodom tijekom svakodnevnog čišćenja (pročitajte Upute za upotrebu prskalice). Ako prskalica nije dobro očišćena, može se smanjiti učinkovitost i pouzdanost kompleta koluta i prskalice.
Postavite željeni tlak (bar) prskanja s pomoću prekidača za intenzitet prskanja.