Der elektrische Schlauchwage ist ein Anbaugerät ausschließlich für ein Spritzgerät für das Spritzen von Rasenflächen und sollte nur von geschulten Lohnarbeitern in kommerziellen Anwendungen eingesetzt werden. Er ist hauptsächlich für das Sprühen von Gras auf gepflegten Grünflächen in Parkanlagen, Golfplätzen, Sportplätzen und öffentlichen Anlagen gedacht.
Lesen Sie diese Informationen sorgfältig durch, um sich mit dem ordnungsgemäßen Einsatz und der Wartung des Geräts vertraut zu machen und Verletzungen und eine Beschädigung des Geräts zu vermeiden. Sie tragen die Verantwortung für einen ordnungsgemäßen und sicheren Einsatz des Geräts.
Besuchen Sie www.toro.com hinsichtlich Sicherheitstipps, Schulungsunterlagen, Zubehörinformationen, Standort eines Händlers oder Registrierung des Produkts.
Wenden Sie sich an Ihren autorisierten Service-Vertragshändler oder Kundendienst, wenn Sie eine Serviceleistung, Toro Originalersatzteile oder zusätzliche Informationen benötigen. Halten Sie hierfür die Modell- und Seriennummern Ihres Produkts griffbereit. In Bild 1 ist angegeben, wo an dem Produkt die Modell- und die Seriennummer angebracht sind. Tragen Sie hier die Modell- und Seriennummern des Geräts ein.
Important: Scannen Sie mit Ihrem Mobilgerät den QR-Code auf dem Seriennummernaufkleber (falls vorhanden), um auf Garantie-, Ersatzteil- oder andere Produktinformationen zuzugreifen.

Note: Dieses Produkt entspricht allen relevanten europäischen Richtlinien. Weitere Informationen finden Sie in der Einbauerklärung am Ende dieses Dokuments.Bestimmen Sie die linke und rechte Seite der Maschine anhand der normalen Sitz- und Bedienposition.
Important: Teflonband wird für die Montage des Kits benötigt. Das Gewinde von Anschlussstücken wird vor der Montage mit dem Band umwickelt. Gewinde sollten von der Basis zur Spitze des Anschlussstücks umwickelt werden, um eine wasserdichte Dichtung zu gewährleisten.
Important: Ein Schmiermittel, das nicht auf Petroleum basiert, z. B. Pflanzenöl, wird für den Einbau des Kits benötigt.
Eine fehlerhafte Bedienung oder Wartung durch den
Bediener oder Besitzer kann Verletzungen zur Folge haben. Befolgen
Sie zur Verringerung des Verletzungsrisikos diese Sicherheitshinweise
und beachten Sie das Warnsymbol
mit der Bedeutung Achtung, Warnung oder Gefahr
– Sicherheitsrisiko. Wenn die Anweisungen nicht beachtet werden,
kann es zu Verletzungen ggf. tödlichen Verletzungen kommen.
Lesen Sie auch die Sicherheits- und Betriebsanleitungen in der Bedienungsanleitung des Fahrzeugs.
Richten Sie den Handsprühgerät nicht auf Personen oder Tiere. Unter hohem Druck stehende Flüssigkeiten können unter die Haut dringen und schwere Verletzungen verursachen, die zu Amputationen oder Todesfällen führen können. Heiße Flüssigkeiten und Chemikalien können auch zu Verbrennungen oder Verletzungen führen. Wenn ein Körperteil mit dem Sprühstrahl in Berührung kommen sollte, gehen Sie sofort zu einem Arzt, der mit Verletzungen durch eingedrungene Flüssigkeiten vertraut ist.
Berühren Sie die Sprühdüse vorne nicht mit der Hand oder einem anderen Körperteil.
Lassen Sie den Druck vom Gerät ab, wenn Sie weggehen.
Setzen Sie die Spritzpistole nicht ein, wenn der Schlauch, die Abzugsperre, die Düse oder andere Teile fehlen oder beschädigt sind.
Setzen Sie die Spritzpistole nicht ein, wenn Schläuche, Anschlussstücke oder andere Teile undicht sind.
Sprühen Sie nicht in der Nähe von Stromleitungen.
Fahren Sie nicht, während Sie eine Spritzpistole einsetzen.
Tragen Sie einen Chemikalienschutzanzug, eine Schutzbrille, eine Atemschutzmaske, Gummischuhe und Schutzhandschuhe, wenn Sie Chemikalien mit dem Handsprühgerät versprühen.
Setzen Sie die Maschine nur bei guten Sichtverhältnissen und geeigneten Witterungsbedingungen ein. Verwenden Sie die Maschine nie bei möglichen Gewittern.
Chemikalien sind gefährlich und können Verletzungen verursachen.
Lesen Sie die Anweisungen auf den Etiketten, bevor Sie mit Chemikalien umgehen und befolgen Sie alle Herstellerempfehlungen und Sicherheitsvorkehrungen.
Lassen Sie die Chemikalien nicht in Berührung mit Ihrer Haut kommen. Sollte Ihre Haut mit Chemikalien in Kontakt kommen, waschen Sie den Bereich gründlich mit Seife und sauberem Wasser.
Tragen Sie eine Schutzbrille und andere vom Chemikalienhersteller empfohlene Schutzausrüstung.
Leeren Sie den Behälter des Sprühfahrzeugs.
Reinigen und spülen den Sprühmitteltank; siehe die Bedienungsanleitung Ihrer Maschine.
Parken Sie die Maschine auf einer ebenen Fläche, aktivieren Sie die Feststellbremse, stellen Sie den Motor ab, ziehen Sie den Schlüssel ab und warten Sie, bis alle beweglichen Teile zum Stillstand gekommen sind.
Trennen Sie das Minuskabel (-) von der Batterie.
Trennen Sie das Pluskabel (+) von der Batterie.
Für diesen Arbeitsschritt erforderliche Teile:
| Kabelbaum | 1 |
| Schalter | 1 |
| Witterungsbeständigem Kappe und Mutter | 1 |
| Kleine R-Klemme | 1 |
| Bundmutter(3/8") | 1 |
| Schlossschraube | 1 |
| Kabelbaum mit Schmelzsicherung(108-9455) | 1 |
| Relais (99-7435) | 1 |
| Eindrückbefestigung | 1 |
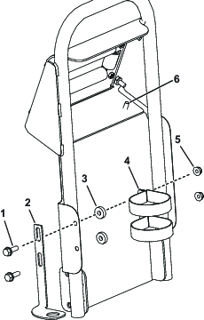
Entfernen Sie die Befestigungen, mit denen die vorderen Spülbehälterriemen oben am Behälter befestigt sind.
Note: Bewahren Sie alle Teile auf.
Setzen Sie eine Schlossschraube in das untere Innenloch am rechten Behälterriemen ein.
Bringen Sie die vorher entfernten Befestigungen für den Behälterriemen an, um die Riemen am Behälter zu befestigen.
Note: Stellen Sie sicher, dass der Riemen am Behälter befestigt ist. Ziehen Sie sie nicht zu fest an.
Befestigen Sie eine kleine R-Klemme mit einer Bundmutter (⅜") an der Schlossschraube, wie in Bild 2 dargestellt.
Führen Sie das Ende des Kabelbaums mit der Schlauchtrommel durch die R-Klemme, wie in Bild 2 abgebildet.

Entfernen Sie die vier Sechskantschrauben, mit denen die Armaturenbrettabdeckung an der Konsole befestigt ist, und heben Sie das Armaturenbrett leicht an.
Note: Nehmen Sie ggf. das Handrad von der Differenzialsperrenstange ab.

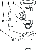
Entfernen Sie die runde Blende von der Armaturenbrettabdeckung (Bild 4).

Montieren Sie den Schalter mit der Klemmmutter am Armaturenbrett und ziehen die Klemmmutter mit der Hand an (Bild 5).

Bringen Sie die Schalterabdeckung am Schalter an (Bild 6).

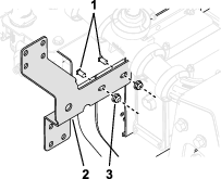
Schließen Sie die beiden Anschlüsse des Kabelbaums am 2-Flachstecker des Schalters an (Bild 7).
Befestigen Sie die Armaturenbrettabdeckung mit den zuvor entfernten Schrauben am Konsolenarm.
Note: Bringen Sie den Knauf des Differentialsperrhebels an, falls Sie diesen zuvor entfernt haben.
Stecken Sie den nahegelegenen Anschluss in die Schlauchtrommelbuchse am Hauptkabelbaum, der sich unter dem vorderen Teil des Steuerarms befindet.
Stecken Sie den nächsten Anschluss in das Relais (Bild 7) und befestigen das Relais im äußeren Loch des Rahmens in der Nähe der vorhandenen Relais.
Schließen Sie das durch Schmelzsicherung geschützte Verbindungsteil am roten Kabel an, das am Pluspol (+) der Batterie angeschlossen ist (Bild 7).
Schließen Sie den Minusanschluss (-) des Kabelbaums an den Minuspol (-) der Batterie an.
Schließen das entfernt gelegene Ende des Kabelbaums an die Erdung des Sicherungskastens an (Bild 7).

Für diesen Arbeitsschritt erforderliche Teile:
| Schlauchtrommelrahmen | 1 |
| Schraube (5/16") | 10 |
| Bundmutter (5/16") | 10 |
| Schwenkplatte | 1 |
| Schlauchtrommel | 1 |
| Große Schlossschraube | 4 |
| Bundmutter (⅜") | 4 |
| Griff | 1 |
| Schmutzfänger | 1 |
| Federclip | 1 |
| Sicherungsmutter | 2 |
| Kleine Schlossschraube | 2 |
| Große R-Klemme | 2 |
| Spritzpistolenhalterung | 1 |
| Distanzstück | 2 |
| Blechschrauben | 2 |
| Druckscheibe | 1 |
| Sprengring | 1 |
Befestigen Sie den Schlauchtrommelrahmen mit vier Schrauben (5/16") und vier Bundmuttern (5/16") an der Seite der Maschine, wie in Bild 8 abgebildet.

Befestigen Sie die Schwenkplatte mit vier Schlossschrauben und vier Bundmuttern (⅜") an der Unterseite der Schlauchtrommel (Bild 9).

Setzen Sie die Schwenkplatte in das Loch am Schlauchtrommelrahmen ein (Bild 9).
Note: Schieben Sie die Drehzapfensperre für eine leichte Installation nach links.
Befestigen Sie die Druckscheibe und den Sprengring an der Unterseite des Schlauchtrommelrahmens an der Strebe an der Schwenkplatte (Bild 10).

Befestigen Sie den Griff mit vier Schrauben (5/16") lose an der Schwenkplatte (Bild 11).

Befestigen Sie den Schmutzfänger und Griff mit den in Schritt 5 angebrachten Schrauben und vier Bundmuttern (5/16") an der Schwenkplatte (Bild 11).
Befestigen Sie die Oberseite des Schmutzfängers mit zwei Blechschrauben am Griff (Bild 12).

Befestigen Sie den Spritzpistolenhalter am Schmutzfänger, wie in Bild 12 abgebildet.
Schließen Sie den Kabelbaum an der Schlauchtrommel an.
Note: Bewahren Sie alle entfernten Teile für eine spätere Installation auf, außer es ist anders angegeben.
Entfernen Sie den Arretierbügel, mit dem der Aktuator am Verteilerventil für das Abschnittventil oder das Rührwerkventil befestigt ist (Bild 13).
Note: Drücken Sie die zwei Schenkel des Arretierbügels zusammen und nach unten.
Note: Bewahren Sie den Aktuator und den Arretierbügel auf.

Nehmen Sie den Aktuator vom Verteilerventil ab.
Entfernen Sie die Arretierbügel, die die Baugruppe des Ausleger-Überstromventils, die Abschlusskappe und das Anschlussstück sowie die Schlauchleitung halten, wie in Bild 14 abgebildet.
Important: Wenn Ihre Maschine mit GeoLink ausgestattet ist, führen Sie dies für die Ventilinseln auf beiden Seiten durch.
Note: Die Steckkappe wird nicht eingesetzt, bewahren Sie den O-Ring auf der Kappe jedoch auf.

Beachten und notieren Sie die aktuelle Einstellung des linken und rechten Drehknopfes.
Important: Wenn auf Ihrer Maschine GeoLink installiert ist, notieren Sie alle Einstellungen der Drehknöpfe.
Drehen Sie die Sicherheitsventilgruppe des Auslegers um 180°, wie in Bild 15 abgebildet.

Bringen Sie den linken und rechten Drehknopf in die ursprüngliche Stellung.
Important: Wenn auf Ihrer Maschine GeoLink installiert ist, stellen Sie alle Drehknöpfe auf die vorherigen Einstellungen ein.
Montieren Sie die Auslegerventilinsel unter Verwendung der zuvor entfernten Arretierbügel, wie in Bild 16 dargestellt.

Für diesen Arbeitsschritt erforderliche Teile:
| Geflanschtes Regelventil | 1 |
| Flügelgriff | 2 |
| Griffschraube (6-32 x ⅝") | 2 |
| Ventilbefestigung | 2 |
| 90°-Winkelstück | 1 |
| Flanschklemme | 1 |
| Dichtung | 1 |
| Anschlussstück-Kappe (½") | 2 |
| Gerades Anschlussstück | 1 |
| Arretierbügel | 3 |
| Gerades Regelventil | 2 |
| Regelventilhalterung (bis Seriennummer 415399999) | 1 |
| Bundkopfschraube (¼" x ⅝") | 2 |
| Sicherungsmutter (¼") | |
| Regelventilhalterung (ab Seriennummer 415400000) | 1 |
| Regelventilhalterung (ab Seriennummer 415400000 mit GeoLink) | 1 |
| T-Verteiler | 1 |
| Schlossschraube (¼" x ⅝") | 2 |
| Schraube (M6 x 12 mm) | 8 |
| Schlauchtrommel-Zulaufschlauch | 1 |
| Schlauchklemme | 1 |
Note: Bewahren Sie alle entfernten Teile für eine spätere Installation auf, außer es ist anders angegeben.
Montieren Sie die Regelventilhalterung mit zwei Bundkopfschrauben (¼" x ⅝") am Ventilhalterungsrahmen, wie in Bild 17 dargestellt.

Befestigen Sie den roten Flügelgriff am Regelventil, wie in Bild 18 dargestellt.

Befestigen Sie die Ventilhalterung am Regelventil, wie in A in Bild 19 abgebildet.

Befestigen Sie die Ventilbefestigung mit dem Bundbolzen (Gr. 6) am Regelventil und ziehen ihn mit der Hand an (B in Bild 19).
Montieren Sie die Regelventilbaugruppe mit vier Schrauben (M6) an der Regelventilhalterung, wie in Bild 20 dargestellt.

Befestigen Sie die Regelventilbaugruppe mit dem zuvor entfernten O-Ring und dem Arretierbügel am Auslegerventil (Bild 21).
Montieren Sie die Kappe (½"), die O-Ringe, das Anschlussstück und den Schlauch auf das Regelventil, indem Sie die zuvor entfernten Arretierbügel verwenden, wie in Bild 21 dargestellt.

Bringen Sie die unter Bild 13 entfernten Stellantriebe mit dem zuvor entfernten Arretierbügel wieder am Verteilerventil an.
Entfernen Sie den Druckmessschlauch vom Anschlussstück.
Befestigen Sie den grünen Flügelgriff und das gerade Anschlussstück am geflanschten Regelventil mit dem Arretierbügel, wie in Bild 22 abgebildet.

Nehmen Sie den Deckel und die Kupplung vom Druckmanometeranschluss ab (Bild 23).

Montieren Sie die Regelventilbaugruppe vertikal, wie in Bild 23 abgebildet.
Bauen Sie die Kupplung in den offenen Anschluss am 90°-Anschlussstück ein (Bild 23).
Note: Der Deckel kann weggeworfen werden.
Verbinden Sie den Druckmessschlauch mit dem Anschlussstück.
Verbinden Sie den Behälterzulaufschlauch mit einer Schlauchschelle mit dem horizontalen Regelventil.
Befestigen Sie das freie Ende des Zulaufschlauchs der Schlauchtrommel mit einer Schlauchklemme am geraden Anschlussstück.
Verlegen Sie den Versorgungsschlauch der Schlauchtrommel, wie in Bild 24 gezeigt, und befestigen Sie ihn mit einer Schlauchklemme an der Schlauchtrommel.
Note: Wenn das Behälterreinigungsspülkit eingebaut ist, verlegen Sie den Schlauch hinter der Spülpumpe.

Bringen Sie die unter Bild 13 entfernten Stellantriebe mit den zuvor entfernten Arretierbügeln wieder am Verteilerventil an.
Montieren Sie die Regelventilhalterung mit zwei Bundkopfschrauben (¼" x ⅝") und Sicherungsmuttern (¼") am Ventilhalterungsrahmen, wie in Bild 25 dargestellt.

Bringen Sie den roten Flügelgriff an ein gerades Regelventil an.

Befestigen Sie die Ventilhalterung an ein gerades Regelventil, wie in A in Bild 27 dargestellt.
Befestigen Sie die Ventilbefestigung mit dem Bundbolzen (Gr. 6) am Regelventil und ziehen ihn mit der Hand an (B in Bild 27).

Montieren Sie die Regelventilbaugruppe mit vier Schrauben (M6) an der Oberseite der Regelventilhalterung, wie in Bild 28 dargestellt.

Befestigen Sie die Regelventilbaugruppe mit dem zuvor entfernten O-Ring und Arretierbügel am Auslegerventil, wie in Bild 29 dargestellt.
Montieren Sie die Kappe (½"), die O-Ringe, das Anschlussstück und den Schlauch auf das Regelventil, indem Sie die zuvor entfernten Arretierbügel verwenden, wie in Bild 29 dargestellt.

Entfernen Sie den Arretierbügel, mit der der Anschlussstückdeckel und die Kupplung befestigt sind, vom Ende des Ventilabschnitts (Bild 30).
Bauen Sie den mitgelieferten T-Verteiler am Ende des Ventilabschnitts ein, indem sie den in Schritt 9 verwendeten Arretierbügel benutzen.
Montieren Sie den Anschlussstückdeckel an der Seite des in Schritt 9 installierten T-Verteilers.

Befestigen Sie das gerade Anschlussstück am anderen geraden Regelventil mit dem Arretierbügel, wie in Bild 31 dargestellt.

Schließen Sie den Zulaufschlauch der Schlauchtrommel an der unteren Seite des geraden Anschlussstücks an.
Verbinden Sie die Regelventilbaugruppe mit dem geraden Anschlussstück an der Unterseite des T-Verteilers mit dem mitgelieferten Arretierbügel (Bild 32).
Montieren Sie die Regelventilbaugruppe mit vier Schrauben (M6) an der Unterseite der Regelventilhalterung, wie in Bild 32 dargestellt.

Verbinden Sie den Behälterzulaufschlauch mit einer Schlauchschelle mit dem horizontalen Regelventil.
Befestigen Sie das freie Ende des Zulaufschlauchs der Schlauchtrommel mit einer Schlauchklemme am geraden Anschlussstück.
Verlegen Sie den Versorgungsschlauch der Schlauchtrommel, wie in Bild 33 gezeigt, und befestigen Sie ihn mit einer Schlauchklemme an der Schlauchtrommel.
Note: Wenn das Behälterreinigungsspülkit eingebaut ist, verlegen Sie den Schlauch hinter der Spülpumpe.

Bringen Sie die unter Bild 13 entfernten Stellantriebe mit den zuvor entfernten Arretierbügeln wieder am Verteilerventil an.
Montieren Sie die Regelventilhalterung mit zwei Schlossschrauben (¼-20" x ⅝") und zwei Sicherungsmuttern (¼-20") am Ventilhalterungsrahmen, wie in XXX dargestellt.

Entfernen Sie den Arretierbügel, mit der der Anschlussstückdeckel und die Kupplung befestigt sind, vom Ende des Ventilabschnitts (Bild 35).
Bauen Sie den T-Verteiler am Ende des Ventilabschnitts ein, indem sie den in Schritt 3 entfernten Arretierbügel benutzen.

Montieren Sie den grünen Flügelgriff an ein gerades Regelventil Bild 36.

Befestigen Sie die Ventilhalterung an ein gerades Regelventil, wie in A in Bild 37 dargestellt.
Befestigen Sie die Ventilbefestigung mit dem Bundbolzen (Gr. 6) am Regelventil und ziehen ihn mit der Hand an (B in Bild 37).

Befestigen Sie den Zulaufschlauch der Schlauchtrommel mit einer Schlauchklemme am geraden Anschlussstück.
Befestigen Sie die Regelventilbaugruppe mit einem Arretierbügel am T-Anschlussstück, wie in Bild 38 dargestellt.

Befestigen Sie die Ventilbefestigung mit den vier Bundkopfschrauben (M6 x 12 mm) an der Regelventilhalterung; ziehen Sie die Schrauben auf ein Anzugsmoment von 10–12 N∙m an.

Befestigen Sie die Ventilhalterung am Regelventil, wie in A dargestellt.
Befestigen Sie die Ventilbefestigung mit dem Bundkopfschraube (Gr. 6) am Regelventil, und ziehen Sie die Schraube von Hand fest, wie in B dargestellt.

Montieren Sie die Regelventilbaugruppe an der Ventilinsel, wie in Bild 41 dargestellt.

Montieren Sie die Regelventilbaugruppe mit vier Schrauben (M6) an der Oberseite der Regelventilhalterung, wie in Bild 42 dargestellt.

Montieren Sie die Kappen (½“), die O-Ringe, Anschlussstücke und die Schläuche an den Regelventilen, indem Sie die zuvor entfernten Arretierbügel verwenden.
Entfernen Sie den Arretierbügel, mit welcher der Schlauch am Ende des Verteilers befestigt ist.

Installieren Sie das Abstellventil an Schlauch und Maschine. Sichern Sie diese mit den Arretierbügeln.

Verbinden Sie den Behälterzulaufschlauch mit einer Schlauchschelle mit dem horizontalen Regelventil.
Verlegen Sie den Versorgungsschlauch der Schlauchtrommel, wie in XXX gezeigt, und befestigen Sie ihn mit einer Schlauchklemme an der Schlauchtrommel.

Note: Wenn das Behälterreinigungsspülkit eingebaut ist, verlegen Sie den Schlauch hinter der Spülpumpe.
Für diesen Arbeitsschritt erforderliche Teile:
| Langer Schlauch mit Anschlussstück | 1 |
| Spritzpistole | 1 |
| Kunststoff-Schlauchklemme | 1 |
Befestigen Sie den Kabelbaum mit zwei Kabelbinden am Zulaufschlauch.
Wickeln Sie Teflon®-Band um das Gewinde an der Schlaucharmatur am langen Schlauch und setzen Sie die Armatur in das Anschlussrohr an der Trommel ein (Bild 46).

Schließen Sie das freie Ende des langen Schlauches am Anschlussstück an der Spritzpistole an (Bild 47).

Befestigen Sie das Schlauchende mit einer Kunststoff-Schlauchklemme.
Schließen Sie das Pluskabel (+) an die Batterie an.
Schließen Sie das Minuskabel an die Batterie an.
Drücken Sie die Taste zum Aufrollen des Schlauches und wickeln Sie den Schlauch vorsichtig auf die Trommel. Bewegen Sie den Schlauch von einer zur anderen Seite, um ihn gleichmäßig zu verteilen.
Hände, lose Kleidungsstücke, lange Haare und Schmuck können sich im Schlauch und in der Trommel beim Aufrollen verfangen und zu Verletzungen führen.
Berühren Sie beim Aufrollen nicht die Trommel und den Schlauch mit den Händen.
Tragen Sie keine losen Kleidungsstücke oder Schmuck und stecken Sie lange Haare hoch.
Unter Druck austretende Flüssigkeit kann unter die Haut dringen und Verletzungen verursachen.
Berühren Sie die Düsen, aus denen Flüssigkeit unter hohem Druck ausgestoßen wird, nicht mit dem Körper und Händen.
Richten Sie das Sprühfahrzeug nicht auf Personen oder Tiere.
Stellen Sie sicher, dass alle Flüssigkeitsschläuche und -leitungen in gutem Zustand und alle Verbindungen und Anschlussstücke fest angezogen sind, bevor Sie das System unter Druck setzen.
Gehen Sie Lecks nur mit Pappe oder Papier nach.
Lassen Sie den Druck von der Anlage ab, bevor Sie Arbeiten vornehmen.
Konsultieren Sie beim Einspritzen unter die Haut sofort einen Arzt.
Heiße Flüssigkeiten und Chemikalien können zu Verbrennungen oder Verletzungen führen.
Important: Sie müssen das Sprühgerät sofort nach jedem Einsatz entleeren und reinigen. Ansonsten können die Chemikalien in den Leitungen austrocknen oder sich verdicken und die Pumpe und andere Komponenten verstopfen.
Reinigen Sie das Sprühsystem nach jedem Sprühen. So reinigen Sie das Sprühsystem richtig:
Verwenden Sie 3 Spülgänge.
Verwenden Sie mindestens 190 l für jeden Spülgang
Verwenden Sie die von den Chemikalienherstellern empfohlenen Reiniger und Neutralisierungsmittel.
Verwenden Sie für den letzten Spülgang sauberes Wasser (ohne Reinigungs- oder Neutralisierungsmittel).
Halten Sie die Maschine an, schalten Sie die Ausleger ab und aktivieren Sie die Feststellbremse.
Wenn Sie fahren und die Spritzpistole einsetzen, können Sie die Kontrolle verlieren. Dies kann zu schweren oder tödlichen Verletzungen führen. Setzen Sie die Spritzpistole nicht beim Fahren ein.
Stellen Sie am Heck der Maschine sicher, dass die Abzugsperre an der Spritzpistole arretiert ist.
Drehen Sie den grünen Flügelgriff am Regelventil um 90°.
Schalten Sie an der Bedienerstellung die Pumpe ein.
Schalten Sie den Hauptausleger in die EIN-Stellung.
Stellen Sie die Motordrehzahl auf den gewünschten Wert ein und aktivieren Sie die Motorsperre für die Leerlaufgeschwindigkeit.
Important: Die Druckeinstellung sollte bei Verwendung der Spritzpistole nicht über 10,34 bar liegen.
Ziehen Sie die gewünschte Schlauchlänge von der Trommel.
Important: Ziehen Sie den Schlauch nicht mit der Spritzpistole. Halten Sie den Schlauch immer fest und ziehen Sie direkt am Schlauch. Wenn Sie den Schlauch mit der Spritzpistole ziehen, können Sie die Armatur an der Spritzpistole brechen oder den Schlauch beschädigen.
Lösen Sie die Abzugsperre.
Richten Sie die Spritzpistolendüse auf den Bereich, den Sie sprühen möchten, und betätigen Sie den Abzug.
Lassen Sie den Abzug los und aktivieren Sie die Abzugsperre, wenn Sie das Spritzen beendet haben.
Drücken Sie die Aufrolltaste an der Schlauchtrommel, bis nur noch einige cm nicht aufgerollt sind.
Note: Die Aufrolltaste für die Schlauchtrommel kann nur verwendet werden, wenn die Sperrtaste auf dem Sprühfahrzeugbedienfeld in der nicht arretierten Stellung ist.
Hände, lose Kleidungsstücke, lange Haare und Schmuck können sich im Schlauch und in der Trommel beim Aufrollen verfangen und zu Verletzungen führen.
Berühren Sie beim Aufrollen nicht die Trommel und den Schlauch mit den Händen.
Tragen Sie keine losen Kleidungsstücke oder Schmuck und stecken Sie lange Haare hoch.
Drehen Sie den grünen Flügelgriff am Regelventil um 90°.
Richten Sie die Spritzpistolendüse auf einen Bereich, in dem Sie sicher spritzen können. Lösen Sie die Abzugsperre und ziehen Sie am Abzug, bis die ganze Flüssigkeit aus dem Schlauch ausgetreten ist. Aktivieren Sie dann die Abzugsperre.
Drehen Sie die Spritzpistole zur Halterung hinten an der Trommel.
Bringen Sie den Motor wieder auf die Leerlaufgeschwindigkeit.
Stellen Sie die Pumpe ab.
Important: Stellen Sie sicher, dass Sie die Spritzpistole mit Frischwasser bei den täglichen Reinigungsarbeiten durchspülen (siehe Bedienungsanleitung des Sprühfahrzeugs). Wenn Sie die Spritzpistole nicht richtig reinigen, kann die Leistung und die Zuverlässigkeit der Schlauchtrommel und der Spritzpistole abnehmen.
Stellen Sie die gewünschten bar mit dem Dosierungsschalter ein.