Komplet električnega cevnega bobna je namenski priključek za namensko vozilo za škropljenje travne ruše in je namenjen profesionalnim, najetim upravljavcem ter za uporabo v komercialne namene. Stroj je primarno zasnovan za škropljenje dobro vzdrževanih trat v parkih, na igriščih za golf, na športnih igriščih in na komercialnih površinah.
Podrobno preberite te informacije, da se seznanite s pravilnim upravljanjem in vzdrževanjem stroja ter preprečite telesne poškodbe in poškodbe izdelka. Vi ste odgovorni za pravilno in varno upravljanje izdelka.
Če potrebujete več informacij, vključno z nasveti glede varnosti, gradivom za usposabljanje za uporabo, podatki o dodatni opremi in pomočjo pri iskanju prodajalca oziroma želite registrirati izdelek, obiščite spletno mesto www.Toro.com.
Če potrebujete servisne storitve, originalne dele Toro ali dodatne informacije, se obrnite na pooblaščenega prodajalca oziroma službo za pomoč strankam družbe Toro, pri čemer predhodno pripravite številko modela in serijsko številko izdelka. Diagram 1 označuje mesto številke modela in serijske številke na izdelku. Številke vpišite v ustrezna polja.
Important: Do podatkov o garanciji, delih in drugih informacij o izdelku lahko dostopate tako, da z mobilno napravo odčitate QR-kodo na nalepki s serijsko številko (če je nameščena).

Note: Ta izdelek je skladen z vsemi ustreznimi evropskimi direktivami. Za podrobnosti glejte Izjavo o vgradnji na zadnji strani te publikacije.Ugotovite, katera stran je leva in katera desna, gledano s položaja za upravljanje stroja.
Important: Za namestitev tega kompleta potrebujete teflonski trak. S tem trakom pred montažo ovijete navoje pritrdilnih elementov. Navoje je treba oviti od osnove do konice elementa, da se zagotovi vodotesno tesnjenje.
Important: Za namestitev tega kompleta potrebujete tudi mazivo, ki ne temelji na nafti, kot je rastlinsko olje.
Če lastnik ali upravljavec nepravilno uporablja
ali vzdržuje izdelek, lahko pride do telesnih poškodb.
Upoštevajte ta varnostna navodila in vedno upoštevajte
varnostni simbol
, ki lahko pomeni svarilo, opozorilo ali nevarnost – navodila
za osebno varnost, da preprečite nevarnosti poškodb.
Neupoštevanje navodil lahko privede do telesnih poškodb
ali smrti.
Preberite tudi varnostna navodila in navodila za uporabo v Priročniku za upravljanje.
Ročnega škropilnika ne usmerjajte proti ljudem ali živalim. Tekočine pod visokim tlakom lahko prodrejo skozi kožo in povzročijo hude poškodbe, ki lahko vodijo do amputacije ali smrti. Tudi vroče tekočine in kemikalije lahko povzročijo opekline ali poškodbe. Če katerikoli del telesa pride v stik s curkom razpršila, se takoj posvetujte z zdravnikom, ki je seznanjen s poškodbami zaradi vbrizganih tekočin.
Ne postavljajte roke ali katerega koli drugega dela telesa pred škropilno šobo.
Ne puščajte opreme pod pritiskom, kadar niste prisotni.
Ročnega škropilnika ne uporabljajte, če so cev, zaklep sprožilca, šoba ali kateri koli drug del poškodovani ali manjkajo.
Ročnega škropilnika ne uporabljajte, če prihaja do puščanja v kateri koli cevi, priključkih ali drugih sestavnih delih.
Ne pršite v bližini električnih vodov.
Medtem ko pršite z ročnim škropilnikom, ne vozite.
Pri pršenju kemikalij z ročnim razpršilnikom nosite obleko za zaščito pred kemikalijami, zaščitna očala, respirator, gumijaste čevlje in zaščitne rokavice.
Stroj uporabljajte samo pri dobri vidljivosti in ustreznih vremenskih pogojih. Ne upravljajte stroja, če obstaja nevarnost za udar strele.
Kemikalije so nevarne in lahko povzročijo telesne poškodbe.
Pred rokovanjem s kemikalijami preberite navodila na njihovih oznakah ter upoštevajte vsa priporočila in previdnostne ukrepe proizvajalca.
Preprečite stik kemikalij z kožo. Če pride do stika, prizadeto območje temeljito sperite z milom in čisto vodo.
Nosite zaščitna očala in vso drugo zaščitno opremo, ki jo priporoča proizvajalec kemikalij.
Izpraznite cisterno škropilnika.
Očistite in izperite cisterno škropilnika; preberite Priročnik za upravljanje za svoj stroj.
Parkirajte stroj na ravni površini, aktivirajte parkirno zavoro, izklopite črpalko, ugasnite motor, odstranite ključ in počakajte, da se vsi premikajoči se deli ustavijo.
Odklopite negativni (–) kabel akumulatorja.
Odklopite pozitivni (+) kabel akumulatorja.
Deli potrebni za ta postopek:
| Kabelski snop | 1 |
| Sklop | 1 |
| Vodoodporni pokrovček in matica | 1 |
| Majhna toga objemka | 1 |
| Matica s prirobnico (⅜) | 1 |
| Pritrdilni vijak | 1 |
| Kabelski snop taljive varovalke (108-9455) | 1 |
| Rele(99–7435) | 1 |
| Pritrdilni zatič | 1 |
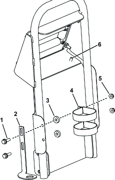
Odstranite pritrdilne elemente, ki pritrjujejo sprednja vpenjalna loka rezervoarja na zgornjem delu rezervoarja.
Note: Vse dele shranite.
V spodnjo notranjo luknjo na desnem vpenjalnem loku rezervoarja namestite pritrdilni vijak.
Namestite prej odstranjene pritrdilne elemente vpenjalnih lokov rezervoarja, da vpenjalna loka pritrdite na rezervoar.
Note: Prepričajte se, da je vpenjalni lok varno pritrjen na cisterno. Ne zategnite ga premočno.
Na pritrdilni vijak z matico s prirobnico (⅜") pritrdite majhno togo objemko, kot prikazuje Diagram 2.
Speljite konec cevnega bobna kabelskega snopa skozi togo objemko, kot prikazuje Diagram 2.

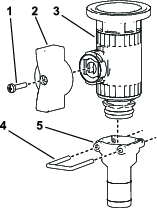
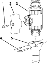
Odstranite 4 vijake s šestkotno glavo, ki pritrjujejo pokrov nadzorne plošče na konzolo, in ploščo rahlo dvignite.
Note: Po potrebi odstranite glavo ročice s palice za zaporo diferenciala.

Okrogli čep odstranite s pokrova nadzorne plošče (Diagram 4).

Stikalo pritrdite na pokrov nadzorne plošče s protimatico in ročno zategnite matico (Diagram 5).

Namestite pokrov gumba na stikalo (Diagram 6).

Povežite 2 priključka na kabelskem snopu z dvojnim priključkom na stikalu (Diagram 7).
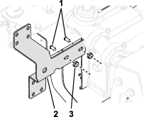
S prej odstranjenimi vijaki pritrdite pokrov nadzorne plošče na vzvod konzole.
Note: Namestite gumb na palico za zaporo diferenciala, če ste ga predhodno odstranili.
Priključite bližnji priključek v vtič cevnega bobna na glavnem kabelskem snopu, ki se nahaja pod sprednjim delom krmilnega vzvoda.
Naslednji priključek priključite na rele (Diagram 7) in rele namestite v zunanjo luknjo na okvirju v bližini obstoječih relejev.
Priključite taljivo varovalko na rdečo žico, ki je pritrjena na pozitivni (+) pol akumulatorja (Diagram 7).
Priključite negativni (–) priključek na kabelskem snopu na negativni (–) pol akumulatorja.
Daljši konec kabelskega snopa priključite na ozemljitev ohišja z varovalkami (Diagram 7).

Deli potrebni za ta postopek:
| Okvir cevnega bobna | 1 |
| Vijak(5/16) | 10 |
| Matica s prirobnico (5/16") | 10 |
| Vrtljiva plošča | 1 |
| Cevniboben | 1 |
| Velik pritrdilni vijak | 4 |
| Matica s prirobnico (⅜") | 4 |
| Ročaj | 1 |
| Zaščita pred blatom | 1 |
| Vzmetna sponka | 1 |
| Varovalna matica | 2 |
| Majhen pritrdilni vijak | 2 |
| Velika toga objemka | 2 |
| Nosilec za razpršilno pištolo | 1 |
| Distančnik | 2 |
| Samorezni vijaki | 2 |
| Potisna podložka | 1 |
| Obroč | 1 |
Okvir cevnega bobna pritrdite na stranski del stroja s 4 vijaki (5/16") in 4 maticami s prirobnico (5/16"), kot prikazuje Diagram 8.

Pritrdite vrtljivo ploščo na dno cevnega bobna s 4 vijaki in 4 maticami s prirobnico (⅜") Diagram 9.

Vrtljivo ploščo vstavite v odprtino na okvirju cevnega bobna (Diagram 9).
Note: Za lažjo namestitev premaknite vrtljivi zaklep v levo.
Na spodnji strani okvirja cevnega bobna pritrdite potisno podložko in obroč na nastavek na vrtljivi plošči (Diagram 10).

Ročaj ohlapno pritrdite na vrtljivo ploščo s 4 vijaki (5/16") (Diagram 11).

Z vijaki, nameščenimi v koraku 5, in 4 maticami s prirobnico (5/16") pritrdite zaščito pred blatom in ročaj na vrtljivo ploščo (Diagram 11).
Zgornji del zaščite pred blatom pritrdite na ročaj z 2 samoreznima vijakoma (Diagram 12).

Nosilec za razpršilno pištolo pritrdite na zaščito pred blatom, kot prikazuje Diagram 12.
Priključite kabelski snop na cevni boben.
Note: Če ni drugače napisano, shranite vse odstranjene dele za kasnejšo ponovno namestitev.
Odstranite varovalni zatič, s katerim je aktuator pritrjen na ventil razdelilnika za sekcijski ventil ali mešalni ventil (Diagram 13).
Note: Med potiskanjem varovalnega zatiča navzdol stisnite njegova kraka skupaj.
Note: Zadržite aktuator in varovalni zatič.

Odstranite aktuator z ventila razdelilnika.
Odstranite varovalne zatiče, ki držijo skupek obtočnih ventilov za škropilno garnituro, končni čep ter sklop pritrdilnega elementa in cevi, kot prikazuje Diagram 14.
Important: Če ima vaš stroj nameščen sistem GeoLink, to storite za skupke ventilov na obeh straneh.
Note: Čepa z zunanjim navojem ne boste uporabili, vendar ohranite tesnilni obroček na čepu.

Zapišite in zabeležite trenutne nastavitve levih in desnih gumbov.
Important: Če je na stroj nameščen sistem GeoLink, zabeležite vse nastavitve gumbov.
Obrnite skupek obtočnih ventilov škropilne garniture za 180°, kot prikazuje Diagram 15

Nastavite leve in desne gumbe na prejšnje nastavitve.
Important: Če je na stroj nameščen sistem GeoLink, prilagodite vse gumbe na predhodne nastavitve.
Namestite skupek ventilov škropilne garniture z uporabo prej odstranjenih varovalnih zatičev, kot prikazuje Diagram 16.

Deli potrebni za ta postopek:
| Regulacijski ventil s prirobnico | 1 |
| Krilni ročaj | 2 |
| Vijak ročaja (6–32 x ⅝") | 2 |
| Montažni element ventila | 2 |
| 90-stopinjsko koleno | 1 |
| Prirobnična objemka | 1 |
| Tesnilo | 1 |
| Pokrovček priključka (½") | 2 |
| Ravni priključek | 1 |
| Varovalni zatič | 3 |
| Ravni regulacijski ventil | 2 |
| Nosilec regulacijskega ventila (serijska številka 415399999 in starejši) | 1 |
| Vijak z glavo s prirobkom (¼ x ⅝") | 2 |
| Varovalna matica (¼") | |
| Nosilec regulacijskega ventila (serijska številka 415400000 in novejši) | 1 |
| Nosilec regulacijskega ventila (serijska številka 415400000 in novejši s sistemom GeoLink) | 1 |
| T-razdelilnik | 1 |
| Pritrdilni vijak (¼ x ⅝") | 2 |
| Vijak (M6 x 12 mm) | 8 |
| Dovajalna cev za navijalni boben | 1 |
| Cevna objemka | 1 |
Note: Če ni drugače napisano, shranite vse odstranjene dele za kasnejšo ponovno namestitev.
Namestite nosilec regulacijskega ventila na okvir montažnega elementa ventila z 2 vijakoma z glavo s prirobkom (¼ x ⅝"), kot prikazuje Diagram 17.

Rdeči krilni ročaj namestite na regulacijski ventil, kot prikazuje Diagram 18.

Montažni element ventila namestite na regulacijski ventil, kot je prikazano na sliki A na Diagram 19.

Z vijakom z glavo s prirobkom (# 6) pritrdite montažni element ventila na regulacijski ventil in ga z roko privijte (slika B na Diagram 19).
Sklop regulacijskega ventila namestite na nosilec regulacijskega ventila s 4 vijaki (M6), kot prikazuje Diagram 20

S prej odstranjenim tesnilnim obročem in varovalnim zatičem pritrdite sklop regulacijskega ventila na ventil škropilne garniture (Diagram 21).
Namestite pokrovček (½"), tesnilne obroče, sklop pritrdilnega elementa in cevi na regulacijski ventil s predhodno odstranjenimi varovalnimi zatiči, kot prikazuje Diagram 21

Aktuatorje, ki ste jih odstranili v koraku Diagram 13, namestite na ventil razdelilnika s predhodno odstranjenimi varovalnimi zatiči.
Odstranite cev za zaznavanje tlaka s spojke.
Zeleni krilni ročaj in ravni priključek namestite na regulacijski ventil s prirobnico z uporabo varovalnega zatiča, kot prikazuje Diagram 22.

Odklopite čep in spojko s priključka za merjenje tlaka (Diagram 23).

Namestite sklop regulacijskega ventila navpično, kot prikazuje Diagram 23.
Namestite spojko v odprtino na 90-stopinjskem pritrdilnem elementu (Diagram 23).
Note: Pokrovček lahko zavržete.
Priključite cev za zaznavanje tlaka na spojko.
Priključite dovajalno cev za rezervoar na vodoraven regulacijski ventil s cevno objemko.
Odprti konec dovajalne cevi za navijalni boben pritrdite na ravni priključek s cevno objemko.
Dovajalno cev za navijalni boben napeljite, kot prikazuje Diagram 24, in jo s cevno objemko pritrdite na cevni boben.
Note: Če je nameščen komplet za čiščenje in izpiranje rezervoarja, cev napeljite za črpalko za izpiranje.

Aktuatorje, ki ste jih odstranili v koraku Diagram 13, namestite na ventil razdelilnika s predhodno odstranjenimi varovalnimi zatiči.
Namestite nosilec regulacijskega ventila na okvir montažnega elementa ventila z 2 vijakoma z glavo s prirobkom (¼ x ⅝") in varovalnima maticama (¼"), kot prikazuje Diagram 25.

Namestite rdeči krilni ročaj na ravni regulacijski ventil.

Montažni element ventila namestite na ravni regulacijski ventil, kot prikazuje slika A na Diagram 27.
Z vijakom z glavo s prirobkom (# 6) pritrdite montažni element ventila na regulacijski ventil in ga z roko privijte (slika B na Diagram 27).

Sklop regulacijskega ventila namestite na zgornji del nosilca regulacijskega ventila s 4 vijaki (M6), kot prikazuje Diagram 28.

S prej odstranjenim tesnilnim obročem in varovalnim zatičem pritrdite sklop regulacijskega ventila na ventil škropilne garniture kot prikazuje Diagram 29.
Namestite pokrovček (½"), tesnilne obroče, sklop pritrdilnega elementa in cevi na regulacijski ventil s predhodno odstranjenimi varovalnimi zatiči, kot prikazuje Diagram 29

S konca sekcije ventila odstranite varovalni zatič, ki pritrjuje pokrovček priključka in spojko (Diagram 30).
Priloženi T-razdelilnik namestite na konec sekcije ventila z varovalnim zatičem, ki ste ga uporabili v koraku 9.
Na stranski del T-razdelilnika, ki ste ga namestili v koraku 9, namestite pokrovček priključka.

Ravni priključek namestite na drugi ravni regulacijski ventil z uporabo varovalnega zatiča, kot prikazuje Diagram 31.

Priključite dovajalno cev z navijalnega bobna na ravni priključek.
Sklop regulacijskega ventila priključite na ravni priključek na spodnjem delu T-razdelilnika s priloženim varovalnim zatičem (Diagram 32).
Sklop regulacijskega ventila namestite na spodnji del nosilca regulacijskega ventila s 4 vijaki (M6), kot prikazuje Diagram 32.

Priključite dovajalno cev za rezervoar na vodoraven regulacijski ventil s cevno objemko.
Odprti konec dovajalne cevi za navijalni boben pritrdite na ravni priključek s cevno objemko.
Dovajalno cev za navijalni boben napeljite, kot prikazuje Diagram 33, in jo s cevno objemko pritrdite na cevni boben.
Note: Če je nameščen komplet za čiščenje in izpiranje rezervoarja, cev napeljite za črpalko za izpiranje.

Aktuatorje, ki ste jih odstranili v koraku Diagram 13, namestite na ventil razdelilnika s predhodno odstranjenimi varovalnimi zatiči.
Nosilec regulacijskega ventila namestite na okvir montažnega elementa ventila z dvema vijakoma (¼–20 x ⅝") in dvema varovalnima maticama (¼–20"), kot prikazuje

S konca sekcije ventila odstranite varovalni zatič, ki pritrjuje pokrovček priključka in spojko (Diagram 35).
Paket T-razdelilnika namestite na konec sekcije ventila z varovalnim zatičem, ki ste ga odstranili v koraku 3.

Namestite zeleni krilni ročaj na ravni regulacijski ventil Diagram 36.

Montažni element ventila namestite na ravni regulacijski ventil, kot prikazuje slika A na Diagram 37.
Z vijakom z glavo s prirobkom (# 6) pritrdite montažni element ventila na regulacijski ventil in ga z roko privijte (slika B na Diagram 37).

Dovajalno cev za navijalni boben pritrdite na ravni priključek s cevno objemko.
Sklop regulacijskega ventila pritrdite na pritrdilni T-element z varovalnim zatičem, kot prikazuje Diagram 38.

Montažni element ventila pritrdite na nosilec regulacijskega ventila s 4 vijaki z glavo s prirobnico (M6 x 12 mm); vijake privijte z zateznim navorom od 10 do 12 N∙m.

Montažni element ventila namestite na regulacijski ventil, kot prikazuje slika A.
Z vijakom z glavo s prirobnico (# 6) pritrdite montažni element ventila na regulacijski ventil in ga z roko privijte, kot prikazuje slika B.

Namestite sklop regulacijskega ventila na skupek ventilov, kot prikazuje Diagram 41.

Sklop regulacijskega ventila namestite na zgornji del nosilca regulacijskega ventila s 4 vijaki (M6), kot prikazuje Diagram 42.

Namestite pokrovčke (½"), tesnilne obroče, pritrdilne elemente in sklope cevi na regulacijske ventile s predhodno odstranjenimi varovalnimi zatiči.
Odstranite varovalni zatič, ki pritrjuje cev na konec razdelilnika.

Na cev in stroj namestite zaporni ventil. Pritrdite ju z varovalnimi zatiči.

Priključite dovajalne cevi za rezervoar na vodoraven regulacijski ventil s cevno objemko.
Dovajalno cev za navijalni boben napeljite, kot je prikazano in jo s cevno objemko pritrdite na cevni boben.

Note: Če je nameščen komplet za čiščenje in izpiranje rezervoarja, cev napeljite za črpalko za izpiranje.
Deli potrebni za ta postopek:
| Dolga cev s pritrdilnim elementom | 1 |
| Razpršilna pištola | 1 |
| Plastična cevna objemka | 1 |
Kabelski snop privežite na dovajalno cev z dvema kabelskima vezicama.
Ovijte trak Teflon® okoli navojev pritrdilnega elementa za cev na dolgi cevi in pritrdilni element namestite v priključno cev na bobnu (Diagram 46).

Prosti konec dolge cevi priključite na pritrdilni element na razpršilni pištoli (Diagram 47).

Konec cevi pritrdite s plastično cevno objemko.
Priključite pozitivni kabel na akumulator.
Priključite negativni kabel na akumulator.
Pritisnite gumb za navijanje cevi in previdno napeljite cev na boben, pri čemer cev premikajte od ene strani na drugo, da se enakomerno razporedi.
Roke, ohlapna oblačila, dolgi lasje in nakit se lahko med navijanjem ujamejo v cev in boben ter povzročijo poškodbe.
Med navijanjem cevi se z rokami ne približujte bobnu in cevi.
Ne nosite ohlapnih oblačil ali nakita in spnite dolge lase.
Tekočina pod tlakom lahko prodre v kožo in povzroči poškodbe.
Ne približujte se šobam, iz katerih uhaja tekočina pod visokim tlakom.
Škropilnika ne usmerjajte proti osebam ali živalim.
Poskrbite, da so vse cevi in vodi za tekočine v dobrem stanju ter da so pritrdilni elementi in priključki dobro zategnjeni, preden v sistemu vzpostavite tlak.
Za odkrivanje puščanja uporabite karton ali papir.
Pred kakršnim koli delom na sistemu, iz njega varno sprostite ves tlak.
Če tekočina brizgne v kožo, takoj poiščite zdravniško pomoč.
Vroče tekočine in kemikalije lahko povzročijo opekline ali druge poškodbe.
Important: Škropilnik morate po vsaki uporabi vedno izprazniti in očistiti. Če tega ne boste storili, se lahko kemikalije v vodih zasušijo ali zgostijo, zaradi česar se bodo črpalka in drugi sestavni deli zamašili.
Po vsakem škropljenju očistite sistem škropilnika. Za pravilno čiščenje sistema za škropljenje:
Ločeno izpirajte trikrat.
Za vsako izpiranje uporabite najmanj 189 l vode.
Uporabljajte čistilna in nevtralizacijska sredstva, ki jih priporočajo proizvajalci kemikalij.
Pri zadnjem izpiranju uporabite samo čisto vodo (brez čistilnih in nevtralizacijskih sredstev).
Ustavite stroj, izklopite škropilne garniture in aktivirajte parkirno zavoro.
Vožnja med uporabo ročnega škropilnika lahko povzroči izgubo nadzora, kar lahko privede do poškodb ali smrti. Ročnega škropilnika ne uporabljajte med vožnjo.
Na zadnjem delu stroja se prepričajte, da je zaklep sprožilca na razpršilni pištoli zaklenjen.
Zeleni ročaj na regulacijskem ventilu obrnite za 90 stopinj.
Na delovnem položaju vklopite črpalko.
Stikalo glavne škropilne garniture prestavite v položaj ON (Vklop).
Motor nastavite na želeno hitrost, nato pa vključite nevtralno blokado števila vrtljajev motorja.
Important: Pri ročnem škropilniku ne uporabljajte nastavitve tlaka, ki je višja od 10,34 bara.
Iz bobna izvlecite želeno dolžino cevi.
Important: Cevi ne vlecite z razpršilno pištolo. Vedno držite cev v roki in jo neposredno povlecite. Če vlečete cev tako, da držite za pištolo, lahko zlomite priključni element na pištoli ali poškodujete cev.
Sprostite zaklep sprožilca.
Šobo razpršilne pištole usmerite na območje, ki ga želite poškropiti, in pritisnite sprožilec.
Ko končate, sprostite sprožilec in nastavite zaklep sprožilca.
Pritisnite gumb za navijanje na cevnem bobnu, dokler iz bobna ne gleda le še kakšen meter cevi.
Note: Gumb za navijanje cevi lahko uporabite le, če je nadzorna tipka na konzoli škropilnika v odklenjenem položaju.
Roke, ohlapna oblačila, dolgi lasje in nakit se lahko med navijanjem ujamejo v cev in boben ter povzročijo poškodbe.
Med navijanjem cevi se z rokami ne približujte bobnu in cevi.
Ne nosite ohlapnih oblačil ali nakita in spnite dolge lase.
Zeleni ročaj na regulacijskem ventilu obrnite za 90 stopinj.
Šobo razpršilne pištole usmerite na območje, kjer je škropljenje varno, sprostite zaklep sprožilca in povlecite sprožilec, dokler iz cevi ne izteče vsa preostala tekočina, nato nastavite zaklep sprožilca.
Vrnite razpršilno pištolo v nosilec na zadnjem delu bobna.
Motor nastavite nazaj v prosti tek.
Ustavite črpalko.
Important: Med vsakodnevnim čiščenjem razpršilno pištolo splaknite s svežo in čisto vodo (glejte Priročnik za upravljanje škropilnika). Če razpršilne pištole ne očistite pravilno, se delovanje in zanesljivost razpršilne pištole lahko poslabša.
Za nastavitev želenega tlaka uporabite stikalo za stopnjo nanosa.