Komplet električne motalice za crevo je namenski dodatak za vozilo koje služi za prskanje travnjaka i namenjen je za upotrebu od strane stručnih lica, angažovanih operatera kod komercijalnih primena. Prevashodno je projektovan za prskanje dobro održavanih travnjaka u parkovima, na golf terenima i sportskim terenima i na komercijalnim površinama
Pažljivo pročitajte ove informacije da biste naučili kako da pravilno koristite i održavate svoj uređaj i kako da izbegnete povrede i oštećenje proizvoda. Pravilno i bezbedno rukovanje proizvodom je vaša odgovornost.
Posetite www.Toro.com za više informacija, uključujući savete u vezi sa bezbednošću, materijale za obuku, informacije o dodatnoj opremi, pomoć u pronalaženju prodavca ili da biste registrovali svoj proizvod.
Kad god su vam potrebni servis, originalni Toro delovi ili dodatne informacije, obratite se ovlašćenom serviseru ili Toro korisničkoj službi i pripremite broj modela i serijski broj svog proizvoda. Слика 1 pokazuje lokaciju broja modela i serijskog broja na proizvodu. Zapišite brojeve u za to predviđenom prostoru.
Important: Možete mobilnim uređajem da skenirate QR kôd na nalepnici sa serijskim brojem (ako je deo opreme) kako biste pristupili informacijama o garanciji, delovima i drugim informacijama o proizvodu.

Note: Ovaj proizvod je usaglašen sa svim relevantnim evropskim direktivama. Za detalje pogledajte Deklaraciju o ugradnji (DOI) u zadnjem delu ove publikacije.Utvrdite levu i desnu stranu mašine iz uobičajenog položaja operatera.
Important: Za montažu ovog kompleta potrebna je teflon traka. Traka se koristi za omotavanje navoja priključaka pre sklapanja. Navoji treba da se omotavaju počev od osnove pa idući prema vrhu priključka kako bi se osiguralo vodootporno zaptivanje.
Important: Za montažu ovog kompleta biće potrebno mazivo koje nije na bazi nafte, kao što je biljno ulje.
Nepravilno korišćenje ili održavanje
od strane operatera može dovesti do povrede. Da biste smanjili
mogućnost povrede, poštujte ova bezbednosna uputstva
i uvek vodite računa o simbolu za bezbednosno upozorenje
, koji označava oprez,
upozorenje ili opasnost – uputstva za ličnu bezbednost.
Nepoštovanje ovih uputstava može dovesti do telesne
povrede ili smrtnog ishoda.
Pročitajte i uputstva za bezbednost i rad u Priručniku za operateraza vozilo.
Nemojte usmeravati ručnu prskalicu prema ljudima ili životinjama. Fluidi pod velikim pritiskom mogu prodreti u kožu i izazvati teške povrede, verovatno dovodeći do amputacije ili smrtnog ishoda. Vrela tečnost i hemikalije takođe mogu izazvati opekotine ili povredu. Ako neki deo tela dospe u kontakt sa mlazom iz prskalice, odmah se obratite lekaru koji je upoznat sa povredama nastalim od injektiranih fluida.
Nemojte stavljati ruku ili neki drugi deo tela ispred mlaznice prskalice.
Nemojte ostavljati opremu pod pritiskom kada niste prisutni.
Nemojte koristiti ručnu prskalicu ako je crevo, aktivaciona blokada, mlaznica ili neki drugi deo oštećen ili nedostaje.
Nemojte koristiti ručnu prskalicu ako na crevima, priključcima ili drugim komponentama ima procurivanja.
Nemojte prskati u blizini vodova za struju.
Nemojte voziti dok prskate ručnom prskalicom.
Kada ručnom prskalicom prskate hemikalije nosite odelo za zaštitu od hemikalija, zaštitne naočare, zaštitni respirator, gumenu obuću i zaštitne rukavice.
Mašinom rukujte samo u uslovima dobre vidljivosti i odgovarajućim vremenskim uslovima. Nemojte upravljati mašinom ako postoji opasnost od grmljavine.
Hemikalije su opasne i mogu dovesti do telesne povrede.
Pročitajte smernice na hemijskim nalepnicama pre rukovanja sa hemikalijama i pratite sve preporuke i mere opreza koje je dao proizvođač.
Držite hemikalije podalje od vaše kože. Ukoliko dođe do kontakta, temeljno isperite zahvaćenu površinu sa sapunom i čistom vodom.
Nosite naočare i drugu zaštitnu opremu koju je preporučio proizvođač hemikalija.
Ispraznite rezervoar prskalice.
Očistite i isperite rezervoar prskalice; pogledajte Priručnik za operatera za mašinu.
Parkirajte mašinu na ravnoj površini, aktivirajte parkirnu kočnicu, isključite pumpu, isključite motor, izvadite ključ, i sačekajte da se svi pokretni delovi zaustave.
Odvojite negativni kabl akumulatora.
Odvojite pozitivni kabl akumulatora.
Делови потребни за овај поступак:
| Snop kablova | 1 |
| Prekidač | 1 |
| Vodootporni čep i navrtka | 1 |
| Mala R-stezaljka | 1 |
| Navrtka sa prirubnicom (⅜") | 1 |
| Zavrtanj sa poluokruglom kapom | 1 |
| Snop kablova sa topljivim umecima (108-9455) | 1 |
| Relej(99-7435) | 1 |
| Utisni pričvršćivač | 1 |
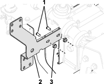
Skinite pričvršćivače koji pričvršćuju prednje držače rezervoara na vrhu rezervoara.
Note: Sačuvajte sve delove.
Montirajte zavrtanj sa poluokruglom kapom u donju unutrašnju rupu na desnom držaču rezervoara.
Montirajte pričvršćivače držača rezervoara koje ste prethodno skinuli kako biste pričvrstili držače za rezervoar.
Note: Proverite da li je držač dobro pričvršćen za rezervoar. Nemojte ga previše dotegnuti.
Pričvrstite malu R-stezaljku za zavrtanj sa poluokruglom kapom pomoću navrtke sa prirubnicom (⅜") kako je prikazano na Слика 2.
Provucite kraj snopa kablova prema motalici za crevo kroz R-stezaljku, kako je prikazano na slici Слика 2.

Skinite 4 vijka sa šestougaonom glavom koji pričvršćuju poklopac komandne table za konzolu i malo odignite tablu.
Note: Po potrebi skinite ručicu sa poluge za blokadu diferencijala.

Skinite okrugli čep sa poklopca komandne table (Слика 4).

Postavite prekidač na poklopac komandne table pomoću kontranavrtke pa pritegnite kontranavrtku rukom (Слика 5).

Montirajte poklopac tastera na prekidač (Слика 6).

Priključite 2 priključka na snopu kablova na dvostruki pljosnati priključak na prekidaču (Слика 7).
Pričvistite poklopac komandne table za komandnu polugu pomoću zavrtanja koje ste prethodno skinuli.
Note: Montirajte dugme na polugu za blokadu diferencijala ako ste ga ranije skinuli.
Priključite bliži konektor na utičnicu za motalicu na glavnom snopu kablova, koji se nalazi ispod prednjeg dela komandne poluge.
Uključite sledeći priključak u relej (Слика 7), i montirajte relej na spoljnu rupu na ramu pored postojećih releja.
Priključite topljivi umetak na crvenu žicu pričvršćenu za pozitivni (+) terminal akumulatora Слика 7
Priključite negativni (-) priključak na snopu kablova na negativni (-) terminal akumulatora.
Priključite dalji kraj snopa kablova na uzemljenje bloka osigurača (Слика 7).

Делови потребни за овај поступак:
| Noseći ram motalice | 1 |
| Zavrtanj(5/16) | 10 |
| Navrtka sa prirubnicom (5/16") | 10 |
| Okretna ploča | 1 |
| Motalica za crevo | 1 |
| Veliki zavrtanj sa poluokruglom kapom | 4 |
| Navrtka sa prirubnicom (⅜") | 4 |
| Drška | 1 |
| Blatobran | 1 |
| Opružna spojnica | 1 |
| Kontra navrtka | 2 |
| Mali zavrtanj sa poluokruglom kapom | 2 |
| Velika R-stezaljka | 2 |
| Nosač pištolja prskalice | 1 |
| Odstojnik | 2 |
| Samourezni vijci | 2 |
| Noseća podloška | 1 |
| Prstenasti osigurač | 1 |
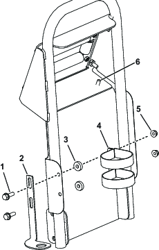
Montirajte noseći ram motalice za crevo na stranicu mašine pomoću 4 zavrtnja (5/16") i 4 navrtke sa prirubnicom (5/16") kako je prikazano na Слика 8.

Pričvrstite okretnu ploču za dno motalice pomoću 4 zavrtnja sa poluokruglom kapom i 4 navrtke sa prirubnicom (⅜") (Слика 9).

Spustite okretnu ploču u otvor na nosećem ramu motalice (Слика 9).
Note: Pomerite blokadu okretanja nalevo radi lakše montaže.
Sa donje strane nosećeg rama motalice pričvrstite noseću podlošku i prstenasti osigurač za stub na okretnoj ploči (Слика 10).

Labavo pričvrstite dršku za okretnu ploču pomoću 4 zavrtnja (5/16") (Слика 11).

Pričvrstite blatobran i dršku za okretnu ploču pomoću zavrtanja montiranih u koraku 5 i 4 navrtke sa prirubnicom (5/16") (Слика 11).
Pričvrstite vrh blatobrana za dršku pomoću 2 samourezna vijka (Слика 12).

Pričvrstite držač pištolja prskalice na blatobran kako je prikazano na Слика 12.
Priključite snop kablova na motalicu.
Note: Sačuvajte sve skinute delove za buduću montažu, osim ako nije drugačije napomenuto.
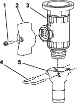
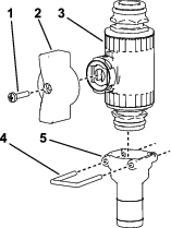
Skinite držač koji pričvršćuje aktuator za ventil razvodnika za odsečni ventil ili ventil za mućkanje (Слика 13).
Note: Stisnite 2 nožice držača zajedno dok ih gurate nadole.
Note: Zadržite aktuator i držač.

Skinite aktuator sa razvodnog ventila.
Skinite držače koji drže sklop klastera bajpas ventila prskalice, krajnji poklopac i sklop priključka i creva kako je prikazano na Слика 14.
Important: Ako je na vašoj mašini instaliran GeoLink sistem, uradite ovo za klastere ventila na obe strane.
Note: Nećete koristiti muški poklopac, ali sačuvajte O-prsten koji je na poklopcu.

Obratite pažnju na aktuelna podešavanja levog i desnog dugmeta i zabeležite ih.
Important: Ako je na vašoj mašini instaliran GeoLink sistem, zabeležite sva podešavanja dugmadi.
Okrenite klaster bajpas ventila za 180°, kao što je prikazano na slici Слика 15.

Podesite levu i desnu ručicu kako su prethodno bile podešene.
Important: Ako je na vašoj mašini instaliran GeoLink sistem, vratite svu dugmad na ranija podešavanja.
Montirajte klaster ventila prskalice pomoću držača koje ste ranije skinuli, kao što je prikazano na slici Слика 16.

Делови потребни за овај поступак:
| Regulacioni ventil sa prirubnicom | 1 |
| Krilna ručica | 2 |
| Zavrtanj ručice (6–32 x ⅝") | 2 |
| Nosač ventila | 2 |
| Koleno od 90° | 1 |
| Prirubnička stezaljka | 1 |
| Zaptivka | 1 |
| Poklopac priključka (½") | 2 |
| Ravni priključak | 1 |
| Držač | 3 |
| Ravni regulacioni ventil | 2 |
| Nosač regulacionog ventila (sa serijskim brojem 415399999 i stariji) | 1 |
| Zavrtanj sa prirubnicom (1/4 x ⅝") | 2 |
| Kontranavrtka (¼") | |
| Nosač regulacionog ventila (sa serijskim brojem 415400000 i noviji) | 1 |
| Nosač regulacionog ventila (sa serijskim brojem 415400000 i noviji i sa GeoLink sistemom) | 1 |
| T-razvodnik | 1 |
| Zavrtanj sa poluokruglom kapom (¼ x ⅝") | 2 |
| Zavrtanj (M6 x 12 mm) | 8 |
| Napojno crevo motalice | 1 |
| Stezaljka za crevo | 1 |
Note: Sačuvajte sve skinute delove za buduću montažu, osim ako nije drugačije napomenuto.
Montirajte nosač regulacionog ventila na noseći ram ventila pomoću 2 zavrtnja sa prirubnicom (¼ x ⅝"), kako je prikazano na slici Слика 17.

Montirajte crvenu krilnu ručicu na regulacioni ventil, kako je prikazano u odeljku A na slici Слика 18.

Montirajte nosač ventila na regulacioni ventil, kako je prikazano u odeljku A na slici Слика 19.

Pričvrstite nosač ventila na regulacioni ventil pomoću zavrtnja sa prirubnicom (#6) i pritegnite zavrtanj rukom (odeljak B na slici Слика 19).
Montirajte sklop regulacionog ventila na nosač regulacionog ventila pomoću 4 zavrtnja (M6), kako je prikazano na slici Слика 20.

Pričvrstite sklop regulacionog ventila na ventil prskalice pomoću O-prstena i držača koje ste ranije skinuli (Слика 21).
Montirajte poklopac (½"), O-prstenove, priključak i sklop creva na regulacioni ventil pomoću držača koje ste ranije skinuli, kako je prikazano na slici Слика 21.

Postavite aktuatore skinute na slici Слика 13 na ventil razvodnika pomoću držača koje ste ranije skinuli.
Skinite crevo za detekciju pritiska sa spojnice.
Montirajte zelenu krilnu ručicu i ravni priključak na regulacioni ventil sa prirubnicom, kao što je prikazano na slici Слика 22.

Skinite poklopac i spojnicu sa priključka za merač pritiska (Слика 23).

Montirajte sklop regulacionog ventila vertikalno, kako je prikazano na Слика 23.
Postavite spojnicu u otvoreni priključak na kolenastom priključku (90°) (Слика 23).
Note: Poklopac možete baciti.
Povežite crevo za detekciju pritiska na spojnicu.
Priključite dovodno crevo rezervoara na horizontalni regulacioni ventil pomoću stezaljke za crevo.
Pričvrstite otvoreni kraj dovodnog creva motalice za crevo na ravni priključak pomoću stezaljke za crevo.
Provucite napojno crevo motalice kako je prikazano na Слика 24 i pričvrstite ga za motalicu pomoću stezaljke za crevo.
Note: Ako je montirana oprema za ispiranje rezervoara, provucite crevo iza pumpe za ispiranje.

Postavite aktuatore skinute na slici Слика 13 na ventil razvodnika pomoću držača koje ste ranije skinuli.
Montirajte nosač regulacionog ventila na noseći ram ventila pomoću 2 zavrtnja sa prirubnicom (¼ x ⅝") i kontranavrtki (¼"), kako je prikazano na slici Слика 25.

Postavite crvenu krilnu ručicu na ravni regulacioni ventil.

Montirajte nosač ventila na ravni regulacioni ventil, kako je prikazano u odeljku A na slici Слика 27.
Pričvrstite nosač ventila na regulacioni ventil pomoću zavrtnja sa prirubnicom (#6) i pritegnite zavrtanj rukom (odeljak B na slici Слика 27).

Montirajte sklop regulacionog ventila na gornji deo nosača regulacionog ventila pomoću 4 zavrtnja (M6), kako je prikazano na slici Слика 28.

Pričvrstite sklop regulacionog ventila na ventil prskalice pomoću O-prstena i držača koje ste ranije skinuli, kao što je prikazano na slici Слика 29.
Montirajte poklopac (½"), O-prstenove, priključak i sklop creva na regulacioni ventil pomoću držača koje ste ranije skinuli, kako je prikazano na slici Слика 29.

Skinite držač kojim se pričvršćuju poklopac priključka i spojnica sa kraja sekcije ventila (Слика 30).
Postavite T-razvodnik na kraj sekcije ventila pomoću držača skinutog u koraku 9.
Postavite poklopac priključka na bočnu stranu T-razvodnika montiranog u koraku 9.

Montirajte ravni priključak na drugi ravni regulacioni ventil sa prirubnicom, kao što je prikazano na slici Слика 31.

Priključite dovodno crevo motalice za crevo na donji deo ravnog priključka.
Povežite sklop regulacionog ventila sa ravnim priključkom na donjem delu T-razvodnika pomoću isporučenog držača (Слика 32).
Montirajte sklop regulacionog ventila na donji deo nosača regulacionog ventila pomoću 4 zavrtnja (M6), kako je prikazano na slici Слика 32.

Priključite dovodno crevo rezervoara na horizontalni regulacioni ventil pomoću stezaljke za crevo.
Pričvrstite otvoreni kraj dovodnog creva motalice za crevo na ravni priključak pomoću stezaljke za crevo.
Provucite napojno crevo motalice kako je prikazano na Слика 33 i pričvrstite ga za motalicu pomoću stezaljke za crevo.
Note: Ako je montirana oprema za ispiranje rezervoara, provucite crevo iza pumpe za ispiranje.

Postavite aktuatore skinute na slici Слика 13 na ventil razvodnika pomoću držača koje ste ranije skinuli.
Montirajte nosač regulacionog ventila na noseći ram ventila pomoću 2 zavrtnja sa poluokruglom kapom (¼ x ⅝") i 2 kontranavrtke (¼"), kako je prikazano na slici.

Skinite držač kojim se pričvršćuju poklopac priključka i spojnica sa kraja sekcije ventila (Слика 35).
Postavite komplet T-razvodnika na kraj sekcije ventila pomoću držača skinutog u koraku 3.

Postavite zelenu krilnu ručicu na ravni regulacioni ventil (Слика 36).

Montirajte nosač ventila na ravni regulacioni ventil, kako je prikazano u odeljku A na slici Слика 37.
Pričvrstite nosač ventila na regulacioni ventil pomoću zavrtnja sa prirubnicom (#6) i pritegnite zavrtanj rukom (odeljak B na slici Слика 37).

Pričvrstite dovodno crevo motalice za crevo na ravni priključak pomoću stezaljke za crevo.
Pričvrstite sklop regulacionog ventila na T-priključak pomoću držača, kao što je prikazano na slici Слика 38.

Postavite nosač ventila na nosač regulacionog ventila pomoću 4 zavrtnja sa prirubnicom (M6 x 12 mm); pritegnite zavrtnje obrtnim momentom od 10 do 12 N m.

Montirajte nosač ventila na regulacioni ventil, kao što je prikazano u odeljku A.
Pričvrstite nosač ventila na regulacioni ventil pomoću zavrtnja sa prirubnicom (#6) i pritegnite zavrtanj rukom, kao što je prikazano u odeljku B.

Montirajte sklop regulacionog ventila na klaster ventila, kao što je prikazano na slici Слика 41.

Montirajte sklop regulacionog ventila na gornji deo nosača regulacionog ventila pomoću 4 zavrtnja (M6), kao što je prikazano na slici Слика 42.

Montirajte poklopce (½"), O-prstenove, priključke i sklopove creva na regulacione ventile pomoću držača koje ste ranije skinuli.
Skinite držač kojim se crevo pričvršćuje za kraj razvodnika.

Postavite zaustavni ventil na crevo i mašinu. Pričvrstite ih držačima.

Priključite dovodna creva rezervoara na horizontalni regulacioni ventil pomoću stezaljke za crevo.
Provucite napojno crevo motalice kao što je prikazano na slici i pričvrstite ga za motalicu pomoću stezaljke za crevo.

Note: Ako je montirana oprema za ispiranje rezervoara, provucite crevo iza pumpe za ispiranje.
Делови потребни за овај поступак:
| Dugačko crevo sa priključkom | 1 |
| Pištolj prskalice | 1 |
| Plastična stezaljka za crevo | 1 |
Vežite snop kablova za dovodno crevo pomoću 2 vezice.
Obmotajte Teflon® traku oko navoja priključka za crevo na dugačkom crevu, a zatim postavite priključak u priključnu cev na motalici (Слика 46).

Povežite slobodan kraj dugačkog creva na priključak na pištolju prskalice (Слика 47).

Pričvrstite kraj creva plastičnom stezaljkom za crevo.
Povežite pozitivni kabl akumulatora na akumulator.
Povežite negativni kabl akumulatora na akumulator.
Pritisnite dugme za namotavanje creva i pažljivo navodite crevo na motalicu pomerajući ga sa strane na stranu da bi se ravnomerno rasporedilo.
Šake, široka odeća, duga kosa i nakit mogu da se zakače za crevo i motalicu tokom namotavanja i da izazovu povredu.
Držite šake dalje od motalice i creva tokom namotavanja.
Nemojte nositi široku odeću ili viseći nakit i vežite dugu kosu.
Tečnost pod pritiskom može da probije kožu i izazove povredu.
Držite telo i šake dalje od mlaznica koje izbacuju tečnost pod visokim pritiskom.
Nemojte usmeravati prskalicu prema ljudima ili životinjama.
Proverite da su sva creva i vodovi za tečnost u dobrom stanju i da su svi spojevi i priključci dotegnuti pre nego što stavljate sistem pod pritisak.
Koristite karton ili papir kako biste otkrili curenja.
Bezbedno otpustite svaki pritisak u sistemu pre obavljanja bilo kog rada na njemu.
Ako se tečnost ubrizga u kožu odmah potražite pomoć lekara.
Vrela tečnost i hemikalije mogu izazvati opekotine i druge povrede i štetu.
Important: Morate uvek da ispraznite i očistite prskalicu odmah nakon svakog korišćenja. Ako to ne učinite hemikalije mogu da se osuše ili zgusnu u vodovima i da zapuše pumpu i druge komponente.
Očistite sistem za prskanje nakon svake sesije prskanja. Da biste pravilno očistili sistem za prskanje:
Primenite 3 zasebna ispiranja.
Koristite najmanje 190 l za svako ispiranje.
Koristite sredstva za čišćenje i neutralisanje prema uputstvima proizvođača tih hemikalija.
Za poslednje ispiranje koristite čistu vodu (bez sredstava za čišćenje ili neutralisanje).
Zaustavite mašinu, isključite prskalice i aktivirajte parking kočnicu.
Vožnja i istovremeno korišćenje ručne prskalice mogu dovesti do gubitka kontrole, dovodeći do povrede ili smrtnog ishoda. Nemojte rukovati ručnom prskalicom dok vozite.
Na zadnjem delu mašine, proverite da li je aktivaciona blokada na pištolju prskalice blokirana.
Okrenite zelenu ručicu na regulacionom ventilu za 90°.
Na položaju operatera, uključite pumpu.
Okrenite prekidač za glavnu prskalicu u položaj ON (Uključeno).
Postavite motor u željenu brzinu, a zatim aktivirajte neutralnu blokadu brzine motora.
Important: Nemojte koristiti pritisak veći od 10,34 bara sa ručnom prskalicom.
Izvucite željenu dužinu creva sa motalice.
Important: Nemojte vući crevo pomoću pištolja prskalice. Uvek uhvatite crevo i vucite direktno njega. Vučenje creva pomoću pištolja može da polomi priključak na pištolju ili ošteti crevo.
Otpustite aktivacionu blokadu.
Usmerite mlaznicu pištolja prskalica prema prostoru koji treba da se prska i povucite aktivator.
Kada završite otpustite aktivator i uključite aktivacionu blokadu.
Pritisnite dugme za namotavanje na motalici dok samo oko metar creva ne bude izvan motalice.
Note: Dugme za namotavanje na motalici može da se koristi samo kad je supervizorski ključ na konzoli prskalice u otključanom položaju.
Šake, široka odeća, duga kosa i nakit mogu da se zakače za crevo i motalicu tokom namotavanja i da izazovu povredu.
Držite šake dalje od motalice i creva tokom namotavanja.
Nemojte nositi široku odeću ili viseći nakit i vežite dugu kosu.
Okrenite zelenu ručicu na regulacionom ventilu za 90°.
Usmerite mlaznicu pištolja prskalice na površinu gde je bezbedno da se prska, oslobodite aktivacionu blokadu i vucite aktivator sve dok sva preostala tečnost ne izađe iz creva, a zatim opet uključite aktivacionu blokadu.
Vratite pištolj prskalice na držač na zadnjem delu motalice.
Vratite motor u prazan hod.
Zaustavite pumpu.
Important: Obavezno isperite pištolj prskalice svežom čistom vodom tokom obavljanja svakodnevnog rutinskog čišćenja (pogledajte Priručnik za operatera za prskalicu). Nepravilno čišćenje pištolja prskalice može smanjiti učinak i pouzdanost kompleta motalice za crevo i pištolja prskalice.
Koristite prekidač da biste podesili željeni pritisak.