Setul tambur electric pentru furtun este un dispozitiv de atașare dedicat vehiculului de pulverizare pentru gazon și este destinat utilizării de operatori profesioniști, contractați pentru aplicații comerciale. Este conceput în principal pentru pulverizare pe peluzele bine întreținute din parcuri, terenuri de golf, terenuri de sport și de pe spații comerciale
Citiți cu atenție aceste informații pentru a învăța despre modul corespunzător de utilizare și întreținere a produsului și pentru a evita rănirea personală și deteriorarea produsului. Aveți responsabilitatea de a utiliza produsul în mod corespunzător și sigur.
Vizitați site-ul www.Toro.com pentru mai multe informații, inclusiv pentru informații privind siguranța produsului, materiale de instruire, informații despre accesorii, ajutor pentru căutarea unui distribuitor sau pentru înregistrarea produsului.
De fiecare dată când aveţi nevoie de service, piese originale Toro sau informaţii suplimentare, contactaţi un centru de service autorizat sau departamentul Servicii Clienţi Toro şi pregătiţi numărul de model sau de serie al produsului. Figura 1 indică locația numărului de model sau de serie pe produs. Scrieți numerele în spațiul furnizat.
Important: Puteți scana codul QR de pe autocolantul cu numărul de serie (dacă este disponibil) cu ajutorul unui dispozitiv mobil pentru a accesa date despre garanție, piese și alte informații despre produs.

Note: Acest produs respectă toate directivele europene relevante. Pentru detalii, vă rugăm să consultați Declarația de încorporare (DOI) de la finalul prezentei publicații.Determinaţi partea stângă şi dreaptă a maşinii din poziţia de operare normală.
Important: Banda de teflon este necesară pentru montarea acestui set. Banda este utilizată pentru înfășurarea filetelor de fitinguri înainte de asamblare. Filetele trebuie înfășurate pornind de la bază și până la vârf, pentru a asigura o izolație impermeabilă.
Important: Pentru montarea acestui set este necesar un lubrifiant care nu conține ingrediente provenite din petrol, cum ar fi uleiul vegetal.
Utilizarea sau întreţinerea necorespunzătoare
de către operator sau proprietar poate cauza accidente. Pentru
a reduce riscul de accidentare, respectaţi aceste instrucţiuni
de siguranţă şi acordaţi întotdeauna
atenţie simbolului de alertă privind siguranţa
, care înseamnă
Atenţie, Avertisment sau Pericol - instrucţiune privind
siguranţa personală. Nerespectarea instrucţiunilor
poate duce la accidentări personale sau moarte.
Citiți și instrucțiunile de siguranță și utilizare din Manualul operatorului vehiculului.
Nu îndreptați pulverizatorul manual înspre persoane sau animale. Fluidele sub presiune pot pătrunde prin piele și cauza vătămări grave, ce pot duce la amputare sau deces. Lichidele și substanțele chimice fierbinți pot cauza arsuri sau vătămări. Dacă orice parte a corpului intră în contact cu jetul pulverizat, solicitați imediat asistență din partea unui medic familiarizat cu vătămările generate de injectarea fluidelor.
Nu amplasați mâna sau orice altă parte a corpului dumneavoastră în fața duzei de pulverizare.
Nu lăsați echipamentul sub presiune în absența dumneavoastră.
Nu folosiți pulverizatorul manual dacă furtunul, mecanismul de blocare al declanșatorului, duza sau orice altă piesă este deteriorată sau lipsește.
Nu folosiți pulverizatorul manual dacă furtunurile, garniturile sau alte componente prezintă scurgeri.
Nu pulverizați în apropierea liniilor de tensiune.
Nu conduceți în timp ce folosiți un pulverizator portabil.
Purtați combinezon de protecție chimică, ochelari, mască, încălțăminte din cauciuc și mănuși de protecție atunci când lucrați cu pulverizatorul manual.
Utilizați mașina doar în condiții de vizibilitate bună și în condiții meteo corespunzătoare. Nu utilizaţi maşina dacă există riscul unor descărcări electrice.
Substanțele chimice sunt periculoase și pot cauza vătămări corporale.
Citiți instrucțiunile de pe etichetele substanțelor chimice înainte de a le utiliza și respectați toate recomandările și măsurile de precauție indicate de producător.
Aveți grijă ca substanțele chimice să nu intre în contact cu pielea dumneavoastră. În cazul în care contactul a avut loc, spălați zona afectată cu săpun și apă curată din abundență.
Purtați ochelari protecție și orice alte echipamente de protecție recomandate de producătorul de substanțe chimice.
Goliți rezervorul pulverizatorului.
Curățați și clătiți rezervorul pulverizatorului; consultați Manualul operatorului mașinii.
Parcați maşina pe o suprafaţă plană, acționați frâna de parcare, opriți pompa, opriți motorul, scoateți cheia și așteptați oprirea tuturor pieselor mobile.
Deconectați cablul negativ al bateriei.
Deconectați cablul pozitiv al bateriei.
Piese solicitate pentru această procedură:
| Cablu | 1 |
| Comutator | 1 |
| Capac etanș și piuliță | 1 |
| Clemă R mică | 1 |
| Piuliţă cu guler (⅜") | 1 |
| Şurub de fixare | 1 |
| Cablu cu siguranță fuzibilă (108-9455) | 1 |
| Releu (99-7435) | 1 |
| Dispozitiv de fixare prin împingere | 1 |
Îndepărtați dispozitivele care fixează chingile frontale ale rezervorului din partea de sus a rezervorului.
Note: Păstrați toate piesele.
Montați un șurub de fixare în orificiul interior de la partea inferioară a chingii din dreapta rezervorului.
Montați dispozitivele de fixare pentru chinga rezervorului pe care le-ați îndepărtat anterior, pentru a fixa chingile pe rezervor.
Note: Asigurați-vă că respectiva chingă este fixată pe rezervor. Nu o strângeți excesiv.
Fixați o clemă R mică la șurubul de fixare cu ajutorul unei piulițe cu guler (⅜") așa cum se arată în Figura 2.
Introduceți capătul tamburului de furtun al cablului prin clema R așa cum se arată în Figura 2.

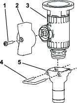
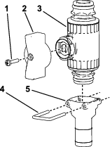
Îndepărtați cele 4 șuruburi cu cap hexagonal care fixează capacul panoului de comandă pe consolă și ridicați ușor panoul.
Note: Dacă este nevoie, scoateți butonul de pe tija diferențialului autoblocant.

Scoateți dopul rotund de pe capacul panoului de comandă (Figura 4).

Asamblați comutatorul la capacul panoului de comandă cu contrapiulița și strângeți contrapiulița manual (Figura 5).

Montați capacul butonului pe comutator (Figura 6).

Conectați cei 2 conectori de pe cablu la conectorul cu 2 lame de pe comutator (Figura 7).
Fixați capacul panoului de comandă pe brațul consolei cu ajutorul șuruburilor îndepărtate anterior.
Note: Montați butonul de pe tija diferențialului autoblocant dacă l-ați îndepărtat anterior.
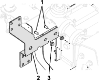
Conectați conectorul din apropiere la fișa tamburului pentru furtun de pe cablul principal, amplasat sub partea frontală a brațului de control.
Conectați următorul conector la releu (Figura 7) și montați releul în orificiul exterior de pe cadru, lângă releele existente.
Conectaţi siguranța fuzibilă la cablul roşu atașat la borna pozitivă a bateriei (+) (Figura 7).
Conectați conexiunea negativă (-) de pe cablu la borna negativă a bateriei (+).
Conectați capătul îndepărtat al cablului la masa blocului de siguranțe (Figura 7).

Piese solicitate pentru această procedură:
| Cadrul tamburului pentru furtun | 1 |
| Șurub (5/16") | 10 |
| Piuliţă cu guler (5/16") | 10 |
| Placă pivotantă | 1 |
| Tambur pentru furtun | 1 |
| Șurub de fixare mare | 4 |
| Piuliță cu guler (⅜") | 4 |
| Mâner | 1 |
| Protecție împotriva noroiului | 1 |
| Clemă arc | 1 |
| Contrapiuliță | 2 |
| Șurub de fixare mic | 2 |
| Clemă R mare | 2 |
| Suport pistol de pulverizare | 1 |
| Distanțier | 2 |
| Șuruburi cu autofiletare | 2 |
| Șaibă de presiune | 1 |
| Inel de fixare | 1 |
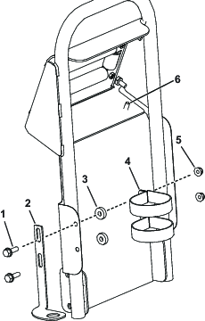
Montați cadrul tamburului pentru furtun în partea laterală a mașinii utilizând 4 șuruburi (5/16") și 4 piulițe cu guler (5/16") așa cum se arată în Figura 8.

Atașați placa pivotantă la partea inferioară a tamburului pentru furtun utilizând 4 șuruburi de fixare și 4 piulițe cu guler (⅜") (Figura 9).

Așezați placa pivotantă în orificiul de pe cadrul tamburului pentru furtun (Figura 9).
Note: Deplasați elementul de blocare pivotare în partea stângă pentru a ușura montarea.
În partea inferioară a cadrului tamburului pentru furtun, fixați șaiba de presiune și inelul de fixare la tija de pe placa pivotantă (Figura 10).

Montați fără să strângeți mânerul pe placa pivotantă cu 4 șuruburi (5/16") (Figura 11).

Atașați protecția împotriva noroiului și mânerul la placa pivotantă cu ajutorul șuruburilor montate la pasul 5 și cele 4 piulițe cu guler (5/16") (Figura 11).
Fixați partea de sus a protecției împotriva noroiului la mâner cu ajutorul celor 2 șuruburi cu autofiletare (Figura 12).

Atașați mânerul pistolului de pulverizare la protecția împotriva noroiului așa cum se arată în Figura 12.
Conectați cablul la tamburul pentru furtun.
Note: Păstrați toate piesele demontate pentru montarea ulterioară, dacă nu este indicat altfel.
Îndepărtați opritorul care fixează dispozitivul de acționare la vana colectorului pentru vana de secțiune sau vana de agitare (Figura 13).
Note: Strângeți cele 2 picioare ale opritorului pentru a le apropia, în timp ce îl împingeți în jos.
Note: Păstrați dispozitivul de acționare și opritorul.

Îndepărtați dispozitivul de acționare de pe vana colectorului.
Îndepărtați opritoarele care fixează ansamblul blocului de vane de bypass braț, capacul de la capăt și ansamblul furtunului cu fiting conform indicațiilor din Figura 14.
Important: Dacă mașina dumneavoastră are GeoLink instalat, efectuați acest lucru pentru blocurile de vane de pe ambele părți.
Note: Nu veți folosi capacul tip tată, dar păstrați inelul de etanșare de pe acesta.

Observați și înregistrați setările actuale ale butonului pentru partea dreaptă și stângă.
Important: Dacă mașina dumneavoastră are GeoLink instalat, înregistrați toate setările butonului.
Rotiți blocul de vane de bypass pentru braț la 180°, așa cum se arată în Figura 15.

Reglați butoanele din stânga și din dreapta la setările anterioare.
Important: Dacă mașina dumneavoastră are GeoLink instalat, reglați toate butoanele la setările anterioare ale acestora.
Montați blocul de vane pentru braț cu ajutorul opritoarelor îndepărtate anterior, așa cum se arată în Figura 16.

Piese solicitate pentru această procedură:
| Supapă de control cu flanșă | 1 |
| Mâner fluture | 2 |
| Șurub cu mâner (6-32 x ⅝") | 2 |
| Suport pentru supapă | 2 |
| Cot de 90° | 1 |
| Clemă cu flanșă | 1 |
| Garnitură | 1 |
| Capac fiting (½") | 2 |
| Fiting drept | 1 |
| Opritor | 3 |
| Supapă de control dreaptă | 2 |
| Consola supapei de control (număr de serie 415399999 și anterioare) | 1 |
| Șurub cu guler (¼ x ⅝") | 2 |
| Contrapiuliță (¼") | |
| Consola supapei de control (număr de serie 415400000 și ulterioare) | 1 |
| Consola supapei de control (număr de serie 415400000 și ulterioare cu GeoLink) | 1 |
| Colector în T | 1 |
| Șurub de fixare (¼ x ⅝") | 2 |
| Șurub (M6 x 12 mm) | 8 |
| Furtun de alimentare cu tambur | 1 |
| Clemă pentru furtun | 1 |
Note: Păstrați toate piesele demontate pentru montarea ulterioară, dacă nu este indicat altfel.
Instalați consola supapei de control pe cadrul de montare al vanei cu ajutorul celor 2 șuruburi cu guler (¼ x ⅝"), așa cum se arată în Figura 17.

Montați mânerul fluture roșu la supapa de control așa cum se arată în Figura 18.

Montați suportul pentru supapă pe supapa de control, așa cum se arată în secțiunea A din Figura 19.

Fixați suportul pentru supapă la supapa de control cu ajutorul șurubului cu guler (#6) și strângeți șurubul manual (secțiunea B din Figura 19).
Instalați ansamblul supapei de control pe consola supapei de control cu ajutorul a 4 șuruburi (M6), așa cum se arată în Figura 20.

Fixați ansamblul supapei de control la nivelul supapei brațului cu inelul de etanșare și cu opritorul îndepărtate anterior (Figura 21).
Montați capacul (½"), inelele de etanșare, fitingul și ansamblul furtunului la supapa de control cu ajutorul opritoarelor îndepărtate anterior, așa cum se arată în Figura 21.

Instalați actuatoarele îndepărtate în Figura 13 la nivelul supapei colectorului cu ajutorul opritoarelor îndepărtate anterior.
Scoateți furtunul cu detectare a presiunii din elementul de cuplaj.
Montați mânerul fluture verde și fitingul drept la nivelul supapei de control cu flanșă cu ajutorul opritorului, așa cum se arată în Figura 22.

Deconectați capacul și elementul de cuplaj de la portul manometrului (Figura 23).

Montați ansamblul supapei de control pe verticală, așa cum se arată în Figura 23.
Montați elementul de cuplaj în portul deschis al fitingului de 90° (Figura 23).
Note: Capacul poate fi eliminat.
Conectați furtunul cu detectare a presiunii la elementul de cuplaj.
Conectați furtunul de alimentare al rezervorului la supapa de control orizontală cu ajutorul unei cleme pentru furtun.
Fixați capătul deschis al furtunului de alimentare cu tambur la nivelul fitingului drept cu o clemă pentru furtun.
Introduceți furtunul de alimentare cu tambur ca în Figura 24 și fixați-l pe tamburul pentru furtun cu ajutorul unei cleme pentru furtun.
Note: Dacă este montat setul pentru curățarea și clătirea rezervorului, introduceți furtunul prin partea din spate a pompei de clătire.

Instalați actuatoarele îndepărtate în Figura 13 la nivelul supapei colectorului cu ajutorul opritoarelor îndepărtate anterior.
Instalați consola supapei de control pe cadrul de montare al vanei cu ajutorul a 2 șuruburi cu guler (¼ x ⅝") și contrapiulițe (¼"), așa cum se arată în Figura 25.

Montați mânerul fluture roșu la nivelul unei supape de control drepte.

Montați suportul pentru supapă la nivelul unei supape de control drepte, așa cum se arată în secțiunea A din Figura 27.
Fixați suportul pentru supapă la supapa de control cu ajutorul șurubului cu guler (#6) și strângeți șurubul manual (secțiunea B din Figura 27).

Instalați ansamblul supapei de control pe partea de sus a consolei supapei de control cu ajutorul a 4 șuruburi (M6), așa cum se arată în Figura 28.

Fixați ansamblul supapei de control la nivelul supapei brațului cu inelul de etanșare și cu opritorul îndepărtate anterior, așa cum se arată în Figura 29.
Montați capacul (½"), inelele de etanșare, fitingul și ansamblul furtunului la supapa de control cu ajutorul opritoarelor îndepărtate anterior, așa cum se arată în Figura 29.

Demontați opritorul care fixează capacul fitingului și elementul de cuplaj de la capătul secțiunii supapei (Figura 30).
Instalați colectorul în T inclus la capătul secțiunii supapei folosind opritorul utilizat la pasul 9.
Instalați capacul fitingului pe partea laterală a colectorului în T instalat la pasul 9.

Montați fitingul drept la cealaltă supapă de control dreaptă cu ajutorul opritorului, așa cum se arată în Figura 31.

Conectați furtunul de alimentare cu tambur la partea inferioară a fitingului drept.
Conectați ansamblul supapei de control cu fitingul drept la partea inferioară a colectorului în T cu ajutorul opritorului inclus (Figura 32).
Instalați ansamblul supapei de control pe partea inferioară a consolei supapei de control cu ajutorul a 4 șuruburi (M6), așa cum se arată în Figura 32.

Conectați furtunul de alimentare al rezervorului la supapa de control orizontală cu ajutorul unei cleme pentru furtun.
Fixați capătul deschis al furtunului de alimentare cu tambur la nivelul fitingului drept cu o clemă pentru furtun.
Introduceți furtunul de alimentare cu tambur ca în Figura 33 și fixați-l pe tamburul pentru furtun cu ajutorul unei cleme pentru furtun.
Note: Dacă este montat setul pentru curățarea și clătirea rezervorului, introduceți furtunul prin partea din spate a pompei de clătire.

Instalați actuatoarele îndepărtate în Figura 13 la nivelul supapei colectorului cu ajutorul opritoarelor îndepărtate anterior.
Instalați consola supapei de control pe cadrul de montare al vanei cu ajutorul a 2 șuruburi de fixare (¼-20 x ⅝") și a 2 contrapiulițe (¼-20"), așa cum se arată în

Demontați opritorul care fixează capacul fitingului și elementul de cuplaj de la capătul secțiunii supapei (Figura 35).
Instalați colectorul în T pentru set la capătul secțiunii supapei cu ajutorul opritorului îndepărtat la pasul 3.

Montați mânerul fluture verde la nivelul unei supape de control drepte Figura 36.

Montați suportul pentru supapă la nivelul unei supape de control drepte, așa cum se arată în secțiunea A din Figura 37.
Fixați suportul pentru supapă la supapa de control cu ajutorul șurubului cu guler (#6) și strângeți șurubul manual (secțiunea B din Figura 37).

Fixați furtunul de alimentare cu tambur la nivelul fitingului drept cu o clemă pentru furtun.
Fixați ansamblul supapei de control la fitingul în T cu un opritor, așa cum se arată în Figura 38.

Montați suportul pentru supapă pe consola supapei de control cu cele 4 șuruburi cu guler (M6 x 12 mm); strângeți șuruburile la 10 – 12 N∙m.

Montați suportul pentru supapă pe supapa de control, așa cum se arată în secțiunea A.
Fixați suportul pentru supapă la supapa de control cu ajutorul șurubului cu guler (#6) și strângeți șurubul manual, așa cum se arată în secțiunea B.

Montați ansamblul supapei de control la nivelul blocului de vane, așa cum se arată în Figura 41.

Instalați ansamblul supapei de control pe partea de sus a consolei supapei de control cu ajutorul a 4 șuruburi (M6), așa cum se arată în Figura 42.

Montați capacele (½"), inelele de etanșare, fitingurile și ansamblurile de furtunuri la nivelul supapelor de control cu ajutorul opritoarelor îndepărtate anterior.
Îndepărtați opritorul care fixează furtunul la capătul colectorului.

Instalați supapa de închidere la nivelul furtunului și mașinii. Fixați-le cu opritoarele.

Conectați furtunurile de alimentare ale rezervorului la supapa de control orizontală cu ajutorul unei cleme pentru furtun.
Introduceți furtunul de alimentare cu tambur așa cum se arată în și fixați-l pe tamburul pentru furtun cu ajutorul unei cleme pentru furtun.

Note: Dacă este montat setul pentru curățarea și clătirea rezervorului, introduceți furtunul prin partea din spate a pompei de clătire.
Piese solicitate pentru această procedură:
| Furtun lung cu fiting | 1 |
| Pistol de pulverizare | 1 |
| Clemă din plastic pentru furtun | 1 |
Fixați cablul la furtunul de alimentare cu ajutorul a 2 coliere pentru cablu.
Înfășurați banda de Teflon® în jurul filetelor fitingului pentru furtun pe furtunul lung și montați fitingul în tubul de conectare de pe tambur (Figura 46).

Conectați capătul liber al furtunului lung la fitingul de pe pistolul pulverizatorului (Figura 47).

Fixați capătul furtunului cu o clemă de plastic pentru furtun.
Conectați cablul pozitiv al bateriei la baterie.
Conectați cablul negativ al bateriei la baterie.
Apăsați butonul pentru înfășurarea cablului și ghidați cu grijă furtunul pe tambur mișcând furtunul dintr-o parte în alta pentru a-l distribui în mod egal.
În timpul desfășurării furtunului, mâinile, hainele largi, părul lung și bijuteriile ar putea fi prinse în furtun și tambur și pot cauza vătămări.
Nu țineți mâinile lângă tambur și furtun în timpul desfășurării.
Nu purtați îmbrăcăminte largă sau bijuterii și prindeți-vă părul lung.
Fluidul sub presiune poate pătrunde prin piele și cauza vătămări.
Țineți fața și alte părți ale corpului la distanță față de duzele care pulverizează ulei sub presiune.
Nu îndreptați pulverizatorul către persoane sau animale.
Asigurați-vă că toate furtunurile și conductele cu fluide sunt în stare bună și că toate racordurile și fitingurile sunt etanșe înainte de a presuriza sistemul.
Utilizați carton sau hârtie pentru a detecta scurgerile.
Depresurizați în siguranță sistemul înainte de orice intervenție asupra acestuia.
Apelați imediat la un medic în cazul în care uleiul hidraulic intră în contact cu pielea.
Lichidele și substanțele chimice fierbinți pot cauza arsuri sau alte vătămări.
Important: Goliți și curățați întotdeauna pulverizatorul imediat după fiecare utilizare. În caz contrar, substanțele chimice se vor usca sau îngroșa în conducte înfundând pompa și alte componente.
Curățați sistemul de pulverizare după fiecare pulverizare. Pentru curățarea corectă a sistemului de pulverizare:
Utilizați 3 clătiri separate.
Utilizați minim 190 l la fiecare clătire.
Utilizați detergenți și agenți de neutralizare conform recomandărilor producătorilor de substanțe chimice.
Utilizați apă curată (fără detergenți sau agenți de neutralizare) pentru ultima clătire.
Opriți mașina, opriți brațele și activați frâna de parcare.
Condusul în timpul utilizării pulverizatorului manual poate duce la pierderea controlului și la vătămare sau deces. Nu utilizați pulverizatorul manual în timp ce conduceți.
În spatele mașinii, asigurați-vă că mecanismul de blocare al declanșatorului pistolului de pulverizate este acționat.
Rotiți mânerul verde de pe supapa de control la 90°.
Din poziţia de operare, porniți pompa.
Comutați brațul principal în poziția PORNIT.
Setați motorul la viteza dorită, apoi blocați viteza motorului în treapta neutră.
Important: Nu folosiți o setare de presiune peste 10,34 bari cu pulverizatorul manual.
Trageți cantitatea dorită de furtun de pe tambur.
Important: Nu trageți furtunul cu pistolul de pulverizare. Țineți întotdeauna de furtun și trageți-l direct. Dacă trageți furtunul cu pistolul atașat, este posibil să rupeți fitingul de pe pistol sau să deteriorați furtunul.
Eliberați mecanismul de blocare al declanșatorului.
Îndreptați duza pistolului de pulverizare înspre zona care urmează să fie pulverizată și apăsați pe declanșator.
După finalizare, eliberați declanșatorul și puneți mecanismul de blocare.
Apăsați butonul de derulare de pe tamburul furtunului până ce derulați câțiva metri de furtun de pe tambur.
Note: Butonul de derulare a furtunului de pe tambur poate fi utilizat atunci când consola pulverizatorului se află în poziția deblocat.
În timpul desfășurării furtunului, mâinile, hainele largi, părul lung și bijuteriile ar putea fi prinse în furtun și tambur și pot cauza vătămări.
Nu țineți mâinile lângă tambur și furtun în timpul desfășurării.
Nu purtați îmbrăcăminte largă sau bijuterii și prindeți-vă părul lung.
Rotiți mânerul verde de pe supapa de control la 90°.
Îndreptați duza pistolului de pulverizare către o zonă în care pulverizarea poate fi efectuată în siguranță, eliberați mecanismul de blocare al declanșatorului și apăsați declanșatorul până când toată cantitatea de lichid rămasă este eliminată din furtun, apoi acționați mecanismul de blocare al declanșatorului.
Repoziționați pistolul de pulverizare în suportul de pe spatele tamburului.
Readuceți motorul la ralanti.
Opriți pompa.
Important: Nu uitați să curățați pistolul de pulverizare cu apă curată proaspătă în timpul rutinei zilnice de curățare (consultați Manualul utilizatorului pulverizatorului). Necurățarea corectă a pistolului de pulverizare poate reduce performanța și fiabilitatea pistolului de pulverizare.
Folosiți comutatorul de debit pentru a seta presiunea dorită.