Note: Installera detta kit tillsammans med modell 41712 eller modell 41713.
GeoLink-sprutsystemsatsen är ett tillbehör till Toro Multi Pro sprutfordon och är avsedd att användas av yrkesutövare som har anlitats för kommersiellt arbete. Det är främst konstruerat för spridning av väl underhållna parkgräsmattor, golfbanor, sportanläggningar och kommersiella anläggningar. Det kan medföra fara för dig och kringstående om maskinen används i andra syften än vad som avsetts.
Läs den här informationen noga så att du lär dig att använda och underhålla produkten på rätt sätt, och för att undvika person- och produktskador. Du är ansvarig för att produkten används på ett korrekt och säkert sätt.
Besök www.Toro.com om du behöver utbildningsmaterial för säkerhet och drift, information om tillbehör, hjälp med att hitta en återförsäljare eller om du vill registrera din produkt.
Kontakta en auktoriserad återförsäljare eller Toros kundservice och ha produktens modell- och serienummer till hands om du har behov av service, Toro originaldelar eller ytterligare information. Figur 1 visar var du finner produktens modell- och serienummer. Skriv in numren i det tomma utrymmet.
Important: Skanna rutkoden på serienummerplåten (i förekommande fall) med en mobil enhet för att få tillgång till information om garanti, reservdelar och annan produktinformation.

I den här bruksanvisningen anges potentiella risker och alla säkerhetsmeddelanden har markerats med en varningssymbol (Figur 2), som anger fara som kan leda till allvarliga personskador eller dödsfall om föreskrifterna inte följs.

Två ord används också i den här bruksanvisningen för att markera information. Viktigt anger speciell teknisk information och Observera anger allmän information värd att notera.
De kemiska substanser som används i sprutsystemet kan vara farliga och giftiga för dig, kringstående personer, djur, växter, mark och annan egendom.
Läs varningsetiketterna och säkerhetsdatabladen för alla kemikalier som används och följ dem noga. Använd skyddsutrustning i enlighet med kemikalietillverkarnas rekommendationer. Använd till exempel lämplig personlig skyddsutrustning som ansiktsmask och skyddsglasögon, handskar och annan utrustning som skyddar om du skulle komma i kontakt med en kemikalie.
Fler än en kemikalie kan förekomma och information om varje enskild kemikalie ska bedömas för sig.
Använd aldrig sprutsystemet om informationen inte finns tillgänglig.
Innan du börjar arbeta med ett sprutsystem måste du se till att systemet har sköljts ur tre gånger och neutraliserats enligt kemikalietillverkarens rekommendationer samt att alla ventiler har genomgått sköljcykeln tre gånger.
Kontrollera att det finns rinnande vatten och tvål i närheten och tvätta omedelbart bort alla kemikalier efter kontakt med huden.
![]() |
Säkerhetsdekalerna och säkerhetsinstruktionerna är fullt synliga för föraren och finns nära alla potentiella farozoner. Ersätt dekaler som har skadats eller saknas. |



Se maskinens bruksanvisning.
Ställ maskinen på ett plant underlag och koppla in parkeringsbromsen.
Dra ut vänster och höger sprutrampssektion till horisontalläget.
Stäng av motorn, ta ut nyckeln och koppla loss batteriet.
Rengör spridaren.
Important: Du måste tömma spruttanken helt innan du monterar finputsningssatsen för GeoLink-sprutsystemet.
Ta bort och behåll följande fästelement som håller fast den bakre delen av underredshöljet till maskinens chassi:
Maskiner av årsmodell 2016 – 7 flänsskruvar (5/16 × 7/8 tum) och 7 brickor (5/16 tum)
Maskiner av årsmodell 2017 och senare – 5 flänsskruvar (5/16 × 7/8 tum) och 5 brickor (5/16 tum)


Ta bort och behåll de fyra flänslåsmuttrarna (5/16 tum) från skruvarna och vagnsskruven som fäster stödremmarna för underredshöljet på maskinens motormonteringsfästen.
Note: Ta inte bort skruvarna från maskinen.

Lyft upp stödremmarna över skruvarna som fäster underredshöljet på motormonteringsfästena.
Ta bort underredshöljet från maskinen.
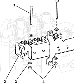
Ta bort och behåll de tre flänsskruvarna och den flänsmutter som håller fast motorreglagemodulens monteringsfäste på motorns stödfäste och motorns tillbehörslåda.


Flytta motorreglagemodulen och monteringsfästet nedåt och bakåt så att du kommer åt kontakterna till maskinens främre och bakre kablage.
Note: Ta inte bort eller koppla loss motorreglagemodulen från motorn.
Lokalisera tryckgivarrörets anslutning i änden av den högra sprutrampssektionens ventil.

Tryck in kragen på rörkopplingen och dra ut tryckgivarröret till instrumentbrädans tryckmätare.
Note: Använd en maskinupphissningsanordning när du kopplar loss de främre och bakre kablagen.

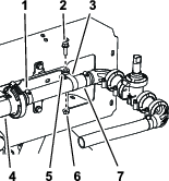
Under maskinen längs det högra ramröret letar du reda på elkontakterna för maskinens främre och bakre kablage (Figur 7).
Koppla bort de sex paren med kontakter mellan de främre och bakre kablagen enligt Figur 8 till Figur 13.






Ta bort de tre tryckfästelementen som håller fast det bakre kablaget mot hålen i maskinens högra ramrör (Figur 14).

På baksidan av maskinen (mellan höger ramrör och höger stänkskärm) kopplar du bort kontakten med tre stift på hastighetsgivarens kablage vid höger hydrauldrivmotor från kontakten med tre uttag på det bakre huvudkablaget.

På baksidan av grenrörsfästet kopplar du loss kontakten med tre uttag från omrörningsventilen och kontakterna med tre uttag från de tre sprutrampssektionernas ventiler.

Ta bort tryckfästelementen som fäster det bakre kablaget i hålen på grenrörsfästets framsida och nedre platta.

Koppla bort kontakten med tre uttag på det bakre kablaget från kontakten med tre stift på tryckomvandlaren.

På maskinens baksida kopplar du loss följande kontakter med två uttag på lyftcylinderns grenrör så här:
Elektromagnet höger upp
Elektromagnet vänster upp
Elektromagnet för aktivering
Elektromagnet höger ned
Elektromagnet vänster ned

Koppla loss kontakten med två uttag på det bakre huvudkablaget på baksidan av maskinen (på insidan av sprutpumpen) från kontakten med två stift på pumpreläet.

Ta bort tryckfästelementen som fäster det bakre kablaget i hålen på det bakre kryssröret (bakom hydrauldrivmotorerna).

Ta bort tryckgivarröret till instrumentbrädans mätare från maskinens bakre kablage.

Ta bort det bakre kablaget från maskinen.
Note: Du behöver inte längre det bakre huvudkablaget som du tog bort från maskinen.
Delar som behövs till detta steg:
| Kabelband | 1 |
| Omkopplarplugg | 1 |
Under maskinens instrumentbräda klämmer du ihop låsflikarna på flödeshastighetsomkopplaren och trycker flödeshastighetsomkopplaren uppåt och ut ur instrumentbrädan.

Koppla loss kontakten med åtta uttag på maskinens främre kablage (märkt Rate Switch [flödesomkopplare]) från kontakten med åtta stift på omkopplaren.
Note: Du behöver inte flödesomkopplaren som du tog bort från maskinen längre.
Dra hastighetsomkopplardelen av det främre kablaget genom öppningen i instrumentbrädan och fäst kablagedelen mot det främre kablaget med ett kabelband.
För in omkopplarpluggen i instrumentbrädan tills den snäpper fast ordentligt.
Note: Behåll alla delar för senare montering och för användning som reservdelar.
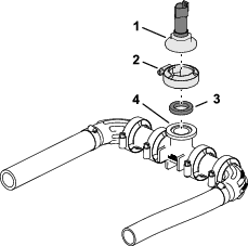
Ta bort hållaren som håller fast kopplingslocket, T-kopplingen och tryckomvandlaren i änden av sprutrampssektionsventilerna.

Separera locket, omvandlaren och T-kopplingen.
Note: Behåll alla delar för senare montering och för användning som reservdelar om inget annat anges.
Ta bort de två skruvarna, brickorna och låsmuttrarna som fäster ventilfästet till grenrörsfästet.

Lossa, men ta inte bort, de två flänsskruvar (¼ x 3 tum), två flänslåsmuttrar (¼ tum) och fyra brickor som håller fast de tre sprutrampssektionernas ventiler i monteringsfästet.

Ta bort flänsklämman och packningen som håller fast de tre sprutrampssektionernas ventiler till flödesmätaren.
Note: Ta inte bort flödesmätaren.

Ta bort slangklämman på den yttre sprutrampssektionen som fäster sprutrampssektionens tillförselslang till T-kopplingen med hulling.

Ta bort slangen från T-kopplingen.
Ta bort den fria änden av slangen från R-klämman.
Upprepa steg 1–3 för den andra yttre sprutrampssektionens tillförselslang.
Ta bort slangklämman under centersprutrampssektionen som fäster sprutrampssektionens tillförselslang till T-kopplingen med hulling.

Ta bort hållarna som fäster de raka kopplingarna vid snabbkopplingarna på sprutrampssektionernas ventiler.

Avlägsna slangarna som är bortkopplade från sprutrampssektionernas ventiler.
Vid den nedre ändan av den övre överströmningsslangen tar du bort flänsskruven (5/16 x ¾ tum), brickan (5/16 tum) och R-klämman som fäster den övre förbikopplingsslangen på den bakre sätesplattan på maskinen.


Ta bort och behåll de två slangklämmor som fäster den övre överströmningsslangen och den nedre överströmningsslangen vid 90-graderskopplingen med hulling.
Ta bort 90-graderskopplingen med hulling från slangarna och behåll den.
Lossa slangklämmorna som fäster tömningsventilslangen och den bakre tanktömningsslangen vid T-kopplingen med hulling.


Ta bort T-kopplingen från slangen till tömningsventilen på den bakre tanktömningsslangen.
Ta bort hållaren som fäster 90-graderskopplingen med hulling på överströmningsslangen från snabbkopplingen på förbikopplingsventilen vid den högra sprutrampssektionens ventil och separera slangen och ventilkopplingarna.

Ta bort de övre och nedre överströmningsslangarna från maskinen.
Note: Du behöver inte avstängningsventilen, T-kopplingen eller de övre och nedre överströmningsslangarna längre.

För in 90-graderskopplingen kopplingen med hulling som du tog bort i steg 3 i tömningsventilslangen och den bakre tanktömningsslangen.


Fäst 90-graderskopplingen kopplingen med hulling och tömningsslangarna med de två slangklämmor som du tog bort i steg 2.
Ta bort och behåll hållaren som håller fast manövreringsorganet vid sektionsventildelens grenrörsventil.
Note: Kläm ihop hållarens två ben samtidigt som du trycker ned den.

Ta bort och behåll manövreringsorganet från grenrörsventilen.
Upprepa dessa steg för de andra två ventilmanövreringsorganen.
Ta bort de två skruvarna (¼ x 3 tum), fyra brickorna och två låsmuttrarna (¼ tum) som fäster sprutrampssektionernas ventiler till grenrörsfästet (Figur 26).
Ta bort sprutrampssektionernas ventiler från grenrörsfästet och lägg ventilerna åt sidan.
Note: Behåll sprutrampssektionernas ventiler. Du kan kassera skruvarna, brickorna och låsmuttrarna.
Delar som behövs till detta steg:
| Ventilfäste och ventilenhet | 1 |
| Flödeshastighets-/sektionsregulator | 1 |
| Magnet | 4 |
| Skruv(nr 8) | 4 |
| Bricka (8) | 4 |
| Låsmutter(nr 8) | 4 |
| Planbricka (1/4 tum) | 2 |
| Flänsskruv (5/16 x ¾ tum) | 8 |
| Flänslåsmuttrar (5/16 tum) | 8 |
| Flänsskruv (1/4 x 3/4 tum) | 2 |
| Flänslåsmutter (1/4 tum) | 2 |
Lyftutrustningens kapacitet: 23 kg
Använd lyftutrustning med angiven kapacitet för att lyfta ventilfästet och rikta in det över mittrampssektionen.

Rikta in hålen i ventilfästets monteringsfäste med hålen i mittrampssektionens fackverksram.

Montera ventilfästet på fackverksramen med fyra skruvar (5/16 x ¾ tum) och fyra flänslåsmuttrar (5/16 tum).

Upprepa stegen ovan för det andra monteringsfästet på ventilfästet vid den andra fackverksramen.
Dra åt flänsskruvarna och flänslåsmuttrarna till 1 978–2 542 Ncm.
Ta bort hållarna som håller fast locken till grenrörsenheten och rikta in bypass-fästena över ventilernas ovansida.

Montera locken och hållarna för att fästa bypass-fästena på grenrörsenheten.

Montera bypass-fästena och grenrörsenheten på ventilfästet med fyra skruvar (¼ x 3 tum), åtta brickor (⅝ tum) och fyra låsmuttrar (¼ tum) enligt Figur 45.

Montera magneterna och planbrickorna (¼ tum) på flödeshastighets-/sektionsregulatorn med fyra skruvar (nr 8) och fyra låsmuttrar (nr 8).
Note: Dra åt för hand ytterligare ett kvarts varv för att säkra monteringen. Om du drar åt för hårt kan magneterna skadas.

Placera styrenheten på ventilfästet.

Delar som behövs till detta steg:
| Flänskoppling med hulling (1 tum) | 1 |
| Slang (1 x 7 1/4 tum) | 1 |
| Slangklämma | 4 |
| Tryckomvandlare | 1 |
| Grenrör | 1 |
| Slang (1 x 8 1/2 tum) | 1 |
| R-klämma | 1 |
Rikta in det portmonterade kopplingslocket mot tryckomvandlaren och packningen till flänsen med T-koppling på grenröret.

Fäst kopplingslocket och packningen vid T-kopplingen med flänsklämman.
Montera slangen (1 x 7¼ tum) på det hullingförsedda knäröret på tryckomvandlaren och grenröret.

Fäst slangarna och kopplingarna med hulling med slangklämmor.
Montera slangen (1 x 8½ tum) på det andra hullingförsedda knäröret på tryckomvandlaren och grenröret.
Fäst slangen och kopplingen med hulling med en slangklämma.
Montera slangen (1 x 7¼ tum) som sitter på tryckomvandlaren och grenröret på flödesmätarens flänskoppling med hulling.

Fäst slangen till flänskopplingen med hulling löst med hjälp av en slangklämma.
Fäst tryckomvandlaren och grenröret på grenrörsfästet med en R-klämma och medföljande flänsskruv (¼ x ¾ tum) och flänslåsmutter (¼ tum).
Montera slangen (1 x 8½ tum) över 90-gradersflänskopplingen (1 tum).

Fäst slangen vid flänskopplingen med hjälp av en slangklämma.
Dra åt slangklämman som fäster slangen (1 x 7 1/4 tum) på flänskopplingen med hulling (1 tum) som du monterade i Montera tryckomvandlaren och grenröret; se Figur 51.
Klipp av slangarna mellan munstyckstornen.


Ta bort flänslåsmuttern (5/16 tum) som fäster munstyckstornet vid stödet.
Note: Sexkantsskruven (5/16 x 3/4 tum – rostfritt stål) lossnar från den övre halvan av klämman när du öppnar klämman. Spara skruven för monteringen.Behåll flänslåsmuttern och munstyckstornet.Kassera slanghullingarna och den avklippta slangen.

Ta bort skruvarna i rostfritt stål (nr 12 x 1¼ tum) och ta bort skaften med hullingförsedd slang.
Note: Sexkantsskruven (5/16 x ¾ tum, rostfritt stål) lossnar från den övre halvan av klämman när du öppnar klämman. Behåll skruven för monteringen.

Delar som behövs till detta steg:
| Tillförselslang 279 cm | 2 |
| Tillförselslang 234 cm | 2 |
| Tillförselslang 188 cm | 4 |
| Tillförselslang 81 cm | 2 |
| R-klämma | 2 |
| Dubbel R-klämma | 2 |
| Enkel R-klämma | 2 |
Note: Kontrollera att den hulllingförsedda kopplingen sitter ordentligt på kopplingen.
Sätt fast de hullingförsedda kopplingarna med en hållare.

Note: Tillförselslangen (81 cm) har en T-koppling med två slangdelar och två slangskaft med hulling.
| Sprutrampssektion | Sektionsventil | Munstycke | Tillförselslang |
|---|---|---|---|
| Vänster | 1 | 1 | 279 cm |
| 2 | 2 | 234 cm | |
| 3 | 3 | 188 cm | |
| 4 | 4 | 188 cm | |
| Mitten | 5 | 41188 och 41394 | 81 cm |
| 6 | 7 och 8 | 81 cm | |
| Höger | 7 | 9 | 188 cm |
| 8 | 10 | 188 cm | |
| 9 | 11 | 234 cm | |
| 10 | 12 | 279 cm |

Rikta in överföringsröret i hållaren på ett munstyckstorn mot hålet på sidan av slangskaftet med en hulling (½ tum).

Stäng den övre halvan av klämman runt slangskaftet med hulling och sätt fast klämhalvan och munstyckstornets stomme med en skruv av rostfritt stål (nr 12 x 1¼ tum). Dra åt skruven av rostfritt stål till 14-18 Nm.
Note: Kontrollera att sexkantsskruven (5/16 x 3/4 tum) sitter på plats i nedsänkningen på den övre halvan av klämman när klämman stängs.
Fäst munstyckstornen vid fästena med de tidigare borttagna flänslåsmuttrarna (5/16 tum).

Dra åt flänslåsmuttern till 1 978–2 542 Ncm.
Se till att slangarna och de hullingförsedda kopplingarna på 13 x 810 mm är i linje med framdelen av mittrampssektionen mellan vänster och höger stödfästen för den mittersta sektionen.
Dra 13 mm-slangen och den hullingförsedda slangens skaft mellan fackverksfästena på det yttre fackverket.


Dra slangen och den hullingförsedda slangens skaft ovanför fackverksfästet och utåt till det yttre munstycksfästet.
Dra den andra 13 mm-slangen och den hullingförsedda slangens skaft mellan fackverksfästena på det inre fackverket.
Dra slangen och den hullingförsedda slangens skaft ovanför fackverksfästet och inåt till det inre munstycksfästet
Upprepa steg 2 till 7 för den andra slang- och munstycksanordningen på det andra yttre fackverket.
Dra slangen och kopplingen med hulling 13 × 810 mm till sidan av mittrampssektionen med de vänstra och högra stödfästena för sprutrampsektionen.
Ta bort den rostfria skruven som håller fast den övre klämhalvan vid hållaren.

Leta rätt på hålet på sidan av slangskaftet med en hulling i änden av 25 cm-slangen i slangsystemet (sprutventil 5 eller 6) för mittrampssektionen.

Rikta in överföringsröret i hållaren på ett munstyckstorn mot hålet på sidan av slangskaftet med en hulling (½ tum).
Stäng den övre halvan av klämman runt slangskaftet med hulling och sätt fast klämhalvan och sprutmunstyckets stomme med en skruv av rostfritt stål (nr 12 x 1¼ tum). Dra åt skruven av rostfritt stål till 226–282 Ncm.
Important: Dra inte åt den rostfria skruven för hårt.
Note: Kontrollera att sexkantsskruven (5/16 x 3/4 tum) sitter på plats i nedsänkningen på den övre halvan av klämman när klämman stängs.
Upprepa steg 2 till 4 för skaften till de hullingförsedda slangarna i de andra slangenheterna (sprutventil 5 eller 6) för mittrampssektionen.
Rikta in den tidigare borttagna sexkantsskruven (5/16 x ¾ tum) mot munstyckstornet genom hålet i fästet och fäst munstyckstornet löst mot fästet med en flänslåsmutter (5/16 tum).

Upprepa ovanstående steg för de tre andra munstyckstornen till mittrampssektionen.
Dra åt flänslåsmuttrarna till 1 978–2 542 Ncm.
Delar som behövs till detta steg:
| Bakre kablage | 1 |
| Kabelband | 3 |
Leta rätt på 165 cm-delen och 203 cm-delen av det nya elkablaget.

Dra det nya elkablagets 165 cm och 203 cm långa delar mellan ventilfästet till de tio sprutventilerna och grenrörsfästet högra stöd.

Dra 165 cm-delen och 203 cm-delen av elkablaget framåt längs det högra ramröret.

För in tryckfästelementen på 203 cm-delen av det bakre kablaget i hålen på höger ramrör som tryckfästelementen till det gamla bakre kablaget togs bort från. Se steg 3 under Koppla loss främre och bakre kablage.
Note: Använd en maskinupphissningsanordning när du kopplar in de främre och bakre kablagen.
Från undersidan av maskinen och längs det högra ramröret ska du lokalisera elkontakterna för maskinens främre och bakre kablage.

Anslut kontakten med tio uttag på spridarkablagekopplingens främre kablage till kontakten med tio stift på spridarkablagekopplingens bakre kablage (Figur 73).

Anslut kontakten med åtta stift på spridarkablagekopplingens främre kablage till kontakten med åtta uttag på hastighetsomkopplarens bakre kablage.

Anslut kontakten med två stift på sköljpumpens främre kablage till kontakten med två uttag på sköljpumpens bakre kablage.

Anslut kontakten med två stift på slangvindans främre elkablage till kontakten med två uttag på slangvindans bakre elkablage.

Anslut kontakten med tio stift på spridarkablagekopplingens främre kablage till kontakten med tio uttag på spridarkablagekopplingens bakre kablage.

Kontrollera att det bakre kablagets kontakt med ett uttag och kontakten med fyra uttag är inriktade mot kablagets ovansida eftersom detta gör det enklare att ansluta el- och datakablage för navigering.

Fäst pumpens avbrytarrelä på det bakre kablaget till höger stöd för sätesstödets vinkel.


Dra tryckgivarröret för instrumentbrädans mätare längs maskinens bakre kablage.

Sätt fast tryckgivarröret på det bakre kablaget med tre kabelband bredvid de tre fästelementen vid det bakre kablagets chassiförankringspunkter.
Important: Se till att inte klämma eller pressa ihop tryckgivarröret. Dra bara åt kabelbanden så mycket att de håller röret på plats.
Rikta in hålen i motorreglagemodulens monteringsfäste med hålet i motorns stödfäste och motorns tillbehörslåda.


Sätt fast monteringsfästet på motorn med de tre flänsskruvar och den flänsmutter som du tog bort i steg 1 i Ta bort motorreglagemodulen och monteringsfästet. Dra åt skruvarna och muttern för hand.
Rikta in underredets hölje med underchassit på maskinen.


Placera de främre monteringsflänsarna för underredshöljet över skruvarna och vagnsskruven vid motormonteringsfästena på maskinen.
Montera underredshöljet på motormonteringsfästena och skruvarna med de fyra flänslåsmuttrar (5/16 tum) som du tog bort i steg 2 i Ta bort underredshöljet.
Rikta in hålen i den bakre delen av underredets hölje med hålen i chassit.

Montera den bakre delen av underredshöljet på chassit med fästelementen som du tog bort i steg 1 i Ta bort underredshöljet på följande sätt:
Maskiner av årsmodell 2016 – 7 flänsskruvar (5/16 × 7/8 tum) och 7 brickor (5/16 tum)
Maskiner av årsmodell 2017 och senare – 5 flänsskruvar (5/16 × 7/8 tum) och 5 brickor (5/16 tum)
Dra åt skruvarna och muttrarna till 1 129–1 582 Ncm.
Delar som behövs till detta steg:
| Kabelband | 3 |
Dra kablagedelen på 203 cm inuti stödet för ventilfästet och bakåt mot fästet för de tio ventilerna.

Dra 81 cm-delen av kablaget till flödesmätaren och omrörningsventilen över framsidan av grenrörsfästet.
För in tryckfästelementen till 81 cm-kablagedelen i hålen i den nedre flänsen på grenrörsfästet.
Dra kablagedelen på 203 cm över baksidan av fästet för de tio ventilerna med de tio kontakterna för sektionsventilerna bakåt och under ventilerna.

För in tryckfästelementen till den 203 cm långa kablagedelen i hålen i den nedre flänsen på fästet för de tio ventilerna.
Dra den 86 cm långa kablagedelen till sprutpumpens elektromagnet över sprutramskanalen och ned mot sprutpumpens elektromagnet.

För in tryckfästelementet på den 86 cm långa kablagedelen i sprutramskanalens hål.
Dra kontakterna på den 203 cm långa kablagedelen som är märkta Flow Meter (flödesmätare) och Pressure Transducer (tryckomvandlare) bakom grenrörsfästet.

Anslut kontakten med tre uttag på 203 cm-kablagedelen för flödesmätaren (omärkt) till kontakten med tre stift på kablaget för flödesmätaren.
Anslut kontakten med tre uttag på 203 cm-kablagedelen för flödesmätaren som är märkt Pressure Transducer (tryckomvandlare) till kontakten med tre stift på tryckomvandlaren.
Fäst de magnetiska kablageförankringarna för flödesmätaren och tryckomvandlaren på ytan på grenrörsfästet.
Dra kontakten med tre stift på kablaget för omrörningsventilen framför grenrörsfästet.

Anslut kontakten med tre stift på kablaget för omrörningsventilen till kontakten med tre uttag på 203 cm-kablagedelen som är märkt Agitation Valve (omrörningsventil).

Längst ner på lyftcylinderns grenrör ansluter du kontakten med två uttag på det bakre kablaget som är märkt Enable Solenoid (elektromagnet för aktivering) i kontakten med två stift för elektromagnet för aktivering.


Vid den högra nedre elektromagneten ansluter du kontakten med två uttag på det bakre kablaget som är märkt Right Down (höger ned) till kontakten med två stift för höger ned-elektromagneten.
Vid den högra övre elektromagneten ansluter du kontakten med två uttag på det bakre kablaget som är märkt Right Up (höger upp) till kontakten med två stift för höger upp-elektromagneten.
Vid den vänstra nedre elektromagneten ansluter du kontakten med två uttag på det bakre kablaget som är märkt Left Down (vänster ned) till kontakten med två stift på vänster ned-elektromagneten.
Vid den vänstra övre elektromagneten ansluter du kontakten med två uttag på det bakre kablaget som är märkt Left Up (vänster upp) till kontakten med två stift på vänster upp-elektromagneten.
Dra kontakterna med tre uttag på 203 cm-kablagedelen som är märkta Nozzle Valve 1 (munstycksventil 1) till Nozzle Valve 5 bakom fästet för de tio ventilerna och under munstycksventil 1 till 5.

Dra kontakterna med tre uttag på 203 cm-kablagedelen som är märkta Nozzle Valve 6 till Nozzle Valve 10bakom fästet för de tio ventilerna och under munstycksventil 6 till 10.
Anslut kontakten med tre uttag på det bakre kablaget märkt Nozzle 1 till kontakten med tre stift på kablaget för munstycksventil 1.
Important: Det är viktigt att du kopplar varje märkt kontakt med tre uttag på det bakre kablaget till rätt kontakt med tre stift på varje munstycksventilsläge.
Upprepa steg 3 för munstycksventilsläge 2 till 10.
På baksidan av maskinen, på insidan av sprutpumpen, ansluter du kontakten med två uttag som är märkt Spray Pump Solenoid (sprutpumpens elektromagnet) på 86 cm-kablagedelen till kontakten med två stift på pumpreläet.

På baksidan av maskinen (mellan höger ramrör och höger stänkskärm) ansluter du kontakten med tre stift på hastighetsgivarens kablage vid höger hydrauldrivmotor från kontakten med tre uttag (omärkt) på det bakre huvudkablaget.

Dra kablagedelen på 165 cm uppåt och in i den bakre delen av motorrummet, längs motorhöljets högra stöd och framför kanalen som förbinder luftfiltret och motorn.
Note: Du fäster den bakre kablagedelen på 165 cm i Dra data- och elkablaget för navigering till batteriet.

Dra kablagedelen på 165 cm tvärs över säteslådvinkeln och ned längs motorhöljets vänstra stöd.
Note: Du fäster den bakre kablagedelen på 165 cm i Dra data- och elkablaget för navigering till batteriet.

Dra kablagedelen på 165 cm ned längs motorhöljets vänstra stöd och under det vänstra ramröret.

Dra 50 A-säkringen och plus- och minusringkopplingarna på 165 cm-kablagedelen till batteriets ovansida.
Note: Du kommer att slutföra installationen av ringkabelskorna i kommande steg.
Vrid förarsätet framåt och placera stöttan för sätet i spärrhaken i konsolkanalen.
Ta bort de fem flänsskruvarna (¼ x ¾ tum) som fäster kåpan på den vänstra sidan av mittkonsolen.

Ta bort kåpan från mittkonsolen.
Note: Vid behov roterar du förarsätet nedåt när du tar bort kåpan från mittkonsolen.

Dra den bakre kablagedelen på 81 cm längs det främre kablaget och upp genom hylsan i konsolkanalen.

Dra den bakre kablagedelen på 81 cm framåt längs det främre kablaget och upp genom hylsan i den bakre delen av mittkonsolen.
Tryck in spärren på kontakten med åtta uttag på sprutpumpsomkopplaren och separera kontakten från omkopplaren.

Placera kontakten med åtta uttag så att kan du se den bakre delen av kontakten och spärren är i det övre läget.


För in anslutningen i änden av den 81 cm långa bakre kablagedelen i anslutningsposition fyra på kontakten med åtta uttag.
Note: Kontrollera att spärren på terminalen snäpper på plats ordentligt i kontakten med åtta uttag.
Anslut kontakten med åtta uttag på kablaget med kontakten med åtta stift på sprutpumpomkopplaren.

Fäst den 81 cm långa bakre kablagedelen till maskinens främre kablage.

Rikta in kåpan som du tog bort (Figur 99) till vänster om mittkonsolen.

Montera kåpan på mittkonsolen med de fem flänsskruvarna (¼ x ¾ tum) som du tidigare tog bort (Figur 98) och dra åt skruvarna till 520 till 678 Ncm.
Rikta in änden av tryckmätarens tryckgivarrör i instrumentbrädan mot kopplingen i änden av ventilsektionen.

För in givarröret i kopplingen tills röret sitter ordentligt.
Delar som behövs till detta steg:
| Navigeringsmottagare | 1 |
| Mottagarfäste | 1 |
| Skruvar (M5) | 4 |
| Bricka | 4 |
| U-bult | 4 |
| Flänslåsmutter (3/8 tum) | 4 |
Fäst mottagaren på mottagarfästet med fyra skruvar (M5) och fyra brickor.
Note: Se till att båda pilarna pekar mot maskinens framsida.

Rikta in pilen på mottagarfästet mot mitten av störtbågen och fäst enheten på vältskyddet med hjälp av fyra U-bultar och fyra låsmuttrar (⅜ tum).

Delar som behövs till detta steg:
| Fäste för antenn | 1 |
| Nit | 2 |
| Magnet | 2 |
| Modemantenn | 1 |
| Antenn med hög förstärkning (säljs separat) | 1 |
| Kabelband | 7 |
Montera modemets antennfäste på störtbågen.

Rengör eventuellt fett eller olja från antennfästets yta.
Ta bort baksidan på den dubbelsidiga självhäftande linern och fäst antennen på fästet.

Fäst antennen och kablaget till fästet med tre kabelband.

Installera högförstärkningsantennen (säljs separat) ovanpå störtbågen.

Dra modemantennens kablage åt höger, längs störtbågen.

Dra kablaget nedåt och framåt.
Delar som behövs till detta steg:
| Panel | 1 |
| Kulfäste | 1 |
| Skärmarm | 1 |
| Förstärkningsfäste | 1 |
| Flänsskruv (1/4 x 1 1/2 tum) | 4 |
| Bricka (1/4 tum) | 4 |
| Flänslåsmutter (1/4 tum) | 4 |
Leta reda på de fyra stansade hålen (¼ tum) i instrumentbrädan som finns till vänster om griphandtaget.

Ta bort de fyra stansade hålen i instrumentbrädan.
Ta bort de två krysspårsskruvarna (¼ x 1 tum) och låsmuttern (¼ tum) som håller fast motorhuvfästet vid instrumentbrädan.

Ta bort de två klämmuttrarna (¼ tum) från motorhuvsfästet.
Note: Behåll krysspårsskruvarna, flänslåsmuttern och klämmuttrarna. Kassera motorhuvsfästet.
Montera de tidigare borttagna klämmuttrarna på förstärkningsfästet.

Montera fästet på instrumentbrädan med de fyra flänsskruvarna (¼ x 1½ tum) samt fyra brickor och fäst det på förstärkningsplattan med fyra flänslåsmuttrar (¼ tum).

Montera förstärkningsplattan löst med de två tidigare borttagna krysspårsskruvarna (¼ x 1 tum) och flänslåsmuttern (¼ tum).
Dra åt flänsskruvarna, krysspårsskruvarna och flänslåsmuttrarna till 1 163 till 1 435 Ncm
Fäst displayenheten på fästet med fyra skruvar (5/16 tum) och fyra muttrar (5/16 tum).

Dra åt vredet på displayarmen på önskad plats.
Delar som behövs till detta steg:
| Kablageadapter | 1 |
| Data- och elkablage | 1 |
| Kabelband | 8 |

Dra den 302 cm långa data- och elkablagedelen för navigering längs det högra vältskyddsröret med kontakten med 12 uttag (grå) och kontakten med 12 uttag (svart) uppåt mot navigeringsmottagaren.
Important: Håll lite slack i kablaget när du fäster kablaget till vältskyddsröret så att det inte drar i kontakterna.
Anslut de två kontakterna på långsidan av kontakten med 12 uttag på datakablaget märkt med , till motsvarande två kontaktuttag i adapterkablaget.

Anslut adapterkablaget till mottagaren.
Dra elkablagets 302 cm långa datakablagedel med kontakten med fyra stift som är märkt med ned till området där maskinens främre och bakre kablage ansluter till varandra. Se Figur 78 i Ansluta de främre och bakre kablagen.

Dra den 34 cm långa datakablagedelen med kontakten med fyra stift som är märkt ned till området där maskinens främre och bakre kablage ansluter till varandra. Se Figur 78 i Ansluta de främre och bakre kablagen.
Anslut kontakten med fyra stift på datakablaget märkt till kontakten med fyra uttag på det bakre GeoLink-kablaget för CAN 2/sprutreglagekretsen.

Ta bort och kassera termineringsmotståndet från kontakten med sex uttag på datakabeln.

Dra den 270,5 cm långa strömdelen av data- och elkablaget för navigering tvärs över säteslådvinkeln och ned längs motorhöljets vänstra stöd.

Fäst kablaget på motorhöljets stöd med kabelband.
Dra den 270,5 cm långa strömdelen längs motorhöljets vänstra stöd och under vänster ramrör.

Fäst kablaget i hålet i säteslådvinkeln och motorhöljets stöd med tre kabelband.

Dra 10 A-säkringen och plus- och minusringkopplingarna på den 220 cm långa delen av elkablaget till navigeringssystemet till batteriets ovansida.
Note: Du kommer att slutföra installationen av ringkabelskorna i kommande steg.
På den högra sidan av motorrummet drar du den 226 cm långa delen av skärmens datakablage framför motorns luftfilter och ned mot det nedre högra hörnet av kylaren.

Dra kablaget framåt och genom de två R-klämmorna längst ner på maskinen och upp genom hylsan i hålet i golvpanelen.

Fäst kablaget på maskinens främre kablage med tre kabelband.
Fortsätt att dra kablagedelen uppåt och längs med maskinens främre kablage och upp genom hylsan i hålet i instrumentbrädan.
Anslut kabeln till baksidan av skärmen.

Delar som behövs till detta steg:
| Strömkablage för modem – 1 850 mm – GeoLink precisionssprutsystemsats (modell 41712 eller modell 41713) | 1 |
| Kabelband – GeoLink precisionssprutsystemsats (modell 41712 eller modell 41713) | 5 |
Dra flatstiftsanslutningen (märkt (kopplad matning)) mellan bränsletankfästet och den högra framskärmen och två ringkopplingar (märkta och (batteri och jord)) på modemets strömkablage under maskinens ram.

På insidan av den högra säteslådan drar du modemets strömkablage och kablagekontakt märkt RS232 framåt längs maskinkablaget.
Note: Kontakten märkt RS232 används inte.


Dra strömkablaget för modemet över kylaren, längs maskinkablaget.


Plugga in anslutningen på strömkablaget för modemet som är märkt (kopplad matning) i kontakten för ströminställning på säkringsblocket.
Note: Om säkringsblocket på din maskin inte har en tillgänglig ströminställningskrets ska du installera ytterligare en ströminställningskrets. Vänd dig till din auktoriserade Toro-återförsäljare.

Sätt i säkringen (10 A) i uttaget i säkringsblocket för ströminställningskretsen du använde i steg 1.

Fäst den kopplade matningen och jordade förgreningen på satskablaget vid maskinens kablage med fem kabelband.
Dra kablagets ringkopplingar märkta (batteri) och (jord) bakåt och över sätesstödet.

Dra ringkopplingarna under det vänstra ramröret och över batteriets ovansida.
Note: Du kommer att montera ringkopplingarna till batterikablarna i kommande steg.
Delar som behövs till detta steg:
| Datakablage för modem – 300 cm | 1 |
| Kabelband | 8 |
Skruva fast modemets kablagekontakt i skärmen.

Dra modemets datakabel genom förvaringsfacket.
Dra modemets datakabel längs maskinkablaget och genom hylsan i golvplattan.

Fäst modemets datakabel vid maskinkablaget med fyra kabelband.
Dra modemets datakabel bakåt längst ner på maskinen, längs maskinkablaget.

På baksidan av kylaren drar du modemets datakabel uppåt.

Fäst modemets datakabel vid maskinkablaget med fyra kabelband.
Dra modemets datakabel längs modemets strömkablage, ut på höger sida av maskinen och mellan bränsletankfästet och den högra främre stänkskärmen.


Delar som behövs till detta steg:
| CL-55-modem | 1 |
| Fäste för modem | 1 |
| Skruv (nr 10 x 1¾ tum) | 2 |
| Distansbricka | 2 |
| Låsmutter (nr 10) | 2 |
Plugga in koaxialkontakten på modemantennens kablage märkt i koaxialporten på CL-55-modemet märkt WIFI/BT och dra åt koaxialkontakten.

Plugga in den blå koaxiala snabbkopplingen på kablaget till modemantennen märkt i kontakten på CL-55-modemet märkt tills kontakterna låses ordentligt.
Plugga in den violetta koaxiala snabbkopplingen på kablaget till modemantennen märkt i kontakten på CL-55-modemet märkt tills kontakterna låses ordentligt.
Endast CDMA-modem:Plugga in den röda koaxiala snabbkopplingen på kablaget till modemantennen märkt LTE-2 i kontakten på CL-55-modemet märkt 4G DIV, tills kontakterna låses ordentligt.
Note: GSM-modemet har ingen LTE-2-kontakt.
Plugga in kontakten med fyra stift på modemets datakablage märkt i kontakten med fyra uttag (omärkt) på CL-55-modemet och dra åt den räfflade muttern på kontakten ned fyra stift.

Anslut kontakten med 18 uttag på modemets strömkablage märkt till kontakten med 18 stift på CL-55-modemet.
Montera modemet på fästet med två skruvar (nr 10 x 1¾ tum), två distanser och två låsmuttrar (nr 10)

Placera modemfästet på den högra säteslådans panel, över skruvhuvudena.
Important: Se till att all kablage har dragits inom modemfästet.

Delar som behövs till detta steg:
| ISO-CAN-busskablage – 302 cm | 1 |
| Kabelband | 12 |
På maskinens framsida riktar du in ISO-CAN-busskablagets kontakt med fyra stift – 302 cm märkt TO ISOBUS mot instrumentbrädan.

Ta bort ISO-busstermineringen från kontakten med fyra uttag på GeoLink-kablaget märkt CAN 1 ISOBUS TERMINATOR.
Note: Locket behövs inte längre.

Plugga in kontakten TO ISOBUS på ISO-CAN-busskablaget i CAN 1 ISOBUS TERMINATOR-kontakten på GeoLink-kablaget.
Dra den andra änden av ISO-CAN-busskablaget genom hylsan i golvet.

Fäst ISO-CAN-busskablaget till maskinkablaget med två kabelband.
Dra ISO-CAN-busskablaget längst ner på maskinen, längs maskinkablaget.

Fäst ISO-CAN-busskablaget till maskinkablaget med tre kabelband.
Rotera passagerarsätet framåt och stöd det med stöttan.
Dra ISO-CAN-busskablaget uppåt på höger sida av kylaren, längs maskinens kablage och mot mittkonsolen.

Dra ISO-CAN-busskablaget under konsolbasen och längs maskinens kablage.

Dra kontakten med tre stift (märkt TO TORO CANBUS) och kontakten med tre uttag (märkt CAN PORT A) på ISO-CAN-busskablaget genom hålet i konsolbasen.
Fäst ISO-CAN-busskablaget till maskinkablaget med sex kabelband.
Ta bort locket från maskinkablagets kontakt med tre uttag (märkt CAN DIAGNOSTICS INTERCONNECT).

Plugga in kontakten med tre stift på ISO-CAN-busskablaget (märkt TO TORO CANBUS) i kontakten med tre uttag på maskinkablaget (märkt CAN DIAGNOSTICS INTERCONNECT).
För tillbaka passagerarsätet.
Ta bort fyra flänshuvudskruvar (¼ x ¾ tum) som håller fast sidopanelen vid mittkonsolen.

Luta passagerarsätet framåt och ta bort den nedre bakre flänshuvudskruven.
Ta bort sidopanelen från mittkonsolen.
På framsidan av TEC-styrenheten ska du ta bort och behålla motståndet (75 ohm) från kontakten med tre uttag (omärkt) på maskinkablaget.
Note: Du kommer att montera sidopanelen på mittkonsolen när du monterar AutoSteer-satsen för Multi Pro 5800-grässpruta med GeoLink. Se installationsinstruktionerna i monteringsanvisningarna för AutoSteer-satsen.

Montera sidopanelen på konsolramen med fyra flänshuvudskruvar (¼ x ¾ tum).

Luta sätet framåt och montera den nedre bakre flänshuvudskruven.
Delar som behövs till detta steg:
| Adapterkablage – 13 cm | 1 |
| Kabelband | 1 |
Ta bort och kassera ISO-busstermineringen till kontakten med sex uttag som sitter på satellitmottagaren och antennen.

Plugga in adapterkablagets kontakt med sex stift – 13 cm i kontakten med sex uttag på GeoLink-kablaget.
Fäst adapterkablaget vid GeoLink-kablaget med ett kabelband.
Dra pluspolen (röd kabel), minuspolen (svart kabel) och 50 A-säkringsblocket på det bakre kablaget upp mellan batterilådan och maskinchassit.

Dra pluskabelskon (röd kabel), minuskabelskon (svart kabel) och 10 A-säkringsblocket på navigeringselkablaget upp mellan batterilådan och maskinchassit.
Dra ringkopplingarna märkta (batteri) och (jord) på modemets strömkablage upp mellan batterilådan och maskinens chassi.
Ta bort T-skruvarna och sexkantsmuttrarna från kabelskorna på plus- och minusbatterikablarna (Figur 156).
Montera en T-skruv genom pluspolen (röd kabel) på det bakre kablaget, pluspolen på elkablaget för navigering, modemets strömkablage och kabelskon på batteriets pluskabel.
Fäst anslutningarna och T-skruven löst med en sexkantsmutter.
Montera en T-skruv genom minuspolen (svart kabel) på det bakre kablaget, minuspolen på elkablaget för navigering, modemets strömkablage och anslutningen på batteriets minuskabel.
Fäst anslutningarna och T-skruven löst med en sexkantsmutter.
Anslut batteriet. Se bruksanvisningen.
Sätt i nyckeln i tändningslåset och vrid den till det PåSLAGNA läget.
Note: Starta inte motorn.
På startskärmen håller du knappen 5 (längst till höger) nedtryckt på InfoCenter för att öppna huvudmenyskärmen.


På huvudmenyskärmen trycker du på knapp 1 eller knapp 2 tills alternativet Inställningar markeras. Tryck på knapp 4 för att gå till Inställningsmenyerna.

Tryck på knapp 1 eller 2 i menyn Inställningar tills alternativet GeoLink markeras. Tryck på knapp 4 för att bläddra i GeoLink-menyn.

På GeoLink-menyn trycker du på knapp 4 för att välja alternativet Ja, och på knapp 5 för att spara inställningarna och gå ur menyn.

Vrid tändningsnyckeln till AV-läget.

Vrid tändningsnyckeln till På-läget.
Note: Startskärmen för GeoLink-systemet bör visas i InfoCenter.

Vrid tändningsnyckeln till AV-läget.
Vrid tändningsnyckeln till det PåSLAGNA läget.
Kontrollera att följande komponenter indikerar att de är strömsatta:
Styrkonsol – visar grafik och text

Satellitmottagare – indikatorn STRöM tänds

Modem – LED-indikatorerna tänds.

Automatisk sektionsstyrning – indikatorn STATUS tänds

Vrid tändningsnyckeln till läget AV.
Kontrollera att strömmen är avstängd för följande komponenter:
Styrkonsol
Satellitmottagare
Automatisk sektionsstyrning
Se programhandboken för ditt GeoLink-system.
Genomför följande procedurer:
Verifiera programvaruversionen.
Välj måttenheter.
Skapa ett fält.
Skapa en ny produkt och spruthastighet.
Skapa en besprutningsuppgift.
Kontrollera sprutsystemet.
Balansera överströmningsventilen för omrörning.
Kalibrera flödesmätaren.
Verifiera mobilnätsstatusen.
Kalibrera kompassen hos återförsäljaren.
Rensa NVRAM-minnet på plats hos kunden.
Kalibrera kompassen hos kunden.